Способ и устройство для бесстендового диагностирования дизельной топливной аппаратуры высокого давления
Иллюстрации
Показать всеИзобретение используется для бесстендового диагностирования плунжерных пар и нагнетательных клапанов топливного насоса высокого давления (ТНВД) в дизелях. Технический результат изобретения - повышение достоверности определения состояния плунжерных пар ТНВД, имеющих разную степень износа. В качестве диагностического параметра состояния плунжерной пары используют величину определяемую по зависимости: где рmax - давление топлива, развиваемое проверяемой секцией ТНВД по прошествии заданного количества циклов nц работы дизеля от начала возрастания давления топлива в замкнутой полости; - поправочный коэффициент активного хода плунжера; - цикловая подача эталонной секции ТНВД, определяемая на пусковых оборотах коленчатого вала дизеля при отсутствии противодавления, создаваемого форсункой и штатным топливопроводом высокого давления, и характеризующая номинальный условный активный ход плунжера; - цикловая подача проверяемой секции ТНВД, определяемая на пусковых оборотах коленчатого вала дизеля при отсутствии противодавления, создаваемого форсункой и штатным топливопроводом высокого давления, и характеризующая фактический условный активный ход плунжера; α - степенной коэффициент, характеризующий степень износа и микрогеометрию поверхностей трения в сопряжении "втулка-плунжер"; ν°C - температурный коэффициент, учитывающий изменение вязкостных характеристик топлива от его температуры; а nц выбирают в зависимости от νh. Устройство содержит корпус с замкнутой полостью внутри него, входной штуцер, измеритель давления топлива, регулируемый предохранительный клапан, дроссельный кран и съемный нагнетательный клапан на входе в замкнутую полость, имеющий средства для подключения входа этого клапана к штуцеру проверяемой секции ТНВД, а выхода клапана - к входному штуцеру 2. 2 н. и 3 з.п. ф-лы, 5 ил.
Реферат
Изобретение относится к области технической диагностики и может быть использовано для бесстендового диагностирования топливной аппаратуры высокого давления, используемой в дизельных двигателях, а именно для проверки плунжерных пар и нагнетательных клапанов топливного насоса высокого давления (ТНВД).
Известен способ бесстендового диагностирования дизельной топливной аппаратуры высокого давления, включающий в себя регистрацию давления топлива, развиваемого проверяемой секцией ТНВД в замкнутой полости на пусковых оборотах коленчатого вала дизеля, и определение гидроплотности плунжерной пары проверяемой секции ТНВД по диагностическому параметру, учитывающему регистрируемую величину указанного давления (В.И.Бельских. Справочник по техническому обслуживанию и диагностированию тракторов. - М.: Россельхозиздат, 1979, с.180-181).
По известному способу регистрируют давление, развиваемое плунжерной парой на режиме пусковых оборотов, и если это давление оказывается меньше 300 кгс/см2, плунжерную пару заменяют. Так как величину развиваемого плунжерной парой давления определяют безотносительно числа циклов работы двигателя до момента достижения этого давления, то известный способ может быть практически применим с точки зрения достоверной оценки состояния (степени износа) только для плунжерных пар, имеющих состояние, близкое к предельному или запредельному износу. Кроме того, известный способ не учитывает влияние температуры (вязкости) топлива и активного хода плунжера на величину измеряемого давления, что снижает достоверность оценки. Поэтому известный способ можно отнести к классу индикаторных методов, не позволяющих производить достоверную оценку состояния (степени износа) соединения «плунжер-втулка» на протяжении всего периода эксплуатации и соответственно оценивать остаточный ресурс и назначать вид и объем ремонтно-технологического воздействия.
Известный способ осуществлен в известном устройстве для бесстендового диагностирования дизельной топливной аппаратуры высокого давления, содержащем корпус с замкнутой полостью внутри него, входной штуцер для подключения замкнутой полости к штуцеру проверяемой секции ТНВД, измеритель давления топлива в замкнутой полости и регулируемый предохранительный клапан сброса давления в замкнутой полости (источник информации тот же). В качестве измерителя давления использован манометр со шкалой 0-400 кгс/см2. Предохранительный клапан служит для предотвращения выхода из строя манометра и отрегулирован на давление начала открытия 300-320 кгс/см2.
Указанное известное устройство, именуемое приспособлением КИ-4802-ГОСНИТИ, предназначено для проверки состояния плунжерных пар и нагнетательных клапанов ТНВД. Диагностику с помощью этого устройства проводят следующим образом. Сначала проверяют износ плунжерной пары по давлению, развиваемому ею при пусковой частоте вращения коленчатого вала. Для этого посредством топливопровода высокого давления входной штуцер приспособления подключают к штуцеру проверяемой секции ТНВД, включают подачу топлива и, прокручивая коленчатый вал пусковым устройством, наблюдают за положением стрелки манометра, повышая давление до 300 кгс/см2. Если давление окажется менее 300 кгс/см2, плунжерную пару заменяют. Затем проверяют плотность прилегания нагнетательного клапана испытываемой секции ТНВД к седлу. Для этого прекращают прокручивать коленчатый вал, выключают подачу топлива и, наблюдая за перемещением стрелки манометра, измеряют время падения давления от 150 до 100 кгс/см2. Если это время окажется менее 10 с, нагнетательный клапан заменяют.
Известное устройство имеет следующие недостатки. В замкнутую полость устройства может попадать воздух, наличие которого вносит дополнительную погрешность в показания измерителя давления и, следовательно, снижает достоверность определения технического состояния плунжерной пары и нагнетательного клапана ТНВД. Кроме того, не обеспечивается достаточная безопасность работы и сохранность измерителя давления в тех случаях, если предохранительный клапан выйдет из строя, а развиваемое плунжерной парой давление превысит давление регулировки предохранительного клапана (например, при проверке новой, неизношенной плунжерной пары). Помимо этого, известное устройство не обеспечивает возможность оценки гидроплотности плунжерной пары при негерметичном штатном нагнетательном клапане проверяемой секции ТНВД, т.к. в этом случае на величину измеряемого давления, которое должно характеризовать состояние только плунжерной пары, будут влиять потери гидроплотности в этом штатном нагнетательном клапане. Известное устройство не обеспечивает также проверку состояния плунжерной пары для ТНВД распределительного типа и других ТНВД, не имеющих собственных нагнетательных клапанов, и плунжеров ТНВД системы CR (Common Rail).
Задачей настоящего изобретения является создание способа бесстендового диагностирования дизельной топливной аппаратуры высокого давления, который обеспечивает более достоверное, чем известный способ, определение состояния плунжерных пар ТНВД, имеющих разную степень износа.
Кроме того, задачей настоящего изобретения является создание устройства для бесстендового диагностирования дизельной топливной аппаратуры высокого давления, которое обеспечивает более достоверное, чем известное устройство, определение состояния плунжерных пар и нагнетательных клапанов ТНВД, безопасность работы и сохранность измерителя давления в экстренных аварийных случаях, а также расширение диагностических возможностей путем обеспечения оценки состояния плунжерной пары при негерметичном штатном нагнетательном клапане проверяемой секции ТНВД и расширение номенклатуры диагностируемых ТНВД путем обеспечения оценки состояния плунжерной пары ТНВД распределительного типа и других ТНВД, не имеющих собственных нагнетательных клапанов, и плунжеров ТНВД системы CR.
Задача настоящего изобретения в части заявленного способа достигается тем, что в способе бесстендового диагностирования дизельной топливной аппаратуры высокого давления, включающем в себя регистрацию давления топлива, развиваемого проверяемой секцией топливного насоса высокого давления (ТНВД) в замкнутой полости на пусковых оборотах коленчатого вала дизеля, и определение гидроплотности плунжерной пары проверяемой секции ТНВД по диагностическому параметру, учитывающему регистрируемую величину указанного давления, согласно настоящему изобретению, регистрируют цикловую подачу проверяемой секции ТНВД на пусковых оборотах коленчатого вала дизеля при отсутствии противодавления, создаваемого форсункой и штатным топливопроводом высокого давления, в качестве указанного регистрируемого давления топлива используют давление топлива pmax, развиваемое проверяемой секцией ТНВД по прошествии заданного количества циклов nц работы дизеля от начала возрастания давления топлива в замкнутой полости, регистрируют температуру топлива во время отсчета nц и регистрации а в качестве диагностического параметра используют величину определяемую по зависимости:
где - поправочный коэффициент активного хода плунжера;
- цикловая подача эталонной секции ТНВД, определяемая на пусковых оборотах коленчатого вала дизеля при отсутствии противодавления, создаваемого форсункой и штатным топливопроводом высокого давления, и характеризующая номинальный условный активный ход плунжера;
- цикловая подача проверяемой секции ТНВД, определяемая на пусковых оборотах коленчатого вала дизеля при отсутствии противодавления, создаваемого форсункой и штатным топливопроводом высокого давления, и характеризующая фактический условный активный ход плунжера;
α - степенной коэффициент, характеризующий степень износа и микрогеометрию поверхностей трения в сопряжении "втулка-плунжер";
ν°C - температурный коэффициент, учитывающий изменение вязкостных характеристик топлива от его температуры; а
nц выбирают в зависимости от νh.
При осуществлении заявленного способа величину nц выбирают в диапазоне преимущественно от 5 до 12.
Так как в заявленном способе регистрируют не просто факт достижения или недостижения заданной величины развиваемого плунжерной парой давления топлива (300 кгс/см2), что имеет место в прототипе, а давление топлива, развиваемое плунжерной парой по прошествии заданного количества циклов nц работы дизеля, и эту величину давления относят к величине nц, т.е. определяют отношение (скорость нарастания давления), то обеспечивается оценка состояния плунжерных пар с разной степенью износа, как будет более подробно объяснено ниже. Кроме того, введение в диагностический параметр коэффициентов и v°C, учитывающих соответственно активный ход плунжера и температуру топлива в процессе диагностических измерений, позволяет повысить достоверность способа, как будет также объяснено ниже более подробно.
Задача настоящего изобретения в части заявленного устройства достигается тем, что устройство для бесстендового диагностирования дизельной топливной аппаратуры высокого давления, содержащее корпус с замкнутой полостью внутри него, входной штуцер для подключения замкнутой полости к штуцеру проверяемой секции топливного насоса высокого давления, измеритель давления топлива в замкнутой полости и регулируемый предохранительный клапан сброса давления в замкнутой полости, согласно настоящему изобретению, снабжено дроссельным краном для обеспечения удаления воздуха из замкнутой полости перед проведением измерения давления и плавного сброса давления в ней по окончании измерения давления, а также съемным нагнетательным клапаном на входе в замкнутую полость, имеющим средства для подключения входа этого клапана к штуцеру проверяемой секции топливного насоса высокого давления, а выхода клапана - к входному штуцеру.
Измеритель давления может быть выполнен в виде манометра или может содержать электронный датчик давления и цифровой индикатор с целью повышения точности измерений и удобства их обработки.
Введение указанного дроссельного крана в конструкцию заявленного устройства повышает достоверность измерений путем обеспечения удаления воздуха из замкнутой полости перед проведением измерений, а также повышает безопасность работы и сохранность измерителя давления в экстренных аварийных случаях путем обеспечения возможности плавного сброса давления в замкнутой полости по окончании измерений, в том числе при выходе предохранительного клапана из строя. Введение указанного нагнетательного клапана на входе в замкнутую полость заявленного устройства обеспечивает возможность диагностирования плунжерной пары при негерметичном штатном нагнетательном клапане проверяемой секции ТНВД (т.к. исключается влияние негерметичности штатного нагнетательного клапана на показания индикатора давления), а также возможность диагностирования плунжерной пары для ТНВД распределительного типа и других ТНВД, не имеющих собственных нагнетательных клапанов, и плунжеров ТНВД системы CR (Common Rail). Выполнение нагнетательного клапана заявленного устройства съемным оставляет возможность диагностирования заявленным устройством штатных нагнетательных клапанов ТНВД, например ТНВД рядного типа.
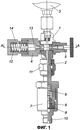
На фиг.1 изображено заявленное устройство;
на фиг.2 - разрез А-А фиг.1;
на фиг.3 - зависимость давления топлива р, развиваемого плунжерной парой в замкнутой полости, от числа циклов n работы дизеля от начала возрастания давления р при различной степени износа плунжерных пар;
на фиг.4 - зависимость от νh, используемая для определения степенного коэффициента α согласно настоящему изобретению;
на фиг.5 - зависимость nц от νh, используемая для определения nц согласно настоящему изобретению.
Заявленное устройство, которое может именоваться индикатором гидроплотности плунжерных пар и нагнетательных клапанов ТНВД, содержит корпус 1 (фиг.1) с замкнутой полостью внутри него (цифровой позицией не обозначена), входной штуцер 2 для подключения замкнутой полости к штуцеру проверяемой секции ТНВД, измеритель давления топлива в замкнутой полости, который может быть выполнен в виде жидкостного манометра 3, регулируемый предохранительный клапан 4 сброса давления в замкнутой полости при достижении его порогового значения, дроссельный кран 5 для обеспечения удаления воздуха из замкнутой полости перед проведением измерения давления и плавного сброса давления в ней по окончании измерения давления, а также съемный нагнетательный клапан 6 на входе в замкнутую полость. Клапан 6 смонтирован в корпусе 7, имеет седло 8 и подпружинен пружиной 9. Корпус 7 имеет средство в виде штуцера 10 для подключения входа клапана 6 к штуцеру проверяемой секции ТНВД, а также средство в виде соединительной гайки 11 для подключения выхода клапана 6 к входному штуцеру 2. Предохранительный клапан 4 имеет силовую пружину 12, запорный элемент 13 и крышку 14, ввинчиваемую в корпус клапана 4 и обеспечивающую тем самым регулирование давления сброса. Форма и размер штуцеров 2 и 10 идентичны. Для обеспечения стравливания давления из замкнутой полости устройства предохранительный клапан 4 и дроссельный кран 5 снабжены штуцерами 15 и 16 соответственно (фиг.2). Для более точных измерений измеритель давления топлива может содержать электронный датчик давления и цифровой индикатор с возможностью последующей математической обработки полученных измерений.
Далее, для пояснения заявленного способа рассматриваются зависимости давления р, которое развивают плунжерные пары с разной степенью износа, разными активными ходами, а также при различной температуре топлива, от количества циклов n работы дизеля (фиг.3). На фиг.3 кривые 1, 2 характеризуют давления, развиваемые одной и той же изношенной плунжерной парой при номинальной величине активного хода плунжера и температуре топлива 25 и 35°С соответственно. Кривые 3, 4 характеризуют давления, развиваемые одной и той же новой (неизношенной) плунжерной парой с номинальным и уменьшенным активным ходом соответственно при одинаковой температуре топлива, равной 25°С. Как видно из фиг.3, все плунжерные пары преодолевают заданное в способе-прототипе значение давления 300 кгс/см2. Однако только лишь по факту достижения этого значения давления какой-либо плунжерной парой невозможно достоверно судить о степени ее износа, так как в зависимости от величины активного хода плунжера, температуры топлива и степени износа плунжерной пары какое-либо заданное давление будет достигаться за разное число циклов работы дизеля. Так, кривые 1 и 2 показывают, что при более высокой температуре топлива и при прочих равных условиях (одна и та же изношенная плунжерная пара с одинаковым активным ходом в обоих случаях) достижение одного и того же давления происходит в течение большего числа циклов работы дизеля. При этом может оказаться, что в случае сильно изношенной плунжерной пары для достижения ею заданного давления 300 кг/см2 требуется слишком большое число циклов работы двигателя, которое будет несовместимо с возможностями аккумуляторной батареи, обеспечивающей вращение двигателя на пусковых оборотах, по ее временным и мощностным характеристикам. Кривые 3 и 4 показывают, что при меньшем активном ходе для достижения максимально развиваемого давления 700 кг/см2 требуется вдвое большее число циклов. Сравнение кривых 1 и 3 показывает, что при прочих равных условиях (номинальный активный ход плунжера и одинаковая температура топлива) изношенная плунжерная пара развивает давление в 300 кг/см2 за значительно большее число циклов, чем новая неизношенная. Сравнение кривых 1-4 на фиг.3 подтверждает, что определение лишь факта достижения или недостижения диагностируемой плунжерной парой заданного давления, как в известном способе, обеспечивает весьма субъективную оценку состояния плунжерных пар со средней (промежуточной) степенью износа, т.е. с помощью известного способа с приемлемой достоверностью можно определить только крайние состояния плунжерных пар, а именно новых (с минимальным износом) или предельно изношенных.
Для устранения указанного недостатка известного способа, в качестве основной идеи заявленного способа, предлагается оценивать состояние плунжерной пары не по абсолютной величине развиваемого ею давления, а по скорости нарастания этого давления за определенное, заданное число циклов nц работы дизеля от начала возрастания давления топлива в замкнутой полости. Эта скорость будет определяться отношением . Чтобы учесть при этом влияния величин активного хода плунжера и температуры топлива на развиваемое плунжерной парой давление, согласно настоящему изобретению вводятся поправочный коэффициент активного хода плунжера (νh в степени α) и температурный коэффициент ν°C, в результате чего предлагаемый диагностический параметр приобретает вид:
(кг/см2·цикл), где как определено выше.
Величину определяют заранее для ТНВД определенной марки дизельного двигателя. Для этого секцию ТНВД оснащают форсункой, плунжерной парой и штатным топливопроводом высокого давления, имеющими номинальные характеристики (эталонные форсунка, плунжерная пара и топливопровод), и регулируют ТНВД для обеспечения его номинальных характеристик, выставляя активный ход плунжера на величину, соответствующую номинальной цикловой подаче топлива. Затем с отрегулированной таким образом секции ТНВД снимают эталонную форсунку, а штатный эталонный топливопровод высокого давления заменяют специальным топливопроводом, внутренний диаметр которого как минимум в 2-2,5 раза больше внутреннего диаметра штатного эталонного топливопровода, за счет чего обеспечивается отсутствие противодавления, создаваемого форсункой и штатным топливопроводом высокого давления при измерении Теперь секция ТНВД готова для измерения и под эталонной секцией ТНВД в вышеприведенном определении величины понимается секция ТНВД именно в таком ее состоянии - эталонно отрегулированная секция ТНВД со снятой форсункой и замененным топливопроводом высокого давления. Измерение можно проводить широко известным мензурочным методом, например, с использованием прибора КИ-4818 (В.И.Бельских. Справочник по техническому обслуживанию и диагностированию тракторов. - М.: Россельхозиздат, 1979, с.187-192).
Под заданным количеством циклов nц работы дизеля в настоящем изобретении понимается такое достаточное количество циклов, которое, с одной стороны, обеспечивает максимально возможное достижение давления pmax с целью повышения точности оценки степени износа (по принципу Бернулли, чем выше перепад давления, тем больше скорость истечения через условное сечение, в нашем случае - через зазор соединения "плунжер-втулка"). Необходимым условием выбора заданного количества циклов nц служит обеспечение близкого к линейному характера нарастания давления от цикла к циклу, т.е. чем ближе к линейной форма кривых, представленных на фиг.3, тем меньше погрешность оценки скорости нарастания давления. С другой стороны, заданное (достаточное) количество циклов nц должно быть ограничено техническими условиями на время непрерывной работы аккумуляторной батареи (в настоящем изобретении максимальное значение nц ограничено числом 12). Число nц выбирают в зависимости от νh согласно фиг.5. Построение и расчет этой аппроксимирующей зависимости осуществлялся на основе анализа экспериментальных кривых нарастания давления для случаев с различным активным ходом плунжера и разной степенью износа плунжерных пар. Для построения представленной на фиг.5 зависимости всего было рассмотрено 76 различных случаев.
Коэффициент приводит измеряемое давление pmax к давлению, соответствующему величине номинального активного хода. Введение степенного коэффициента α для определения коэффициента обусловлено необходимостью учета изменения коэффициента истечения топлива через соединение "плунжер-втулка" по мере возрастания износа поверхностей данного соединения (увеличения зазора) и, соответственно, их микрогеометрии (шероховатости), которая существенно влияет на температуру топлива из-за увеличения силы трения. Таким образом, чисто линейная компенсация уменьшения активного хода посредством коэффициента νh в первой степени (когда α=1) для изношенных плунжерных пар не обеспечивает достаточной достоверности оценки их гидроплотности, т.е. требуется введение непропорциональной зависимости вида , где α>1.
Для практических целей коэффициент α вычисляют заранее по значениям pmax и qa.x плунжерных пар, имеющих среднестатистический (наиболее вероятный) износ в эксплуатации, соответствующий 30-70%. При этом за критерий степени износа выбирают цикловую подачу на пусковом режиме qц пуск с использованием эталонной форсунки на аттестованном стенде. Берут по меньшей мере 5-7 изношенных плунжерных пар со значениями величины qa.x, близкими к эталонному, т.е. номинальному (обозначим эту величину как qa.x1). При этом значение νh для каждой плунжерной пары принимают равным 1 (νh=νh1=1) и определяют соответственно показатель pmax1, измеренный по прошествии соответствующего количества циклов nц1. Затем изменяют активный ход плунжеров (поворачивают плунжеры) и для каждой плунжерной пары измеряют величину qa.x при измененном активном ходе (обозначим как qa.x1) и вычисляют соответствующую величину Определяют соответственно pmax2 по прошествии соответствующего количества циклов nц2. Далее по зависимости вычисляют значения соответственно и и приведенное значение νh:
Затем строят зависимость от νh (фиг.4), где Вышеуказанные измерения по каждой из выбранных 5-7 плунжерных пар дают одну точку на кривой этой зависимости, по которой можно определить степенной коэффициент α.
Вычисления производятся по стандартной методике аппроксимации, например с помощью метода наименьших квадратов. Данная методология распространяется и на другие группы новых или изношенных плунжерных пар, объединенных по рассмотренному признаку степени износа.
В качестве температурного коэффициента ν°C в способе по настоящему изобретению используют коэффициент приведения расхода топлива при приведении параметров дизеля к стандартным условиям согласно ГОСТ 18509-80 "Дизели тракторные и комбайновые. Методы стендовых испытаний". При этом используют следующую зависимость:
где Δt=t-t0,
t - температура топлива, регистрируемая во время отсчета nц и регистрации согласно способу по настоящему изобретению, °С;
t0=20°С.
Измерение цикловой подачи при осуществлении способа по настоящему изобретению можно проводить известным мензурочным методом, например, с использованием прибора КИ-4818 (В.И.Бельских. Справочник по техническому обслуживанию и диагностированию тракторов. - М.: Россельхозиздат, 1979, с.187-192). При этом форсунка с диагностируемой секции ТНВД должна быть снята, а топливо к измерительной мензурке, также как при измерении должно подводиться через специальный топливопровод, внутренний диаметр которого как минимум в 2-2,5 раза больше внутреннего диаметра штатного эталонного топливопровода, за счет чего обеспечивается отсутствие противодавления, создаваемого форсункой и указанным штатным топливопроводом.
Способ по настоящему изобретению осуществляют следующим образом.
Сначала измеряют цикловую подачу используя, например, вышеупомянутый мензурочный метод. Используя заранее установленное эталонное значение определяют поправочный коэффициент νh. Используя представленную на фиг.4 зависимость, определяют коэффициент .
Далее приступают к измерению величины pmax, используя заявленное устройство - индикатор гидроплотности плунжерных пар и нагнетательных клапанов (фиг.1, 2). Для этого индикатор в полном сборе (с нагнетательным клапаном 6) подсоединяют к штатному штуцеру испытываемой секции ТНВД с помощью штуцера 10 и гибкого топливопровода высокого давления. Поворачивают маховичок дроссельного крана 5 против часовой стрелки на 1-1,5 оборота для удаления воздуха из системы. При позиции педали акселератора двигателя, соответствующей максимальному выдвижению рейки ТНВД, посредством пускового устройства двигателя прокручивают коленчатый вал до появления топлива в выходном отверстии штуцера 16 дроссельного крана 5. Останавливают двигатель. С легким усилием заворачивают маховичок дроссельного крана 5 по часовой стрелке. Используя представленную на фиг.5 зависимость, по ранее определенной определяют заданное количество циклов nц. Повторяют стартерный пуск, отсчитывая заданное количество циклов nц с момента начала возрастания давления топлива в замкнутой полости индикатора. Отсчет nц можно осуществлять по пульсациям гибкого топливопровода высокого давления, соединяющего штуцер секции ТНВД с индикатором, или по числу дискретных перемещений стрелки жидкостного манометра 3 в процессе нарастания давления в замкнутой полости индикатора. По прошествии заданного количества циклов nц измеряют (регистрируют) давление рmax с помощью манометра 3. Во время отсчета nц и регистрации измеряют (регистрируют) температуру топлива t и определяют температурный коэффициент ν°C. Далее, используя ранее указанную зависимость, определяют величину диагностического параметра
После измерения рmax стартерный пуск прекращают и полость индикатора разгерметизируют с помощью дроссельного крана 5.
Установлено, что для новой плунжерной пары кгс/см2/цикл (18-20 МПа/цикл), а для предельно изношенной плунжерной пары кгс/см2/цикл (12-13 МПа/цикл).
В случае необходимости оценки состояния нагнетательного клапана диагностируемой секции ТНВД индикатор отсоединяют от штуцера этой секции, корпус 7 со смонтированным в нем нагнетательным клапаном 6 отсоединяют от индикатора, а штуцер секции ТНВД соединяют с входным штуцером 2 через топливопровод высокого давления. Затем обеспечивают удаление воздуха из полости индикатора вышеописанным способом. Повторяют стартерный пуск, внимательно наблюдая за поведением стрелки манометра 3. При достижении давления в полости индикатора более 20 МПа выключают пусковое устройство двигателя. С помощью дроссельного крана 5 стравливают давление топлива до 15 МПа и секундомером измеряют продолжительность снижения давления до 10 МПа. Время падения давления должно быть не менее 15 с. При меньшем значении времени падения давления следует произвести подтяжку штуцера секции ТНВД и повторить проверку нагнетательного клапана секции ТНВД.
1. Способ бесстендового диагностирования дизельной топливной аппаратуры высокого давления, включающий в себя регистрацию давления топлива, развиваемого проверяемой секцией топливного насоса высокого давления (ТНВД) в замкнутой полости на пусковых оборотах коленчатого вала дизеля, и определение гидроплотности плунжерной пары проверяемой секции ТНВД по диагностическому параметру, учитывающему регистрируемую величину указанного давления, отличающийся тем, что регистрируют цикловую подачу проверяемой секции ТНВД на пусковых оборотах коленчатого вала дизеля при отсутствии противодавления, создаваемого форсункой и штатным топливопроводом высокого давления, в качестве указанного регистрируемого давления топлива используют давление рmax топлива, развиваемое проверяемой секцией ТНВД по прошествии заданного количества циклов nц работы дизеля от начала возрастания давления топлива в замкнутой полости, регистрируют температуру топлива во время отсчета nц и регистрации а в качестве диагностического параметра используют величину определяемую по зависимости: где - поправочный коэффициент активного хода плунжера; - цикловая подача эталонной секции ТНВД, определяемая на пусковых оборотах коленчатого вала дизеля при отсутствии противодавления, создаваемого форсункой и штатным топливопроводом высокого давления, и характеризующая номинальный условный активный ход плунжера; - цикловая подача проверяемой секции ТНВД, определяемая на пусковых оборотах коленчатого вала дизеля при отсутствии противодавления, создаваемого форсункой и штатным топливопроводом высокого давления, и характеризующая фактический условный активный ход плунжера;α - степенной коэффициент, характеризующий степень износа и микрогеометрию поверхностей трения в сопряжении "втулка-плунжер";ν°C - температурный коэффициент, учитывающий изменение вязкостных характеристик топлива от его температуры; аnц выбирают в зависимости от νh.
2. Способ по п.1, отличающийся тем, что nц выбирают в диапазоне от 5 до 12.
3. Устройство для бесстендового диагностирования дизельной топливной аппаратуры высокого давления, содержащее корпус с замкнутой полостью внутри него, входной штуцер для подключения замкнутой полости к штуцеру проверяемой секции топливного насоса высокого давления, измеритель давления топлива в замкнутой полости и регулируемый предохранительный клапан сброса давления в замкнутой полости, отличающееся тем, что оно снабжено дроссельным краном для обеспечения удаления воздуха из замкнутой полости перед проведением измерения давления и плавного сброса давления в ней по окончании измерения давления, а также съемным нагнетательным клапаном на входе в замкнутую полость, имеющим средства для подключения входа этого клапана к штуцеру проверяемой секции топливного насоса высокого давления, а выхода клапана - к входному штуцеру.
4. Устройство по п.3, отличающееся тем, что измеритель давления выполнен в виде манометра.
5. Устройство по п.3, отличающееся тем, что измеритель давления содержит электронный датчик давления и цифровой индикатор.



