Зимний спортивный снаряд с полозьями
Иллюстрации
Показать всеИзобретение относится к зимнему спортивному снаряду. С помощью настоящего изобретения должен быть создан зимний спортивный снаряд, у которого скользящая поверхность полозьев сформирована так, чтобы пленка скольжения, или водяная пленка, стабилизировалась лучше, благодаря чему способность скольжения полозьев должна улучшиться решительным образом. Предлагается зимний спортивный снаряд с полозьями, имеющими поверхности скольжения, прилегающие к поверхности льда или снега, с профильными канавками, проходящими в направлении движения. С обеих сторон по краям профильных канавок (4) на поверхности (1, 2) скольжения выступают проходящие параллельно им гребни (5) в виде утолщений с закругленным поперечным сечением. Между гребнями (5) соседних профильных канавок (4) находятся центральные зоны (11) скольжения, проходящие в направлении движения, и поверхности (1,2) скольжения с профильными канавками (4) и с их гребнями (5) предусмотрены на лезвиях (3) или на скользящих кромках (21), соединяемых с полозьями с возможностью разъема. 12 з.п. ф-лы, 4 ил.
Реферат
Изобретение относится к зимнему спортивному снаряду с полозьями, имеющему поверхности скольжения, прилегающие к поверхности льда или снега.
Такой зимний спортивный снаряд, например коньки, не несет на вогнутой скользящей поверхности полозьев никаких средств, удерживающих пленку скольжения, или водяную пленку. Исключительно тонкая пленка скольжения, или водяная пленка, образующаяся под действием давления или трения, при движении спортивного снаряда с полозьями в зависимости от условий динамики движения выдавливается сбоку из скользящей поверхности. Таким образом, пленка скольжения, или водяная пленка, абсолютно необходимая для хорошего скольжения, не может оставаться постоянной при всех условиях динамики движения. При удалении пленки скольжения, или водяной пленки, прежде всего при движении на поворотах, сопротивление трения между скользящей поверхностью полозьев и средой скольжения - "льдом или снегом" - существенно возрастает. Из-за вогнутой формы скользящей поверхности у упомянутых полозьев в наиболее благоприятном случае пленка скольжения, или водяная пленка, по всей ширине скользящей поверхности может сохраняться лишь до тех пор, пока снаряд с полозьями в процессе движения находится в строго вертикальном положении. Однако, поскольку при нормальном процессе движения выдержать это идеальное вертикальное положение снаряда с полозьями почти невозможно, большая часть пленки скольжения, или водяной пленки, быстро выдавливается из зоны скольжения снаряда с полозьями, вследствие чего способность скольжения снаряда с полозьями существенно снижается. При использовании хорошо отполированных скользящих поверхностей пленка скольжения, или водяная пленка, выдавливается сбоку в еще большей степени, поскольку пленка скольжения, или водяная пленка, может беспрепятственно стекать по внешним кромкам.
Одновременно спортивные снаряды с полозьями при хорошо отполированных скользящих поверхностях теряют большую часть своих линейных направляющих свойств, поскольку они стабилизируются лишь по обеим интенсивно изнашиваемым внешним кромкам. Стабилизация пленки скольжения, или водяной пленки, на неровных поверхностях льда или снега, в частности, при движении на поворотах, является крайне сложной, поскольку линейно многократно прерываемая пленка скольжения, или водяная пленка, в дополнение к этому с нерегулярными интервалами попеременно может вытекать с обеих сторон поверхности скольжения. Однако один из самых больших недостатков проявляется при боковом отклонении снаряда с полозьями из-за того, что плоские или вогнутые скользящие поверхности снаряда с полозьями подобно снежному плугу попеременно вытесняют наружу первоначально образовавшуюся пленку скольжения, или водяную пленку, с боков, где кромка скользящей поверхности отошла от среды скольжения. Кроме того, внешняя кромка полоза при ускорении снаряда с полозьями, например конька, попеременно отходит от среды скольжения, вследствие чего создаются благоприятные условия для вытекания пленки скольжения, или водяной пленки. Следствием этого является то, что пленка скольжения, или водяная пленка, существенно уменьшается, а трение между средой скольжения и снарядом с полозьями в фазе ускорения существенно возрастает.
Некоторая стабилизация водяной пленки и улучшение антифрикционных свойств достигаются за счет того, что скользящая поверхность зимнего спортивного снаряда известным образом снабжается, по меньшей мере, одной профильной канавкой, проходящей в направлении движения.
Так, например, из DE 690 10 355 T2 известен зимний спортивный снаряд такого рода, а именно лыжа с подошвой, отделяемой от лыжи с помощью клина и имеющей аксиальный желобок такого рода.
Кроме того, из DE 737 406 А известна лыжа, в скользящую поверхность которой вставлена направляющая с канавками, проходящими в направлении движения.
Однако этих профильных канавок для сохранения пленки скольжения, или водяной пленки, между средой скольжения и скользящей поверхностью полозьев при любой динамике движения недостаточно.
Таким образом, с помощью настоящего изобретения должен быть создан зимний спортивный снаряд, у которого скользящая поверхность полозьев сформирована так, чтобы пленка скольжения, или водяная пленка, стабилизировались лучше, благодаря чему способность скольжения полозьев должна улучшиться решительным образом.
В соответствии с этим предложением согласно пункту 1 формулы изобретения эта задача в случае зимнего спортивного снаряда указанного рода решается за счет того, что с обеих сторон по краям профильной канавки предусмотрены проходящие параллельно ей утолщенные гребни. Эти гребни препятствуют слишком быстрому вытеканию, или отрыву, пленки скольжения, или водяной пленки. В результате способность скольжения, а также линейная стабилизация снаряда с полозьями возрастает, что ведет к улучшению динамики движения по любому льду и снегу, к увеличению скорости на поворотах и скорости разгона, а также к замедлению торможения.
Благодаря исключительно тонкому и точному профилированию скользящих поверхностей дополнительная обработка при профилировании изношенных скользящих поверхностей, например, с применением лазерной техники по технологическим и стоимостным соображениям невозможна.
По этой причине согласно другому признаку изобретения предлагается предусматривать скользящие поверхности с профильной канавкой и с гребнями по обе стороны разъемно соединенных с полозьями скользящих лезвий или скользящих кромок, так что возможна простая и экономичная замена.
Другие варианты выполнения или расположения профильной канавки с гребнями в виде утолщений приведены в зависимых пунктах формулы изобретения.
Согласно пункту 2 формулы изобретения предусмотрены три профильные канавки, а именно: одна посредине, а другие, соответственно, вблизи кромок скользящей поверхности, причем все канавки имеют с обеих сторон гребни в виде утолщений, ограничивающие центральные, а также внешние зоны скольжения, проходящие в направлении движения.
Предпочтительно, чтобы профильные канавки, как предложено в пункте 3 формулы изобретения, были глубже упомянутых зон скольжения.
Профильные канавки могут иметь различные формы поперечного сечения. В пункте 4 формулы изобретения для них предлагается трапецеидальный профиль, причем профильные канавки шире соседних гребней в виде утолщений.
Для получения профилированных скользящих поверхностей применяются профильное шлифование, прокатка профилей, литье профилей под давлением или спекание профилей, как это указано в пункте 5 формулы изобретения.
Кроме того, согласно пункту 6 формулы изобретения скользящие поверхности могут состоять из металла, причем профильные канавки изготавливаются путем лазерного профилирования при одновременном образовании гребней в виде утолщений. Предпочтительный размер гребней по высоте около 0,02 мм является предметом пункта 7 формулы изобретения. Зимним спортивным снарядом в смысле изобретения согласно пункту 8 формулы изобретения может быть конек, на сменном скользящем лезвии которого предусмотрена профилированная скользящая поверхность. Эта скользящая поверхность согласно пункту 9 формулы изобретения может быть вогнутой.
Как указано в следующем пункте 10 формулы изобретения, это решение согласно изобретению пригодно как для лыж, так и для сноубордов, на полозе которых, соответственно, на его боковых кромках, предусмотрены уголковые направляющие планки, горизонтальные и вертикальные поверхности скольжения которых имеют профильные канавки с гребнями в виде утолщений. Горизонтальные и вертикальные поверхности скольжения в соответствии с предложением согласно пункту 11 формулы изобретения имеют, по меньшей мере, одну профильную канавку с гребнями в виде утолщений.
Для обеспечения быстрой и беспрепятственной смены поверхностей скольжения согласно пункту 12 формулы изобретения предлагается располагать их на сменных профильных кромках, соединяемых с полозом, предпочтительно, путем фиксации посредством зажима с возможностью разъема.
Для больших нагрузок поверхности скольжения согласно пункту 13 формулы изобретения должны иметь покрытие из высокопрочного материала.
Ниже предмет изобретения подробно поясняется на предпочтительных примерах выполнения, представленных на чертежах.
На фиг.1 изображен частичный поперечный разрез полоза конька, установленного на поверхности льда,
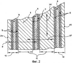
на фиг.2 - частичный вид сверху полоза конька согласно фиг.1,
на фиг.3 - частичный поперечный разрез сменного лезвия ледового полоза в наклонном положении согласно фиг.1 и
на фиг.4 - частичный поперечный разрез сменной профильной кромки лыжи или сноуборда с фиксацией посредством зажима в наклонном положении.
На фиг.1-3 изображен пример выполнения сменного лезвия 3 ледового полоза, выполненного согласно изобретению и установленного в среде скольжения, в данном случае на поверхность 13 льда. Сменное лезвие 3 ледового полоза имеет вертикальные скользящие поверхности 2 и проходящие по существу горизонтально поверхности 1 скольжения. В горизонтальных поверхностях 1 скольжения выбраны профильные канавки 4, ограниченные с обеих сторон профильными гребнями 5.
На основе этого полоза конька ниже поясняется принцип действия системы полозьев с профильными канавками.
При установке сменного лезвия 3 ледового полоза на поверхность 13 льда между горизонтальной поверхностью 1 скольжения и средой 13 скольжения, начиная с вдавливания сменного лезвия 3 ледового полоза в среду скольжения 13, образуется пленка скольжения, или водяная пленка. Оптимальная способность скольжения сменного лезвия ледового полоза возникает только при образовании между кромкой А 24 и кромкой В 25 сплошной пленки скольжения, или водяной пленки. Для выполнения этого условия сменное лезвие 3 ледового полоза должно вдавливаться в среду 13 скольжения до тех пор, пока среда 13 скольжения не заполнит по глубине все профильные канавки 4. Для достижения стабилизации возникшей таким образом пленки скольжения, или водяной пленки, толщиной лишь около 0,0013 мм при любой динамике движения сменного лезвия 3 ледового полоза по горизонтальной поверхности 1 скольжения горизонтальная поверхность 1 скольжения делится на обе центральные зоны 11 скольжения, а также на обе внешние зоны 12 скольжения. Разделение горизонтальной поверхности 1 скольжения на соответствующие зоны скольжения осуществляется с помощью профильных канавок 4.
Исходя из профильной канавки 4, на месте 9 центрального профиля, пленка скольжения, или водяная пленка, стабилизируется в обеих центральных зонах скольжения. Стабилизация пленки скольжения, или водяной пленки, в обеих зонах 11 скольжения осуществляется с помощью профильных гребней 5, расположенных по краям профильных канавок 4 и выступающих на горизонтальной поверхности 1 скольжения в виде утолщений. Горизонтальная поверхность 1 скольжения с профильными канавками 4 и с их гребнями 5 в виде утолщений по обе стороны формируется путем профильного шлифования, прокатки профилей, литья профилей под давлением или спекания профилей. Предпочтительно, профильные канавки 4 с профильными гребнями 5 с оптимальными затратами могут быть выполнены на горизонтальной поверхности 1 скольжения с помощью лазерной технологии. При лазерном профилировании сменных лезвий 3 ледовых полозьев лазерный луч выполняет, по меньшей мере, одну линейную профильную канавку 4 желательной ширины и глубины путем расплавления горизонтальной поверхности 1 скольжения, состоящей, предпочтительно, из металла. При этом расплавленный металл образует по краям профильных канавок профильный гребень 5 наподобие утолщения. Достигаемая высота 7 профильных гребней, а также объем профильного гребня 5 определяются объемом расплава профильной канавки 4. При этом объем расплава профильной канавки 4 определяется свойствами среды 13 скольжения, а также требованиями к динамике движения снаряда с полозьями. Поскольку максимально возможная толщина пленки скольжения, или водяной пленки, составляет у зимнего спортивного снаряда с полозьями только около 0,0013 мм, для обеспечения безупречной стабилизации пленки скольжения, или водяной пленки, на горизонтальной поверхности 1 скольжения вполне достаточно высоты 7 профильного гребня порядка 0,02 мм. Для получения хорошей характеристики торможения сменного лезвия 3 ледового полоза боковое расстояние 8 профиля должно быть настолько большим, чтобы между кромкой А 24 и высотой 7 профильного гребня появилась заметная разница 10 по высоте. То же самое относится и к кромке В 25. Показанная конструкция сменного лезвия 3 ледового полоза при вертикальной нагрузке с помощью обеих внешних профильных канавок 4 препятствует стеканию пленки скольжения, или водяной пленки, с горизонтальной поверхности 1 скольжения.
На виде сверху на фиг.2 изображено расположение центральной линейной профильной канавки, а также обеих внешних линейных профильных канавок с их краевыми гребнями по обе стороны на поверхности скольжения ледового полоза.
В этом примере выполнения горизонтальная поверхность 1 скольжения сменного лезвия ледового полоза имеет три линейных профильных канавки 4, причем профильная канавка 4, расположенная в центре 9 профиля, делит горизонтальную поверхность 1 скольжения на две центральные зоны 11 скольжения, а также на две внешние зоны 12 скольжения. Линейные профильные канавки 4, линейно проходящие в продольном направлении 26 движения сменного лезвия 3 ледового полоза, имеют по краям профильные гребни 5. Профильные канавки 4, проплавленные, предпочтительно, посредством лазерного луча, с помощью профильных гребней 5 стабилизируют пленку скольжения, или водяную пленку, образующуюся в среде 13 скольжения под действием давления и трения со стороны сменного лезвия 3 ледового полоза. Обе внешние профильные канавки 4 со своими профильными гребнями 5 препятствуют боковому вытеканию пленки скольжения, или водяной пленки, по кромке А 24, а также кромке В 25.
Благодаря концентрации пленки скольжения, или водяной пленки, на горизонтальной поверхности 1 скольжения между обоими внешними профильными гребнями 5 внутри обеих внешних профильных канавок 4 образуется сплошная оптимальная пленка скольжения, или водяная пленка, толщиной около 0,0013 мм. Одновременно с помощью профильных канавок 4 достигается превосходная линейная стабильность в продольном направлении 26 движения снаряда с полозьями, поскольку профильные канавки 4 со своими соответствующими профильными гребнями 5 препятствуют смещению горизонтальной поверхности 1 скольжения в среде 13 скольжения в поперечном направлении 27 движения.
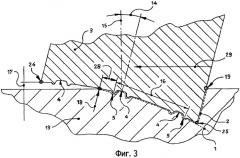
Изображение на фиг.3 показывает установку сменного лезвия 3 ледового полоза под углом согласно фиг.1 и 2 при движении на поворотах, при ускорении или торможении. В результате происходящего при этом постоянного изменения динамики движения угла 14 полоза относительно вертикальной оси 15 горизонтальная поверхность 1 скольжения вдавливается в среду 13 скольжения с одной стороны. При этом кромка В 25 глубоко погружается в среду 13 скольжения и при этом в принудительном порядке отрывает кромку А 24 от среды 13 скольжения на изменяющуюся при этом величину щели 17 относительно поверхности скольжения. В зависимости от величины угла 14 полоза щель 17 относительно поверхности скольжения открывается или закрывается и образует при этом большую или меньшую горизонтальную поверхность 1 скольжения. Соответствующим образом такой же процесс происходит в результате изменения угла 14 полоза в противоположном направлении, поскольку при этом кромка А 24 погружается в среду 13 скольжения, а кромка В 25 при этом отрывается от среды скольжения. В результате попеременно возникающей таким образом щели 17 относительно поверхности скольжения в зависимости от величины щели 17 относительно поверхности скольжения значительная часть горизонтальной поверхности 1 скольжения не используется, вследствие чего антифрикционные свойства сменного лезвия 3 ледового полоза в большей или меньшей степени ухудшаются. Для сохранения при наличии щели 17 относительно поверхности скольжения достаточной пленки скольжения, или водяной пленки, внутри контактной зоны 16 скольжения на концах контактной зоны 16 скольжения находятся соответствующие профильные канавки 4, по краям которых профильные гребни 5 препятствуют вытеканию пленки скольжения, или водяной пленки. В зависимости от величины угла 14 полоза образуется большая или меньшая зона 28 потери пленки скольжения, из которой на горизонтальном выходе 18 пленки скольжения вытекает пленка скольжения, или водяная пленка. Пленка скольжения, или водяная пленка, образующаяся между вертикальной поверхностью 2 скольжения и средой 13 скольжения, выдавливается на вертикальном выходе 19 пленки скольжения. В дополнение к стабилизации пленки скольжения, или водяной пленки, с помощью линейных профильных канавок 4 с профильными гребнями 5, проходящих в направлении движения, даже при более или менее большом угле 14 полоза и при обусловленной этим потере направления с помощью кромки А 24 или кромки В 25 достигается линейная направленность сменного лезвия 3 ледового полоза, поскольку в дополнение к кромке А 24 или кромке В 25 в среде 13 скольжения имеется, по меньшей мере, одна профильная канавка 4, придающая сменному лезвию 3 ледового полоза в среде 13 скольжения строго линейное направление. В частности, при изменении динамики движения на поворотах профильные канавки 4 повышают точность следования сменного лезвия 3 ледового полоза по дорожке. При ускорении спортивного снаряда с ледовым полозом за счет экстремального увеличения угла 14 лезвие 3 ледового полоза глубоко вдавливается кромкой В 25 в среду 13 скольжения. Для компенсации поперечного усилия, возникающего при ускорении снаряда с полозьями в направлении 29, в дополнение к кромке В 25 в среде 13 скольжения имеется, по меньшей мере, одна линейная профильная канавка 4. С помощью профильных канавок 4 с их профильными гребнями 5, а также кромки В 25 наряду с большими аксиальными усилиями на сменное лезвие 3 ледового полоза, не приводя к потере сменным лезвием 3 ледового полоза своей опоры в среде 13 скольжения в результате воздействия поперечного усилия 29, могут передаваться исключительно большие поперечные усилия, действующие в направлении 29. Показанный принцип действия, естественно, аналогичным образом осуществляется также при погружении в среду 13 скольжения кромки А 24.
Угол 14 полоза одновременно определяет угол торможения сменного лезвия 3 ледового полоза. При торможении для достижения быстрого замедления торможения достаточно относительно небольшого угла 14 полоза. Поскольку в процессе торможения в среде 13 скольжения помимо кромки В 25 находится еще, по меньшей мере, одна профильная канавка 4 и ее профильные гребни 5, в результате поперечного смещения линейной профильной канавки 4, проходящей в направлении движения, вместе с кромкой В 25 возникает большое сопротивление скольжению, сокращающее тормозной путь.
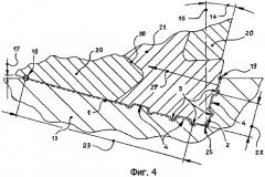
На фиг.4 показаны устройство и функционирование сменной профильной кромки с фиксацией посредством зажима для лыжи или сноуборда. Механика, а также функционирование вкупе с мерами, стабилизирующими пленку скольжения, или водяную пленку, соответствуют признакам, реализованным в примере выполнения на фиг.1, 2 и 3. В отличие от этого в данном примере выполнения горизонтальная плоскость 1 скольжения выполнена в виде плоской поверхности скольжения.
В снежный полоз 20 с обеих сторон с помощью системы 30 фиксации посредством зажимов с возможностью разъема вставлены сменные профильные кромки 21. Естественно, что закрепление сменных профильных кромок 21 может осуществляться также иным образом.
Как показано на фиг.4, на горизонтальной поверхности 1 скольжения имеется, по меньшей мере, одна профильная канавка 4 со своими профильными гребнями 5 по обе стороны, линейно проходящая в направлении движения снежного полоза 20. При условии абсолютной плоскостности горизонтальной поверхности 1 скольжения оптимальная пленка скольжения, или водяная пленка, между снежным полозом 20 и средой 13 скольжения, т.е., например, поверхностью снега, может быть стабилизирована только с помощью, по меньшей мере, одной, однако, предпочтительно, двух профильных канавок 4, и их выступающих в виде утолщений на горизонтальной поверхности 1 скольжения профильных гребней 5. Сменная профильная кромка 21 установлена таким образом, что горизонтальная, а также вертикальная профильная канавка 4 и их профильные гребни 5 находятся в непосредственной близости от кромки В 25. Если снежный полоз 20 располагается на среде 13 скольжения, т.е., например, на поверхности снега, ровно, то угол вертикальной оси 15 составляет 90°. В этом положении пленка скольжения, или водяная пленка, проходит почти от внешней кромки до внешней кромки снежного полоза. Однако при работе угол 14 полоза быстро увеличивается или уменьшается в результате обусловленной пользователем и средой скольжения динамики движения снежного полоза 20, вследствие чего оказывается непосредственное влияние на величину горизонтальной зоны 23 скольжения пленки. Преждевременное вытекание пленки скольжения, или водяной пленки, на горизонтальном выходе 18 пленки скольжения предотвращается путем размещения на горизонтальной поверхности 1 скольжения нескольких профильных канавок 4 и их профильных гребней 5, если щель 17 относительно поверхности скольжения не слишком велика.
Заметно улучшенные антифрикционные свойства снежного полоза 20 дополняются превосходной стабильностью на поворотах, в частности, при обледенелой среде 13 скольжения. Поскольку при увеличении угла 14 полоза кромка В 25 погружается в обледенелую среду 13 скольжения глубоко, вертикальная поверхность 2 скольжения вдавливается в обледенелую среду 13 скольжения по краям, причем проходящая в направлении движения снежного полоза 20 линейная профильная канавка 4, расположенная на вертикальной поверхности 2 скольжения, вместе с кромкой В 25 и линейной профильной канавкой 4 на горизонтальной поверхности 1 скольжения обеспечивают точное следование по лыжне, а также прекрасную опору снежного полоза 20 в обледенелой среде 13 скольжения. Одновременно с помощью профильных гребней 5 в виде утолщений, расположенных по краям профильной канавки 4, предотвращается вытекание пленки скольжения, или водяной пленки из вертикальной зоны 22 пленки скольжения, так что на вертикальном выходе 19 пленки скольжения происходит лишь минимальная потеря пленки скольжения, или водяной пленки. Как это описано в связи с фиг.2, с помощью линейных профильных канавок 4 и их профильных гребней 5 смещение снежного полоза 20 в обледенелой среде 13 скольжения в направлении 27 поперечного движения минимизируется, и лучше обеспечивается следование снежного полоза 20 по лыжне в среде 13 скольжения.
Признаки зимнего спортивного снаряда с полозьями, предложенные в изобретении, дают нижеприведенные преимущества.
- Улучшение стабилизации пленки скольжения, или водяной пленки, на горизонтальной и вертикальной поверхностях скольжения полозьев с профильными канавками и профильными гребнями.
- Улучшение антифрикционных свойств за счет стабилизации пленки скольжения, или водяной пленки, в частности, в зонах полозьев, подверженных большим нагрузкам.
- Профилирование сменных скользящих лезвий и сменных профильных канавок/полос с оптимальными затратами, предпочтительно, с помощью лазерной техники.
- При использовании сменных профильных кромок с фиксацией посредством зажимов отпадает необходимость в дополнительном шлифовании кромок лыж или сноубордов.
- Улучшение следования снаряда с полозьями по колее с помощью профильных канавок и профильных гребней.
- Улучшение сцепления на поворотах, в частности, при обледенелой среде 13 скольжения, за счет врезания в лед множества кромок.
- Отсутствие полного отрыва пленки скольжения, или водяной пленки, при движении на поворотах, благодаря чему минимизируется потеря скорости.
- Большое ускорение полоза конька.
- Улучшение тормозных свойств полоза конька за счет врезания в лед множества кромок благодаря наличию профильных канавок и гребней.
- Вертикальное профилирование кромок лыж и сноубордов препятствует полной потере пленки скольжения, или водяной пленки, прежде всего при движении на поворотах, и одновременно улучшает сцепление на поворотах при обледенелой среде 13 скольжения.
- Снижение производственных издержек, прежде всего при использовании лыж или сноубордов, за счет применения сменных профильных кромок.
- Продление срока службы кромок за счет применения для сменных профильных кромок покрытия TIN из твердых материалов - около 2 300 HV (твердость по Виккерсу).
Перечень позиций
1. Горизонтальная поверхность скольжения
2. Вертикальная поверхность скольжения
3. Сменное лезвие ледового полоза
4. Профильная канавка
5. Профильный гребень
6. Глубина профиля
7. Высота профильного гребня
8. Боковое расстояние профиля
9. Расположение центрального профиля
10. Разница по высоте
11. Центральная зона скольжения
12. Внешняя зона скольжения
13. Среда скольжения
14. Угол полоза
15. Вертикальная ось
16. Контактная зона скольжения
17. Щель относительно зоны скольжения
18. Горизонтальный выход пленки скольжения
19. Вертикальный выход пленки скольжения
20. Снежный полоз
21. Сменная профильная кромка
22. Вертикальная зона пленки скольжения
23. Горизонтальная зона пленки скольжения
24. Кромка А
25. Кромка В
26. Продольное направление движения
27. Поперечное направление движения
28. Зона потери пленки скольжения
29. Поперечное усилие
30. Система полозьев с фиксацией посредством зажимов.
1. Зимний спортивный снаряд с полозьями, имеющими поверхности скольжения, прилегающие к поверхности льда или снега, с профильными канавками, проходящими в направлении движения, отличающийся тем, что с обеих сторон по краям профильных канавок (4) на поверхности (1,2) скольжения выступают проходящие параллельно им гребни (5) в виде утолщений с закругленным поперечным сечением, между гребнями (5) соседних профильных канавок (4) находятся центральные зоны (11) скольжения, проходящие в направлении движения, и поверхности (1, 2) скольжения с профильными канавками (4) и с их гребнями (5) предусмотрены на лезвиях (3) или на скользящих кромках (21), соединяемых с полозьями с возможностью разъема.
2. Снаряд по п.1, отличающийся тем, что одна профильная канавка (4) предусмотрена посередине, а другие - вблизи соответствующих кромок (24, 25) поверхности (1) скольжения, причем между средней профильной канавкой (4) и боковыми профильными канавками (4) предусмотрены соответствующие центральные зоны (11) скольжения, а между боковыми профильными канавками (4) и внешними кромками (24, 25) - соответствующие внешние зоны (12) скольжения.
3. Снаряд по п.1, отличающийся тем, что профильные канавки (4) выполнены глубже зон (11, 12) скольжения.
4. Снаряд по одному из пп.1-3, отличающийся тем, что профильные канавки (4) имеют трапецеидальную форму, а ширину - больше, чем соседние гребни (5) в виде утолщений.
5. Снаряд по п.4, отличающийся тем, что поверхности скольжения (1, 2) с профильными канавками (4) и гребнями (5) в виде утолщений выполнены путем профильного шлифования, прокатки профилей, литья профилей под давлением или спекания профилей.
6. Снаряд по п.4, отличающийся тем, что поверхности скольжения (1, 2) выполнены из металла, и профильные канавки (4) выполнены путем лазерного профилирования с образованием гребней (5) в виде утолщений.
7. Снаряд по п.6, отличающийся тем, что гребни (5) в виде утолщений имеют высоту около 0,02 мм.
8. Снаряд по п.1, отличающийся тем, что он представляет собой конек, на сменном лезвии (3) которого предусмотрена профилированная поверхность (1) скольжения.
9. Снаряд по п.8, отличающийся тем, что поверхность (1) скольжения лезвия (3) является вогнутой.
10. Снаряд по п.1, отличающийся тем, что он представляет собой лыжу или доску сноуборда с полозом (20), на боковых краях которой или которого выполнены уголковые планки скольжения, горизонтальные и вертикальные поверхности (1, 2) скольжения которых снабжены профильными канавками (4) с гребнями (5) в виде утолщений.
11. Снаряд по п.10, отличающийся тем, что горизонтальные поверхности (1) скольжения, а также вертикальные поверхности (2) скольжения имеют, по меньшей мере, одну профильную канавку (4) с гребешками (5) в виде утолщений.
12. Снаряд по п.10 или 11, отличающийся тем, что поверхности (1, 2) скольжения размещены на сменных профильных кромках (21), которые соединены с возможностью разъема с полозом (20) предпочтительно с помощью системы (30) фиксации посредством зажимов.
13. Снаряд по п.1, отличающийся тем, что поверхности (1, 2) скольжения снабжены покрытием из твердого материала.



