Микрофлюидное устройство и способ измерения термофизических характеристик пластового флюида
Иллюстрации
Показать всеИзобретение относится к разработке и оценке нефтяных месторождений. Способ измерения термофизических характеристик пластового флюида состоит в том, что в нем
обеспечивают микрофлюидное устройство, содержащее входной канал для флюида, выходной канал для флюида и микроканал, проходящий между входным каналом для флюида и выходным каналом для флюида и сообщающийся с ними по текучей среде;
вводят пластовый флюид под давлением в микроканал через входной канал для флюида;
устанавливают стабилизированное течение пластового флюида через микроканал и из выходного канала для флюида;
инициируют образование пузырьков в пластовом флюиде, находящемся в микроканале; и
определяют одну или более термофизических характеристик пластового флюида на основе поведения пузырьков, образующихся в пластовом флюиде, находящемся в микроканале. Достигается повышение точности, надежности и информативности измерений. 12 з.п. ф-лы, 14 ил.
Реферат
Область техники, к которой относится изобретение
Настоящее изобретение относится к устройству и способу измерения термофизических характеристик пластового флюида.
Уровень техники
Измерение характеристик пластового флюида составляет ключевую стадию в проектировании и разработке потенциального нефтяного месторождения. Зачастую является желательным частое выполнение таких измерений на продуктивной скважине для получения показаний прибора о производительности и параметрах процесса добычи. Примерами таких измерений являются измерения давления, объема и температуры, часто называемые как «PVT»-измерения, которые полезны для прогнозирования сложного поведения термофизических характеристик пластовых флюидов. Один важный вариант применения PVT-измерений представляет собой составление уравнения состояния, описывающего состояние нефти в пластовом флюиде. Другие представляющие интерес свойства, которые могут быть определены с использованием PVT-измерений, включают вязкость, плотность, химический состав флюида, газовый фактор и тому подобные. По завершении PVT-анализа уравнение состояния и прочие параметры могут быть использованы как исходные данные для компьютерной программы моделирования пласта-коллектора, чтобы прогнозировать поведение нефтеносного пласта.
Традиционные PVT-измерения выполняют с использованием цилиндра, содержащего пластовый флюид. Поршень, размещенный в цилиндре, поддерживает желательное давление на флюид, тогда как высоту уровней жидкой и газовой фаз измеряют с помощью, например, катетометра.
Несмотря на широкую распространенность, традиционные PVT-измерения имеют ряд серьезных ограничений. Во-первых, для выполнения традиционного PVT-анализа обычно требуется время до нескольких недель. Более того, значительный объем пластового флюида, часто вплоть до 4 литров, нужно поддерживать при давлениях до около 1400 килограммов на квадратный сантиметр (20000 фунтов/квадратный дюйм) при перевозке от буровой площадки до лаборатории для испытаний. Отгрузка и транспортировка такого крупного образца под столь высоким давлением являются дорогостоящими и создают существенные проблемы безопасности.
Хотя существуют известные в технологии способы охарактеризования параметров пластового флюида, однако они имеют значительные недостатки.
Существует потребность в микрофлюидном устройстве и способе измерения термофизических характеристик пластового флюида.
Сущность изобретения
Задача настоящего изобретения состоит в представлении микрофлюидного устройства и способа измерения термофизических характеристик пластового флюида.
В одном аспекте представлено микрофлюидное устройство для измерения термофизических характеристик пластового флюида. Устройство включает в себя первую подложку, задающую микроканал, входную лунку и выходную лунку. Микроканал проходит между входной лункой и выходной лункой и сообщается с ними по текучей среде. Устройство дополнительно включает в себя вторую подложку, присоединенную к первой подложке, для формирования микрофлюидного устройства. Вторая подложка задает входной проток, сообщающийся по текучей среде с входной лункой, и выходной проток, сообщающийся по текучей среде с выходной лункой. Входной проток сконфигурирован для приема пластового флюида под давлением.
В еще одном аспекте представлен способ измерения термофизических характеристик пластового флюида. Способ включает в себя этапы, на которых обеспечивают микрофлюидное устройство, задают входной канал для флюида, выходной канал для флюида и микроканал, проходящий между входным каналом для флюида и выходным каналом для флюида и сообщающийся с ними по текучей среде. Способ дополнительно включает в себя этап, на котором вводят пластовый флюид под давлением в микроканал через входной канал для флюида и создают стабильный поток пластового флюида через микроканал и из выходного канала для флюида. Способ дополнительно включает в себя этапы, на которых определяют одну или более термофизических характеристик пластового флюида, основываясь на размере пузырьков, образующихся в пластовом флюиде, находящемся в микроканале, и концентрации пузырьков в пластовом флюиде, находящемся в микроканале.
Настоящее изобретение предоставляет значительные преимущества, включающие: (1) обеспечение возможности измерения термофизических характеристик пластового флюида с использованием малых количеств пластового флюида; (2) обеспечение возможности выполнения анализов «давление-объем-температура» своевременно; и (3) обеспечение возможности измерения термофизических характеристик пластового флюида с использованием анализа изображений.
Дополнительные задачи, признаки и преимущества будут очевидными из нижеследующего письменного описания.
Краткое описание чертежей
Элементы новизны изобретения изложены в прилагаемых пунктах формулы изобретения. Однако само изобретение, а также предпочтительный режим его применения, и дополнительные задачи и преимущества такового будут более понятными с привлечением нижеследующего подробного описания, прочитанного в сочетании с сопроводительными чертежами, в которых:
фиг.1 представляет стилизованное перспективное изображение в разобранном виде первого иллюстративного варианта осуществления микрофлюидного устройства для измерения термофизических характеристик пластового флюида;
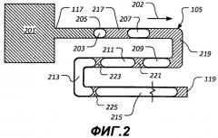
фиг.2 представляет стилизованное схематическое изображение реакции пластового флюида, когда пластовый флюид протекает через микрофлюидное устройство согласно фиг.1;
фиг.3 представляет вид сверху микрофлюидного устройства из фиг.1, изображающий три режима течения пластового флюида;
фиг.4 представляет стилизованный вид сбоку в вертикальной проекции системы измерения пластового флюида, включающей в себя микрофлюидное устройство из фиг.1 и фотокамеру для формирования изображений действующего микрофлюидного устройства;
фиг.5 представляет вид сверху второго иллюстративного варианта исполнения микрофлюидного устройства для измерения термофизических характеристик пластового флюида;
фиг.6 представляет вид сбоку в вертикальной проекции микрофлюидного устройства из фиг.5;
фиг.7-9 изображают примерные сужения микроканала в микрофлюидном устройстве из фиг.5;
фиг.10 изображает иллюстративный вариант осуществления держателя микрофлюидного устройства в действии с фиксацией микрофлюидного устройства;
фиг.11 представляет серию фотографий, изображающих распределение жидкости/пузырьков в примерном флюиде из метано-декановой смеси в микрофлюидном устройстве;
фиг.12 представляет график, изображающий жидкостный объем в процентах от общего объема в примерном флюиде из метано-декановой смеси в зависимости от температуры;
фиг.13 представляет график, изображающий традиционные расчеты «давления-объема-температуры» для флюида из метано-декановой смеси согласно фиг.12; и
фиг.14 представляет график, изображающий пример фазного состояния для конкретного сжатого или «подвижного» пластового флюида.
В то время как изобретение предусматривает разнообразные модификации и альтернативные формы, конкретные варианты осуществления такового были показаны в порядке примера в чертежах и подробно описаны в описании изобретения. Однако следует понимать, что приведенное здесь описание конкретных вариантов осуществления не предполагает ограничения изобретения конкретными раскрытыми формами, но, напротив, изобретение должно охватывать все модификации, эквиваленты и альтернативы, попадающие в пределы области изобретения, каковая определена прилагаемыми пунктами формулы изобретения.
Подробное описание изобретения
Ниже описаны иллюстративные варианты осуществления изобретения. Для большей ясности в этом описании представлены не все признаки реального варианта осуществления. Будет понятно, что в разработке любого такого реального варианта осуществления должны быть приняты многочисленные решения, конкретные для реализации, чтобы достигнуть конкретных целей разработчика, такие как соответствие ограничивающим условиям, имеющим отношение к системным и деловым вопросам, которые будут варьировать от одного варианта осуществления к другому. Более того, будет понятно, что такие проектно-конструкторские работы могут быть сложными и занимать много времени, но тем не менее были бы в пределах компетенции для квалифицированных специалистов в этой области техники, для которых это изобретение было бы полезным.
Настоящее изобретение представляет микрофлюидное устройство и способ измерения термофизических характеристик пластового флюида. Для целей настоящего изобретения термин «пластовый флюид» означает флюид, сохраняемый в подповерхностном массиве проницаемой горной породы или пропускаемый таковым. Более того, для целей настоящего изобретения термин «микрофлюидный» означает содержащий флюид канал, имеющий ширину в пределах диапазона от десятков до сотен микрометров, но с длиной, которая во много раз превышает ширину канала.
На фиг.1 показано стилизованное перспективное изображение в разобранном виде первого иллюстративного варианта осуществления микрофлюидного устройства 101. В иллюстрированном варианте осуществления микрофлюидное устройство 101 включает в себя первую подложку 103, задающую микроканал 105, входную лунку 107 и выходную лунку 109. Микроканал 105 проходит между входной лункой 107 и выходной лункой 109 и сообщается с ними по текучей среде. Микроканал 105 образует извилистый профиль в первой подложке 103, что обеспечивает возможность создания микроканала 105 со значительной длиной, в то же время занимая относительно небольшую площадь. В предпочтительном варианте осуществления микроканал 105 имеет длину в один или несколько метров, ширину около 100 микрометров и глубину около 50 микрометров, хотя настоящее изобретение также предусматривает другие размеры микроканала 105. Микрофлюидное устройство 101 дополнительно включает в себя вторую подложку 111, имеющую нижнюю поверхность 113, которая соединена с верхней поверхностью 115 первой подложки 103. Когда вторую подложку 111 присоединяют к первой подложке 103, микроканал 105 становится закрытым, за исключением впускного канала 117 у входной лунки 107 и выпускного канала 119 у выходной лунки 109. Вторая подложка 111 задает проходящие через нее входной проток 121 и выходной проток 123, которые сообщаются по текучей среде с входной лункой 107 и выходной лункой 109, соответственно, на первой подложке 103.
На фиг.1 первая подложка 103 предпочтительно изготовлена из кремния и имеет толщину приблизительно 500 микрометров, и вторая подложка 111 изготовлена из стекла, такого как боросиликатное стекло, хотя настоящее изобретение предусматривает и другие материалы для первой подложки 103, как более подробно обсуждается здесь. Примерные боросиликатные стекла производятся фирмой Schott North America, Inc. в Элмсфорде, штат Нью-Йорк, США, и Corning Incorporated в Корнинге, штат Нью-Йорк, США.
В эксплуатационных условиях пластовый флюид под давлением нагнетается через входной проток 121, входную лунку 107 и впускной канал 117 в микроканал 105. Пластовый флюид выходит из микроканала 105 через выпускной канал 119, выходную лунку 109 и выходной проток 123. Микроканал 105 создает значительное сопротивление течению пластового флюида через него, поскольку микроканал 105 имеет очень маленькое поперечное сечение по сравнению с длиной микроканала 105. Когда устанавливают поток флюида между впускным каналом 117 и выпускным каналом 119 микроканала 105, давление пластового флюида внутри микроканала 105 падает от входного давления, например пластового давления, на впускном канале 117 до выходного давления, например атмосферного давления, на выпускном канале 119. Общее падение давления между впускным каналом 117 и выпускным каналом 119 зависит от величины входного давления и вязкости пластового флюида. Поток флюида через микроканал 105 является ламинарным, и поэтому падение давления между впускным каналом 117 и выпускным каналом 119 является линейным, когда течение пластового флюида является однофазным.
На фиг.2 показано стилизованное схематическое изображение реакции пластового флюида 201, когда пластовый флюид протекает через микроканал 105 в направлении, в основном соответствующем стрелке 202. Когда пластовый флюид поступает во впускной канал 117 микроканала 105, пластовый флюид находится под давлением выше «давления насыщения нефти газом» пластового флюида. Давление насыщения нефти газом флюида представляет собой давление, при котором или ниже которого флюид начинает закипать, то есть в нем образовываются пузырьки при данной температуре. Когда пластовый флюид выходит из выпускного канала 119 микроканала 105, пластовый флюид находится под давлением ниже давления насыщения нефти газом пластового флюида. Таким образом, «первый» пузырек 203 образуется в пластовом флюиде в некотором месте, например в точке 205 на фиг.2, внутри микроканала 105, где пластовый флюид находится под давлением насыщения нефти газом. Ниже по потоку относительно места 205 в микроканале 105 возникает многофазное течение пластового флюида 201, например поток газа и жидкости. Образовавшиеся ранее пузырьки, например пузырьки 207, 209, 211, 213, 215 и тому подобные, увеличиваются в размерах по мере того, как пластовый флюид 201 протекает внутри микроканала 105 после местоположения, соответствующего формированию первого пузырька, благодаря снижению давления в этой части микроканала 105 и усиленному испарению более легких компонентов пластового флюида 201. Пузырьки разделены жидкостными пробками, такими как пробки 217, 219, 221, 223, 225 и тому подобные. Расширение пузырьков, таких как пузырьки 207, 209, 211, 213, 215, приводит к повышению скорости течения пузырьков и жидкостных пробок, таких как пробки 217, 219, 221, 223, 225, внутри микроканала 105. Величина массового расхода потока пластового флюида 201 по существу постоянна вдоль микроканала 105, однако значение объемного расхода пластового флюида 201 повышается по мере протекания пластового флюида вдоль микроканала 105.
Термофизические характеристики пластового флюида, такого как пластовый флюид 201 на фиг.2, например газовый фактор, фазное состояние и уравнение состояния, могут быть определены измерением размера и концентрации пузырьков внутри микроканала 105. Обратимся теперь к фиг.3, на которой изображено течение пластового флюида через микроканал 105 в трех режимах. Первый пузырек, такой как первый пузырек 203 на фиг.2, образуется в точке 301 вдоль микроканала 105. На расстоянии от впускного канала 117 микроканала 105 до местоположения 301 первого пузырька, обозначенного на фиг.3 как первая область 303, давление пластового флюида превышает давление насыщения нефти газом. Внутри первой области 303 пузырьки не наблюдаются. В первой области 303 течение пластового флюида по существу ламинарное благодаря низкому числу Рейнольдса, и падение давления в нем является практически линейным. Как только образуются пузырьки, пузырьки перемещаются вдоль микроканала 105 в сторону выпускного канала 119, и объем пузырьков увеличивается. Во второй области 305 объемное паросодержание пластового флюида, то есть отношение объема газа к общему объему, имеет значение менее единицы. В третьей области 307 течение пластового флюида контролируется высокоскоростным течением газа. Газовые пузырьки разделены небольшими каплями жидкости, такой как вода. Давление пластового флюида внутри третьей области 307 быстро падает. Газовые пузырьки перемещаются внутри второй области 305 с меньшей скоростью, чем в третьей области 307, где за их движением часто почти невозможно уследить невооруженным глазом.
Как только в микроканале 105 устанавливается стабилизированное течение пластового флюида, используют фотокамеру 401 для регистрации моментальных снимков потока, как показано на фиг.4. Следует отметить, что течение пластового флюида во впускной канал 117 (показанный на фиг.1 и 3) представлено стрелкой 403, и что течение пластового флюида из выпускного канала 119 (показанного на фиг.1 и 3) представлено стрелкой 405. В одном варианте исполнения фотокамера 401 представляет собой фотокамеру типа устройства с зарядовой связью (CCD). Изображения, полученные фотокамерой 401, обрабатывают с использованием компьютерной программы для анализа изображений, такой как ImageJ 1.38x, которую можно получить в Национальном Институте Здоровья Соединенных Штатов, Бетесда, Мериленд, США, и ProAnalyst из фирмы Xcitex, Inc., Кембридж, Массачусетс, США, для измерения размера и концентрации пузырьков в пластовом флюиде, находящемся в микроканале 105. С использованием этого способа могут быть определены многие термофизические характеристики пластового флюида, такие как газовый фактор, фазное состояние и уравнение состояния.
Фиг.5 и 6 изображают второй иллюстративный вариант осуществления микрофлюидного устройства 501. Как и в микрофлюидном устройстве на фиг.1, микрофлюидное устройство 501 включает в себя первую подложку 503, задающую микроканал 505, входную лунку 507 и выходную лунку 509. Микроканал 505 проходит между входной лункой 507 и выходной лункой 509 и сообщается с ними по текучей среде. В иллюстрированном варианте осуществления первая подложка 503 изготовлена из кремния, однако первая подложка 503 может быть сделана из стекла. В одном варианте осуществления микроканал 505 входную лунку 507 и выходную лунку 509 сначала формируют на первой подложке 503 с использованием фотолитографического способа и затем вытравливают в первой подложке 503 с использованием технологии глубокого реактивного ионного травления. Как и в первом варианте осуществления, показанном на фиг.1, в предпочтительном варианте осуществления микроканал 505 имеет длину в один или несколько метров, ширину около 100 микрометров и глубину около 50 микрометров, хотя настоящее изобретение также предусматривает другие размеры микроканала 505.
Микрофлюидное устройство 501 дополнительно включает в себя вторую подложку 511, задающую входной проток 513 и выходной проток 515, сообщающиеся по текучей среде с входной лункой 507 и выходной лункой 509. Вторая подложка 511 изготовлена из стекла, как обсуждалось здесь в отношении второй подложки 111 (показанной на фиг.1). В одном варианте осуществления входной проток 513 и выходной проток 515 сформированы во второй подложке 511 с использованием гидроструйного способа или способом гидроабразивной резки. Первую подложку 503 и вторую подложку 511 предпочтительно соединяют с помощью способа анодной сварки после тщательной очистки соединяемых поверхностей подложек 503 и 511.
Настоящее изобретение рассматривает микрофлюидное устройство 501, имеющее любой пригодный размер и/или форму, необходимые для конкретной реализации. В одном варианте исполнения микрофлюидное устройство 501 имеет общую длину А около 80 миллиметров и общую ширину В около 15 миллиметров. В таком варианте исполнения протоки 513 и 515 разнесены друг от друга на расстояние С около 72 миллиметров. Следует отметить, что микрофлюидное устройство 101 также может иметь размеры, соответствующие микрофлюидному устройству 501. Однако область настоящего изобретения этим не ограничивается.
Ссылаясь на фиг.7, на которой одна или более частей микроканала 505 включают в себя зоны с уменьшенной площадью поперечного сечения, чтобы вызывать формирование центров образования пузырьков в пластовом флюиде. Например, как показано на фиг.7 и 8, во впускном канале микроканала 505 сформирован микродиффузор 701 Вентури. Микродиффузор 701 Вентури включает в себя сопло с отверстием 801, имеющим ширину W 1, которая является меньшей, чем ширина W 2 микроканала 505. Сужение, образованное микродиффузором 701 Вентури, обуславливает значительное падение давления в пластовом флюиде на отверстии 801 сопла наряду с повышением скорости течения пластового флюида. Совместное действие падения давления и увеличения скорости вызывают формирование центров образования пузырьков в пластовом флюиде. Предпочтительно, микроканал 505 дополнительно включает в себя одно или более дополнительных сужений 703, как показано на фиг.7 и 9. Сужения 703 имеют значения ширины W 3, которые являются меньшими, чем ширина W 4 микроканала 505. Предпочтительно, ширина W 1 отверстия 801 сопла и величины ширины W 3 сужений 703 составляют около 20 микрометров, тогда как предпочтительная ширина W 2 и W 4 микроканала 505 составляет 100 микрометров. Эти сужения увеличивают скорость пластового флюида примерно на 500 процентов.
На фиг.10 изображен иллюстративный вариант осуществления держателя 1001 микрофлюидного устройства при применении для удерживания микрофлюидного устройства, такого как микрофлюидное устройство 101 или 501. Держатель 1001 включает в себя первую головку 1003 и вторую головку 1005, соединенные стяжными стержнями 1007 и 1009. Микрофлюидное устройство 101 или 501 зафиксировано на своем месте на первой головке 1003 и второй головке 1005 пластинами 1011 и 1013, соответственно, которые присоединены к головкам 1003 и 1005 креплениями 1015. Держатель 1001 обеспечивает надлежащую опору и соединительное гнездо 1017 высокого давления для пропускания пластового флюида в микрофлюидное устройство 101 или 501. Держатель 1001 наряду с микрофлюидным устройством 101 или 501 может быть размещен на микроскопе (не показан) или может быть доступен визуальному наблюдению.
На фиг.11 представлена серия фотографий, изображающих распределение жидкости/пузырьков при температурах 27°С, 44°С, 59°С и 75°С в примерном флюиде из метано-декановой смеси, находящемся в микрофлюидном устройстве 501. Флюидная смесь приведена в равновесие при давлении 37 килограммов/квадратный сантиметр (530 фунтов/квадратный дюйм) при комнатной температуре. Давление нагнетания для каждого экспериментального цикла составляет 42 килограмма/квадратный сантиметр (600 фунтов/квадратный дюйм). На фиг.11 флюид нагнетают в микрофлюидное устройство 501 слева. На фотографиях белые линии изображают жидкостные пробки, тогда как газ показан в виде темных промежутков, разделенных жидкостными пробками. Давление капель флюида падает по мере перемещения флюида в сторону ниже по потоку к выходу. Падение давления обуславливает расширение газовых пузырьков наряду с усилением испарения из жидкостной фазы, что проявляется в увеличении объемного паросодержания, то есть отношения объема газа к общему объему, в микроканале 505 (лучше всего показанном на фиг.5).
На фиг.12 изображены изменения объема жидкости в процентах от общего объема в примерном флюиде из метано-декановой смеси, имеющем давление насыщения нефти газом 37 килограммов/квадратный сантиметр (530 фунтов/квадратный дюйм), в результате действия температуры. Повышение температуры микроканала 505 (лучше всего показанного на фиг.5) приводит к более быстрому испарению жидкости и расширению газа. Это проявляется в измерениях с использованием способа анализа изображений. Эти измерения показаны на фиг.12 при температурах 27°С и 75°С. На фиг.12 вертикальная ось представляет объем жидкости в процентах от общего объема, и горизонтальная ось показывает длину микроканала 505. При температуре 27°С объем газа во флюиде составляет около трех процентов на входе в микроканал 505. Объем газа увеличивается примерно до 97 процентов при атмосферном давлении вблизи выхода из микроканала 505. При температуре 75°С наблюдается тенденция, подобная найденной для температуры 27°С. Однако объем газа повышается во флюиде с большей скоростью. Результаты этих измерений согласуются с традиционными расчетами параметров «давление-объем-температура» для этого флюида, как показано на фиг.13.
С использованием данных из фиг.12 может быть рассчитана информация, необходимая для типичного эксперимента расширения при постоянном составе (ССЕ). Более того, благодаря короткому периоду времени, нужному для достижения термического равновесия, эксперимент может быть проведен при многообразных температурах, что имеет результатом более точные измерения характеристик фаз.
На фиг.14 изображен примерный график фазного состояния для конкретного сжатого или «подвижного» пластового флюида. В скважинных условиях пластовый флюид находится в состоянии недонасыщения. Другими словами, давление в пласте является более высоким, чем давление насыщения нефти газом. Стрелка на фиг.14 показывает изотермическое падение давления пластового флюида до точки насыщения. Точка насыщения представляет одиночную точку на графике фазного состояния. Точка насыщения, измеренная с использованием этого способа, приведена для данной температуры. Температура пластового флюида в экспериментальных условиях может быть изменена и измерена точка вскипания, что обеспечивает достоверное представление фазного состояния.
Конкретные варианты исполнения, раскрытые выше, являются только иллюстративными, так как изобретение может быть модифицировано и реализовано иными, но эквивалентными путями, очевидными квалифицированным специалистам в этой области технологии, для которых будут полезными приведенные здесь инструкции. Далее, не предполагаются никакие ограничения в отношении показанных здесь деталей конструкции или компоновки, иные, нежели описанные в нижеприведенных пунктах формулы изобретения. Поэтому очевидно, что представленные выше конкретные варианты исполнения могут быть изменены или модифицированы, и все такие вариации считаются входящими в пределы области изобретения. Соответственно этому объем правовой защиты заявленного решения ограничен нижеприведенными пунктами формулы изобретения. Хотя настоящее изобретение показано в ограниченном числе форм, оно не ограничивается именно этими формами, но может быть предметом разнообразных изменений и модификаций.
1. Способ измерения термофизических характеристик пластового флюида, в котором:обеспечивают микрофлюидное устройство, содержащее входной канал для флюида, выходной канал для флюида и микроканал, проходящий между входным каналом для флюида и выходным каналом для флюида и сообщающийся с ними по текучей среде;вводят пластовый флюид под давлением в микроканал через входной канал для флюида;устанавливают стабилизированное течение пластового флюида через микроканал и из выходного канала для флюида;инициируют образование пузырьков в пластовом флюиде, находящемся в микроканале; иопределяют одну или более термофизических характеристик пластового флюида на основе поведения пузырьков, образующихся в пластовом флюиде, находящемся в микроканале.
2. Способ по п.1, в котором определение одной или более термофизических характеристик пластового флюида основывается на размере пузырьков, образовавшихся в пластовом флюиде, находящемся в микроканале, и концентрации пузырьков в пластовом флюиде, находящемся в микроканале.
3. Способ по п.1 или 2, в котором определение одной или более термофизических характеристик выполняют с использованием зарегистрированных изображений пластового флюида, находящегося в микроканале.
4. Способ по п.1 или 2, в котором одна или более термофизических характеристик включает одно или более из газового фактора, фазного состояния и уравнения состояния.
5. Способ по п.3, в котором одна или более термофизических характеристик включает одно или более из газового фактора, фазного состояния и уравнения состояния.
6. Способ по п.1 или 2, в котором образование пузырьков инициируют с помощью одной или более зон с уменьшенной площадью поперечного сечения в микроканале.
7. Способ по п.3, в котором образование пузырьков инициируют с помощью одной или более зон с уменьшенной площадью поперечного сечения в микроканале.
8. Способ по п.4, в котором образование пузырьков инициируют с помощью одной или более зон с уменьшенной площадью поперечного сечения в микроканале.
9. Способ по п.5, в котором образование пузырьков инициируют с помощью одной или более зон с уменьшенной площадью поперечного сечения в микроканале.
10. Способ по п.6, в котором одна или более зон с уменьшенной площадью поперечного сечения в микроканале включает в себя микродиффузор Вентури.
11. Способ по п.7, в котором одна или более зон с уменьшенной площадью поперечного сечения в микроканале включает в себя микродиффузор Вентури.
12. Способ по п.8, в котором одна или более зон с уменьшенной площадью поперечного сечения в микроканале включает в себя микродиффузор Вентури.
13. Способ по п.9, в котором одна или более зон с уменьшенной площадью поперечного сечения в микроканале включает в себя микродиффузор Вентури.
 
                         
                            


