Скважинный штанговый насос

Иллюстрации

Показать все

Изобретение относится к области гидромашиностроения, в частности к скважинным штанговым насосам, предназначенным для добычи жидкости из скважин, и может быть использовано в нефтегазодобывающей отрасли. Скважинный штанговый насос содержит цилиндр со всасывающим клапаном, установленный в цилиндре с возможностью возвратно-поступательного движения полый плунжер с нагнетательным клапаном, и уплотнительное устройство, размещенное между цилиндром и плунжером. Уплотнительное устройство включает набор разрезных колец, установленных на корпусе плунжера и ограниченных от осевого смещения. Плунжер содержит гильзы с поршнями, предназначенные для восприятия силы давления столба жидкости в полости плунжера и передаче усилия на разрезные кольца, ограниченные сверху регулировочной гайкой, момент затяжки которой определяет силу реакции разрезных колец на стенки цилиндра. Улучшены технико-экономические показатели скважин, оборудованных этими скважинными насосами. 3 ил.

Реферат

Изобретение относится к области гидромашиностроения, в частности к скважинным штанговым насосам, предназначенным для добычи жидкости из скважин, и может быть использовано в нефтегазодобывающей отрасли.

Одной из главных причин выхода из строя скважинного штангового насоса является износ насоса, в частности пары цилиндр-плунжер. От степени износа насоса зависит также его производительность.

Известен скважинный штанговый насос, включающий плунжер, представляющий собой трубу с наружной рабочей поверхностью, имеющей износостойкое хромовое покрытие или нанесенный износостойкий порошок, а также выполненные на части наружной поверхности плунжера кольцевые канавки (см. каталог «Скважинные штанговые насосы для добычи нефти», М., ЦИНТИХИМНЕФТЕМАШ, 1988, стр.31).

При прохождении откачиваемой жидкости наружная поверхность плунжера выполняет функцию обеспечения герметичности пары плунжер-цилиндр, кольцевые канавки выполняют функцию аккумулирования части находящихся в откачиваемой жидкости механических примесей.

Недостатком данного устройства является то, что кольцевые канавки быстро заполняются примесями и создают на некоторой части плунжера поверхность с высокой твердостью, что приводит к ужесточению процесса изнашивания цилиндра насоса.

Известен скважинный штанговый насос, содержащий цилиндр, расположенный в цилиндре подвижно полый плунжер с выполненными на его боковой поверхности кольцевыми канавками, в которых расположены неразрезные упругие кольца с V-образными выступами на боковых поверхностях, контактирующие с поверхностью цилиндра (см. авторское свидетельство SU №1610073, F04B 53/14, F04B 47/02, 1990 г.).

При движении полого плунжера вверх под давлением столба откачиваемой жидкости, находящейся над плунжером, упругие уплотнительные кольца раскрываются за счет разжатия V-образного выступа.

Недостатком данного устройства является недостаточное уплотнение зазоров между боковыми поверхностями канавок на плунжере и торцами уплотнительных колец, также в зоне V-образного выступа, что приводит к утечке откачиваемой жидкости и снижению производительности насоса.

Известен также глубинный нефтяной насос, содержащий цилиндр с подвижно размещенным в нем полым плунжером с цилиндрическими канавками, в которых установлены разрезные уплотнительные элементы из эластичного материала (см. авторское свидетельство SU №577314, F04B 47/00, F16J 9/20, 1977 г.).

Для компенсации износа уплотнительные кольца выполнены с шипами на верхней торцевой и внутренней цилиндрической поверхностях, прилегающих к стенкам канавки плунжера.

Недостатками данного устройства являются утечка жидкости в зазоре между наружной боковой поверхностью колец и уплотняемой поверхностью цилиндра и накопление абразивных частиц в канавке под кольцом, что приводит к попаданию частиц в зазор и абразивному износу цилиндра и уплотнительных колец, что резко сокращает срок эксплуатации насоса в целом.

Известен также скважинный штанговый насос, содержащий цилиндр, установленный в цилиндре подвижно полый плунжер и уплотнительный узел, включающий чередующиеся запорные кольца объемной конфигурации и уплотнительные элементы в виде манжет объемной конфигурации, выполненных из упругопластичного деформируемого давлением нагнетания материала (см. патент RU №2106530, F04B 47/02, 1998 г.).

Уплотнительный элемент имеет в сечении равнобокую трапецию, меньшее основание которой обращено в сторону зазора в паре цилиндр-плунжер и предназначено для контактирования с рабочей поверхностью цилиндра насоса, а большее основание гидравлически сообщено через радиальный канал со сквозной полостью плунжера.

Недостатками известного насоса являются сложность конструкции, что приводит к большим трудозатратам при его изготовлении, и ограничение его применения в скважинах с большим содержанием абразивных частиц, так как зазор между эластичными уплотнительными элементами и уплотняющей поверхностью цилиндра не защищен от попадания туда абразивных частиц из откачиваемой жидкости.

Наиболее близким по технической сущности и достигаемому результату к заявляемому решению является скважинный штанговый насос, содержащий цилиндр со всасывающим клапаном, установленный в цилиндре с возможностью возвратно-поступательного движения плунжер с нагнетательным клапаном, и уплотнительное устройство, размещенное между цилиндром и плунжером (см. патент RU №2213261, F04B 47/00, F04B 53/14, 2003 г.).

В данном устройстве плунжер выполнен в виде стержня с радиальными каналами, при этом уплотнительные элементы выполнены в виде неразрезных колец из упругопластичного деформируемого материала с сечением в виде равнобокой трапеции.

Недостатками известного насоса являются, во-первых, сложность конструкции, во-вторых, выполнение уплотнительных элементов из упругопластичного деформируемого материала, которое недолговечно при эксплуатации.

Как показывает практика, использование таких материалов в качестве уплотнений оправдано только свойством резины принимать форму ответной части уплотняемого соединения. Для создания герметичного соединения с использованием резинотехнических изделий необходимо изготовление жестких приспособлений для этих элементов, создающих каркас, ограничивающий изменение формы резины во всех направлениях, кроме уплотняемого соединения.

Задачей изобретения является улучшение технико-экономических показателей скважин, оборудованных скважинными штанговыми насосами.

Технический результат изобретения заключается в обеспечении в течение длительного периода эксплуатации скважин эффективного уплотнения пары плунжер-цилиндр скважинного штангового насоса.

Дополнительный технический результат заключается в упрощении конструкции плунжера насоса и снижении трудоемкости его изготовления.

Для достижения указанного технического результата в скважинном штанговом насосе, содержащем цилиндр со всасывающим клапаном, установленный в цилиндре с возможностью возвратно-поступательного движения полый плунжер с нагнетательным клапаном, и уплотнительное устройство, размещенное между цилиндром и плунжером, согласно изобретению, уплотнительное устройство включает набор разрезных колец, установленных на корпусе плунжера и ограниченных от осевого смещения, при этом плунжер содержит гильзы с поршнями, предназначенные для восприятия силы давления столба жидкости в полости плунжера и передаче усилия на разрезные кольца, ограниченные сверху регулировочной гайкой, момент затяжки которой определяет силу реакции разрезных колец на стенки цилиндра.

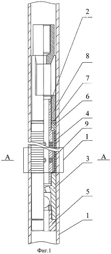
Сущность изобретения поясняется чертежами, где на фиг.1 изображен плунжер скважинного штангового насоса; на фиг.2 представлен продольный разрез элемента I на фиг.1; на фиг.3 представлен поперечный разрез А-А на фиг.1.

Следует учесть, что на чертежах для большей ясности представлены только те детали, которые необходимы для понимания существа технического решения, а сопутствующее оборудование, хорошо известное специалистам в данной области, на чертежах не представлено.

Скважинный штанговый насос содержит неподвижный цилиндр 1 со всасывающим клапаном (на чертеже не показан) и установленный в цилиндре 1 с возможностью возвратно-поступательного движения вдоль оси цилиндра 1 полый плунжер 2 с нагнетательным клапаном 3.

Насос снабжен уплотнительным устройством в виде набора металлических разрезных колец 4 прямоугольного сечения, нанизанных на полый внутри цилиндрический корпус плунжера 2.

Смещение колец 4 вдоль оси корпуса плунжера 2 ограничено снизу корпусом нагнетательного клапана 3, выполненным с держателем седла клапана 5, а сверху - регулировочной гайкой 6, ограниченной от самопроизвольного отворачивания стопорным кольцом 7 и корпусом клапана 8.

На наружной стороне корпуса плунжера 2, через равные расстояния, профрезерованы четыре продольных паза, имеющих прямоугольное сечение. Внутрь пазов вставлены упорные планки 9. Внешняя сторона упорных планок 9 имеет форму дуги окружности, совпадающей с формой внешней поверхности корпуса плунжера 2.

Вдоль продольной оси каждого паза, перпендикулярно оси корпуса плунжера 2, через равные расстояния, просверлены отверстия, оси которых совпадают с радиусом сечения корпуса плунжера 2, проходящего через центр отверстия. В отверстия вкручены металлические гильзы 10, в которых расположены металлические поршни 11.

Один торец поршня 11 примыкает к упорной планке 9, а другой - совпадает с внутренней поверхностью корпуса плунжера 2.

Устройство работает следующим образом.

При движении плунжера 2 из нижней мертвой точки вверх нагнетательный клапан 3 закрыт. В этот момент на внутреннюю поверхность штока плунжера 2 действует сила давления жидкости, равная давлению, создаваемому динамическим уровнем скважины. Кроме того, в момент ускорения плунжера 2 возникает давление, связанное с действием сил инерции на столб жидкости внутри колонны.

Надплунжерный столб откачиваемой жидкости своим давлением воздействует на поршни 10, которые, в свою очередь, давят на упорные планки 9.

Упорные планки 9, воздействуя на внутреннюю поверхность разрезных колец 4 в четырех точках, деформируют их в радиальном направлении до момента контакта со стенками цилиндра 1, благодаря чему происходит уменьшение зазора в сопряжении «плунжер-цилиндр» по мере износа боковой поверхности разрывных колец 4 и зеркала цилиндра 1.

Кроме сил упругости деформации колец 4 препятствуют силы трения, возникающие между торцовыми поверхностями колец 4.

Силу трения регулируют моментом затяжки регулировочной гайки 6. Таким образом, имеется возможность ограничивать силы реакции колец 4 на стенки цилиндра 1.

Во время работы насоса возможно самопроизвольное отворачивание регулировочной гайки 6, которое блокируют стопорным кольцом 7.

При равномерной деформации колец 4 происходит уменьшение зазора между поверхностью кольца 4 и стенкой цилиндра 1, что препятствует увеличению утечек в сопряжении «плунжер-цилиндр».

Для создания усилий, действующих на кольца 4 изнутри, используют стальные поршни 11, установленные в гильзы 10, которые, в свою очередь, установлены в шток плунжера 2.

Герметичность соединения штока цилиндра 1 с гильзой 10 достигают применением герметизирующих составов. Герметичность пары «гильза-поршень» достигают притиркой контактирующих поверхностей для достижения величины зазора до 4 микрон.

Соединение штока цилиндра 1 с гильзой 10 делают разъемным для обеспечения возможности применения пар «гильза-поршень» различных типоразмеров. Усилие на поршень 11 создается за счет давления жидкости в полости плунжера 2.

Давление на поршень 11 складывается из двух величин. Первая - давление столба жидкости, равного динамическому уровню скважины, вторая - давление жидкости, возникающее за счет сил инерции при ходе плунжера 2 вверх.

Регулировка усилий распирающего давления на кольца 4 осуществляется за счет применения поршней 11, имеющих различную площадь поверхности, и за счет изменения сил трения между торцевыми поверхностями колец 4 путем изменения усилия, создаваемого регулировочной гайкой 6.

Заявляемое техническое решение позволяет упростить конструкцию плунжера и одновременно с этим обеспечить в течение длительного периода эксплуатацию скважин за счет эффективного уплотнения пары плунжер-цилиндр скважинного штангового насоса.

Устройство позволяет минимизировать зазоры в сопряжении «плунжер-цилиндр» за счет радиальной деформации колец, происходящей вследствие передачи на них давления жидкости внутри плунжера через поршни и упорные планки.

Устройство обеспечивает возможность регулировки сил реакции колец на стенки цилиндра за счет увеличения или уменьшения сил трения между боковыми поверхностями колец путем изменения давления на набор колец, создаваемого регулировочной гайкой, а также дает возможность регулировки сил реакции колец на стенки цилиндра за счет применения поршней разных диаметров.

Скважинный штанговый насос, содержащий цилиндр со всасывающим клапаном, установленный в цилиндре с возможностью возвратно-поступательного движения полый плунжер с нагнетательным клапаном, и уплотнительное устройство, размещенное между цилиндром и плунжером, отличающийся тем, что уплотнительное устройство включает набор разрезных колец, установленных на корпусе плунжера и ограниченных от осевого смещения, при этом плунжер содержит гильзы с поршнями, предназначенные для восприятия силы давления столба жидкости в полости плунжера и передаче усилия на разрезные кольца, ограниченные сверху регулировочной гайкой, момент затяжки которой определяет силу реакции разрезных колец на стенки цилиндра.