Багет для монтажа натяжного потолка

Иллюстрации

Показать все

Изобретение относится к области строительства, в частности к багету для монтажа натяжного потолка. Технический результат заключается в отсутствии видимого зазора между сопрягаемыми полотнами, упрощении конструкции и процесса монтажа потолка. Багет для монтажа натяжного потолка выполнен в виде фигурного профиля со средствами закрепления полотен. Профиль содержит основание, ребра различной длины и центральную перегородку, образующие две открытые полости для заведения и закрепления двух полотен. Основание закреплено на опорной поверхности. Ребра установлены под углом к основанию. Перегородка образована, по крайней мере, одним ребром. Размер ребра большей длины выбран с обеспечением возможности опирания на него обоих полотен. 8 з.п. ф-лы, 4 ил.

Реферат

Изобретение относится к области строительства, а именно к элементам для окончательной отделки помещений и, в частности, для сооружения многоуровневых натяжных потолков.

Для крепления натяжного полотна на потолок, стены или другие конструкции используют разнообразные по конструкции крепежные устройства (багеты). Для устранения щелей между краем полотна, заведенного в багет для крепления, и стеной или между двумя заведенными в багет полотнами в багет обычно устанавливают накладную деталь, которая имеет специальную конструкцию, закрывающую указанную щель и несколько улучшающую внешний вид натяжного потолка.

Так, например, известна конструкция багета для закрепления натяжного потолка по патенту РФ на изобретение №2040651, опубл. 25.07.1995 г.

В известной конструкции багет представляет собой комплект для монтажа натяжного потолка включающий в себя опору, выполненную из объединенных горизонтальной полкой двух боковых вертикальных ребер и более короткого центрального ребра, образующих открытые вниз полости для заведения окаймлений смежных полотен натяжного потолка с обеспечением контакта полотен с кромками боковых ребер и имеющих внутри полостей на центральном более коротком ребре средства закрепления окаймлений полотен, декоративную вставку, закрывающую вход в полости, элементы крепления опоры к потолку в виде пластин, являющихся продолжением горизонтальной полки за боковые ребра.

Недостатком багета является ненадежное закрепление окаймления полотна в полости опоры в случае, когда смежные полотна перпендикулярны друг другу и одно из полотен расположено вертикально, так как из-за отсутствия в этом случае контакта вертикального полотна с кромкой бокового ребра существенно возрастает нагрузка на гарпун, который под действием нагрузки может вывернуться наизнанку и выскочить из полости.

Кроме того, между боковыми ребрами опоры после монтажа полотен образуется технологическая щель, которая закрывается декоративной вставкой. В известной конструкции опоры декоративная вставка имеет большие размеры, так как ширина технологической щели равна ширине двух смежных полостей для заведения полотнищ. Данный недостаток приводит к ухудшению внешнего вида натяжного потолка.

Наиболее близким техническим решением является конструкция багета для закрепления натяжного потолка по патенту РФ на полезную модель №41044, предусматривающая, в частности, выполнение багета в виде фигурного профиля, содержащего опору из объединенных основанием более короткого центрального ребра и двух боковых ребер, образующих открытые полости для заведения окаймлений смежных полотен натяжного потолка, с размещенными на центральном ребре средствами закрепления окаймлений полотен, а также декоративную вставку для закрывания входа в полости.

Недостатком такого решения является образование после монтажа полотен технологической щели между первой и второй стенками багета, которую вынужденно закрывают декоративной вставкой, что ухудшает внешний вид самого натяжного потолка и помещения в целом.

Еще одним недостатком багета является ограниченная возможность по созданию натяжных потолков сложной конфигурации, поскольку для этого профиль должен быть предварительно изогнут в виде дуги или нескольких сопрягаемых дуг как в плоскости горизонтальной полки опоры, так и(или) в плоскости, перпендикулярной ей. Изогнуть один профиль в двух плоскостях невозможно, так как опирание полотен натяжного потолка осуществляется на два ребра и надрезать ребра для изгибания багета нельзя.

Технический результат изобретения состоит в расширении возможностей по созданию натяжных потолков сложной конфигурации и улучшении внешнего вида натяжного потолка за счет отсутствия видимого зазора между двумя закрепляемыми полотнами.

Указанный технический результат достигается с помощью следующей совокупности признаков.

Багет для монтажа натяжного потолка выполнен в виде фигурного профиля, содержащего закрепляемое на опорной поверхности основание, установленные под углом к нему ребра различной длины и центральную перегородку, образованную, по крайней мере, одним ребром, со средствами закрепления полотен натяжного потолка, образующие две открытые полости для заведения и закрепления двух полотен натяжного потолка, при этом размер ребра большей длины выбирается с обеспечением возможности опирания на него обоих полотен.

На конце ребра большей длины может быть выполнен выступ.

В частном случае, ребра соединены с основанием преимущественно под прямым углом, причем ребро большей длины имеет в поперечном сечении Г-образный профиль, а центральная перегородка образована двумя расположенными под углом друг к другу ребрами.

Для обеспечения жесткости конструкции ребра, образующие центральную перегородку, могут быть соединены между собой с использованием перемычки.

Вершины ребер, образующих центральную перегородку, могут быть соединены между собой, а средства закрепления полотен выполнены в виде выступов на ребрах.

В другом частном случае, ребра и центральная перегородка багета наклонены к основанию под углом меньше прямого.

Ребра и центральная перегородка могут быть наклонены к основанию с использованием перемычек.

В другом частном случае, для создания возможности формирования дополнительного перпендикулярного изгиба потолка посредством багета, он снабжен опорой, образованной соединенной с ребром большей длины стенкой, имеющей выступ по нижнему краю и дополнительно соединенной перемычками с основанием.

На основании может быть образована направляющая канавка.

Сущность изобретения заключается в том, что багет для сооружения многоуровневого потолка сконструирован таким образом, что после установки взаимно перпендикулярных полотен натяжного потолка, оба полотна опираются на одно ребро, за счет чего между ними отсутствует видимый зазор. Причем этот технический результат может быть получен при использовании в багете профиля, существенно различающегося по конфигурации.

Заявляемое решение проиллюстрировано чертежами, на которых представлены: фиг.1 - первый пример выполнения багета для монтажа многоуровневого натяжного потолка (поперечное сечение); фиг.2 - второй пример выполнения багета для монтажа многоуровневого натяжного потолка (поперечное сечение); фиг.3 - поперечное сечение третьего варианта конкретного выполнения багета, фиг.4 - пример выполнения багета, содержащего дополнительно сформированную опору (поперечное сечение).

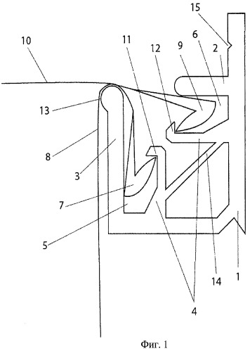
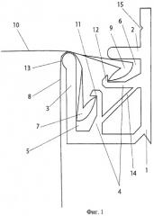
Багет для монтажа многоуровневого натяжного потолка (фиг.1) представляет собой фигурный профиль, содержащий закрепляемое на опорной поверхности (преимущественно на стене) основание 1, выполненные под углом к нему короткое ребро 2, длинное ребро 3 и центральную перегородку, в данном примере, образованную двумя, расположенными под углом друг к другу, ребрами 4, одно из которых соединено с основанием 1, а второе - с ребром 3 большей длины. Преимущественно, для такой конфигурации профиля, ребра 4 выполняют под углом около 90°, но в ряде случаев, угол может быть как больше, так и меньше 90°.

В данном примере, короткое ребро 2 и длинное ребро 3 выполнены, преимущественно, под прямым углом к основанию 1. Ребро 3 большей длины имеет в поперечном сечении Г-образный профиль. При этом изгиб ребра 3 выполняется преимущественно под углом около 90°.

Основание 1, ребра 2 и 3 и ребра 4 центральной перегородки образуют две открытые полости 5 и 6 для заведения и закрепления полотен 8 и 10 натяжного потолка с использованием, соответственно, гарпуна 7 и гарпуна 9. В качестве средств закрепления полотен 8 и 10 натяжного потолка, в данном примере, используются выступы 11 и 12 на ребрах 4, взаимодействующие с кромками соответствующих гарпунов 7 и 9.

Оптимальный размер ребра 3 большей длины, обеспечивающий возможность опирания на него обоих полотен 8 и 10, выбирается путем моделирования и опытной проверки в процессе разработки любого из вариантов конструкции багета.

На конце ребра 3 большей длины выполнен выступ 13, исключающий прилегание полотна 8 натяжного потолка к поверхности ребра 3.

Ребра 4 могут быть соединены между собой с использованием перемычки 14.

На основании 1 может быть образована направляющая канавка 15, используемая для центрирования инструмента при сверлении отверстий, используемых для закрепления багета на стене.

Багет может быть изготовлен из ПВХ или из алюминиевого сплава.

В случае изготовления багета из ПВХ целесообразно увеличить толщину наиболее нагруженных элементов, например ребер 4, у основания. Такая форма ребер 4, не только увеличивает прочность конструкции, но и обеспечивает дополнительную фиксацию гарпуна.

Багет (фиг.2) отличается выполнением центральной перегородки, при котором вершины ребер 4 соединены между собой. Средства закрепления полотен выполнены, например, в виде выступов 16 и 17 на ребрах 4.

В третьем примере выполнения багета (фиг.3), ребра 2 и 3 и ребро 4 со средствами 18 закрепления полотен, образующее центральную перегородку, наклонены к основанию под углом меньше прямого. Оптимальным для удобства монтажа и надежности удержания кромок полотен 8 и 10 натяжного полотна является угол наклона около 45°.

Ребро 2, ребро 3 и ребро 4 центральной перегородки для увеличения жесткости конструкции могут быть соединены с основанием с использованием перемычек 19 и 20.

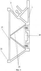
На фиг.4 приведен пример багета, позволяющего выполнить дополнительный перпендикулярный изгиб полотна натяжного потолка. Багет снабжен опорой, образованной соединенной с ребром 3 стенкой 21, имеющей выступ 22 по нижнему краю и дополнительно соединенной перемычками 23 с основанием 1.

Для придания жесткости этому виду багета при его установке используется вставка 24.

Багет используют следующим образом. Основание 1 фигурного профиля закрепляют на опорной поверхности. Причем при установке багета описываемой конфигурации на стене он крепится таким образом, чтобы ребро 3 было направлено вверх. Сначала устанавливают первое полотно 8, заводя гарпун 7 в полость 5 и зацепляя его за выступ 11. При этом первое полотно 8 опирается на кромку ребра 3 большей длины и образует вертикальную часть взаимно перпендикулярных поверхностей потолка. Затем устанавливают второе полотно 10, заводя гарпун 9 в полость 6 и зацепляя его за выступ 12. При этом второе полотно 10, так же как и первое полотно 8, опирается на кромку ребра 3 и образует горизонтальную часть взаимно перпендикулярных поверхностей потолка без видимого зазора между вторым полотном 10 и первым полотном 8.

В случае создания натяжного потолка сложной формы, благодаря тому что оба полотна натяжного потолка опираются на одно ребро, профиль можно гнуть как в вертикальном, так и в горизонтальном направлении.

Таким образом, предлагаемая конструкция багета для монтажа многоуровневого натяжного потолка позволяет создать многоуровневую конструкцию, в которой между сопрягаемыми полотнами отсутствует видимый зазор, без использования дополнительных элементов, что упрощает конструкцию багета, процесс монтажа потолка и заметно улучшает внешний вид потолка и всего помещения

Заявляемый багет для монтажа многоуровневого натяжного потолка может быть изготовлен в условиях серийного производства освоенными технологическими методами с использованием существующих материалов и оборудования.

1. Багет для монтажа натяжного потолка, выполненный в виде фигурного профиля, содержащего закрепляемое на опорной поверхности основание, установленные под углом к основанию ребра различной длины и центральную перегородку, образованную, по крайней мере, одним ребром, со средствами закрепления полотен, образующие две открытые полости для заведения и закрепления двух полотен натяжного потолка, при этом размер ребра большей длины выбирается с обеспечением возможности опирания на него обоих полотен.

2. Багет по п.1, отличающийся тем, что на конце ребра большей длины выполнен выступ.

3. Багет по п.1, отличающийся тем, что ребра соединены с основанием преимущественно под прямым углом, причем ребро большей длины имеет в поперечном сечении Г-образный профиль, а центральная перегородка образована двумя расположенными под углом друг к другу ребрами.

4. Багет по п.3, отличающийся тем, что ребра, образующие центральную перегородку, соединены между собой с использованием перемычки.

5. Багет по п.3, отличающийся тем, что концы ребер центральной перегородки соединены между собой, а средства закрепления полотен выполнены в виде выступов на ребрах.

6. Багет по п.1, отличающийся тем, что ребра и центральная перегородка наклонены к основанию под углом меньше прямого.

7. Багет по п.6, отличающийся тем, что два ребра и центральная перегородка наклонены к основанию с использованием перемычек.

8. Багет по п.1, отличающийся тем, что он снабжен опорой, образованной соединенной с ребром большей длины стенкой, имеющей выступ по нижнему краю и дополнительно соединенной перемычками с основанием.

9. Багет по п.1, отличающийся тем, что на основании образована направляющая канавка.