Холодильный аппарат и способ поддержания постоянной заданной температуры в холодильной камере холодильного аппарата
Иллюстрации
Показать всеХолодильный аппарат (10) содержит одну первую холодильную камеру (22) и одну вторую холодильную камеру (24), теплоизолирующую разделительную стенку (26), разделяющую камеры, холодильную установку (34) с системой теплоотвода, связанной с окружающим холодильный аппарат (10) пространством. Первая холодильная камера (22) охлаждается до первой температуры (Т1) путем отведения первого основного теплового потока (QH1) первой холодильной камеры (22) в окружающее холодильный аппарат (10) пространство. Вторая холодильная камера (24) охлаждается до второй температуры (Т2) путем отведения второго основного теплового потока (QH2). Поддержание второй температуры (Т2) постоянной, на заданном значении (Т2Soll) осуществляется устройством (36; 40) переноса тепла путем управляемого транспортирования вспомогательного теплового потока (QAUX) из второй холодильной камеры (24) в первую холодильную камеру (22) или в обратном направлении. 2 н. и 27 з.п. ф-лы, 4 ил.
Реферат
Область техники
Данное изобретение относится к холодильному аппарату и к способу поддержания постоянной заданной температуры в холодильной камере холодильного аппарата.
Уровень техники
Холодильные установки для холодильных аппаратов, в частности для бытовых холодильных аппаратов, - это обычно компрессионные холодильные установки с компрессорами. Вследствие необходимых для этого типа холодильных установок циклов включения и отключения компрессора во внутренней части холодильного аппарата, т.е. в его холодильных камерах, происходят изменения температуры в пределах до +/-8 K. Таким образом, температура в холодильных камерах не остается постоянной. Указанные температурные колебания могут приводить к повреждению соответствующих сохраняемых в холодильном аппарате предметов, как, например, медикаментов или продуктов. Эти повреждения могут представлять собой, например, изменения внутренней структуры продуктов и отрицательно влиять на качество продуктов. В частности, для чувствительных продуктов, как, например, рыба, мясо, фрукты, такие температурные колебания вредны, так как возможно значительное сокращение сроков хранения продуктов.
Известны бытовые холодильные аппараты, имеющие холодильные камеры, в которых компрессионная холодильная установка охлаждает холодильную камеру до температуры приблизительно 0°С, чтобы улучшить сохранность определенных продуктов. Однако было выяснено, что в таких бытовых холодильных аппаратах температура в этой холодильной камере изменяется примерно на +/-2,5 K, что также не подходит для сохранения чувствительных продуктов.
Кроме того, известны также термоэлектрические холодильные установки, которые позволяют хорошо регулировать внутреннюю температуру. Однако эти холодильные установки имеют очень низкий коэффициент мощности или незначительный коэффициент полезного действия, что влечет за собой высокое потребление электроэнергии и вследствие этого неблагоприятно также и с экологической точки зрения.
Раскрытие изобретения
Задача изобретения состоит в создании такого холодильного аппарата, а также такого способа, который позволяет сочетать преимущества высокого коэффициента мощности компрессионных холодильных машин с преимуществами лучшего регулирования температуры термоэлектрических холодильных машин, без повышения суммарного потребления энергии по сравнению с обычными холодильными аппаратами или способами, как можно более точно поддерживать заданную температуру охлаждения и обеспечивать сохранность продуктов как можно более длительно и надежно.
Эта задача решена холодильным аппаратом с признаками пункта 1 формулы изобретения. Этот холодильный аппарат согласно изобретению оснащен: по меньшей мере одной первой холодильной камерой и по меньшей мере одной второй холодильной камерой, которые отделены друг от друга теплоизолирующей разделительной стенкой; по меньшей мере одной холодильной установкой с системой теплоотвода, связанной с окружающим холодильный аппарат пространством, для охлаждения первой холодильной камеры до первой температуры путем отведения первого основного теплового потока из первой холодильной камеры в окружающее холодильный аппарат пространство; холодильной установкой для охлаждения второй холодильной камеры до второй температуры путем отведения второго основного теплового потока; и устройством переноса тепла для управляемой передачи вспомогательного теплового потока из второй холодильной камеры в первую холодильную камеру или в обратном направлении, с целью поддержания второй температуры постоянной, на определенном заранее заданном уровне.
Холодильный аппарат согласно изобретению, который представляет собой своего рода гибридный холодильный аппарат, позволяет совмещать преимущества хорошего коэффициента мощности обычных холодильных машин, в частности, холодильных установок компрессионного типа, с преимуществами лучшего регулирования температуры термоэлектрических холодильных машин, без повышения суммарного потребления энергии по сравнению с обычными холодильными аппаратами или способами. Кроме того, холодильный аппарат согласно изобретению позволяет очень точно поддерживать заданные температуры охлаждения, т.е. оставлять их постоянными, и таким образом обеспечивать сохранность продуктов более длительно и более надежно.
(Вспомогательное) устройство переноса тепла предпочтительно представляет собой активное термоэлектрическое устройство переноса тепла, однако не ограничивается этим. Термоэлектрическое устройство переноса тепла расположено либо в самой разделительной стенке, либо на ней, проходя сквозь нее, или на любом месте в холодильном аппарате или на нем, как, например, на боковой стенке, на задней стенке или на двери, и позволяет осуществлять целенаправленный перенос тепла вспомогательного теплового потока между соответствующими холодильными камерами. Целенаправленный или управляемый перенос тепла вспомогательного теплового потока в данном случае означает, что количество тепла, продолжительность и направление переноса тепла вспомогательного теплового потока поддаются точному регулированию. Разделительная стенка, так же как и другие стенки, определяющие холодильную камеру, выполнена предпочтительно из теплоизолирующего материала.
Холодильная установка, имеющая систему теплоотвода, связанную с окружающим холодильный аппарат пространством, предпочтительно представляет собой компрессионную холодильную установку. Однако изобретение не ограничивается этим типом холодильных установок. Холодильная установка соединена с системой теплоотвода, связанной с окружающим холодильный аппарат пространством, таким образом, что первая холодильная камера может охлаждаться до заданной первой температуры путем отвода теплового потока в окружающее пространство. В предпочтительном случае эта холодильная установка может охлаждать также и вторую холодильную камеру до второй заданной температуры. Холодильная установка и термоэлектрическое устройство переноса тепла, предпочтительно во взаимодействии, охлаждают соответствующие холодильные камеры до заданных разных температур или до одной и той же температуры и поддерживают эти температуры постоянными. Это производится с помощью (термоэлектрического) устройства переноса тепла, которое управляемым образом отводит вспомогательный тепловой поток из соответствующей холодильной камеры, в которой требуется поддерживать температуру постоянной. Кроме того, холодильная установка и термоэлектрическое устройство переноса тепла могут приводиться в действие попеременно, так что одна из двух холодильных установок отводит тепло, дополнительно произведенное другой холодильной установкой. Благодаря этому минимизируется повышение температуры при отключении одной из обеих холодильных машин. Кроме того, благодаря наличию теплового моста между отдельными холодильными камерами тепловой поток между холодильными камерами управляется таким образом, что температурные колебания минимизируются.
Термоэлектрическое устройство переноса тепла предпочтительно имеет по меньшей мере один элемент Пельтье и по меньшей мере одну систему теплообмена, в которой может иметься, например, по два радиатора в качестве теплообменников на каждый элемент Пельтье. Благодаря этому возможно достижение по меньшей мере в одной из холодильных камер более низкой температуры, чем в другой холодильной камере.
Элемент Пельтье предпочтительно расположен непосредственно на одном из теплообменников и связан с другим теплообменником через теплопроводный слой или теплопроводный элемент. Таким образом, элемент Пельтье находится в разделительной стенке или боковой стенке, вследствие чего делается возможным перенос тепла между холодильными камерами. Термин «теплопроводный» означает здесь, что теплопроводность элемента значительно выше, чем теплопроводность окружающего материала или изоляционного материала.
Холодильная установка предпочтительно рассчитана на то, чтобы отводить тепло, вырабатываемое дополнительно при работе (термоэлектрического) устройства переноса тепла, в результате чего предотвращается повышение температуры в той холодильной камере, в которую тепло переносится термоэлектрическим устройством переноса тепла.
Холодильный аппарат согласно изобретению предпочтительно имеет управляющее устройство для управления устройством переноса тепла и/или холодильной установкой. Таким образом, возможно, например, такое управление холодильной установкой и устройством переноса тепла, что холодильная установка работает, когда работает устройство переноса тепла, вследствие чего удается поддерживать на постоянном уровне заданные температуры, в частности, во второй холодильной камере. Кроме того, при помощи управляющего устройства возможно, например, предварительное задание или выбор температуры в охлаждаемых отделениях, а также регулирование направления переноса и величины вспомогательного теплового потока. Управляющее устройство может взаимодействовать с датчиками, в частности, с датчиками температуры в охлаждаемых отделениях.
Далее, задача, лежащая в основе изобретения, решается посредством способа с признаками пункта 16 формулы изобретения.
Этот способ поддержания постоянной заданной температуры в холодильной камере холодильного аппарата, имеющего по меньшей мере две отделенных друг от друга холодильных камеры, включает в себя следующие шаги, однако не обязательно в изложенной ниже последовательности:
a) охлаждение первой холодильной камеры до первой температуры Т1 путем отведения первого основного теплового потока из первой холодильной камеры в окружающее холодильный аппарат пространство,
b) охлаждение второй холодильной камеры до второй температуры Т2, и
c) поддержание по меньшей мере второй температуры Т2 во второй холодильной камере 24 постоянной на заданном заранее определенном значении температуры при помощи управляемого переноса вспомогательного теплового потока, предпочтительно намного меньшего, чем по меньшей мере первый основной тепловой поток, из первой холодильной камеры во вторую холодильную камеру и/или в обратном направлении, по заданному пути переноса, если значение второй температуры отличается от заданного значения температуры, до тех пор, пока вторая температура Т2 не будет соответствовать заданному значению температуры.
При помощи способа согласно изобретению достижимы по существу те же самые преимущества, которые были разъяснены ранее в связи с холодильным аппаратом согласно изобретению.
Дальнейшие предпочтительные варианты исполнения изобретения представлены в зависимых пунктах формулы изобретения, которые основываются на нижеследующем описании и чертежах.
Краткое описание чертежей
Дальнейшие признаки изобретения следуют из приведенного ниже описания предпочтительных вариантов осуществления и прилагаемых фигур. На них показаны:
Фиг.1: фрагмент поперечного сечения холодильного аппарата согласно первому варианту исполнения изобретения, с устройством для поддержания постоянной заданной температуры;
Фиг.2: диаграмма, представляющая изменения температуры в зависимости от времени в холодильной камере обычного бытового холодильного аппарата, оборудованного компрессионной холодильной машиной, и температурный режим холодильного аппарата согласно изобретению во времени; и
Фиг.3 фрагмент поперечного сечения холодильного аппарата согласно второму варианту исполнения изобретения, с существенными деталями устройства для поддержания постоянной заданной температуры.
Осуществление изобретения
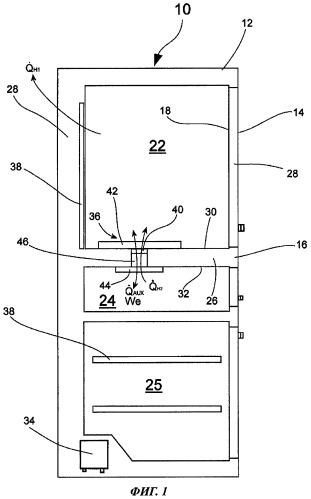
На фиг.1 показан фрагмент поперечного сечения холодильного аппарата 10 согласно изобретению по первому варианту исполнения, который представляет собой, например, бытовой холодильник и/или морозильник. Холодильный аппарат 10 имеет корпус 12. Корпус 12 имеет наружную облицовку 14, теплоизолирующий слой 16 и внутреннюю облицовку 18. В корпусе 12 образованы холодильные камеры, из которых на фиг.1 видны только первая холодильная камера 22 и вторая холодильная камера 24 (холодильная камера 24 с постоянной температурой). Первая и вторая холодильные камеры 22, 24 отделены друг от друга теплоизолирующей разделительной стенкой 26. Разделительная стенка 26 проходит между боковыми стенами 28 холодильного аппарата 10. Разделительная стенка 26 также имеет изолирующий слой 16. Разделительная стенка 26 имеет первую сторону 30, которая обращена к первой холодильной камере 22, и вторую сторону 32, которая обращена ко второй холодильной камере 24. Кроме того, благодаря уплотняющим кромкам (не показаны) разделительная стенка 26 плотно закрывается дверью холодильного аппарата 10. При этом возможно такое расположение холодильных камер, что холодильные камеры с несколько более высокой температурой находятся над холодильными камерами с несколько более низкой температурой, так что неизбежный тепловой поток снизу вверх не оказывает влияния на сохранность хранимых продуктов. Вторая холодильная камера 24 предпочтительно имеет меньший объем, чем первая холодильная камера 22.
Кроме того, холодильный аппарат 10 имеет холодильную установку 34, которая в данном случае представляет собой компрессионную холодильную установку, причем изобретение, тем не менее, не ограничивается этим типом холодильных установок. Холодильная установка 34 имеет систему теплоотвода, связанную с окружающим холодильный аппарат 10 пространством, для охлаждения первой холодильной камеры 22 до первой температуры Т1 путем отведения первого основного теплового потока QH1 от первой холодильной камеры 22 в окружающее холодильный аппарат 10 пространство. Из всей компрессионной холодильной установки 34 на рисунке представлен только испаритель 38. Испаритель 38 расположен в одной из боковых стен 28 корпуса 12 холодильного аппарата в области первой холодильной камеры 22.
Далее, холодильный аппарат 10 оборудован холодильной установкой для охлаждения второй холодильной камеры 24 до второй температуры Т2 путем отведения второго основного теплового потока ОH2. В данном варианте осуществления холодильная установка 34 для охлаждения первой холодильной камеры 22 до первой температуры Т1 и холодильная установка для охлаждения второй холодильной камеры 24 до второй температуры Т2 представляют собой отдельные холодильные установки. Однако по меньшей мере в одном из вариантов исполнения изобретения холодильная установка (здесь: 34) для охлаждения первой холодильной камеры 22 до первой температуры Т1 и холодильная установка для охлаждения второй холодильной камеры 24 до второй температуры Т2 могут также представлять собой одну и ту же холодильную установку (например, холодильную установку 34).
Кроме того, холодильный аппарат 10 оборудован (вспомогательным) устройством 36 переноса тепла для управляемого транспортирования вспомогательного теплового потока QAUX из второй холодильной камеры 24 в первую холодильную камеру 22 или в обратном направлении, с целью поддержания второй температуры Т2 постоянной на заданном значении T2Soll температуры. Устройство 36 переноса тепла в данном варианте осуществления представляет собой термоэлектрическое устройство 36 переноса тепла.
Термоэлектрическое устройство 36 переноса тепла имеет по меньшей мере один элемент 40 Пельтье. Элемент Пельтье - это деталь, которая при протекании электрического тока производит разность температур или при наличии разницы температур производит электрический ток. При этом в контакте друг с другом находятся два металла с разной энергией зон проводимости. Когда через два места контакта, расположенных последовательно, проводится ток, то в одном из мест контакта отбирается тепловая энергия. Следовательно, в этом месте контакта происходит снижение температуры. В другом же месте контакта тепловая энергия выделяется. Следовательно, в этом месте контакта увеличивается количество тепла. Если при этом теплая сторона охлаждается, например, при помощи теплообменника, то охлаждающаяся сторона становится еще холоднее. Вместо элемента Пельтье возможно использование любой другой системы переноса тепла, которая выполняет ту же функцию или пригодна для того, чтобы транспортировать тепло из одного места в другое.
Направление переноса для устройства 36 переноса тепла обратимо, что в случае элемента 40 Пельтье производится путем простого изменения полярности электрического тока, который снабжает элемент 40 Пельтье электрической энергией.
Устройство 36 переноса тепла включает в себя систему теплообмена для обмена тепловой энергией между первой холодильной камерой 22 и второй холодильной камерой 24. При этом в системе теплообмена имеются по меньшей мере два теплообменника 42, 44, из которых первый (42) относится к первой холодильной камере 22, а второй (44) - ко второй холодильной камере 24. Точнее говоря, первый теплообменник 42 расположен на первой стороне 30 разделительной стенки 26, в то время как второй теплообменник 44 расположен на второй стороне 32 разделительной стенки 26. Таким образом, следовательно, первый и второй теплообменники 42, 44 расположены по обе стороны разделительной стенки 26.
Как представлено на фиг.1, в разделительной стенке 26 предусмотрен проводник 46 тепла с высокой, по сравнению с разделительной стенкой 26, теплопроводностью, который образует в разделительной стенке 26 предусмотренный, локально ограниченный тепловой мост 46 или по меньшей мере существенную часть теплового моста 46. И термоэлектрическое устройство 36, 40 переноса тепла расположено в области теплового моста 46. Вспомогательный тепловой поток QAUX переносится посредством устройства 36, 40 переноса тепла через тепловой мост 46. Элемент 40 Пельтье расположен на первом теплообменнике 42, так, что элемент 40 Пельтье находится в разделительной стенке 26. Первый теплообменник 42 расположен на теплой стороне элемента 40 Пельтье. Между элементом 40 Пельтье и вторым теплообменником 44 в разделительной стенке 26 расположен проводник 46 тепла. Проводник 46 тепла проходит от второго теплообменника 44, проходя в разделительной стенке 26, к элементу 40 Пельтье. То есть элемент 40 Пельтье расположен между теплообменниками 42, 44 или на них и внутри разделительной стенки 26, и через проводник 46 тепла теплопроводно связан с теплообменниками 42, 44. Таким образом, проводник 46 тепла служит в качестве своего рода удлинителя охлаждающей стороны элемента 40 Пельтье. В направлении прохождения тепла, определяемом относительно направления толщины разделительной стенки 26, проводник 46 тепла имеет площадь сечения, которая предпочтительно меньше или значительно меньше соответствующих площадей сечения теплообменников 42, 44 в том же направлении. В качестве проводника 46 тепла может служить, например, алюминиевый брусок или что-либо подобное.
В данном примере, как будет еще более детально описано ниже, устройство 36, 40 переноса тепла, расположенное в области теплового моста 46, представляет собой одновременно холодильную установку для охлаждения второй холодильной камеры 24 до второй температуры Т2 (или по меньшей мере может действовать в качестве такой холодильной установки). Холодильная установка 34 имеет устройство теплоотвода для отведения по меньшей мере части отходящего тепла, произведенного в процессе работы устройства 36 переноса тепла.
В холодильном аппарате 10 имеется управляющее устройство для управления устройством 36 переноса тепла и/или холодильной установкой 34. С управляющим устройством связаны температурные датчики (не показаны) для регистрации температуры в соответствующих холодильных камерах 22, 24. При помощи управляющего устройства температуры в соответствующих холодильных камерах 22, 24 могут также задаваться или устанавливаться и регулироваться. Кроме того, холодильный аппарат 10 имеет не показанные электрические соединения для электропитания холодильной установки, термоэлектрического устройства 36 переноса тепла, управляющего устройства, а также других электрических компонентов холодильного аппарата 10.
В холодильном аппарате 10 количество узлов может определяться в зависимости от потребности в холодильных камерах и производительности холодильного аппарата. Так, например, для охлаждения второй холодильной камеры 24 может быть предусмотрена вторая холодильная установка. Могут быть предусмотрены несколько термоэлектрических устройств 36 переноса тепла для нескольких отделений, чтобы получать в соответствующих холодильных камерах несколько различных температур. Детали термоэлектрического устройства 36 переноса тепла могут располагаться таким образом, что они позволяют переносить тепло в камеру с более низкой температурой, чем в других холодильных камерах, например, в морозильную камеру. Таким образом возможно целенаправленно транспортировать тепло в эту холодильную камеру, чтобы предотвращать обмерзание в этой холодильной камере. В альтернативном варианте возможно такое расположение деталей термоэлектрического устройства переноса тепла, что они позволяют переносить тепло в любую камеру или изменять направление переноса тепла, так что при необходимости имеется возможность также снабжать холодильные камеры теплом целенаправленно. Это может использоваться не только для поддержания определенной постоянной температуры в соответствующей холодильной камере, но также, например, для функций размораживания или для предотвращения образования инея.
Принцип действия холодильного аппарата 10 согласно изобретению описывается ниже со ссылкой на фиг.1 и 2. Посредством этого холодильного аппарата 10 осуществляется способ согласно изобретению для поддержания постоянной заданной температуры в по меньшей мере одной холодильной камере холодильного аппарата 10, имеющего по меньшей мере две отделенных друг от друга холодильных камеры 22, 24.
На фиг.2 представлена диаграмма, демонстрирующая изменения температуры в холодильной камере обычного бытового холодильного аппарата, оснащенного компрессионной холодильной установкой, в зависимости от времени и температурный режим во времени холодильного аппарата 10 согласно изобретению.
При помощи компрессионной холодильной установки 34 холодильные камеры 22, 24 охлаждаются до заданной температуры Т1 (при которой продукты сохраняются охлажденными). Для этого из первой холодильной камеры 22 тепло отводится компрессионной холодильной установкой 34 в окружающее холодильный аппарат 10 пространство основным тепловым потоком QH1 через испаритель 38 и систему теплоотвода. По причине периодического отключения и включения компрессора компрессионной холодильной установки 34 возникают изменения температуры, как они показаны на фиг.2. Это означает, что холодильная компрессионная установка 34 путем регулирования первого основного теплового потока QH1 обеспечивает возможность "грубого" поддержания температуры Т1, то есть варьирования ее в пределах некоторой заданной области температурных колебаний, приблизительно +/-8 K относительно первого заданного значения температуры (T1Soll).
Если вторая холодильная камера 24 должна охлаждаться до температуры Т2, которая, например, ниже, чем температура Т1 в первой холодильной камере 22, то при помощи управляющего устройства задается соответствующая температура T2Soll. Тогда к элементу Пельтье 40 подводится электрическое напряжение, или замыкается цепь питания элемента 40 Пельтье. Первый теплообменник 42 обеспечивает то, что охлаждающаяся сторона элемента 40 Пельтье становится еще холоднее. Таким образом температура во второй холодильной камере 24 опускается до температуры Т2=T2Soll. При этом тепло из второй холодильной камеры 24 сначала отводится вторым основным тепловым потоком QH2 через проводник 46 тепла по направлению к первой холодильной камере 22. При этом устанавливается тепловой поток от второй холодильной камеры 24 в направлении первой холодильной камеры 22.
Тепло, произведенное на теплой стороне элемента 40 Пельтье, и тепло, имеющееся в первой холодильной камере 22, отводится через испаритель 38 и систему теплоотвода холодильной компрессионной установки 34. В результате теплоотвода во второй холодильной камере 24 устанавливается заданная температура T2Soll. Хотя в данном примере компрессионная холодильная установка 34 использовалась для того, чтобы охлаждать второе холодильное отделение до температуры Т1, точно так же возможно "грубое" охлаждение до температуры Т2 посредством компрессионной холодильной установки 34 второй холодильной камеры 24. Если потребуется, возможно также использование для охлаждения до температуры Т2 исключительно термоэлектрического устройства 36 переноса тепла, этот вариант особенно предпочтителен в том случае, когда вторая холодильная камера 24 имеет небольшой объем. Возможно и совместное использование для охлаждения до температуры Т2 компрессионной холодильной установки 34 и устройства 36 переноса тепла.
Теперь вторая температура Т2 во второй холодильной камере 24 поддерживается постоянной на заданном значении температуры T2Soll за счет того, что посредством устройства 36 переноса тепла или его элемента 40 Пельтье вспомогательный тепловой поток QAUX, который предпочтительно значительно меньше первого основного теплового потока QH1 и/или второго основного теплового потока QH2, контролируемо переносится от первой холодильной камеры 22 по заданному пути 46 (т.е. в данном случае через тепловой мост 46) во вторую холодильную камеру 24, и/или в обратном направлении. Это, естественно, требуется только в том случае, когда вторая температура Т2 (существенно) отличается от заданной температуры T2Soll, и производится до тех пор, пока вторая температура Т2 не станет соответствовать заданной температуре T2Soll в пределах очень незначительного поля допуска, предпочтительно около +/-0,2 K. При этом регулирование температуры производится вышеуказанным управляющим устройством.
Поскольку в данном примере вторая холодильная камера 24 должна быть холоднее, чем первая холодильная камера 22 (т.е. Т2<Т1), вспомогательный тепловой поток QAUX для охлаждения холодильной камеры 24, как правило, будет течь в направлении первой холодильной камеры 22.
Если температура во второй холодильной камере 24 снизится до заданного значения Т2, т.е. Т2=T2Soll, то пока больше не нужно питать элемент 40 Пельтье электрическим током. Поэтому испаритель 38 должен отводить только лишь тепло из первой холодильной камеры 22.
Для указанного поддержания по меньшей мере температуры Т2 постоянной на заданном значении T2Soll температуры термоэлектрическое устройство 36 переноса тепла, с одной стороны, осуществляет подвод вспомогательным тепловым потоком QAUX (определенного количества) вспомогательной тепловой энергии We (в данном случае термоэлектрической) из второй холодильной камеры 24 в первую холодильную камеру 22, если температура Т2 больше, чем T2Soll, вследствие чего сдерживается повышение температуры во второй холодильной камере 24. Таким образом, когда вторая температура Т2 выше, чем заданная температура T2Soll, вспомогательная энергия We будет подводиться на стороне первой холодильной камеры 22.
Но с другой стороны, термоэлектрическое устройство 36 переноса тепла делает возможным также целенаправленный перенос тепла вспомогательным тепловым потоком QAUX из первой холодильной камеры 22 во вторую холодильную камеру 24, если температура Т2 ниже, чем T2Soll. Тогда вспомогательная энергия We подводится на стороне второй холодильной камеры 24. Тем самым сдерживается слишком сильное понижение температуры во второй холодильной камере 24. Это может производиться путем контролируемой смены полярности электрического тока, который питает элемент 40 Пельтье, и путем управления производительностью и/или временем включения элемента 40 Пельтье.
Производительность компрессионной холодильной установки 34 и управление ею настроены таким образом, что отходящее тепло, произведенное при эксплуатации элемента 40 Пельтье, и тепло, имеющееся в первой холодильной камере 22, отводятся совместно. Благодаря этому поддерживается на постоянном уровне также температура Т1 в первой холодильной камере 22, то есть предпочтительно в пределах температурных колебаний +/-0,2 K относительно заданной температуры T1Soll. Таким образом, разница температур между первой холодильной камерой 22 и второй холодильной камерой 24 остается постоянной. Холодильная установка 34 способна также отводить в окружающее холодильный аппарат пространство и первый, и второй основной тепловой поток QH1 и QH2 вместе, например, если температура T2Soll задается уже при охлаждении до температуры Т1.
Вспомогательный тепловой поток QAUX, транспортируемый в первую холодильную камеру 22, частично или полностью отводится первым основным тепловым потоком QH1 в окружающее холодильный аппарат 10 пространство, так что вспомогательный тепловой поток QAUX по существу не изменяет первую температуру Т1.
Производительность и схема регулирования термоэлектрического устройства переноса тепла и холодильной установки устанавливаются в зависимости от необходимости. Например, производительность холодильной установки может быть установлена так, что она будет действовать постоянно. Производительность холодильной установки может быть установлена также таким образом, что температура в холодильных камерах будет одинаковой. Есть возможность производить посредством термоэлектрического устройства переноса тепла электрический ток за счет разницы температур между холодильными камерами. Этот электрический ток можно в свою очередь использовать для определенных деталей термоэлектрического устройства переноса тепла и/или холодильного аппарата.
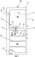
На фиг.3 показан фрагмент поперечного сечения холодильного аппарата 10 согласно изобретению, представляющего собой бытовой холодильник и/или морозильник, по второму варианту исполнения, причем для тех же деталей, что и на фиг.1, используются те же самые обозначения. Описываются только отличия от первого варианта исполнения.
В холодильном аппарате 10 по второму варианту исполнения термоэлектрическое устройство 36 переноса тепла расположено в боковой стенке 28, так что первый теплообменник 42 находится в боковой стенке 28 в области второй холодильной камеры 24, а второй теплообменник 44 - в боковой стенке 28 в области первой холодильной камеры 22. Вследствие этого первый и второй теплообменники 42, 44 расположены в боковой стенке 28 над разделительной стенкой 26 или под ней. Первый теплообменник 42 расположен на теплой стороне элемента 40 Пельтье так, что элемент 40 Пельтье находится в боковой стенке 28. Между элементом 40 Пельтье и вторым теплообменником 44 в боковой стенке 28 расположен вытянутый в длину проводник 46 тепла в качестве теплового моста. Проводник 46 тепла, проходя в боковой стенке 28, проходит от второго теплообменника 44 к элементу 40 Пельтье. Таким образом, проводник 46 тепла служит своего рода продлением охлаждающейся стороны элемента 40 Пельтье. В этом варианте исполнения тоже предусмотрено, что температура Т2 во второй холодильной камере 24 устанавливается более низкой, чем температура Т1 в первой холодильной камере 22. Вторая холодильная камера 24 может даже служить морозильником, в то время как первая холодильная камера 22 служит только в качестве холодильной камеры. Для этого можно расположить во второй холодильной камере 24 испаритель 38, как видно на фиг.3.
Принцип действия при втором варианте исполнения такой же, как и при первом варианте исполнения. В этом случае тоже при необходимости возможен перенос тепла из первой холодильной камеры 22, т.е. холодильного отделения, во вторую холодильную камеру 24, т.е. в морозильное отделение, посредством вспомогательного теплового потока QAUX. Таким путем возможна целенаправленная передача (количества) тепловой энергии We во вторую холодильную камеру 24, чтобы предотвращать обмерзание в этом морозильном отделении 24. Следует учесть, что при передаче тепла посредством термоэлектрического устройства 36 переноса тепла речь идет предпочтительно лишь о незначительных количествах тепла, которые служат для того, чтобы поддерживать температуру постоянной, так что в морозильном отделении 24, если тепло переносится в него, тем не менее в целом поддерживается температура Т2 более низкая, чем в холодильной камере 22, из которой в этом случае тепло отбирается.
В альтернативном варианте части (термоэлектрической) холодильной установки 36 могут быть расположены и управляемы таким образом, что позволяют переносить тепло, в частности, посредством вспомогательного теплового потока QAUX, в любую из холодильных камер 22, 24, или направление этого переноса тепла изменяемо, так что возможно целенаправленное снабжение холодильных камер 22, 24 холодом или теплом. В частности, возможно такое взаимодействие частей, что они позволяют переносить тепло так, как в первом варианте исполнения, т.е. предпочтительно от второй холодильной камеры 24 в первую холодильную камеру 22. При этом тепловой поток идет не через разделительную стенку 26, а через проводник 46 тепла в боковой стенке 28. В альтернативных вариантах детали термоэлектрического устройства 36 переноса тепла могут располагаться также в задней стенке или в двери холодильного аппарата.
В холодильном аппарате в соответствии с фиг.3 количество частей также может определяться необходимым количеством холодильных камер и производительностью холодильного аппарата. Так, возможно наличие нескольких термоэлектрических устройств переноса тепла, предусмотренных для нескольких отделений, чтобы, например, получать в соответствующих холодильных камерах несколько различных температур.
Производительность и принцип регулирования (термоэлектрического) устройства переноса тепла и холодильной установки устанавливаются в зависимости от необходимости. Например, производительность холодильной установки может быть установлена так, что она будет действовать постоянно. Производительность холодильной установки может быть установлена также таким образом, что температура в холодильных камерах будет одинаковой. Есть возможность производить посредством термоэлектрического устройства переноса тепла электрический ток за счет разницы температур между холодильными камерами. Этот электрический ток можно в свою очередь использовать для определенных деталей термоэлектрического устройства переноса тепла и/или холодильного аппарата.
Изобретение не ограничивается описанными выше вариантами исполнения. Напротив, в рамках объема правовой охраны пунктов формулы изобретения холодильный аппарат согласно изобретению и способ согласно изобретению могут принимать также иные формы, чем варианты исполнения, конкретно описанные выше. В частности, первая температура Т1 и вторая температура Т2 могут быть одинаковыми или разными. Отведение первого основного теплового потока QH1 и/или второго основного теплового потока QH2 может, в частности, производиться с перерывами. Управляемый перенос тепла вспомогательного теплового потока QAUX также может происходить постоянно или же прерывисто.
Обозначения в пунктах формулы изобретения, в описании и в чертежах служат лишь лучшему пониманию изобретения и не должны ограничивать пределы правовой охраны.
Список обозначений | |
10 | холодильный аппарат |
12 | корпус |
14 | наружная облицовка |
16 | изолирующий слой |
18 | внутренняя облицовка |
22 | первая холодильная камера |
24 | вторая холодильная камера |
26 | разделительная стенка |
28 | боковая стенка |
30 | первая сторона |
32 | вторая сторона |
34 | холодильная установка |
36 | устройство переноса тепла |
38 | испаритель |
40 | элемент Пельтье |
42 | первый теплообменник |
44 | второй теплообменник |
46 | проводник тепла |
Qн1 | пе |