Насосное устройство для перекачки текучей среды, способ перекачки текучей среды и способ применения насосного устройства

Иллюстрации

Показать все

Группа изобретений относится к штанговому насосу и к способу перекачки текучей среды, а также к применению этого насоса. Обеспечивает повышение надежности работы устройства и эффективности способа за счет обеспечения продольной устойчивости насосных штанг в процессе работы штангового насоса. Сущность изобретения: насос для перекачки текучей среды содержит элемент (2) передачи усилий, узел (3) натяжения, связанный с элементом (2) передачи усилий, и разобщающий элемент (10), причем: элемент (2) передачи усилий приспособлен для передачи хода движения вверх и вниз на плунжер (5) насоса, предназначенный для перекачки текучей среды (12); узел (3) натяжения приспособлен для приложения растягивающего усилия к элементу (2) передачи усилий, чтобы поддерживать элемент (2) передачи усилий в натянутом состоянии во время хода вверх и хода вниз; разобщающий элемент (10) приспособлен для предотвращения посредством герметичного запирания перекачки текучей среды (12) во время хода вниз и для обеспечения возможности перекачки текучей среды (12) во время хода вверх; часть (16) разобщающего элемента (10) связана с элементом (2) передачи усилий. 3 н. и 14 з.п. ф-лы, 5 ил.

Реферат

Область техники, к которой относится изобретение

Настоящее изобретение относится к насосному устройству, в частности к штанговому насосу, и к способу перекачки текучей среды, а также к применению этого насосного устройства.

Уровень техники

Штанговые насосы используются во всех областях промышленности и предназначены для перекачивания различных видов жидкостей. Эти насосы также очень широко применяются в нефтедобывающей отрасли, где на их долю приходится значительный процент операций механизированной добычи нефти из скважин по всему миру. Существуют три основных типа конструкции этих насосов, а именно: вставные насосы, невставные (трубные) насосы и насосы обсадной лифтовой колонны.

Тем не менее, работа насосов этих трех различных типов основана на одном и том же принципе. Такие насосные устройства, в частности штанговые насосы, приводятся в действие на определенной глубине посредством колонны насосных штанг (НШ), которая совершает возвратно-поступательное движение, сообщаемое балансирным станком-качалкой, расположенным на поверхности. Насос состоит в основном из плунжера, подвижным образом установленного в стволе скважины и содержащего нагнетательный (подвижный) клапан. У дна скважины устанавливается цилиндр насоса, содержащий всасывающий (неподвижный) клапан.

Во время хода вверх плунжер поднимается вместе со всем столбом жидкости, скопившейся над плунжером в стволе скважины. Нагнетательный клапан на нижнем конце плунжера насоса вследствие этого закрывается и препятствует обратному перетеканию жидкости из столба в направлении дна скважины. Одновременно с этим всасывающий клапан цилиндра насоса открывается и дает возможность текучей среде заполнить насос.

Во время хода вниз всасывающий клапан закрывается, в то время как нагнетательный клапан открывается, чтобы обеспечить выход всей текучей среды в насосе через плунжер вверх в трубу.

Таким образом, во время хода вверх колонна НШ находится в натянутом состоянии из-за подъема плунжера и, следовательно, подъема текучей среды. Во время хода вниз плунжер проталкивается вниз под действием собственного веса колонны НШ, которая вследствие этого находится в состоянии сдавливания. Это сдавливание может вызвать потерю устойчивости (выпучивание) насосных штанг колонны, что приведет к сильному трению их об окружающие насосно-компрессорные трубы и износу последних, что в конечном счете может нарушить весь процесс добычи из этой скважины.

В публикации US 4049365 описан скважинный нефтяной насос с узлом проталкивания и спуска плунжера. В одном варианте осуществления изобретения предусмотрен элемент, работающий на растяжение и простирающийся в нижнем направлении под плунжером, так что этот элемент поддерживает плунжер в натянутом состоянии, не прикладывая усилие сжатия к штоку насоса или к колонне НШ. В одном из вариантов осуществления насоса предусмотрен груз, прикрепленный к нижней части плунжера.

Раскрытие изобретения

Задача настоящего изобретения состоит в создании эффективного насосного устройства.

Для решения указанной выше задачи предлагаются насосное устройство и способ перекачки текучих сред, а также способ применения этого устройства для перекачки текучих сред согласно соответствующим независимым пунктам формулы изобретения.

Первым объектом изобретения является насосное устройство (такое как штанговый насос) для перекачки текучей среды (такой как нефть). Насосное устройство содержит элемент передачи усилий, узел растяжения, связанный с элементом передачи усилий, и разобщающий элемент. Элемент передачи усилий приспособлен для передачи хода вверх (движение в верхнем направлении) и вниз (движение в нижнем направлении) на плунжер насоса, предназначенный для перекачки текучей среды. Узел растяжения приспособлен для приложения растягивающего усилия (которое может быть направлено сверху вниз) к элементу передачи усилий, чтобы поддерживать этот элемент в натянутом состоянии во время хода вверх и хода вниз. Разобщающий элемент приспособлен для предотвращения возможности перекачки текучей среды (то есть исключения этой возможности посредством герметичного запирания) во время хода вниз и для обеспечения возможности перекачки текучей среды во время хода вверх. Часть разобщающего элемента жестко связана (или неподвижно соединена) с элементом передачи усилий.

Другим объектом настоящего изобретения является способ перекачки текучей среды. Движение хода вверх и хода вниз передается посредством элемента передачи усилий на плунжер насоса, предназначенный для перекачки текучей среды. К элементу передачи усилий посредством узла растяжения прикладывается растягивающее усилие для поддержания элемента передачи усилий в натянутом состоянии во время хода вверх и хода вниз. Разобщающий элемент предотвращает посредством герметичного запирания возможность перекачки текучей среды во время хода вниз и обеспечивает эту возможность во время хода вверх. Часть разобщающего элемента жестко связана с элементом передачи усилий.

Еще одним объектом настоящего изобретения является способ применения вышеупомянутого насосного устройства, например, в области дренирования, добычи нефти, водосбора и/или геотермальных систем.

Термин "элемент передачи усилий" может описывать элемент, передающий усилие привода, например (жесткую сплошную) штангу, (гибкий) канат, привязной ремень или приводной ремень.

Термин "разобщающий элемент" может описывать все виды известных разобщающих механизмов, например шаровые клапаны, цилиндрические клапаны, тарельчатые клапаны, клапаны с наклонным седлом, пережимные клапаны или пробковые клапаны.

Термин "часть разобщающего элемента" может описывать подвижную часть клапана, например поршень клапана и т.д.

Согласно одному из примеров осуществления изобретения предлагается простое насосное устройство, а также насосное устройство с малым числом деталей. Элемент передачи усилий движется во время хода плунжера насоса вверх и вниз, в результате чего текучая среда перекачивается в заданном направлении. Например, при совершении хода вверх плунжер выталкивает текучую среду, находящуюся на его верхней стороне, при этом одновременно происходит всасывание текучей среды на противоположной стороне ствола скважины. При совершении хода вниз плунжер, наоборот, пропускает текучую среду благодаря, например, нагнетательному клапану, так что плунжер может переместиться в нижнем направлении в первоначальное положение. Соответственно, в нижней части насосного устройства установлен разобщающий элемент, и при совершении плунжером хода вверх и всасывании под ним текучая среда может проходить через этот разобщающий элемент. При совершении хода вниз и перемещении плунжера в первоначальное положение разобщающий элемент закрывается.

Согласно изобретению часть разобщающего элемента жестко связана с элементом передачи усилий, так что может быть получена компоновка, где одна и та же подвижная система обеспечивает возможность изоляции (герметизации) и предотвращения потери устойчивости при сжатии. Благодаря жесткому соединению части разобщающего элемента с элементом передачи усилий можно обойтись без дополнительных разобщающих элементов, с одной стороны, и дополнительных узлов растяжения - с другой. Тем самым можно снизить уровень сложности системы, а также сократить число конструктивных деталей.

Кроме того, благодаря наличию жесткой связи части разобщающего элемента с элементом передачи усилий работа разобщающего элемента автоматически синхронизируется с движением элемента передачи усилий, в частности с его ходом вверх и вниз, так что для синхронизации работы разобщающего элемента не требуется никаких дополнительных компонентов. Следовательно, достигаются высокие характеристики изоляции.

Согласно другому примеру осуществления изобретения узел растяжения содержит растягивающий груз. Благодаря использованию груза к элементу передачи усилий может быть приложена сила веса груза, поддерживающая элемент передачи усилий в натянутом состоянии во время хода вверх и хода вниз. Следовательно, масса груза и сила тяжести обеспечивают простым и легким способом получение растягивающего усилия, направленного вниз. При этом не требуются никакие дополнительные компоненты.

Согласно еще одному примеру осуществления изобретения узел растяжения содержит пружинный элемент, например спиральную пружину, плоскую пружину или иную аналогичную пружину. Благодаря использованию пружинного элемента достигается независимость узла растяжения от силы тяжести, что может быть необходимым для получения растягивающего усилия. Таким образом, даже в наклонных (не вертикальных) скважинах пружинный элемент создает усилие, необходимое в качестве растягивающего для приложения к элементу передачи усилий, чем предотвращается потеря устойчивости при сжатии (выпучивание) при движении вниз. При движении вверх пружина может оказывать благоприятное воздействие, внося вклад в направленную вверх силу и, следовательно, способствуя этому движению вверх.

Согласно другому примеру осуществления изобретения пружинный элемент представляет собой пружину, работающую на растяжение и находящуюся во время хода вверх в предварительно растянутом состоянии, так что во время хода вниз к элементу передачи усилий прикладывается сила растяжения пружины. В результате движения при совершении хода вверх пружина, работающая на растяжение, удлиняется, вследствие чего напряжение пружины будет направлено против направления движения. Это напряжение пружины действует как растягивающее усилие. Таким образом, пружинный элемент может находиться в предпочтительном положении, в котором сила растяжения пружины может использоваться как растягивающее усилие.

Согласно еще одному примеру осуществления изобретения пружинный элемент представляет собой пружину, работающую на сжатие. Пружина, работающая на сжатие, сжимается при совершении хода вверх, после чего сила сжатия пружины прикладывается во время хода вниз. Могут быть предложены и другие варианты установки пружинного элемента, чем обеспечивается большая гибкость в использовании насосной системы и, следовательно, наличие большего числа участков для установки пружины.

Согласно другому примеру осуществления изобретения узел растяжения содержит гидравлический узел, обеспечивающий приложение растягивающего усилия к элементу передачи усилий для поддержания элемента передачи усилий в натянутом состоянии во время хода вверх и хода вниз. Гидравлические узлы для приложения растягивающего усилия могут быть предусмотрены в качестве дополнения или альтернативы применительно к растягивающему грузу и/или пружинному элементу. Таким образом, путем использования гидравлического узла можно изменять и регулировать растягивающее усилие, изменяя гидравлическое давление, так что обеспечивается приложение регулируемого растягивающего усилия. Кроме того, перекачиваемую текучую среду можно использовать в качестве рабочей жидкости гидравлического узла. В качестве альтернативы гидравлическому узлу можно также использовать пневматические узлы.

Согласно еще одному примеру осуществления изобретения насосное устройство также содержит плунжер. Узел растяжения приспособлен для передачи силы веса текучей среды на верхнюю поверхность плунжера таким образом, что в результате приложения этой силы веса элемент передачи усилий поддерживается в натянутом состоянии. Следовательно, сила тяжести, обусловленная массой столба текучей среды, находящегося над плунжером, может быть использована для получения растягивающего усилия. Тем самым может быть снижена потребность в дополнительных конструктивных элементах, обеспечивающих приложение растягивающего усилия.

Согласно другому примеру осуществления изобретения элемент передачи усилий содержит натяжную штангу. Натяжная штанга предназначена для передачи растягивающего усилия от узла растяжения к элементу передачи усилий. Натяжная штанга может соединять элемент передачи усилий и узел растяжения, расположенные на определенном расстоянии друг от друга. Следовательно, монтажные положения элемента передачи усилий и узла растяжения могут быть различными. Благодаря этому могут быть исключены конструктивные ограничения для насосного устройства.

Согласно еще одному примеру осуществления изобретения насосное устройство содержит также цилиндр насоса с проходным каналом. Этот проходной канал приспособлен для соединения резервуара, вмещающего текучую среду, с цилиндром насоса. Часть разобщающего элемента приспособлена для открывания проходного канала во время хода вверх и герметичного запирания этого канала во время хода вниз. Цилиндр насоса приспособлен для заполнения его текучей средой во время хода вверх и опорожнения во время хода вниз. Таким образом, цилиндр насоса, в котором, например, может быть подвижным образом установлен плунжер, вмещает определенный объем перекачиваемой текучей среды. Кроме того, цилиндр насоса обеспечивает разобщение насосного устройства и резервуара (коллектора) с текучей средой, например нефтяного месторождения. Цилиндр насоса содержит проходной канал, через который перекачиваемая текучая среда попадает в цилиндр насоса при совершении хода вверх. Проходной канал может, кроме того, содержать фильтры для фильтрования текучей среды, а также иметь переменный диаметр для регулирования объема и, соответственно, расхода текучей среды.

Согласно другому примеру осуществления изобретения узел растяжения расположен под цилиндром насоса в вертикальном направлении. Следовательно, узел растяжения может находиться за пределами протекания процессам перекачки, так что этот узел не подвергается износу или воздействию агрессивных текучих сред и, соответственно, коррозии.

Согласно еще одному примеру осуществления изобретения разобщающий элемент приспособлен для направления элемента передачи усилий. Тем самым могут быть обеспечены дополнительная стабилизация и ориентирование элемента передачи усилий, если разобщающий элемент действует, например, как втулочный подшипник скольжения. Разобщающий элемент может в этой связи содержать клапанное седло, в котором можно подвижным образом установить на определенную длину часть разобщающего элемента или элемент передачи усилий. Таким образом, элемент передачи усилий получает возможность перемещаться не только в вертикальном, но и в горизонтальном или другом направлении, не касаясь стенок насосного устройства и не вызывая заклинивание при совершении хода вверх или вниз.

Согласно другому примеру осуществления изобретения разобщающий элемент содержит цилиндрический клапан. Цилиндрический клапан улучшает ориентирование элемента передачи усилий или натяжной штанги. Используя цилиндрический клапан, можно пропустить элемент передачи усилий или натяжной штанги через центр поршня цилиндрического клапана. Поршень клапана может представлять собой часть разобщающего элемента, жестко связанную с элементом передачи усилий и повторяющую любое движение последнего. Поршень клапана может двигаться в соответствии с ходом вверх или вниз и, следовательно, отходить от седла цилиндрического клапана или прижиматься к этому седлу. Седло клапана может быть сформировано в отверстии, предусмотренном в центральной части диска или пластины, установленных в насосном устройстве и зафиксированных в пространстве. Элемент передачи усилий может при этом проходить через отверстие и совершать возвратно-поступательное движение, попеременно открывая и закрывая клапан и, тем самым, попеременно открывая или блокируя перекачку текучей среды. Таким образом, цилиндрический клапан осуществляет, во-первых, механическое ориентирование подвижного элемента передачи усилий, а во-вторых, изоляцию насосного устройства. Благодаря этому можно исключить дополнительные конструктивные элементы помимо цилиндрического клапана, например дополнительные проходные каналы или другие клапаны, в частности шаровые клапаны. Следовательно, при использовании одного цилиндрического клапана не требуются дополнительные конструктивные элементы, чтобы обеспечить изоляцию и предотвратить выпучивание. Кроме того, в отличие от клапанов шарового типа, в цилиндрическом клапане предусмотрен канал для элемента передачи усилий или натяжной штанги. Вместе с тем, возможно также использование клапанов альтернативной конструкции.

Согласно еще одному примеру осуществления изобретения насосное устройство содержит также блок управления, например микропроцессор или центральный модуль обработки данных. Блок управления может быть приспособлен для регулирования потока (расхода) текучей среды. Этот блок может управлять разобщающим элементом таким образом, чтобы обеспечивать получение и регулирование предварительно заданного потока текучей среды и, соответственно, заданного дебита вне зависимости от движения элемента передачи усилий во время хода вниз или вверх. Следовательно, можно избежать перегрузки элемента передачи усилий из-за большого объема и, соответственно, большой массы перекачиваемой текучей среды, благодаря чему предотвращается повреждение насосной системы.

Согласно другому примеру осуществления изобретения текучая среда может представлять собой нефть, газ или воду. Термин "текучая среда" может означать любое жидкое и/или газообразное вещество, которое может также содержать твердые частицы.

Согласно еще одному примеру осуществления изобретения элемент передачи усилий выбран из группы, включающей колонны натяжных штанг и тяговый канат. Кроме колонн натяжных штанг (представляющих собой сплошные стержни, изготовленные, например, из металлического материала) можно также использовать тяговые канаты (изменяющие форму при приложении небольшого усилия сжатия), которые предусматриваются для вытягивания элемента передачи усилий таким образом, чтобы во время хода вверх и хода вниз к элементу передачи усилий всегда было приложено растягивающее усилие во избежание изгиба каната.

Благодаря упомянутому выше узлу растяжения вся система постоянно находится в натянутом состоянии, вследствие чего исключаются выпучивание (потеря устойчивости) и все связанные с этим явлением проблемы. Благодаря использованию, в частности, элементов, описанных в примерах осуществления изобретения, отсутствуют ограничения в отношении состава перекачиваемой текучей среды, размеров и траектории скважины.

Описанное выше насосное устройство может использоваться для дренирования, добычи нефти, водосбора и в геотермальных системах. Возможно также использование для перекачки газа.

Приведенные примеры выполнения насосного устройства также относятся к предлагаемому в изобретении способу и наоборот.

Краткое описание чертежей

Настоящее изобретение более подробно описывается ниже на примерах его осуществления, которыми, однако, объем изобретения не ограничивается.

На представленных чертежах показано:

на фиг.1 - штанговая насосная система,

на фиг.2 - схематическое изображение обычной насосной системы со штанговым насосом,

на фиг.3 - схематическое изображение насосного устройства согласно одному из примеров осуществления изобретения,

на фиг.4а, 4б - схематическое изображение разобщающего элемента согласно одному из примеров осуществления изобретения.

Осуществление изобретения

Представленные на чертежах изображения являются схематическими. Аналогичные или одинаковые элементы имеют на разных чертежах одни и те же ссылочные обозначения.

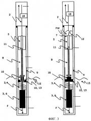
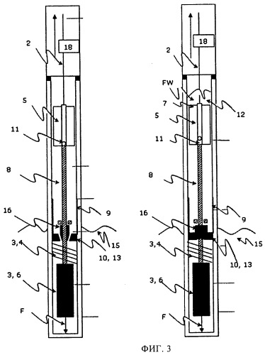
На фиг.3 показано насосное устройство 1 согласно одному из примеров осуществления изобретения.

Насосное устройство 1 изображено в состояниях хода вверх (слева) и вниз (справа).

Насосное устройство 1 содержит элемент 2 передачи усилий, узел 3 натяжения, связанный с элементом 2 передачи усилий, и разобщающий элемент 10. Элемент 2 передачи усилий приспособлен для передачи усилия во время хода вверх и хода вниз на плунжер 5 насоса, предназначенный для перекачки текучей среды 12, а именно добываемой нефти. Узел 3 натяжения приспособлен для приложения растягивающего усилия F к элементу 2 передачи усилий для поддержания элемента 2 передачи усилий в натянутом состоянии во время хода как вверх, так и вниз. Разобщающий элемент 10 приспособлен для предотвращения возможности перекачки текучей среды 12 во время хода вниз и для обеспечения возможности перекачки текучей среды во время хода вверх. Часть 16 разобщающего элемента 10 жестко связана с элементом 2 передачи усилий.

Принцип действия штангового насоса 1 иллюстрируется с помощью фиг.1. Двигатель 17 приводит в движение плунжер 5 насоса, а приводное усилие передается элементом 2 передачи усилий. На фиг.1 элемент 2 передачи усилий представляет собой насосную штангу. Плунжер 5 подвижным образом установлен в цилиндре 9 насоса. Кроме этого, плунжер 5 насоса содержит нагнетательный клапан 11, который пропускает текучую среду 12 во время движения/хода вниз плунжера 5 и который закрывается во время движения/хода вверх плунжера 5. Таким путем обеспечивается перекачивание текучей среды 12.

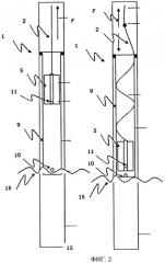
На фиг.2 представлено схематическое изображение обычного штангового насоса 1 во время хода плунжера 5 насоса вверх (слева) и вниз (справа). Во время хода вверх, показанного в левой части фиг.2, плунжер 5 движется вверх, выталкивая текучую среду 12, находящуюся на его верхней поверхности 7, при этом одновременно происходит всасывание текучей среды 12 в цилиндр 9 насоса. В этом случае разобщающий элемент 10 открыт, а нагнетательный клапан 11 закрыт.

Во время хода вниз, показанного в правой части фиг.2, нагнетательный клапан 11 открывается, а разобщающий элемент 10 закрывается. Поэтому во время движения/хода вниз плунжера 5 в цилиндре 9 насоса текучая среда 12 проходит сквозь плунжер 5 через открытый нагнетательный клапан 11, оказываясь над верхней поверхностью 7 плунжера 5. Затем, при следующем ходе вверх, текучая среда 12 выталкивается вверх, потому что нагнетательный клапан 11 снова закрывается, и снова происходит всасывание текучей среды 12 в цилиндр 9 насоса.

Как показано на фиг.2, во время хода вниз на элемент 2 передачи усилий действует усилие сдавливания. Следовательно, элемент передачи усилий может потерять устойчивость, что может привести к разрыву элемента 2 передачи усилий или к задеванию им боковых стенок во время хода вниз. В последнем случае может иметь место износ всех подвижных частей, так что эти части придется заменить уже после непродолжительного периода работы насоса.

На фиг.3 представлено насосное устройство 1 согласно одному из примеров осуществления изобретения.

Как показано на фиг.3, посредством узла 3 натяжения к элементу 2 передачи усилий прикладывается растягивающее усилие F для поддержания элемента 2 передачи усилий в натянутом состоянии во время хода вверх (на фиг.3 слева) и вниз (на фиг.3 справа).

В одном из примеров осуществления изобретения растягивающее усилие F создается грузом 6 узла 3 натяжения. При этом груз 6 должен быть соединен с плунжером 5 насоса или элементом 2 передачи усилий, например посредством натяжной штанги 8. Для обеспечения открывания разобщающего элемента 10 во время хода вверх часть 16 разобщающего элемента 10 жестко связана с элементом 2 передачи усилий или натяжной штангой 8. Часть 16 разобщающего элемента 10 может содержать или представлять собой, например, поршень, или затвор, клапана.

Таким образом, благодаря жесткому соединению части 16 разобщающего элемента 10 с элементом 2 передачи усилий или натяжной штангой 8 состояния открытия или закрытия разобщающего элемента 10 автоматически синхронизируются с фазами хода вверх и вниз насосного устройства 1. Дополнительные регулирующие элементы не требуются, а функция предотвращения потери устойчивости при сжатии (выпучивания) реализуется простым образом.

В качестве дополнения или альтернативы применительно к растягивающему грузу 6 для приложения растягивающего усилия F к элементу 2 передачи усилий может быть использован пружинный элемент 4. Если пружинный элемент 4 должен находиться в предварительно растянутом состоянии во время хода вверх, то можно установить пружину, работающую на растяжение. В этом случае во время хода вниз пружина обеспечивает растягивающее усилие F.

Если же пружинный элемент 4 устанавливается таким образом, что пружина удлиняется во время хода вверх, то можно установить пружину, работающую на сжатие, так что растягивающее усилие F во время хода вниз обеспечивается силой сжатия пружины.

Как показано на фиг.3, для обеспечения приложения растягивающего усилия F к элементу 2 передачи усилий можно также установить гидравлический узел 18. Гидравлический узел 18 содержит гидравлический цилиндр, телескопически выдвигающийся в направлении хода вверх или вниз. С его помощью можно получить требуемое усилие растяжения F, регулируя гидравлическое давление. Наряду с гидравлическим цилиндром 18 можно также использовать пневматические устройства, действующие аналогично гидравлическому узлу 18.

Далее, узел 3 натяжения может быть предусмотрен для использования перекачиваемой текучей среды 12 на верхней поверхности 7 плунжера 5 насоса с целью приложения растягивающего усилия F к элементу 2 передачи усилий. Поскольку во время хода вниз текучая среда 12 находится на верхней поверхности 7 плунжера 5, сила веса FW текучей среды 12 обеспечивает приложение растягивающего усилия F к элементу 2 передачи усилий. При этом не требуются дополнительные сложные конструктивные элементы.

На фиг.3, а также на фиг.4а и 4б иллюстрируется возможность прохождения элемента 2 передачи усилий или натяжной штанги 8 элемента 2 передачи усилий через часть 16 разобщающего элемента 10. Часть 16 разобщающего элемента 10 может действовать как поршень или затвор клапана, закрывая разобщающий элемент 10 при контакте с клапанным седлом 13. При этом движения элемента 2 передачи усилий и части 16 разобщающего элемента 10 приводят к открыванию и закрыванию проходного канала 14 разобщающего элемента 10, обеспечивая управление потоком текучей среды в насосном устройстве 1. Узел 3 натяжения может располагаться под разобщающим элементом 10 и, соответственно, цилиндром 9 насоса в вертикальном направлении. Таким образом, разобщающий элемент 10 и, соответственно, часть 16 разобщающего элемента 10 могут осуществлять ориентирование элемента 2 передачи усилий или натяжной штанги 8. Поэтому насосное устройство 1, соответствующее настоящему изобретению, применимо и в наклонных скважинах. Благодаря тому, что проходной канал 14 в разобщающем элементе 10 выполняет функции направляющей, элемент 2 передачи усилий не соприкасается с боковыми стенками наклонного ствола скважины вследствие действия силы тяжести.

Для улучшения ориентирования разобщающий элемент 10 может содержать цилиндрический клапан, что более подробно показано на фиг.4а, 4б. В этом случае часть 16 разобщающего элемента 10 может представлять собой поршень клапана и, следовательно, иметь удлиненную цилиндрическую форму и поверхность, находящуюся в скользящем контакте с элементом 2 передачи усилий. Кроме того, по сравнению с клапанами шарового типа цилиндрический клапан располагает каналом для прохождения элемента 2 передачи усилий или натяжной штанги 8.

Далее, может быть установлен блок управления (не показан), открывающий разобщающий элемент 10 регулируемым образом. Блок управления обеспечивает гибкое регулирование открытия разобщающего элемента 10 во время хода вверх, так что в этой фазе может быть получен требуемый приток текучей среды в цилиндр 9 насоса.

Предлагаемое в изобретении насосное устройство 1 может использоваться для перекачки различных текучих сред 12, таких как нефть, вода, термальная вода или газ.

На фиг.4а и 4б подробно изображен разобщающий элемент 10 во время хода вверх и хода вниз. Часть 16 разобщающего элемента 10 жестко соединена с элементом 2 передачи усилий или натяжной штангой 8. Эта часть 16 образует геометрическое замыкание с боковыми стенками проходного канала 14 в клапанном седле и, соответственно, в разобщающем элементе 10. При совершении хода вверх часть 16 отходит вверх от клапанного седла 13. Этот подъем при совершении хода вверх может быть ограничен обоймой 19 клапана. Благодаря геометрическому замыканию части 16 и клапанного седла 13 могут быть обеспечены хорошие характеристики ориентирования элемента 2 передачи усилий.

Наконец, следует отметить, что описанные выше варианты осуществления иллюстрируют, а не ограничивают настоящее изобретение, и что специалисты в данной области смогут создать много альтернативных вариантов осуществления изобретения в пределах его объема, определяемого приложенной формулой изобретения. Какие-либо ссылочные обозначения, помещенные в скобки в формуле изобретения, не должны толковаться как ограничивающие формулу изобретения. Слова "содержащий", "содержит" и аналогичные не исключают наличия элементов или операций, отличающихся от указанных в каком-либо пункте формулы изобретения или в описании изобретения в целом. Упоминание каких-либо элементов в единственном числе не исключает множественного числа этих элементов, и наоборот. В пункте формулы изобретения на устройство, где перечисляются несколько средств, некоторые из этих средств могут быть воплощены одной и той же единицей на программном или аппаратном уровне. Тот факт, что определенные признаки описываются в различных зависимых пунктах формулы изобретения, не ссылающихся друг на друга, не означает сам по себе, что комбинация этих признаков не может быть использована с целью получения преимуществ.

1. Насосное устройство для перекачки текучей среды, содержащее элемент (2) передачи усилий, узел (3) натяжения, связанный с элементом (2) передачи усилий, и разобщающий элемент (10), причем:- элемент (2) передачи усилий приспособлен для передачи хода движения вверх и вниз на плунжер (5) насоса, предназначенный для перекачки текучей среды (12),- узел (3) натяжения приспособлен для приложения растягивающего усилия (F) к элементу (2) передачи усилий, чтобы поддерживать элемент (2) передачи усилий в натянутом состоянии во время хода вверх и хода вниз,- разобщающий элемент (10) приспособлен для предотвращения посредством герметичного запирания перекачки текучей среды (12) во время хода вниз и для обеспечения возможности перекачки текучей среды (12) во время хода вверх,- часть (16) разобщающего элемента (10) связана с элементом (2) передачи усилий.

2. Насосное устройство по п.1, в котором часть (16) разобщающего элемента (10) жестко связана с элементом (2) передачи усилий или находится в скользящем контакте с ним.

3. Насосное устройство по п.1, в котором узел (3) натяжения содержит растягивающий груз (6).

4. Насосное устройство по п.1, в котором узел (3) натяжения содержит пружинный элемент (4).

5. Насосное устройство по п.4, в котором пружинный элемент (4) представляет собой пружину, работающую на растяжение, предназначенную для растяжения во время хода вверх и для приложения силы ее растяжения к элементу (2) передачи усилий во время хода вниз.

6. Насосное устройство по п.4, в котором пружинный элемент (4) представляет собой пружину, работающую на сжатие, предназначенную для сжатия во время хода вверх и для приложения силы ее сжатия к элементу (2) передачи усилий во время хода вниз.

7. Насосное устройство по п.1, в котором узел (3) натяжения содержит гидравлический узел (18), обеспечивающий приложение растягивающего усилия (F) к элементу (2) передачи усилий для поддержания элемента (2) передачи усилий в натянутом состоянии во время хода вверх и хода вниз.

8. Насосное устройство по п.1, содержащее также плунжер (5) насоса, причем узел (3) натяжения приспособлен для передачи силы веса (FW) текучей среды (12) на верхнюю поверхность (7) плунжера (5) насоса таким образом, что в результате приложения этой силы веса (FW) элемент (2) передачи усилий поддерживается в натянутом состоянии.

9. Насосное устройство по п.1, в котором элемент (2) передачи усилий содержит натяжную штангу (8), приспособленную для передачи растягивающего усилия (F) от узла (3) натяжения к элементу (2) передачи усилий.

10. Насосное устройство по п.9, содержащее также цилиндр (9) насоса с проходным каналом (14), приспособленным для соединения резервуара (15), вмещающего текучую среду, с цилиндром (9) насоса, причем часть (16) разобщающего элемента (10) приспособлена для открывания проходного канала (14) во время хода вверх и герметичного запирания этого канала (14) во время хода вниз, а цилиндр (9) насоса приспособлен для заполнения его текучей средой во время хода вверх и опорожнения во время хода вниз.

11. Насосное устройство по п.10, в котором узел (3) натяжения расположен под цилиндром (9) насоса в вертикальном направлении.

12. Насосное устройство по п.1, в котором разобщающий элемент (10) приспособлен для направления элемента (2) передачи усилий.

13. Насосное устройство по п.1, в котором разобщающий элемент (10) содержит цилиндрический клапан.

14. Насосное устройство по п.1, в котором текучая среда (12) выбрана из группы, состоящей из нефти, газа и воды.

15. Насосное устройство по п.1, в котором элемент (2) передачи усилий выбран из группы, включающей колонну натяжных штанг и тяговый канат.

16. Способ перекачки текучей среды, включающий:- передачу движения хода вверх и хода вниз элементом (2) передачи усилий на плунжер (5) насоса, предназначенный для перекачки текучей среды (12),- приложение посредством узла (3) натяжения растягивающего усилия (F) к элементу (2) передачи усилий для поддержания элемента (2) передачи усилий в натянутом состоянии во время хода вверх и хода вниз,- предотвращение посредством герметичного запирания перекачки текучей среды (12) во время хода вниз и обеспечение возможности перекачки текучей среды во время хода вверх с помощью разобщающего элемента (10) и- соединение части (16) разобщающего элемента (10) с элементом (2) передачи усилий.

17. Способ применения насосного устройства по одному из пп.1-15 в одной из следующих областей: дренирование, добыча нефти, водосбор и геотермальные системы.