Устройство для изготовления холодильного аппарата

Иллюстрации

Показать все

Устройство для изготовления холодильного аппарата, которое содержит емкость и намотанную на емкость по спирали трубу, которая несет хладагент, держатель для емкости и устройство для укладки трубы на внешнюю сторону емкости. Держатель содержит вращающийся вал, который может менять свое положение таким образом, что во время перемещения вращающегося вала угол между устройством для укладки трубы на внешнюю сторону емкости и внешней стороной емкости почти не меняется. Холодильный аппарат с охлаждаемой хладагентом емкостью, на которую по спирали намотана труба. Емкость изготовлена из пластмассы, металлическая лента намотана по спирали на внешнюю поверхность емкости и приклеена к ней, а труба, проводящая хладагент, уложена по спирали на металлическую ленту и приклеена к ней. Использование данной группы изобретений позволяет обеспечить время намотки трубы на емкость, которая выполнена из более дешевых материалов. 2 н. и 12 з.п. ф-лы, 4 ил.

Реферат

Область техники

Изобретение относится к устройству для изготовления холодильного аппарата согласно ограничительной части пункта 1 формулы изобретения.

Уровень техники

Холодильные аппараты с емкостью для хранения охлаждаемых продуктов, вокруг которой наматывается труба, проводящая хладагент, до сих пор изготавливались из алюминиевого листа. Такие емкости напрягаются при помощи натяжного дорна и вращаются вокруг оси. Во время вращения натяжной дорн перемещается в направлении оси своего вращения, благодаря чему труба может наматываться спиралью на внешнюю сторону емкости. Однако натяжной дорн может вращаться лишь с очень малой скоростью, так как расстояние между внешней стороной емкости и направляющей для подачи трубы во время вращения сильно изменяется. Тем самым большим колебаниям подвержена скорость схода трубы.

Для фиксации трубы на внешних стенках емкости на трубу накладывается полимерная клейкая лента, боковые кромки которой приклеиваются к внешним стенкам емкости. Таким образом, труба может быть установлена на внешней стенке емкости, не препятствуя теплообмену между стенкой емкости и трубой. Благодаря хорошей теплопроводности алюминия такие холодильные аппараты очень хорошо подходят для того, чтобы передавать тепло из внутренней полости емкости хладагенту в трубе на внешней стороне емкости и отводить тепло с хладагентом.

Прямоугольные емкости, изготовленные из алюминиевого листа, содержат кромки сгибов и сварные швы. Поэтому изготовление таких емкостей связано с относительно большими затратами. Кроме того, закупочная цена алюминия увеличивает себестоимость холодильного аппарата. Следующий недостаток используемых алюминиевых емкостей заключается в том, что они плохо поддаются очистке. В кромках сгибов и на сварных швах могут скапливаться остатки, удаление которых связано с большими трудностями.

Раскрытие изобретения

Задачей изобретения является снижение себестоимости холодильного аппарата с емкостью и проводящей хладагент трубой, намотанной на емкость по спирали. В частности, необходимо разработать устройство для изготовления, которое позволит сократить время намотки трубы на внешнюю сторону емкости. Кроме того, устройство для изготовления должно быть способно обрабатывать емкости из более дешевых материалов.

Задача решается согласно изобретению устройством для изготовления холодильного аппарата с признаками, раскрываемыми в пункте 1 формулы изобретения. Путем изменения положения вращающегося вала можно добиться того, что при движении вращающегося вала устройство для укладки трубы на внешнюю сторону емкости будет всегда находиться под одним и тем же углом к внешней стороне емкости. Также это позволит сохранить неизменным расстояние от устройства для укладки трубы до внешней стороны емкости. Таким образом, всегда имеют место одинаковые условия, что позволяет увеличить скорость вращения во время намотки. Если вращающийся вал расположен параллельно оси намотки трубы, то он должен иметь мало степеней свободы. Для намотки трубы на кубическую емкость выгодно, если вращающийся вал может перемещаться по вертикали относительно оси своего вращения.

Для получения спиральной намотки устройство для укладки трубы может смещаться по оси, параллельной оси намотки трубы. Предпочтительно это смещение соответствует смещению держателя. Благодаря движению держателя в направлении оси намотки трубы можно полностью отказаться от перемещения устройства для укладки трубы. Таким образом, это устройство может монтироваться без возможности перемещения.

В случае, когда емкость имеет прямоугольное сечение, вращающийся вал попеременно перемещается по прямой и по окружности. Во время перемещения вращающегося вала по прямой труба укладывается на одну боковую поверхность емкости. При укладке трубы на кромки, соединяющие между собой две боковые поверхности емкости, вращающийся вал перемещается по окружности. Вращение держателя посредством соединенного с ним вращающегося вала происходит только при перемещении по окружности.

Если вместо алюминиевой емкости нужно использовать пластмассовую емкость, необходимо учитывать наличие скосов, обусловленных необходимостью извлечения изделия из пресс-формы, вследствие чего форма поверхности емкости может отличаться от правильного прямоугольника. Для того чтобы трубу можно было намотать и на эти скосы, вращающийся вал дополнительно оснащается возможностью наклона.

Предпочтительно устройство для укладки трубы на внешнюю сторону емкости содержит ролик для изгибания трубы. Этот изгибающий ролик по окружности имеет желобок, сечение которого соответствует наружному сечению трубы. Диаметр изгибающего ролика выбирается таким образом, чтобы исключить риск излома трубы.

Если проводящая хладагент труба наматывается на пластиковую емкость, то теплопередача между внутренней полостью для хранения охлаждаемых продуктов и хладагентом ухудшится по сравнению с алюминиевой емкостью, так как тепло из внутренней полости может восприниматься только внешней стенкой трубы. Для улучшения теплопередачи на пластиковую емкость наматывается и фиксируется алюминиевая клейкая лента. Для укладки этой алюминиевой клейкой ленты устройство для укладки трубы содержит прижимной ролик для алюминиевой клейкой ленты.

Выгодным образом изгибающий ролик для трубы и прижимной ролик для алюминиевой клейкой ленты могут вращаться вокруг параллельных осей и расположены рядом друг с другом в направлении оси намотки трубы. Таким образом, можно во время первого оборота вращающегося вала с держателем нанести алюминиевую клейкую ленту на внешнюю сторону емкости, и только во время последующего оборота закрепить трубу на уже уложенной алюминиевой клейкой ленте.

Труба выгодным образом крепится на алюминиевой клейкой ленте при помощи клея. Клей может наноситься, например, непосредственно на алюминиевую клейкую ленту. В особенно выгодном варианте клей наносится на трубу непосредственно перед изгибающим роликом. Для этого перед изгибающим роликом предусмотрен диспенсер для нанесения клея на трубу.

В качестве клея выгодным образом используется каучуковый синтетический клей. При этом речь идет о клее-расплаве, который нагревается примерно до 170°C и наносится при этой температуре.

Холодильный аппарат, изготовленный при помощи устройства согласно изобретению, выгодным образом содержит охлаждаемую при помощи хладагента емкость, изготовленную из пластмассы. Благодаря этому внутренняя полость может быть полностью гладкой и будет легко поддаваться очистке. Устраняются швы и кромки, в которых могут накапливаться трудноудаляемые остатки. Для обеспечения хорошей передачи тепла из внутренней полости на внешнюю сторону пластмассовой емкости по спирали наматывается и приклеивается металлическая лента. Труба, проводящая хладагент, укладывается по спирали уже на эту металлическую ленту и приклеивается к ней. Таким образом, тепло из внутренней полости может восприниматься большой поверхностью металлической ленты и передаваться на трубу и перемещающийся внутри нее хладагент через соединение, обладающее хорошей теплопроводностью.

Краткое описание чертежей

Прочие детали и преимущества изобретения следуют из зависимых пунктов формулы изобретения с учетом описания варианта исполнения, который подробно поясняется на основании фигур. На фигурах изображено:

Фигура 1: схема движения емкости при укладке трубы на прямолинейную сторону.

Фигура 2: схема движения емкости при укладке трубы на кромку.

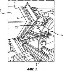
Фигура 3: вид устройства намотки с зафиксированной емкостью.

Фигура 4: детальный вид устройства намотки с почти полностью обмотанной емкостью.

Осуществление изобретения

На фигурах 1 и 2 представлена емкость 1, на внешнюю поверхность которой уже уложена спиральная трубная обмотка 4 в несколько витков. Для этого труба 3 проходит через диспенсер 9, в котором на трубу 3 наносится синтетический каучуковый клей. С помощью изгибающего ролика 7 труба прижимается к внешней стенке емкости 1.

Так как изгибающий ролик 7 и диспенсер 9 смонтированы без возможности перемещения, то для создания трубной обмотки 4 необходимо соответственно перемещать емкость 1. Для этого предусмотрен промышленный робот 14 (см. фигуру 3), который соединен с натяжным дорном посредством вращающегося вала, не показанного на фигуре. Этот натяжной дорн выполняет функцию держателя емкости 1 и устанавливается в ее внутренней полости. Цифрой 2 обозначена ось вращения вращающегося вала.

При укладке трубы 3 на прямолинейные внешние поверхности емкости 1 вращающийся вал промышленного робота 14 перемещается вверх в направлении стрелки 10. При этом движении не происходит вращения емкости вокруг оси 2 вращения. При этом угол встречи подаваемой трубы 3 с внешней стенкой емкости 1 во время этого линейного перемещения не меняется.

Если емкость переместилась настолько, что изгибающий ролик 7 достиг нижней правой кромки емкости 1, то линейное перемещение вращающегося вала останавливается. Как показано на фигуре 2, теперь вращающийся вал одновременно выполняет два движения. Во-первых, вращающийся вал перемещается вниз в направлении стрелки 12. Во-вторых, одновременно совершается вращательное движение вокруг оси 2 вращения в направлении стрелки 11. Оба процесса перемещения выполняются до тех пор, пока внешняя поверхность емкости 1, расположенная на фигуре 1 внизу, не встанет вертикально. В этом положении емкости 1 оба процесса перемещения останавливаются, и снова запускается линейное перемещение - как описано в связи с фигурой 1. Даже при укладке трубы 3 на кромки емкости угол встречи подаваемой трубы 3 с внешней поверхностью емкости 1 не меняется.

Тем самым гарантируется, что угол встречи подаваемой трубы 3 с внешней стороной емкости 1 во всех положениях остается одинаковым. Таким образом, параметры намотки одинаковы в каждый момент времени. Благодаря этому можно увеличить скорость намотки. Несмотря на такую высокую скорость намотки, получается очень равномерная и точная трубная обмотка 4.

С помощью устройства согласно изобретению можно не только укладывать трубу 3 на внешнюю сторону емкости 1, но и одновременно наносить на внешнюю сторону алюминиевую клейкую ленту 5. Эта алюминиевая клейкая лента 5 увеличивает площадь теплопроводящей поверхности трубной обмотки 4, посредством которой внутренняя полость емкости 1 соединяется с хладагентом, текущим внутри трубной обмотки 4. Поверхность алюминиевой клейкой ленты 5 воспринимает тепло непосредственно из внутренней полости емкости и передает его на трубную обмотку 4. Оттуда тепло передается хладагенту и отводится.

Труба 3 и алюминиевая клейкая лента 5 укладываются параллельно на внешнюю сторону емкости 1 (см. фигуры 3 и 4). Для укладки трубы 3 предусмотрен изгибающий ролик 7, который прижимает трубу к внешней стенке емкости. Параллельно предусмотрен прижимной ролик 8, который прижимает алюминиевую клейкую ленту 5. Прижимной ролик 8 и изгибающий ролик 7 расположены рядом друг с другом таким образом, что труба 3 всегда укладывается на уже намотанный виток алюминиевой клейкой ленты 5.

В начале процесса намотки емкость (во время своего первого оборота) покрывается только алюминиевой клейкой лентой 5. После этого труба 3 устанавливается в держатель 13, который жестко соединен с натяжным дорном и потому участвует во всех перемещениях натяжного дорна. Теперь посредством диспенсера 9 на трубу 3 наносится синтетический каучуковый клей 6. При последующем втором обороте натяжного дорна одновременно производится намотка на внешнюю сторону емкости 1 первого витка трубной обмотки 4 и второго витка алюминиевой клейкой ленты 5.

Емкость 1 предпочтительно изготовлена из пластмассы. Емкость 1 содержит скосы, обусловленные технологией изготовления. Для того, чтобы можно было выдерживать одинаковые параметры намотки даже при обмотке этих скошенных поверхностей, вращающийся вал, помимо способностей к вращению и линейному перемещению, может наклоняться. Благодаря этому емкость 1 можно ориентировать таким образом, что угол встречи подаваемой трубы 3 с внешней стенкой емкости 1 не будет меняться даже на скосах. Таким образом, движение емкости 1 можно настроить на любую произвольную форму емкости.

Емкость холодильного аппарата, полученная с помощью устройства согласно изобретению, может быть экономична в изготовлении и обладает выдающимися охлаждающими свойствами. Благодаря большой площади теплопередающей поверхности, обеспеченной алюминиевой клейкой лентой 5, тепло, забираемое из внутренней полости, может быстро передаваться из внутренней полости на хладагент и отводиться им. Благодаря использованию промышленного робота для перемещения емкости обеспечивается хорошая воспроизводимость, а процент брака минимален.

1. Устройство для изготовления холодильного аппарата, содержащего емкость (1) и намотанную на емкость (1) по спирали трубу (4), проводящую хладагент, с держателем (13) для емкости (1) и устройством (7, 8, 9) для укладки трубы (3) на внешнюю сторону емкости (1), отличающееся тем, что держатель содержит вращающийся вал, который может менять свое положение таким образом, что во время перемещения вращающегося вала угол между устройством (7, 8, 9) для укладки трубы (3) на внешнюю сторону емкости (1) и внешней стороной емкости (1) почти не меняется.

2. Устройство по п.1, отличающееся тем, что вращающийся вал расположен параллельно оси намотки трубы.

3. Устройство по п.1, отличающееся тем, что вращающийся вал может перемещаться перпендикулярно относительно оси (2) своего вращения.

4. Устройство по п.1, отличающееся тем, что держатель может перемещаться в направлении оси намотки трубы.

5. Устройство по п.4, отличающееся тем, что емкость (1) имеет прямоугольное сечение, а вращающийся вал может попеременно перемещаться по прямой (10) и по окружности (12).

6. Устройство по п.5, отличающееся тем, что вращающийся вал вращается только во время перемещения по окружности (12).

7. Устройство по п.1, отличающееся тем, что вращающийся вал может наклоняться.

8. Устройство по п.1, отличающееся тем, что устройство (7, 8, 9) для укладки трубы (3) на внешнюю сторону емкости (1) содержит ролик (7) для изгибания трубы (3).

9. Устройство по п.8, отличающееся тем, что устройство (7, 8, 9) для укладки трубы (3) на внешнюю сторону емкости (1) содержит прижимной ролик (8) для алюминиевой клейкой ленты (5).

10. Устройство по п.9, отличающееся тем, что изгибающий ролик (7) для трубы (3) и прижимной ролик (8) для алюминиевой клейкой ленты (5) могут вращаться вокруг параллельных осей и расположены друг рядом с другом в направлении оси намотки трубы.

11. Устройство по п.10, отличающееся тем, что предусмотрен диспенсер (9) для нанесения клея (6) на трубу (3), расположенный перед изгибающим роликом (7).

12. Устройство по п.11, отличающееся тем, что в качестве клеящего вещества используется каучуковый синтетический клей (6).

13. Устройство по п.1, отличающееся тем, что вращающийся вал перемещается промышленным роботом (14).

14. Холодильный аппарат с охлаждаемой хладагентом емкостью (1), изготовленный по п.1, отличающийся тем, что емкость (1) изготовлена из пластмассы, металлическая лента (5) намотана по спирали на внешнюю поверхность емкости (1) и приклеена к ней, и что труба (3), проводящая хладагент, уложена по спирали на металлическую ленту (5) и приклеена к ней.