Нейтронный защитный экран повышенной прочности
Иллюстрации
Показать всеИзобретение относится в основном к устройствам радиационной защиты, в частности к радиационным защитным экранам для подземного оборудования. В составе защитного экрана для аппаратуры геофизических исследований в скважинах (каротажа) имеется внешний слой, в который включено армирующее волокно, помещенное в матрицу, и внутренний слой, содержащий материал, способный поглощать тепловые нейтроны и внедренный в матрицу. Материал, способный поглощать тепловые нейтроны, подобран так, чтобы он испускал захватное гамма-излучение с энергией вне выбранного диапазона энергий. Технический результат - обеспечение необходимой защиты от радиации и/или ее поглощение. 2 н. и 15 з.п. ф-лы, 5 ил.
Реферат
ОБЛАСТЬ ТЕХНИКИ, К КОТОРОЙ ОТНОСИТСЯ ИЗОБРЕТЕНИЕ
Уровень техники
Изобретение относится в основном к устройствам радиационной защиты, в частности к радиационным защитным экранам для подземного оборудования.
Описание предшествующего уровня техники
Характеристики подповерхностных геологических формаций представляют существенный интерес для разведки, разработки и мониторинга подземных залежей воды, нефти и газа. В целях измерения и оценки этих характеристик разработано множество методик, позволяющих определить интересующие исследователей петрофизические свойства подземных пород, такие как относительный объем пустот («пористость»), минеральный состав подземных пород и относительное количество пустот, частично заполненных реликтовыми растворами, например нефти, газа и воды. Названные методики, как правило, предусматривают установку под землей оборудования или устройств, оснащенных источниками радиоактивного излучения, которые выделяют энергию в подземную формацию. (Обычно для этого в породе бурят скважину.) Выделенная энергия взаимодействует с подземной породой, вызывая различные явления, которые регистрируются и измеряются одним или несколькими датчиками, имеющимися в устройстве. Путем обработки полученных данных получают профиль, или «каротаж», характеристик подземных пород.
Разработано множество методик измерений («каротаж скважины») для оценки подземных пород. Некоторые из методик предусматривают испускание нейтронов в породу и оценку результата взаимодействия нейтронов с ядрами атомов в составе породы. Нейтрон не обладает электрическим зарядом, а его масса близка к массе протона. Благодаря этому он в частности пригоден для устройств подземных исследований, работающих в присутствии в породе водородосодержащих жидкостей. В породе нейтроны взаимодействуют с ядрами водорода с потерей энергии и различным образом реагируют с остальным веществом породы. Характеристики некоторых из таких взаимодействий можно использовать для определения свойств породы.
В системах для подземных исследований применяются различные источники радиоактивного излучения. Например, нейтронное или гамма-излучение можно получать просто путем использования радиоактивных изотопов (которые, естественно, распадаются с течением времени); можно использовать источник рентгеновского излучения; или можно получать нейтроны «по требованию» в устройстве, в котором для их образования используется ядерная реакция. В патентах США №3255353, 4596926, 4698501, 4705944, 4810459, 4829176, 4879463 и 5012091 описывается исследовательское оборудование, оснащенное активными источниками радиации и подходящими датчиками. Для использования в нейтронном каротаже источники на изотопах имеют преимущество, заключающееся в том, что они практически не поддаются разрушению. У изотопных источников нет электронных компонентов, так что можно рассчитывать на постоянный выход нейтронов (нулевое время простоя). Однако у изотопных источников есть и недостатки. Из того что испусканием нейтронов нельзя управлять, следует необходимость соблюдения строгих мер радиационной безопасности при обращении с такими источниками и каротажным оборудованием, содержащим такие источники, после установки в него источника. Данный недостаток стимулирует развитие электронных источников нейтронов.
Нейтроны высоких энергий могут образовываться в процессе управляемых столкновений частиц высоких энергий в ядерных реакциях слияния в источниках, описанных выше. Такую систему обычно называют генератором нейтронов. Генерация нейтронов «по требованию» путем использования пучков частиц высоких энергий позволяет сконструировать источник нейтронов, который будет испускать их импульсами точно определенной длительности и последовательности. Один из подобных импульсных источников нейтронов описан в патенте США №3461291. В генераторе нейтронов, описанном в 291-м патенте, применяется ускоряющая трубка, в которой заряженные частицы, такие как дейтроны, ускоряются благодаря электростатическому потенциалу и сталкиваются с веществом мишени, например тритием. В реакции между дейтронами и тритием мишени образуются нейтроны практически одной и той же энергии, примерно 14 МэВ (2,24·10-12 Дж). В большинстве приборов нейтроны испускаются не непрерывно, а короткими импульсами строго определенной длительности и частоты повторения. В случае использования такого импульсного генератора нейтронов порода вокруг прибора подвергается «обстрелу» повторными, дискретными импульсами нейтронов. В патентах США №4501964, 4883956, 4926044, 4937446, 4972082, 5434408, 5105080, 5235185, 5539225 и 5608215 описываются измерительные устройства, оснащенные такими генераторами нейтронов «по требованию».
На практике скважина и окружающая порода облучается нейтронами и регистрируются различные взаимодействия нейтронов с ядрами элементов, содержащихся в породе. Оборудование для исследований оснащается одним или несколькими датчиками или детекторами, которые регистрируют число нейтронов, отдельно надтепловых и тепловых энергий, а также гамма-излучение, испускаемое в результате взаимодействия нейтронов с подземными породами и жидкостями в самой скважине. Гамма-излучение может содержать «неупругие» гамма-лучи, которые появляются вследствие столкновений нейтронов с ядрами атомов породы при больших энергиях, а также захватное гамма-излучение, испускаемое, когда нейтроны низких энергий (тепловые) захватываются чувствительными к нему ядрами атомов в породе. Различные методики и устройства, использующие гамма-излучение, описываются, например, в патентах США №4390783, 4507554, 5021653, 5081351, 5097123, 5237594 и 5521378.
Среди свойств пород, которые могут быть определены в результате измерения явлений, вызванных нейтронами и гамма-излучением, - плотность породы, относительный объем пустот, или пор, в породе (пористость), отношение углерод/кислород (C/O), литология и сечение захвата нейтронов (Сигма). Среди характеристик, определяемых при помощи спектрального анализа гамма-излучения, могут быть, например, концентрации различных химических элементов. Кроме того, из различных нейтронных и гамма-измерений можно определить свойства жидкостей, заполняющих скважину.
Таким образом, ядерные измерения используются в методиках ядерной спектроскопии для получения качественной и количественной информации о движении жидкостей под землей. В патенте США №5219518 описывается устройство, оснащенное источником нейтронов и датчиками, предназначенными для измерений потоков воды посредством возбуждения ядер кислорода. Альтернативная методика для подземных жидкостных измерений включает в себя использование радиоактивных меток, или меченых атомов, для распознавания путей потоков между породами или буровыми скважинами. В патентах США №5049743, 5182051, 5243190 и 5929437 описывается использование элементов, которые могут стать радиоактивными вследствие бомбардировки их нейтронами и местоположение которых можно поэтому определить путем ядерного каротажа. Оборудование для каротажа, оснащенное детекторами гамма-излучения, пригодно в частности для обнаружения и определения местоположения следовых количеств вещества.
Ядерные явления, регистрируемые при помощи этих устройств, типичны для взаимодействий с ядрами атомов не только породы, но и самой аппаратуры и скважины. Прежде чем проникнуть внутрь породы, быстрые нейтроны должны пройти сквозь корпус прибора, жидкость скважины и в некоторых случаях обсадную колонну. Итоговый вклад в измеренную радиацию, не относящийся к породе, значительно осложняет анализ характеристик пород. Проблема еще более усугубляется вследствие того, что чувствительность детектора(-ов) к радиации, приходящей от скважины, оборудования и породы, представляет собой функцию со многими параметрами, таких как, например, литология, пористость, местоположение прибора в скважине, размер скважины, размер, вес и эксцентриситет обсадной колонны, качество цемента, свойства корпусов детекторов или состав жидкости в скважине. Таким образом, важно принимать в расчет относительный вклад элементов, не имеющих отношения к породе.
Для устройств генерации или регистрации нейтронов и гамма-излучения, защита от нейтронов обеспечивает ослабление взаимодействий нейтронов с обоими компонентами - самим прибором и средой непосредственно вокруг него. В аппаратуре для каротажа скважин регистрация гамма-лучей, испущенных при взаимодействии с нейтронами, особенно затруднительна благодаря наличию корпусов, используемых в целях защиты внутренних деталей детектора гамма-излучения от давления и механических повреждений. Нейтроны взаимодействуют с этими корпусами, и при этом испускаются гамма-лучи, возможно, из того же, представляющего интерес для исследований, диапазона энергий, что и лучи, испущенные вследствие взаимодействий нейтронов с породой. Стандартные методики защиты против нежелательных взаимодействий нейтронов состоят в использовании экранов, которыми закрывают аппаратуру. В патентах США №3947683, 4492864, 4220851, 4020342, 4390783, 4661701, 5081351 и 7148471 описывается применение радиационной защиты в оборудовании для каротажа скважин.
Известная технология нейтронной защиты обычно состоит в использовании однородных материалов на основе каучуковой матрицы с наполнителем из частиц, поглощающих нейтроны (содержащих, например, атомы изотопа бора-10). Частицы наполнителя выбираются такими, чтобы они поглощали нейтроны и испускали захватное гамма-излучение с энергиями вне представляющего интерес диапазона энергий гамма-лучей, образующихся в результате взаимодействия нейтронов с породой. Каучуковая матрица удерживает частицы, содержащие атомы бора-10, одновременно обеспечивая конструктивную опору. Количество таких частиц наполнителя (объем или масса) в однородном защитном материале ограничено требованиями к конструкции, которая должна противостоять среде в скважине, абразивным и механическим повреждающим воздействиям. Остается необходимость в усовершенствованных защитных структурах для геофизического оборудования.
СУЩНОСТЬ ИЗОБРЕТЕНИЯ
Один из аспектов изобретения - экран для каротажного оборудования. Экран, соответствующий данному аспекту изобретения, имеет внешний слой, содержащий армирующее волокно, введенное в матрицу. Материал, поглощающий тепловые нейтроны, подобран так, чтобы он испускал гамма-лучи с энергиями, лежащими вне выбранного диапазона энергий.
Каротажная аппаратура, соответствующая еще одному аспекту изобретения, включает в себя сердечник с измерительным прибором в форме, удобной для перемещения сердечника вдоль пробуренной в подземной породе скважины. Во внутренней камере приборного сердечника смонтирован по меньшей мере один детектор радиоактивного излучения. Защитный радиационный экран помещается на внешнюю поверхность приборного сердечника непосредственно там, где находится детектор радиоактивного излучения. В составе защитного экрана имеется внешний слой, содержащий введенное в матрицу армирующее волокно, и внутренний слой, содержащий введенный в матрицу материал, поглощающий тепловые нейтроны. Материал, поглощающий тепловые нейтроны, выбран таким, чтобы он испускал захватное гамма-излучение с энергиями, лежащими вне выбранного диапазона энергий.
КРАТКОЕ ОПИСАНИЕ ЧЕРТЕЖЕЙ
Другие составляющие и преимущества изобретения станут наглядными из дальнейшего подробного описания и формулы изобретения со ссылками на чертежи, на которых элементы соответствуют указанным номерам.
На Фиг.1 изображена примерная схема экрана, смонтированного на приборном сердечнике согласно изобретению.
На Фиг.2 представлен увеличенный разрез матрицы экрана согласно изобретению.
На Фиг.3 схематически изображен защитный радиационный экран согласно изобретению.
На Фиг.4 изображен вид с торца сегментов экрана, помещенного на приборный сердечник согласно составляющим изобретения.
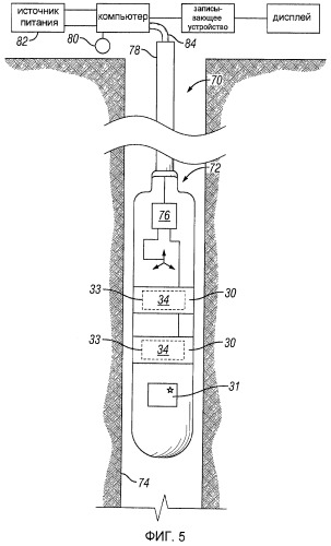
На Фиг.5 схематически изображен прибор для скважины, оснащенный защитными экранами согласно различным составляющим изобретения.
ПОДРОБНОЕ ОПИСАНИЕ
Настоящее изобретение описывает конфигурации усовершенствованного радиационного экрана, который обеспечивает необходимую защиту от радиации и/или ее поглощение, сохраняя физическую целостность в среде скважины. Согласно изобретению различные разновидности экрана могут иметь слоистую структуру защитных материалов. Экран со слоистой структурой согласно изобретению способен разрешить проблемы надлежащей защиты и сохранения физической целостности в средах скважин, а один или более внутренних слоев способны обеспечить желаемую защиту. Внешние слои могут быть выполнены таким образом, чтобы они выдержали воздействие среды в скважине, при этом защищая один или более внутренних слоев, выполненных с возможностью экранирования прибора от проникновения нейтронов. Некоторые разновидности также выполнены с одним или более структурными слоями между внутренним и внешним слоями, что может способствовать сохранению физической целостности общей структуры экрана.
На Фиг.1 показана в разрезе одна из разновидностей радиационного экрана 30 согласно изобретению. Радиационный экран 30 помещается на внешнюю часть корпуса прибора или сердечника 45 вблизи места, где в нем расположен детектор радиации 44 (т.е. детектор гамма-излучения). Сердечник может быть выполнен из нержавеющей стали, титана или другого подходящего материала для изоляции от давления и поддержания герметичности прибора. Детектор 44 может быть смонтирован внутри изолирующего корпуса 46, из которого удален воздух, и помещен внутри сердечника 45. Электрические и электронные компоненты, соединенные с детектором 44, также помещенные внутрь сердечника 45, на рисунке для простоты не показаны. Радиационный экран 30 на практике может быть выполнен в форме кругового цилиндра с внутренним слоем 42 и внешним слоем 40 для расслоения/рассредоточения конкретных материалов, как будет объяснено ниже. Радиационный экран 30 спроектирован так, чтобы он поглощал или захватывал проникшие в него тепловые нейтроны, таким образом препятствуя попаданию их на сердечник 45. Препятствуя проникновению тепловых нейтронов к сердечнику 45, экран тем самым препятствует их взаимодействию с сердечником 45 и сопровождающему взаимодействие испусканию гамма-лучей. Поэтому детектор 44 не подвергается гамма-облучению вследствие взаимодействия таких нейтронов с материалом сердечника 45 и корпуса детектора 46, а также с другими материалами внутри сердечника 45.
На Фиг.2 показана одна сторона экрана 30 в разрезе. Внешнюю прослойку 48 образует материал, подходящий для обеспечения сопротивляемости к истиранию/износу, при взаимодействии с ним нейтронов не дает гамма-излучения в диапазоне энергий, представляющем интерес для исследования окружающей скважину породы, и способен противостоять окружающей среде в обычной скважине. В такой среде температура может достигать 200ºC, избыточное гидростатическое давление до 1500 бар (1,5·108 Па), и в ней обычно присутствуют вызывающие коррозию и/или химически активные вещества, попадающие в скважину. Подходящим материалом для внешнего слоя могут служить (список не ограничивается названными ниже): устойчивый к падению давления и разрыву каучук, например нитриловый; стекловолокно из полиэфиркетона (PEK); углеродное волокно; волокно, изготовленное из кевлара (KEVLAR - зарегистрированная торговая марка компании E.I. DuPont de Nemours & Co.); эпоксидная смола, армированная стекловолокном; графитовое, или карбоновое, волокно; термопластик, например PEK, полиэфирэфиркетон (PEEK), полиэфиркетон-кетон (PEKK) и пластик торговой марки ULTRAPEK (BASF, AG, Ludwigshafen, Germany), а также композиты из таких материалов. В патентах США №4320224, 6084052, 4873488, 7026813 и патентной публикации США №20070107896 (Funci et al.) описывается аппаратура для скважин с наружными оболочками с каркасами на основе композитных материалов (встроенных оболочки). Согласно одному варианту верхний, или наружный, слой 48 изготавливается из материала «pre-preg» («преармированных», предварительно армированных композитных смол), состоящего из углеродного волокна, внедренного в PEEK. Внешний слой 48 может быть сформирован в виде слоистого листа или нескольких листов и может включать в себя волоконные наполнители.
Одна из разновидностей внешнего слоя 48 содержит стекловолокно, углеродное волокно или их комбинацию, встроенные в матрицу из смолы вроде PEEK. Назначение такой структуры - обеспечить достаточную механическую прочность и сопротивляемость внешнего слоя к истиранию, тем самым минимизируя количество водородосодержащих веществ в матрице. Такая структура может минимизировать термализацию нейтронов, попадающих во внешний слой из источника нейтронов (см. Фиг.5) и из окружающей породы.
Внутренний, или нижний, слой 50 содержит материалы, которые обеспечивают большое сечение захвата тепловых нейтронов радиационным экраном 30 и не испускают захватное гамма-излучение с энергиями в диапазоне, представляющем интерес с точки зрения регистрации детектором 44 (см. Фиг.1) нейтронов, испускаемых породой. Внутренний слой 50 можно изготавливать, например, нанесением кристаллического бора-10 на нити волокна, такого как углеродное или стекловолокно, и внедрением нитей, покрытых бором-10, в матрицу, например PEEK. Комбинированная структура из нитей, внедренных в матрицу из смолы, может быть изготовлена предварительно в виде листов; данный способ известен как изготовление с предварительной пропиткой связующим веществом. При монтаже экрана на приборном сердечнике предварительно пропитанные связующим листы могут быть обернуты вокруг сердечника 45 (см. Фиг.1). Таким образом внешний слой 48 может быть наложен поверх внутреннего слоя 50, и получается готовый экран 30. В некоторых образцах во внешний слой 48 для дополнительного экранирования может быть также включено некоторое количество материала, поглощающего нейтроны (например, частицы, содержащие бор-10), рассредоточенного по смоляной матрице. Такие частицы показаны на Фиг.2.
Некоторые образцы, подобные изображенным на Фиг.2, могут содержать структурный слой 53, расположенный между внутренним слоем 50 и внешним слоем 48. Задача структурного слоя состоит в обеспечении механической целостности всей структуры экрана, в частности внутреннего слоя 50. Структурный слой 53 может изготавливаться, например, из PEEK или подобной ему смолы. Толщину структурного слоя 53 следует ограничить, чтобы избежать избыточной термализации нейтронов.
На Фиг.3 приведен новый образец экрана 30 согласно изобретению. В перспективном разрезе матрица 42 экрана выглядит как цилиндрическое тело 40. Хотя изображение для ясности упрощено, видно, что тело 40 представляет собой простой круговой цилиндр с удлиненными стенками и внутренним отверстием. Тело 40 изготавливается при помощи подходящих материалов, как описано выше. Например, можно изготовить экран 30 с телом, полностью состоящим из композитных материалов, распределенных в матрице 42, как показано на рисунке. Матрица 42 скомпонована с материалом, поглощающим нейтроны, или вкрапленными в нее частицами 51 и с внешним слоем 48, обеспечивающим сопротивляемость к истиранию и повреждениям.
На Фиг.4 изображен вид с торца образца экрана 30 согласно изобретению. Два дугообразных элемента 35 показаны наложенными непосредственно на внешнюю поверхность сердечника 45. Дугообразные элементы 35 показаны с торца, чтобы проиллюстрировать, как эти элементы «изогнуты дугой». Используемый здесь термин «дугообразный» подразумевает любую часть полного цилиндра и может означать, например, сектор, квадрант или элемент полуцилиндра. Таким образом, под термином «дугообразный элемент» следует понимать некоторое число кольцевых секций, при соединении которых образуется круговой цилиндр. Экран, соответствующий этому образцу, может быть составлен из многих дугообразных элементов, образующих полный цилиндр (т.е. муфту) с внутренним отверстием и открытыми концами, как показано на Фиг.4.
Различные реализации изобретения могут быть выполнены с матрицей 42, в которую вкраплены поглощающие нейтроны материалы или частицы в переходной последовательности, такой что концентрации материала/частиц растут вглубь тела экрана, т.е. в направлении от внешней поверхности. Это показано на Фиг.4 как дугообразный элемент 35, помеченный литерой A. Различные образцы изобретения могут быть также спроектированы с такими вкраплениями поглощающих нейтроны материалов/частиц 51, что из них образуется явно обозначенный слой. Это показано на Фиг.4 как дугообразный элемент 35 со слоем, помеченным литерой B. Другие образцы могут быть спроектированы с несколькими слоями вкраплений материалов/частиц 51, поглощающих нейтроны, или с перемежающимися слоями, повышающими сопротивляемость к истиранию (правый дугообразный элемент 35 на Фиг.4). Еще одна группа образцов может быть спроектирована с вкраплениями поглощающих нейтроны материалов/частиц 51, образующими некоторое количество переходных слоев. Эта составляющая также представлена правым дугообразным элементом 35 на Фиг.4.
На Фиг.5 показана система 70 для каротажа в скважинах для сбора данных подземных измерений, включающая в себя некоторое количество защитных экранов 30 согласно изобретению. Система 70 для каротажа содержит скважинный каротажный прибор 72, который изображен введенным в скважину 74, пробуренную сквозь подземную породу. Прибор 72 может относиться, например, к типу, описанному в патентах США №7073378, 5884234, 5067090 и 5608215 (все права переданы правопреемнику настоящего патента). Прибор 72 содержит источник 31 радиоактивного излучения (например, импульсный генератор нейтронов). Экраны 30 размещают на корпусе прибора 72, оборачивая их вокруг детекторов 34 радиоактивного излучения (например, детекторы гамма-излучения), смонтированных в корпусах 33 и помещенных внутрь прибора. Экраны 30 можно поместить на приборе 72 путем оборачивания с натяжением слоистого экранирующего преармированного (pre-preg) материала, путем надвигания экрана, которому заранее придана форма муфты, как показано на Фиг.3, путем прикладывания круговых сегментов, изготовленных, как показано на Фиг.4 и описано в пояснении к рисунку, или другими подходящими способами. Экраны 30 могут крепиться на нужном месте различными известными подходящими способами. В некоторых случаях прибор 72 может иметь углубление, или утопленный пояс (на рисунке не показан), предназначенный для экрана 30. Наличие таких углублений позволило бы сделать прибор 72 более обтекаемым по форме или меньшим в диаметре. Сердечник прибора 72 (45 на Фиг.1) может быть изготовлен из металла или известных непроводящих композитных материалов. Другие варианты могут быть выполнены также с защитным экраном 30 как частью, объединенной с композитным (не металлическим) корпусом прибора (на рисунке не показано). В дополнение к источнику 31 и детектору 34 радиоактивного излучения прибор 72 может быть снабжен дополнительными источниками энергии и датчиками для выполнения множества подземных измерений известными способами. Прибор 72 обычно содержит электронную часть (аппаратное обеспечение) 76 с необходимыми схемами для проведения измерений и обмена информацией или хранения данных измерений, выполненных разными датчиками, входящими в состав прибора 72.
Прибор 72 показан подвешенным в скважине 74 к транспортировочному оборудованию 78, которое может представлять собой кабельную систему (например, скользящую муфту, армированный электрокабель и/или гибкую трубу с электрокабелем внутри и т.д.) или спусковую колонну буровых труб в случае системы каротажа во время бурения. Прибор 72 с транспортировочным кабельным оборудованием поднимается и опускается в скважине при помощи лебедки 80, управляемой наземным устройством 82. Транспортировочное оборудование 78 содержит соединяющую электронику 76 с наземным устройством 82 заизолированную электропроводку 84, по которой передаются управляющие сигналы, данные и электроэнергия. В другом случае, когда используется спусковая колонна или скользящая муфта, источник энергии может находиться в скважине, сигналы и данные могут обрабатываться и/или записываться в приборе 72, а записанные и/или обработанные данные передаваться на наземное устройство 82 при помощи различных телеметрических средств. Точные формы и детали сигналов, генерируемых и/или регистрируемых источниками и детекторами, меняются в соответствии с требуемыми измерениями и известными способами применения и не относятся к ограничивающим факторам в рамках настоящего изобретения.
Защитный экран, изготовленный как здесь поясняется, можно помещать практически на любой прибор, для которого требуется радиационная защита с вышеописанными свойствами. В частности, такие защитные экраны пригодны для подземных приложений.
Хотя настоящее изобретение описано в отношении ограниченного числа реализаций, требуемых по технологии, необходимо учесть, что можно найти другие реализации, не выходящие за рамки раскрытого здесь изобретения. Таким образом, изобретение должно ограничиваться лишь рамками приложенной формулы изобретения.
1. Защитный экран для аппаратуры каротажа скважины, содержащий:- внешний слой, включающий в себя армирующее волокно, помещенное в матрицу, и- внутренний слой, включающий в себя поглощающий тепловые нейтроны материал, помещенный в матрицу; причем поглощающий тепловые нейтроны материал выбран, чтобы испускать захватные гамма-лучи с энергией вне представляющего интерес энергетического диапазона гамма-лучей, обусловленной взаимодействием нейтронов с породами, и содержит поглощающие нейтроны частицы, осажденные на волокно, причем волокно с осаждением рассредоточено в матрице.
2. Защитный экран по п.1, в котором поглощающий тепловые нейтроны материал содержит бор-10.
3. Защитный экран по п.1, в котором матрица внешнего слоя содержит по меньшей мере одно из нитрилового каучука, полиэфиркетона, полиэфирэфиркетона, полиэфиркетонкетона.
4. Защитный экран по п.1, в котором армирующее волокно содержит по меньшей мере одно из: стекловолокна и углеродного волокна.
5. Защитный экран по п.1, в котором волокно с осаждением содержит по меньшей мере одно из: стекловолокна и углеродного волокна.
6. Защитный экран по п.1, дополнительно содержащий структурный слой, помещенный между внутренним слоем и внешним слоем.
7. Защитный экран по п.6, в котором структурный слой содержит полиэфирэфиркетон.
8. Защитный экран по п.1, в котором внутренний слой и внешний слой сконфигурированы как круговые цилиндры.
9. Защитный экран по п.8, в котором круговые цилиндры помещены на наружную поверхность приборного сердечника, причем приборный сердечник имеет детектор излучения.
10. Прибор для каротажа скважин, содержащий:- приборный сердечник, сконфигурированный с возможностью его перемещения по внутренней части скважины, пробуренной в подповерхностных породах;- по меньшей мере один детектор излучения, помещенный во внутреннюю камеру, определенную приборным сердечником;- противорадиационный защитный экран, помещенный на наружную поверхность приборного сердечника вблизи позиции детектора излучения в нем, причем защитный экран включает в себя внешний слой, включающий в себя армирующее волокно, помещенное в матрицу, и внутренний слой, включающий в себя поглощающие тепловые нейтроны материал, помещенный в матрицу, причем поглощающий тепловые нейтроны материал выбран, чтобы испускать захватные гамма-лучи с энергией вне представляющего интерес энергетического диапазона гамма-лучей, обусловленной взаимодействием нейтронов с породами, и содержит поглощающие нейтроны частицы, осажденные на волокно, причем волокно с осаждением рассредоточено в матрице.
11. Прибор по п.10, в котором поглощающий тепловые нейтроны материал содержит бор-10.
12. Прибор по п.10, в котором матрица внешнего слоя содержит по меньшей мере одно из нитрилового каучука, полиэфиркетона, полиэфирэфиркетона, полиэфиркетонкетона.
13. Прибор по п.10, в котором армирующее волокно содержит по меньшей мере одно из стекловолокна и углеродного волокна.
14. Прибор по п.10, в котором волокно с осаждением содержит по меньшей мере одно из стекловолокна и углеродного волокна.
15. Прибор по п.10, дополнительно содержащий структурный слой, помещенный между внутренним слоем и внешним слоем.
16. Прибор по п.15, в котором структурный слой содержит полиэфирэфиркетон.
17. Прибор по п.10, в котором внутренний слой и внешний слой сконфигурированы как круговые цилиндры.
 
                         
                            


