Холодильный аппарат

Иллюстрации

Показать все

Холодильный аппарат содержит камеру, которая образует промежуточное пространство заданной ширины и в которую укладываются охлаждаемые продукты, внешнюю стенку, охватывающую внешнюю поверхность указанной камеры, соединительный элемент, который расположен в упомянутом промежуточном пространстве и одним своим концом соединяется с отверстием в камере, и изоляционный слой, который обволакивает внешнюю поверхность камеры и заполняет пространство между внешней стенкой и камерой. Холодильный аппарат содержит, по меньшей мере, один фиксирующий выступ, который сформирован на оконечности упомянутого соединительного элемента и одновременно примыкает к отверстию и соприкасается с внутренней поверхностью камеры. Способ монтажа содержит следующие технологические этапы: проталкивание оконечности упомянутого удлинения крепежа через расширенный участок и сдвиг упомянутого соединительного элемента в направлении другого участка отверстия. Использование данной группы изобретений позволяет исключить смещение элементов, закрепленных между ванной холодильного аппарата и внешними стенками, вследствие впрыскивания полиуретана. 2 н. и 10 з.п. ф-лы, 4 ил.

Реферат

Область техники

Изобретение, согласно ограничительной части пункта 1 формулы изобретения, относится к холодильным аппаратам с ванной, в которую укладываются подлежащие охлаждению предметы, и которая имеет устройство циркуляции воздуха для подачи холодного воздуха.

В частности, изобретение относится к холодильным аппаратам, имеющим соединительные устройства, которые в целях циркуляции воздуха в ванне обеспечивают соединение различных частей.

Уровень техники

Принципиально холодильные аппараты состоят из теплоизолирующих стенок и ванны, входящей в упомянутые стенки и образующей внутреннюю полость, а также дверки, через которую снаружи можно попасть в упомянутую ванну. Во время изготовления холодильного аппарата стенки и ванна изготавливаются в ходе раздельных технологических процессов, причем их соединение между собой осуществляется в ходе процесса заливки полиуретаном, который, в том числе, обеспечивает теплоизоляцию. Во время процесса заливки полиуретаном форма помещается в ванну таким образом, чтобы предотвратить выдавливание полиуретана через отверстия вовнутрь ванны и сберечь, тем самым, внутреннюю поверхность ванны. При этом в пространство между металлическим листом, образующим внешнюю стенку, и ванной, образующей внутреннюю полость, при помощи пистолета впрыскивается полиуретан. Расширяющийся полиуретан быстро распространяется между внешними стенками и ванной и заполняет пространство между ними. Полиуретан - это материал, который при расширении склонен к выдавливанию из всех возможных отверстий. По этой причине в ванну вкладывается сплошная форма, закрывающая все отверстия. Поэтому во время заполнения ванны - вне формы ванны - невозможно сформировать дополнительный выступ, предназначенный для присоединения к нему деталей, так как вследствие этого ванна будет повреждена. Поэтому элементы, которые остаются под слоем полиуретана между внешними стенками и ванной, но должны соединяться с ванной, во время процесса впрыскивания полиуретана закрепляются на внешней стороне ванны клеящими средствами, например, клейкой лентой. При расширении полиуретана случается так, что сила сцепления клеящих средств с ванной оказывается недостаточной для сопротивления силе расширения полиуретана, и элементы смещаются. Так как контроль посредством удаления слоя полиуретана невозможен, это может привести даже к тому, что холодильный аппарат придется отправить в брак.

Раскрытие изобретения

Исходя из современного уровня техники, задачей изобретения является предотвращение смещения элементов, закрепленных между ванной холодильного аппарата и внешними стенками, вследствие процесса впрыскивания полиуретана.

Другая задача заключается в разработке крепления элементов к ванне при помощи специального способа соединения и/или аппарата, которое будет выдерживать давление полиуретана.

Еще одной задачей изобретения является способ крепления дополнительного элемента на внешней поверхности ванны, не повреждающий внутреннюю сторону ванны.

Эти задачи решаются новым холодильным аппаратом, который в камере, в которую укладываются охлаждаемые продукты, на установленном расстоянии содержит внешнюю стенку, образующую промежуточное пространство и охватывающую внешнюю поверхность указанной камеры, соединительный элемент, расположенный в упомянутом промежуточном пространстве и одним своим концом соединяющийся с отверстием в камере, и изоляционный слой, заполняющий пространство между камерой и внешней стенкой и обволакивающий упомянутую внешнюю поверхность камеры.

В предпочтительном варианте изобретения упомянутая новизна характеризуется, по меньшей мере, одним фиксирующим выступом, который сформирован на оконечности упомянутого соединительного элемента, одновременно примыкает к отверстию и контактирует с внутренней поверхностью камеры, расположенной рядом с отверстием. Таким образом, соединительный элемент перед впрыскиванием изоляционного слоя закрепляется на камере и не меняет своего положения в промежуточном пространстве во время процесса впрыскивания изоляционного слоя.

В предпочтительном варианте реализации изобретения упомянутая новизна характеризуется тем, что в отверстии имеется, по меньшей мере, один расширенный участок, сформированный в отверстии и позволяющий упомянутому фиксирующему выступу пройти сквозь отверстие. Благодаря этому соединительный элемент, который расширяется на участке, контактирующем с отверстием, и образует на этом расширяющемся участке кромку, прилегающую к отверстию, может быть задвинут в камеру. Благодаря своему прохождению по более узкому участку более широкая часть обеспечивает крепление и соприкасается с внутренней поверхностью камеры.

В предпочтительном варианте реализации изобретения упомянутый фиксирующий выступ имеет фланец, образованный изогнутой оконечностью соединительного элемента. Таким образом, можно обезопасить фиксирующий выступ от сдвига под воздействием осевой нагрузки с различных направлений.

В предпочтительном варианте реализации изобретения упомянутый расширенный участок находится на оконечности другой более узкой части отверстия. Благодаря этому при изготовлении холодильного аппарата после прохождения соединительного элемента через отверстие монтаж может быть выполнен всего одним движением в направлении более узкой части.

В предпочтительном варианте реализации изобретения ось ввода элемента в упомянутое отверстие расположена горизонтально по отношению к поверхности днища. Этого достаточно с точки зрения стабильности, так что соединительный элемент соединяется с фиксирующим выступом только с нижней и верхней стороны.

В предпочтительном варианте реализации изобретения, в целях защиты упомянутого фиксирующего выступа от вытяжении в направлении внутренней стороны камеры, на упомянутом соединительном элементе формируется, по меньшей мере, один опорный выступ, соприкасающийся с внешней поверхностью камеры. Таким образом, при заливке изоляционного материала или в иной похожей ситуации соединительный элемент не смещается вовнутрь камеры. Кроме того, исключается возможное действие момента нагрузки, приложенной к крепежному элементу.

В предпочтительном варианте реализации изобретения между упомянутым фиксирующим выступом и опорным выступом находится, по меньшей мере, одна выемка, образующая опорную поверхность и представляющая собой направляющую. Указанная выемка выполняет направляющую функцию, и при вложении соединительного элемента в отверстие обеспечивает желаемое направление его введения в соответствии с поверхностью камеры. Одновременно можно сформировать только одну выемку, и сделать фиксирующий выступ из части соединительного элемента, выступающей через выемку вовнутрь камеры.

В предпочтительном варианте реализации изобретения упомянутый расширенный участок имеет форму равносторонней трапеции. Такая форма обеспечивает линейно уменьшающуюся ширину в отверстии и облегчает монтаж благодаря равномерно увеличивающемуся трению открыто прилегающих поверхностей удлинения крепежа.

В предпочтительном варианте реализации изобретения упомянутый расширенный участок имеет уклон в сторону стенки камеры. На камере находится, по меньшей мере, одна поверхность, скошенная к плоскости стенки камеры и несущая упомянутый расширенный участок. Таким образом, при помощи направленного в соответствии с плоскостью камеры движения из расширенного участка можно вставить фиксирующий выступ.

В предпочтительном варианте изобретения соединительный элемент крепится к отверстию посредством фланца, имеющего форму упомянутого отверстия, так что упомянутый фланец при закреплении соединительного элемента в отверстии охватывает упомянутую форму отверстия, позволяя полностью закрыть отверстие. Благодаря этому отверстие полностью закрывается фланцем, что само по себе препятствует выдавливанию материала, например, при заливке полиуретана.

Предпочтительный вариант реализации изобретения отличается тем, что упомянутый соединительный элемент имеет другую оконечность, которая соединяется с другим отверстием другой камеры. Таким образом, соединительный элемент может применяться, например, в холодильных аппаратах с двумя камерами, например камерой охлаждения и камерой замораживания, с целью обеспечения циркуляции воздуха между камерами.

Для достижения указанных целей предпочтительное применение изобретения описывается с применением способа, содержащего следующие технологические этапы: проталкивание оконечности упомянутого фиксирующего выступа через упомянутый расширенный участок и сдвиг упомянутого крепежного элемента в направлении другой, более узкой, части.

Структурные и характеризующие свойства изобретения, а также все преимущества становятся гораздо очевиднее из приведенных ниже иллюстраций, а также подробного описания со ссылками на иллюстрации. При этом анализ также следовало бы производить с учетом этих иллюстраций и подробного описания.

Краткое описание чертежей

На фигурах изображено:

фигура 1: вид спереди холодильного аппарата, имеющего конструкцию в соответствие с изобретением;

фигура 2а: перспективный вид аппарата в разборе с демонстрацией варианта реализации изобретения;

фигура 2b: перспективный вид аппарата согласно фигуре 2а в сборе с демонстрацией варианта реализации изобретения;

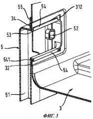
фигура 3: разрез аппарата, представленного на фигуре 2а, с демонстрацией варианта реализации изобретения.

Осуществление изобретения

В варианте, представленном на фигуре 1, изобретение применяется к холодильнику с двумя камерами (3, 4) и аксессуарами, например выдвижными ящиками и полками (не показаны на фигуре), причем верхняя камера используется как камера охлаждения, а нижняя - как камера замораживания.

Внешний корпус (1) сформирован путем изгибания металлического листа, причем выходы камер (3, 4) оставлены открытыми, а введенный между ними под давлением и образующий изоляционный слой (2) полиуретановый материал обволакивает внешние поверхности камер (3, 4) таким образом, что остается промежуточное пространство, ширина которого соответствует изоляционному слою (2). Однако перед впрыскиванием изоляционного слоя (2) между внешним корпусом (1) и камерами (3, 4) в расположенное на этом участке промежуточное пространство (2) вкладывается соединительный элемент (5), обеспечивающий циркуляцию воздуха между камерами (3, 4). Соединительный элемент (5) представляет собой полую прямоугольную пластиковую перемычку, две оконечности которой ориентированы в одном и том же направлении и открыты, а внутренняя часть которой образует канал (51). Оба отверстия соединительного элемента (5), ориентированные в одном и том же направлении, соединяются с камерами (3, 4): одно наверху, другое внизу. Благодаря этому холодный воздух поступает из нижней камеры (4) в верхнюю камеру (5) с помощью вентилятора и вентиляционных каналов (не показаны на фигуре), обеспечивая циркуляцию.

На фигуре 2а показано отверстие (31), обеспечивающее переход соединительного элемента (5) в камеру (3) и образованное прорезью в боковой стенке. Отверстие (31) расположено в нижней части правой стенки вблизи выхода камеры (3) и вытянуто по горизонтали. Отверстие (31) представляет собой прямоугольник, более короткая сторона которого одновременно образует верхнюю сторону трапеции и узкий участок (311), причем трапеция образует расширенный участок (312). Угол расширения (α), образованный расположенной сбоку от прямоугольника трапецией, обеспечивает расширение относительно более узкого участка (311). Более длинная сторона трапеции образует широкую кромку отверстия (31). Стенка (33) отверстия (31), выдающаяся в промежуточное пространство, вместе со стенкой камеры, взятой по толщине, образует опорную поверхность для соединительного элемента (5). На фигуре, согласно показанному варианту, отверстие (31) имеет буртик (32), который со стороны стенки камеры (3) - со стороны более короткой кромки отверстия (31) - немного, например на 10 мм, шире, чем более короткая сторона четырехугольного отверстия (31), сформирован заглублением внешнего корпуса (1) и прилегает к стенке (33), выступающей в промежуточное пространство.

Как показано на фигурах 2b и 3, соединительный элемент (5) имеет четырехугольный фиксирующий выступ (54), который ориентирован в сторону камеры (3) и образован изгибанием верхней и нижней кромок к буртику (32). Эти фиксирующие выступы (54) сформированы вдоль двух длинных, направленных в сторону камеры (3), противоположных кромок, на которых одновременно расположены всасывающие отверстия (52), открывающиеся в канал (51). Вместе с фиксирующими выступами (54) общая ширина отверстия будет больше ширины узкого участка (311), однако меньше наиболее широкой части расширенного участка (312). Благодаря этому пользователь может вставить фиксирующий выступ (54) одним концом в участок, ширина которого превышает общую ширину расширенного участка (312), и сдвинуть его вдоль направления (А) перемещения соединительного элемента. Таким образом, контактная поверхность (541) фиксирующих выступов (54) накладывается на буртик (32) внутри камеры (3). Чтобы облегчить процесс установки, контактная поверхность выполняется скошенной. Расширенный участок (312) находится напротив более узкого участка (311) вблизи внешней стенки. Благодаря этому на буртик (32) не действует нагрузка, которая могла бы привести к изгибанию.

По завершении процесса установки соединительный элемент (5) устанавливается над фиксирующей кромкой (53) рядом с фиксирующим выступом (54) на находящуюся на более узком участке (311) стенку (33), выступающую в промежуточное пространство. Это гарантирует, что соединительный элемент (5) будет удерживаться на стенке камеры (3) при возникновении возможных нагрузок в плоскости стенки камеры (3).

При нагрузках, действующих перпендикулярно упомянутой плоскости, фиксирующие выступы (54), благодаря контакту с буртиком (32) распределяют нагрузку, действующую из камеры (3) к внешнему корпусу или состоящую из нагрузочного момента, связанного с центром промежуточной стенки камеры. Для восприятия нагрузки, действующей на соединительный элемент (5) в направлении от внешнего корпуса (1) к камере (3), рядом с фиксирующей кромкой (53) сформирован прямоугольный опорный выступ (55). Как показано на фигуре 1, опорный выступ (55), расположенный на внешней поверхности (34) камеры, распределяет упомянутую нагрузку и препятствует смещению соединительного элемента (5). Таким же образом защищенный со всех направлений соединительный элемент (5) крепится к другому отверстию в нижней камере (4) и формирует закрытый канал (51) между камерами (3, 4). После этого в промежуточное пространство между внешним корпусом (1) и камерами (3, 4) впрыскивается полиуретан. Благодаря опорам соединительный элемент (5) остается неподвижным под действием сил, возникающих при расширении полиуретана. Кроме того, буртик (32), проходящий вдоль камер (3, 4) и удерживающийся сзади благодаря соответствующей штампованной форме, остается сзади. Это позволяет предотвратить повреждение фиксирующих выступов (54).

В других вариантах применения изобретения отверстие (31) может повторять отличающиеся области расширенного участка (312). Например, выступы, входящие в прямоугольное отверстие, могут образовывать два или более расширенных участков (312), или же участки, остающиеся между выступами, могут образовывать узкие участки (311). Упомянутые выступы могут иметь любую форму, то есть быть, например, треугольными, круглыми и т.д.

В этом подробном описании разъясняются варианты применения изобретения без каких-либо ограничений, со ссылками на фигуры, приведенные в приложении. Защищаемый объем изобретения раскрывается в прилагаемых пунктах формулы изобретения и ни в коей мере не ограничивается настоящим описанием, носящим примерный характер. Очевидно, что специалист, не отклоняясь от принципа изобретения, может разработать похожие конструкции.

1. Холодильный аппарат, который содержит камеру (3, 4), которая образует промежуточное пространство заданной ширины и в которую укладываются охлаждаемые продукты, внешнюю стенку (1), охватывающую внешнюю поверхность указанной камеры (3, 4), соединительный элемент (5), расположенный в упомянутом промежуточном пространстве и одним своим концом соединяющийся с отверстием (31) в камере (3), и изоляционный слой (2), обволакивающий внешнюю поверхность (34) упомянутой камеры (3) и заполняющий пространство между внешней стенкой (1) и камерой, отличающийся тем, что он содержит, по меньшей мере, один фиксирующий выступ (54), который сформирован на оконечности упомянутого соединительного элемента (5) и одновременно примыкает к отверстию (31) и соприкасается с внутренней поверхностью камеры (3).

2. Холодильный аппарат по п.1, отличающийся тем, что имеется, по меньшей мере, один расширенный участок (312), сформированный в отверстии (31) и позволяющий фиксирующему выступу (54) пройти сквозь отверстие (31).

3. Холодильный аппарат по п.1, отличающийся тем, что упомянутый фиксирующий выступ (54) образует фланец посредством изгибания оконечности соединительного элемента (5).

4. Холодильный аппарат по п.2, отличающийся тем, что упомянутый расширенный участок (312) находится в конце другого участка (311) отверстия (31).

5. Холодильный аппарат по п.2, отличающийся тем, что ось укладки упомянутого отверстия (31) ориентирована горизонтально относительно плоскости днища.

6. Холодильный аппарат по п.1, отличающийся тем, что упомянутый фиксирующий выступ (54) в целях защиты от вытяжения в направлении камеры (3) на упомянутом соединительном элементе (5) располагается, по меньшей мере, одним опорным выступом (55), соприкасающимся с внешней поверхностью камеры (3).

7. Холодильный аппарат по п.6, отличающийся тем, что между фиксирующим выступом (54) и опорным выступом (55) находится, по меньшей мере, одна канавка (53), представляющая собой направляющую.

8. Холодильный аппарат по п.2, отличающийся тем, что упомянутый расширенный участок (312) имеет форму равносторонней трапеции.

9. Холодильный аппарат по п.3, отличающийся тем, что соединительный элемент (5) крепится к отверстию (31) посредством фланца, имеющего форму упомянутого отверстия (31), благодаря чему отверстие (31) закрывается полностью.

10. Холодильный аппарат по одному из предыдущих пунктов, отличающийся тем, что упомянутый соединительный элемент (5) имеет другую оконечность, которая соединяется с другим отверстием другой камеры (4).

11. Холодильный аппарат по п.2, отличающийся тем, что предусмотрен, по меньшей мере, один буртик (32), который соприкасается с упомянутым расширенным участком (312) на камере (3) и расположен под углом к плоскости стенки камеры (3).

12. Способ монтажа холодильного аппарата по п.2, отличающийся тем, что он содержит следующие технологические этапы: проталкивание оконечности упомянутого удлинения (54) крепежа через расширенный участок (312) и сдвиг упомянутого соединительного элемента (5) в направлении (А) другого участка отверстия.