Модульное соединительное устройство и способ
Иллюстрации
Показать всеМодульный инструмент для использования в подземных пластах. Инструмент включает в себя первый модуль, второй модуль и одно или несколько соединительных устройств для соединения первого и второго модулей. В частности, первый модуль включает в себя первую утяжеленную бурильную трубу, по меньшей мере, частично образующую внешнюю часть инструмента. Включает в себя первый механизм зацепления на ее первом конце трубы и второй механизм зацепления на ее втором конце. Первый модуль также включает в себя проходной канал для прохождения бурового раствора. Второй модуль имеет аналогичную конфигурацию. Одно или несколько соединительных устройств осуществляют соединение, по меньшей мере, одной линии гидросистемы. Линии гидросистемы, гидравлически соединенной с внешней частью инструмента, и электрический канал для передачи электроэнергии и/или данных между модулями. 2 н. и 11 з.п. ф-лы, 24 ил.
Реферат
ПРЕДПОСЫЛКИ ИЗОБРЕТЕНИЯ
1. Область техники изобретения
Настоящее изобретение относится к скважинным инструментам для использования в оценке подземного пласта и, конкретнее, к модульному построению компонентов в скважинном инструменте для использования в среде, возникающей во время бурения.
2. Предпосылки уровня техники
Стволы скважин бурят для разведки и добычи углеводородов. Часто необходимо выполнение различных оценок пласта, пройденного стволом скважины во время буровых работ, например, в периоды времени, когда само бурение временно остановлено. В некоторых случаях бурильную колонну можно оборудовать одним или несколькими бурильными инструментами для испытаний и/или отбора образцов окружающего пласта. В других случаях бурильную колонну можно поднимать из ствола скважины в последовательности операций под названием «рейс», и можно развернуть инструмент на каротажном кабеле в стволе скважины для испытаний и/или отбора образцов пласта. Отбор образцов или испытания, выполненные такими скважинными инструментами, можно использовать, например, для обнаружения ценных пластов, производящих углеводороды, и управления добычей углеводородов из них.
Такие бурильные инструменты и инструменты на каротажном кабеле, а также другие скважинные инструменты, спускаемые в скважину на гибкой насосно-компрессорной трубе, бурильной трубе, обсадной колонне или других устройствах спуска, в данном описании также именуют просто «скважинными инструментами». Такие скважинные инструменты могут сами включать в себя множество интегрированных модулей - каждый для выполнения отдельной функции, и скважинный инструмент можно использовать автономно или в комбинации с другими скважинными инструментами в колонне скважинного инструмента.
Конкретнее, оценка пласта часто требует отбора текучей среды из пласта в скважинный инструмент (или его модуль) для испытаний на площадке и/или отбора образцов или проб. Различные устройства, такие как зонды и/или пакеры выдвигаются из скважинного инструмента для изоляции зоны стенки ствола скважины и установления, при этом, гидравлической связи с пластом, окружающим ствол скважины. Текучую среду можно затем отбирать в скважинный инструмент с использованием зонда и/или пакера.
Отбор таких проб пластовой текучей среды во время бурения идеально выполняет интегрированный инструмент отбора проб под давлением, содержащий несколько модулей - каждый для выполнения различных функций, таких как электропитание, подача рабочей жидкости гидросистемы, отбор проб текучей среды (например, зонд или двойной пакер), анализ текучей среды и хранение пробы (например, емкости). Такие модули показаны, например, в патентах США №№ 4860581 и 4936139. Соответственно, скважинная текучая среда, такая как пластовая текучая среда, обычно отбирается в скважинный инструмент для испытаний и/или отбора проб. Такой и другие виды скважинных текучих сред (кроме бурового раствора, закачиваемого через бурильную колонну) именуются далее в данном документе «вспомогательная текучая среда». Данная вспомогательная текучая среда может являться отобранной в виде проб пластовой текучей средой или специализированными текучими средами (например, текучими средами капремонта скважин) для закачки в пласт геологической среды. Вспомогательную текучую среду обычно используют в скважинных работах, не относящихся непосредственно к смазке бурового долота и/или переносу бурового шлама на поверхность. Данную вспомогательную текучую среду можно перемещать между модулем интегрированного инструмента, такого как инструмент отбора проб, и/или между инструментами, соединенными между собой в колонне инструмента. Кроме того, между модулями таких инструментов могут также передаваться электроэнергия и/или электронные сигналы (например, для передачи данных). Проблема состоит в поддержании работоспособным инструмента на отрезке его длины (например, 30 футов (9м)) с выполнением необходимого пропуска текучей среды и передачи электроэнергии между модулями инструмента.
Дополнительно должно быть ясно, что другие варианты применения должны требовать гидравлического сообщения и передачи электрических сигналов последовательно установленными модулями или инструментами колонн скважинного инструмента, как в работе на каротажном кабеле, так и в работе «во время бурения». Работы «во время бурения» обычно относятся к части работ измерений во время бурения и/или каротажа во время бурения, в которых требуется электрическая связь (для передачи и электропитания и сигналов) по соединенным инструментам или интегрированным модулям инструмента. Различные устройства разработаны для выполнения такой связи во время буровых работ, такие как устройства, описанные в патентах США №№ 5242020, выдан Cobern; 5803186 выдан Berger et al.; 6026915, выдан Smith et al.; 6047239 выдан Berger et al.; 6157893 выдан Berger et al.; 6179066, выдан Nasr et al.; и 6230557 выдан Ciglenec et al. В данных патентах описаны различные скважинные инструменты и способы сбора данных и, в некоторых случаях, проб текучей среды из пласта геологической среды.
Несмотря на усовершенствование возможностей отбора проб и испытаний в скважинных инструментах, существующие системы, особенно работающие «во время бурения» системы, являются часто ограниченными решениями по передаче электрических сигналов по инструментам или модулям инструмента. Конкретные решения включают в себя различные кольцевые соединительные устройства в замках соединенных трубных элементов, таких как «кабелированная бурильная труба» (WDP), как описано в патенте США № 6641434, переуступленном Schlumberger среди прочих. Неизвестно использование указанных соединительных устройств на практике для передачи электрических сигналов между соединенными трубными элементами.
Соединительные устройства также созданы для пропуска текучей среды через скважинные инструменты на каротажном кабеле. Примеры таких соединительных устройств показаны в патенте США № 5577925, переуступленном Halliburton и заявке на патент США № 10721026. Вместе с тем, не описано соединительных устройств для соединения вспомогательных линий гидросистемы, проходящих через соединенные скважинные трубные инструменты и заканчивающихся на их противоположных концах, или для осуществления соединения между соединенными компонентами. Более того, известные соединительные устройства или системы соединительных устройств не направлены на решение дополнительных проблем бурильных инструментов, включающих в себя утяжеленную бурильную трубу, буровой раствор, пространственные ограничения и проблемы тяжелых условий работы.
Поэтому существует необходимость создания соединительного устройства, приспособленного для перемещения вспомогательной текучей среды и/или передачи электрических сигналов между модулями инструмента и/или инструментами в колонне скважинного инструмента. Необходимо, чтобы такое соединительное устройство выполняло функцию регулировки по длине для компенсации изменения расстояния, разделяющего модули/инструменты, подлежащие соединению. Дополнительно необходимо, чтобы такое соединительное устройство выполняло функции автоматической отсечки потока вспомогательной текучей среды через него при отсоединении соединенных модулей/инструментов. Дополнительно необходимо, чтобы компоненты, соединяющиеся с соединительным устройством, являлись модульными и приспособляющимися для использования в различных средах и условиях.
ОПРЕДЕЛЕНИЯ
Некоторые термины определены в данном описании при их первом использовании, а некоторые другие, использованные в данном описании, определены ниже.
«Вспомогательная текучая среда» означает скважинную текучую среду (иную, чем буровой раствор, закачиваемый через бурильную колонну), такую как пластовая текучая среда, обычно отбирающаяся в скважинный инструмент для исследования и/или отбора пробы, или специализированные текучие среды (например, текучие среды капитального ремонта скважины) для закачки в пласт геологической среды. Вспомогательные текучие среды могут также включать в себя рабочие жидкости гидросистем, применяемые, например, для приведения в действие компонента инструмента, такого как гидравлический двигатель, поршень или блок вытеснения. Вспомогательные текучие среды могут дополнительно содержать текучие среды, используемые для теплового управления режимом в компоновке низа бурильной колонны, такие как охлаждающая текучая среда. Вспомогательная текучая среда обычно имеет применение в работе в скважине, иное, чем охлаждение бурового долота и/или вынос на поверхность бурового шлама.
«Компонент (компоненты)» означает один или несколько скважинных инструментов или один модуль (или несколько модулей) скважинных инструментов, когда такие инструменты или модули используют в колонне скважинных инструментов.
«Электрический» и «электрически» относится к соединению (соединениям) и/или линии (линиям) передачи электронных сигналов.
«Электронные сигналы» означают сигналы, способные передавать электрическую энергию и/или данные (например, данные в двоичной форме).
«Модуль» означает секцию скважинного инструмента, конкретно многофункционального или интегрированного скважинного инструмента, имеющего два или более соединененных вместе модулей, для выполнения отдельной или дискретной функции.
«Модульный» означает приспособленный к взаимному соединению модулей и/или инструментов и, возможно, сконструированный со стандартизованными блоками или размерами для гибкости и разнообразия в использовании.
СУЩНОСТЬ ИЗОБРЕТЕНИЯ
Согласно одному аспекту изобретения создан модульный инструмент для использования в подземных пластах, включающий в себя первый модуль, второй модуль и одно или несколько соединительных устройств для соединения первого и второго модулей. Первый модуль включает в себя первую утяжеленную бурильную трубу, по меньшей мере, частично образующую внешнюю часть инструмента и включающую в себя первый механизм зацепления на ее первом конце, второй механизм зацепления на ее втором конце и проходной канал для проходного бурового раствора. Второй модуль включает в себя вторую утяжеленную бурильную трубу, по меньшей мере, частично образующую внешнюю часть инструмента и включающую в себя первый механизм зацепления на ее первом конце для соединения со вторым концом первой утяжеленной бурильной трубы, второй механизм зацепления на ее втором конце и проходной канал, проходящий по длине модуля для прохождения бурового раствора. Одно или несколько соединительных устройств создают соединение линии вспомогательной текучей среды и проводное соединение для передачи энергии и/или данных между модулями.
Согласно другому аспекту изобретения создана система бурения ствола скважины. Система включает в себя бурильную колонну для подачи бурового раствора с поверхности, пластоиспытательный инструмент, имеющий первый конец, функционально соединенный с бурильной колонной, буровое долото, функционально соединенное со вторым концом инструмента и принимающее буровой раствор из бурильной колонны через пластоиспытательный инструмент. Пластоиспытательный инструмент включает в себя множество модулей, каждый из которых включает себя, по меньшей мере, одну линию гидросистемы и проходной канал бурового раствора. Первый из множества модулей является функционально соединяющимся с первым концом или вторым концом второго из множества модулей, обеспечивая при этом перемещение текучей среды в линии гидросистемы и проходном канале бурового раствора между первым и вторым модулями.
Согласно другому аспекту изобретения создан способ сборки скважинного инструмента на рабочей площадке. Способ включает в себя создание первого модуля и второго модуля - каждого с утяжеленной бурильной трубой, по меньшей мере, частично образующей внешнюю часть инструмента, и соединение линии гидросистемы первого модуля с линией гидросистемы второго модуля, при этом линии гидросистемы гидравлически соединяются с внешней частью инструмента. Утяжеленная бурильная труба первого модуля включает в себя первый резьбовой участок на ее первом конце и второй резьбовой участок на ее втором конце и проходной канал, проходящий по длине модуля, для прохождения бурового раствора. Утяжеленная бурильная труба второго модуля включает в себя первый резьбовой участок на ее первом конце и второй резьбовой участок на ее втором конце, и проходной канал, проходящий по длине модуля, для прохождения бурового раствора,
Согласно другому аспекту изобретения создан способ перекомпоновки множества модулей для инструмента, работающего во время бурения, для получения множества инструментов. Способ включает в себя создание множества модулей, при этом каждый модуль включает в себя, по меньшей мере, одну линию гидросистемы и проходной канал бурового раствора, соединение множества модулей в первой конфигурации для получения первого скважинного инструмента и соединение множества модулей во второй конфигурации для получения второго скважинного инструмента.
КРАТКОЕ ОПИСАНИЕ ЧЕРТЕЖЕЙ
Для лучшего понимания указанных выше признаков и преимуществ настоящего изобретения представлено более конкретное описание изобретения со ссылками на его варианты осуществления, показанные на прилагаемых чертежах. Следует отметить, вместе с тем, что прилагаемые чертежи иллюстрируют только типичные варианты осуществления данного изобретения и не должны рассматриваться, как ограничивающие его объем, поскольку изобретение может допускать другие равно эффективные варианты осуществления.
На фиг.1 показан схематичный вид с частичным разрезом обычной бурильной колонны, проходящей от буровой установки в ствол скважины и имеющей компоновку пластоиспытателя, включающую в себя множество модулей, соединенных соединительными устройствами между собой.
На фиг.2A показано схематичное сечение участка бурильной колонны фиг.1 с иллюстрацией компоновки пластоиспытателя и нескольких соединенных между собой модулей более детально.
На фиг.2B показан более детальный схематичный вид, частично в сечении, варианта модуля зонда фиг.2A.
На фиг.2C показан схематичный вид с частичным сечением, варианта модуля откачки для использования в бурильной колонне.
На фиг.2D показан схематичный вид с частичным сечением, варианта модуля скважинного анализатора текучей среды для использования в бурильной колонне.
На фиг.3A показан схематичный вид бурильной колонны в первой конфигурации, использующей два или больше модулей фиг.2A-2D.
На фиг.3B показан схематичный вид бурильной колонны второй конфигурации, использующей два или больше модулей фиг.2A-2D.
На фиг.3C показан схематичный вид бурильной колонны третьей конфигурации, использующей два или больше модулей фиг.2A-2D.
На фиг.3D показана блок-схема последовательности операций работы модульного инструмента.
На фиг.4A показано схематичное сечение, представляющее два компонента колонны скважинного инструмента, соединенные родовым модульным соединительным устройством.
На фиг.4B показан схематичный вид сечения двух компонентов колонны скважинного инструмента, соединенных соединительным устройством, с центральным трубопроводом текучей среды, расположенным по оси, и центральным радиально расположенным электропроводным каналом.
На фиг.5 показан схематичный вид сечения двух компонентов колонны скважинного инструмента, соединенных соединительным устройством, с расположенным вдоль оси кольцевым напорным трубопроводом текучей среды и центральным, радиально расположенным электропроводным каналом.
На фиг.6 показан схематичный вид сечения двух скважинных компонентов, соединенных соединительным устройством, аналогичным соединительному устройству фиг.5, со стыковочным устройством между соединительным устройством и соединенными компонентами, показанными более детально.
На фиг.7 показан схематичный вид сечения двух компонентов колонны скважинного инструмента, соединенных соединительным устройством, имеющим блок регулировки длины соединительного устройства.
На фиг.8 показан схематичный вид сечения двух компонентов колонны скважинного инструмента, соединенных соединительным устройством, оборудованным альтернативной компоновкой регулировки длины соединительного устройства.
На фиг.9 показан схематичный вид сечения двух компонентов колонны скважинного инструмента, соединенных соединительным устройством, с внутренним радиально симметричным напорным трубопроводом текучей среды, и центральным, радиально расположенным электропроводным каналом.
На фиг.10 показан схематичный вид сечения двух компонентов колонны скважинного инструмента, соединенных соединительным устройством, с центральным, расположенным вдоль оси напорным трубопроводом текучей среды, и нецентральным, расположенным вдоль оси электропроводным каналом.
На фиг.11A-B схематично показаны виды сечения участка системы кабелированных бурильных труб, использованной для создания расположенного вдоль оси электропроводного канала соединительного устройства фиг.10.
На фиг.12 показан схематичный вид сечения двух компонентов колонны скважинного инструмента, соединенных соединительным устройством с внешним, радиально симметричным напорным трубопроводом текучей среды, и центральным, радиально расположенным электропроводным каналом.
На фиг.13 показан схематичный вид сечения двух компонентов колонны скважинного инструмента, соединенных соединительным устройством, с нецентральным напорным трубопроводом текучей среды, расположенным вдоль оси, и электропроводным каналом, расположенным вдоль оси.
На фиг.14A-B схематично показан вид сечения соединительного устройства с клапанами автоматической отсечки линий трубопроводов, соединенных вместе компонентов при отсоединении первого и второго трубчатых элементов компоновки корпуса соединительного устройства.
На фиг.15 показан схематичный вид сечения двух компонентов колонны скважинного инструмента, соединенных соединительным устройством, с множеством электрических соединений с концентрически расположенных кольцами и гидравлическим соединением.
ПОДРОБНОЕ ОПИСАНИЕ ИЗОБРЕТЕНИЯ
Согласно настоящему изобретению создано соединительное устройство и модульная система, обеспечивающая проход текучей среды и передачу электрических сигналов между соседними инструментами или модулями при проведении стандартных буровых работ. Таким образом, например, при использовании настоящего изобретения два инструмента каротажа во время бурения или инструмента на каротажном кабеле или модуля можно соединять с осуществлением гидравлической и электрической связи между ними. Соединительное устройство приспособлено для установки в любом месте на колонне скважинного инструмента, где такая связь необходима.
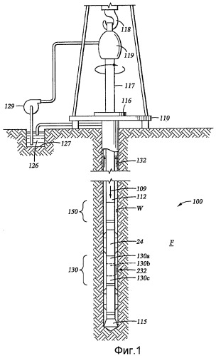
На фиг.1 показана обычная буровая установка и бурильная колонна, в которых можно предпочтительно использовать настоящее изобретение. Наземная установка 110 с платформой 110 и вышечным блоком установлены над стволом W скважины, проходящей пласт F геологической среды. В показанном варианте осуществления ствол W скважины выполнен роторным бурением общеизвестным способом. Специалисту в данной области техники, воспользовавшемуся изобретением, должно быть ясно, вместе с тем, что настоящее изобретение найдет применение в наклонно-направленном бурении, также как в роторном бурении, в вариантах с применением каротажа во время бурения и измерений во время бурения и не ограничено наземными буровыми установками.
Бурильная колонна 112 подвешена в стволе W скважины и включает в себя буровое долото 115 на нижнем конце. Бурильную колонну 112 вращает буровой ротор 116, привод которого не показан, находящийся в контакте с ведущей бурильной трубой 117 на верхнем конце бурильной колонны. Бурильная колонна 112 подвешена на крюке 118, прикрепленном к талевому блоку (также не показано), посредством ведущей бурильной трубы 117 и вертлюга 119, дающего бурильной колонне возможность вращения относительно крюка.
Буровой раствор 126 хранится в емкости 127, выполненной на буровой площадке. Насос 129 подает буровой раствор 126 во внутренний канал бурильной колонны 112 через отверстие в вертлюге 119, заставляя его проходить вниз через бурильную колонну 112, как указано направлением стрелки 109. Буровой раствор 126 выходит из бурильной колонны 112 через отверстия в буровом долоте 115, и затем циркулирует вверх через кольцевое пространство между внешней поверхностью бурильной колонны и стенкой ствола скважины, как указано стрелками 132. В таком способе буровой раствор смазывает буровое долото 115 и уносит выбуренную породу на поверхность с возвращением в емкость 127 для повторного использования.
Бурильная колонна 112 дополнительно включает в себя компоновку 100 низа бурильной колонны (КНБК) вблизи бурового долота 115 (другими словами, на расстоянии отрезков длины нескольких утяжеленных бурильных труб от бурового долота). КНБК 100 имеет способность измерения, обработки и сохранения информации, а также осуществления связи с поверхностью. КНБК 100 дополнительно включает в себя спускаемые на утяжеленных бурильных трубах инструменты, центраторы с жесткими лопастями и т.д. для выполнения различных других функций измерения, и компоновочный узел 150 связи с поверхностью /локальной связью для выполнения функций телеметрии.
Бурильная колонна 112 дополнительно оборудована в варианте осуществления фиг.1 утяжеленной бурильной трубой 130 с размещенным в ней пластоиспытательным инструментом с различными соединенными модулями 130a, 130b и 130c, например, для выполнения различных соответствующих функций, таких как подача электроэнергии или гидравлической мощности, регулирование расхода, отбор проб текучей среды, анализ текучей среды и сохранение проб текучей среды. Дополнительные модули и конфигурации КНБК должны быть рассмотрены при описании фиг.2A-3C. Модуль 130b является модулем зонда, с зондом 232 для контакта со стенкой ствола W скважины и извлечения проб текучей среды из пласта F, способом, в общем, известным специалистам в данной области техники. Другие модули (например, модуль 130c) оборудованы камерами исследования PVT (давление/объем/температура), (также известными как емкости или цилиндры) для сохранения «чистых» проб текучей среды с передачей данных через модуль 130b зонда.
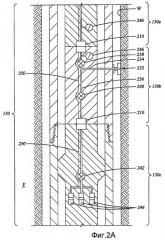
На фиг.2A показана компоновка пластоиспытателя 130 фиг.1, более детально, конкретно - модуль 130b зонда и модуль 130с сохранения пробы. Модуль 130b зонда оборудован блоком 232 зонда для контакта со стенкой ствола W скважины и отбора текучей среды из пласта F в центральную линию 236 гидросистемы через линию 234 зонда. Клапанами 238, 240 и 242 (среди других) манипулируют для гидравлического соединения зонда 232 с модулем регулирования расхода (не показано) для отбора пластовой текучей среды в линию 236 гидросистемы и прокачки отобранной пробы текучей среды к надлежащим модулям в пластоиспытателе 130 для анализа, выпуска в кольцевое пространство ствола скважины или сохранения и т.д. Модуль 130c зонда оборудован одной или несколькими камерами 244 сохранения проб для приема проб текучей среды и сохранения их качеств PVT (давление/объем/температура) для последующего анализа на поверхности.
Соединительные устройства 210 используют для прохождения отобранной пробы текучей среды между примыкающими модулями, которые фактически могут не упираться друг в друга, как показано на фиг.2 и описано дополнительно ниже, и передачи электрических сигналов по электрической линии 250, также проходящей через модуль для передачи электроэнергии и, возможно, данных, между различными модулями 130a,130b,130c пластоиспытателя 130. Вместе с тем, как описано ниже, в зависимости от модулей, использованных в КНБК, соединительные устройства 210 и все другие соединительные устройства, описанные в данном документе, могут связывать одну или несколько гидравлических линий и/или одну или несколько трубопроводов текучей среды. Кроме того, один или несколько манометров 246 можно использовать во взаимодействии с одним или несколькими пробоотборными зондами (только один зонд 232 показан) для осуществления отбора проб текучей среды и измерения давления, а также определение градиента давления и других операций исследования коллектора. Кроме того, целостность соединительных устройств 210 можно удостоверять подходящим использованием датчиков, таких как манометры 246. Соответственно, соединительные устройства являются адаптируемыми к многочисленным конфигурациям и вариантам применения и, дополнительно к этому, не ограничены применением в пластоиспытательных инструментах, как должно быть ясно специалисту в данной области техники, воспользовавшемуся данным изобретением.
На фиг.2B показан модуль зонда фиг.2A более детально. Например, в дополнение к различным частям или блокам, описанным выше, модуль 130b зонда может включать в себя электронный блок 151 и настроечный или опорный поршень 150 для крепления КНБК 100 в стволе W скважины. Блок 151 электронного оборудования соединен с электрической линией 250 для передачи данных и/или электроэнергии между ними. Кроме того, блок 151 электронного оборудования может быть соединен с одним или несколькими датчиками (такими как манометры 246), расположенными в модуле 130b и вокруг него, для сбора и передачи соответствующей информации. Вместе с тем, другие датчики давления и/или другие датчики (не показано) могут располагаться в зонде 232, линии 236 гидросистемы, в установочном поршне 150 и т.д. Электронный блок может дополнительно функционально соединяться с клапанами, такими как клапаны 238 и 240 варианта, показанного на фиг.2B.
Установочный поршень 150 может работать во взаимодействии с зондом 232 для крепления КНБК 100. Установочный поршень 150 может соединяться гидравлической линией 152 с гидравлической линией 154. Гидравлическая линия 154 может соединяться с насосом 156, подающим достаточную мощность для выдвижения установочного поршня 150 и зонда 232. Конкретнее, насос 156 может также соединяться с гидравлической линией 158 через гидравлическую линию 154 для обеспечения выдвижения зонда 232 с упором в стенку ствола скважины. Альтернативно, установочный поршень 150 может выдвигаться или приводиться в действие с использованием не гидравлического средства, такого например, как электромагнитное.
В альтернативном варианте осуществления мощность, необходимую для работы зонда 232 и/или установочного поршня 150, может создавать насос или блок вытеснения, размещенный в КНБК. Например, мощность может подавать гидравлический модуль 130h, как показано на фиг.3A и 3B. Гидравлический модуль 130h может включать в себя насос (не показан) для создания необходимой гидравлической мощности. Таким образом, одна или несколько гидравлических линий 160 могут проходить через модуль 130b для приведения в действие блоков в модуле 130b, или для приведения в действие других блоков в других модулях компоновки пластоиспытателя 130. Например, гидравлическая линия 162 может соединяться с линией 160 к зонду 232 и установочному поршню 150 через линию 154. Следует заметить, что для краткости и ясности заявки, гидравлические линии, две или больше, представлены в данном описании и чертежах одной линией. Например, линии 156 и 158, проходящие между насосом 156 и зондом 232, могут фактически являться двумя гидравлическими линиями, при этом, например, одна линия подводит мощность или создает давление, а другая является обратной линией.
В дополнение к частям или блокам, упомянутым в описании фиг.2A, модуль 130b зонда может также включать в себя поршень 163 предварительного исследования, гидравлически соединенный с зондом 232 и, в данном варианте осуществления, гидравлически соединенный посредством линий 236 и 234 гидросистемы. Поршень 163 можно приводить в действие роликовым ходовым винтом с двигателем или другим известным средством. Мощность для работы модуля 130b зонда может создавать источник мощности внутри модуля 130b, но может быть подана другим модулем 130, например, через одно или несколько соединительных устройств 210. Как понятно специалисту в данной области техники, поршень 163 предварительного исследования можно использовать для получения параметров пласта, таких, например как пластовое давление. Дополнительно к этому, модуль 130b зонда может включать в себя вторую линию 164 гидросистемы, соединенную с зондом 232. Вторая линия 164 гидросистемы, хотя не показана на фигурах, может быть гидравлически соединена, избирательно, или иначе, с частями или блоками, с которыми соединена линия 236 гидросистемы. Альтернативно, вторая линия 164 гидросистемы может быть гидравлически соединена со своими собственными частями или блоками для выполнения одинаковых или аналогичных функций с функциями частей или блоков, которые гидравлически соединены с линией 236 гидросистемы. Соответственно, модуль 130b зонда, соединительные устройства и инструмент, в целом, должны включать в себя инфраструктуру для поддержки, по меньшей мере, двух линий гидросистемы для отбора проб и, таким образом, два входных отверстия или подстрахованный отбор проб. Например, два входных отверстия могут быть устроены и приспособлены для обеспечения отбора проб загрязненной текучей среды через первую линию 236 гидросистемы и отбора проб чистой или незагрязненной пластовой текучей среды через вторую линию 164 гидросистемы. Линии 164 и 236 гидросистемы можно использовать вместе для создания других признаков или преимуществ. Конкретнее, линии 164 и 236 гидросистемы можно использовать как для прохода загрязненной текучей среды, так и переключения, например, для транспортировки бурового раствора.
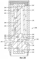
На фиг.2C показан модуль 130d откачки, применимый с одним или несколькими другими модулями 130a-i. Модуль откачки включает в себя насос 166, имеющий поршневой блок 168 подачи и исполнительный механизм 170, такой как линейный двигатель или гидравлический двигатель, например. Насос 166 гидравлически соединен с зондом 232 и создает необходимое давление и расход для отбора проб пластовой текучей среды и транспортировки различных текучих сред через различные модули инструмента. Насос 166 может дополнительно включать в себя клапанную систему 172, расположенную между поршневым блоком 168 подачи и линией 236 гидросистемы для регулирования потока текучей среды, входящей в поршневой блок 168 подачи и выходящей из него. Клапанами 174, 176 и 178 (среди прочего) управляют для гидравлического соединения насоса 166 с зондом 232 и различными другими модулями для регулирования потока текучей среды и перекачки отобранных проб текучей среды в подходящие модули в пластоиспытателе 130 для анализа, выпуска в кольцевое пространство ствола скважины или сохранения и т.д. Например, клапан 178 расположен между линией 236 гидросистемы и выходным отверстием 180, обеспечивающим выход текучей среды в линии 236 гидросистемы в ствол W скважины.
Как показано на фиг.2B и 2C, также в данном документе предположено, что один или несколько компонентов инструмента, проссмотренного в данном докумете, гидравлически соединены или имеют гидравлическую связь с внутренней частью инструмента, такой как внутреннее кольцевое пространство или проходной канал 179 потока. Внутреннее кольцевое пространство или проходной канал 179 потока создает напорный трубопровод для бурового раствора 126 при его прохождении из бурильной колонны 112 к буровому долоту 115. Например, как показано на фиг.2B, модуль 130b зонда может включать в себя линию 181 гидросистемы, проходящую от линии 236 гидросистемы через один или несколько клапанов в кольцевое пространство 179. В данной конфигурации линию 181 гидросистемы можно использовать для демпфирования, сброса или выхода текучей среды из линии 236 гидросистемы в проходящий вниз поток бурового промывочного раствора 126. Аналогично, как показано на фиг.2C, модуль 130d откачки может включать в себя линию 183 гидросистемы, проходящую от клапана 178 в кольцевое пространство 179. Одна или несколько линий гидросистемы в кольцевое пространство, как расположенные в модулях 130b, 130d или любом другом модуле 130, не имеют ограничений по функциональному назначению и размещению, как описано выше, но могут соединять различные другие компоненты/ линии гидросистемы с внутренним кольцевым пространством или каналом 179 потока. Например, не в качестве ограничения, хотя не показано, одна или несколько камер 244 сохранения проб фиг.2A и поршень 163 предварительного испытания фиг.2B, могут соединяться с внутренним кольцевым пространством или каналом 179 потока.
Блок 182 электронного оборудования соединен с электрической линией 250 для передачи данных и/или электроснабжения. Кроме того, блок 182 электронного оборудования может быть соединен с одним или несколькими датчиками (не показано), расположенными в модуле 130d и вокруг него для сбора и передачи данных. Например, датчики положения, датчики расхода и/или датчики давления могут располагаться вблизи насоса 166 для определения параметров подачи. Блок 182 электронного оборудования может дополнительно функционально соединяться с клапанами 174, 176 и/или 178. Блок электронного оборудования предпочтительно функционально соединен с насосом 166 (например, с двигателем 170) для управления операциями отбора проб. Если необходимо, блок электронного оборудования создает управление по замкнутому циклу насоса 166.
Дополнительно к этому, модуль 130d откачки может включать в себя вторую линию 164 гидросистемы, которая может гидравлически соединяться, избирательно или иначе, с частями, с которыми соединена линия 236 гидросистемы. Альтернативно, вторая линия 164 гидросистемы может гидравлически соединяться со своими собственными частями или блоками для выполнения одинаковых или аналогичных функций с частями и блоками, гидравлически соединеными с линией 236 гидросистемы. Модуль 130d откачки может дополнительно включать в себя гидравлическую линию 160, которую можно просто запитать через модуль 130d откачки и/или можно использовать, например, для привода насоса 166.
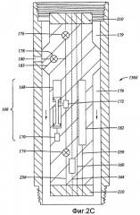
На фиг.2D показан модуль 130e скважинного анализатора текучей среды, применимого с другими модулями 130a-L. Модуль 130e скважинного анализатора текучей среды включает в себя один или несколько датчиков 184 текучей среды для определения различных параметров текучей среды. Например, модуль 130e скважинного анализатора текучей среды может включать в себя, без ограничения этим, датчик 184a давления, оптический датчик 184b, датчик 184c вязкости, датчик 184d плотности, датчик 184e удельного сопротивления и датчик 184f H2O. Датчики 184 гидравлически соединены с линией 236 гидросистемы и могут быть связаны с электронным блоком 186 для сбора и передачи соответствующей информации. Электронный блок 186 также связан с электрической линией 250 для передачи данных и/или электропитания между другими модулями компоновки 130 испытательного инструмента. Дополнительно модуль 130e скважинного анализатора текучей среды может включать в себя вторую линию 164 гидросистемы, которая может быть гидравлически соединена, избирательно или иначе, с частями или блоками, с которыми соединена линия 236 гидросистемы. Альтернативно, вторая линия 164 гидросистемы может быть гидравлически соединена со своими собственными частями или блоками для выполнения функций, аналогичных функциям частей или блоков, гидравлически соединенных с линией 236 гидросистемы. Модуль 130e скважинного анализатора текучей среды может дополнительно включать в себя гидравлическую линию 160, которая может просто питаться через модуль 130e скважинного анализатора текучей среды.
На фиг.3A-3C показано несколько из многих возможных конфигураций, которые получают объединением одного или нескольких модулей 130a-i. Кроме того, на фиг.3A-3C показаны дополнительные модули 130, такие как модуль 130i управления, модуль 130f электропитания и гидравлический модуль 130h. Конкретнее, модуль 130i управления может включать в себя одно или несколько запоминающих устройств для сохранения информации и данных, один или несколько контроллеров, выполненных с возможностью управления другими модулями испытательного инструмента и анализом данных и осуществления связи с оператором на поверхности (не показано). Модуль 130f электропитания может осуществлять электроснабжение для испытательного инстру
 
                         
                            


