Покрытый смазкой тампон, имеющий переворачиваемые клапаны для облегченного введения и удаления

Иллюстрации

Показать все

Изобретение относится к менструальным тампонам для интервагинального применения. Тампон (1) включает в себя абсорбирующее тело (2), заключенное в проницаемое для жидкостей покрытие (3). Тампон имеет конец (4) для введения и конец (5) для извлечения и дополнительно включает в себя, по меньшей мере, одну извлекающую нить (6). Покрытие включает в себя множество первых переворачиваемых клапанов (10) и/или множество вторых переворачиваемых клапанов (20). Каждый первый переворачиваемый клапан (10) образован участком покрытия (3) и выполнен с возможностью перемещения между первым исходным положением и первым перевернутым положением в процессе извлечения тампона из влагалища пользователя. Каждый второй переворачиваемый клапан (20) образован участком покрытия (3) и выполнен с возможностью перемещения между вторым исходным положением и вторым перевернутым положением в процессе введения тампона во влагалище пользователя. Технический результат заключается в облегчении введения и извлечения менструального тампона из полости тела пользователя. 21 з.п. ф-лы, 21 ил.

Реферат

ОБЛАСТЬ ТЕХНИКИ

Изобретение относится к тампону, включающему в себя удлиненное абсорбирующее тело, по меньшей мере, частично заключенное в проницаемое для жидкостей покрытие, при этом тампон имеет конец для введения и конец для извлечения и дополнительно включает в себя, по меньшей мере, одну извлекающую нить, тянущуюся от выводного конца.

УРОВЕНЬ ТЕХНИКИ

Известно, что менструальные тампоны для интравагинального применения применяются в течение очень долгого времени. Поскольку тампоны носят внутри, считается, что они должны быть дискретными и главным образом очень удобными для ношения, с отсутствием окклюзионных пластиковых прокладок внешних защитных устройств, таких как гигиенические салфетки. Однако в дни легких менструаций или при замене тампона после короткого периода использования, удаление тампона может стать причиной серьезного дискомфорта или даже боли. Это происходит по причине того, что тампон поглощает менструальные выделения, также как и влагу со слизистых оболочек на стенке влагалища. Когда тампон удаляют, он имеет тенденцию прилипать к стенке влагалища, вызывая повышенное трение и затрудняя его извлечение. Более того, высушенные слизистые оболочки делают почти невозможным или, по меньшей мере, очень трудным и неудобным введение нового тампона для замены тампона, который был удален.

Проблемы, испытываемые при замене тампонов, которые не были использованы до их полной емкости, приводят к тому, что пользователи носят тампоны на протяжении более долгих периодов времени, чем рекомендованные. Это крайне нежелательно по причине того, что это повышает риск бактериальных инфекций.

Для того чтобы облегчить удаление использованного тампона, было предложено обрабатывать поверхность тампона смазывающими средствами, уменьшая трение между тампоном и влагалищной стенкой. Однако подобная обработка страдает от нескольких недостатков. Например, смазывающие средства, предоставленные на поверхности тампона, могут легко попадать на и/или в упаковку, заключающую в себе тампон, перед использованием. Кроме того, использование смазывающих средств на поверхности тампона усложняет производственный процесс и возлагает особые требования на обращение и упаковку тампонов.

Кроме того, для того чтобы облегчить удаление использованного тампона, было также предложено снабдить тампон вспомогательным средством для извлечения. Например, US 2005/0143708 раскрывает тампон, включающий в себя вспомогательное средство для извлечения, которое прикреплено и тянется от конца для введения тампона. Вспомогательное средство для извлечения находится в первом положении перед использованием тампона и в состоянии введения тампона. В первом положении, вспомогательное средство для извлечения закрывает, по меньшей мере, части длины абсорбирующего тела и выступает в качестве разделительного средства, создавая промежуток между слизистыми оболочками на стенке влагалища пользователя и абсорбирующим телом. Однако когда тампон вынимают после использования, вспомогательное средство для извлечения переместится из первого положения во второе положение, в котором оно выступает далеко от абсорбирующего тела. Вспомогательное средство для извлечения переместится из первого положения во второе положение за счет отворачивания или отхождения от абсорбирующего тела. Посредством этого облегчается удаление тампона и уменьшается раздражение и натирание слизистых оболочек.

Однако способ изготовления тампона с вспомогательным средством для извлечения, раскрытый в US 2005/0143708, является относительно сложным. В дополнение, в процессе извлечения тампона, раскрытого в US 2005/0143708, из влагалища, пользователь может ощущать, что тампон является относительно длинным благодаря перевернутому вспомогательному средству для извлечения, выступающему далеко от абсорбирующего тела.

Таким образом, все еще существует потребность в усовершенствованном влагалищном тампоне, извлечение которого из влагалища облегчено даже всего лишь при частичном насыщении менструальной жидкостью и/или введение которого во влагалище облегчается и который не имеет упомянутых выше недостатков.

СУЩНОСТЬ ИЗОБРЕТЕНИЯ

Соответственно, одна задача настоящего изобретения состоит в том, чтобы предоставить усовершенствованный тампон, причем данный тампон включает в себя удлиненное абсорбирующее тело, по меньшей мере, частично заключенное в проницаемое для жидкостей покрытие, причем данный тампон имеет конец для введения и конец для извлечения и дополнительно включает в себя, по меньшей мере, одну извлекающую нить, тянущуюся от указанного конца для извлечения.

Данная задача решается благодаря тому, что:

- указанное проницаемое для жидкостей покрытие включает в себя множество первых переворачиваемых клапанов и/или множество вторых переворачиваемых клапанов,

- указанный первый переворачиваемый клапан образован участком указанного покрытия и включает в себя первую внутреннюю поверхность и противоположную первую наружную поверхность, в соответствии с чем указанный первый переворачиваемый клапан частично отделен от остальной части указанного покрытия посредством первой системы прорезей, предоставленной в указанном покрытии и соединен с остальной частью указанного покрытия через первую линию сгиба, в соответствии с чем указанный первый переворачиваемый клапан ограничен указанной первой линией сгиба и указанной первой системой прорезей, при этом указанная первая линия сгиба тянется по линии между первой начальной точкой и первой конечной точкой, причем указанная первая система прорезей включает в себя, по меньшей мере, одну прорезь и тянется вдоль первого изгиба, начинаясь из указанной первой начальной точки и заканчиваясь в указанной первой конечной точке, при этом указанный первый изгиб выдается от указанной первой линии сгиба в направлении указанного конца для извлечения, в соответствии с чем указанная первая система прорезей и указанная первая линия сгиба предоставлены таким образом, что указанный первый переворачиваемый клапан выполнен с возможностью перемещения между первым исходным положением и первым перевернутым положением в процессе извлечения указанного тампона из влагалища пользователя для того, чтобы способствовать указанному извлечению, в соответствии с чем указанный первый переворачиваемый клапан выполнен с возможностью перемещения между указанным первым исходным положением и указанным первым перевернутым положением посредством его складывания вокруг указанной первой линии сгиба, в соответствии с чем указанный первый переворачиваемый клапан находится в указанном первом исходном положении перед использованием указанного тампона, в соответствии с чем указанная первая внутренняя поверхность обращена к указанному абсорбирующему телу в указанном первом исходном положении и обращена от указанного абсорбирующего тела в указанном первом перевернутом положении,

- указанный второй переворачиваемый клапан образован участком указанного покрытия и включает в себя вторую внутреннюю поверхность и противоположную вторую наружную поверхность, в соответствии с чем указанный второй переворачиваемый клапан частично отделен от остальной части указанного покрытия второй системой прорезей, предоставленной в указанном покрытии, и соединен с остальной частью указанного покрытия через вторую линию сгиба, в соответствии с чем указанный второй переворачиваемый клапан ограничен указанной второй линией сгиба и указанной второй системой прорезей, при этом указанная вторая линия сгиба тянется по линии между второй начальной точкой и второй конечной точкой, причем указанная вторая система прорезей включает в себя, по меньшей мере, одну прорезь и тянется вдоль второго изгиба, начинаясь из указанной второй начальной точки и заканчиваясь в указанной второй конечной точке, при этом указанный второй изгиб выдается от указанной второй линии сгиба в направлении указанного конца для введения, в соответствии с чем указанная вторая система прорезей и указанная вторая линия сгиба предоставлены таким образом, что указанный второй переворачиваемый клапан выполнен с возможностью перемещения между вторым исходным положением и вторым перевернутым положением в процессе введения указанного тампона во влагалище пользователя для того, чтобы способствовать указанному введению, в соответствии с чем указанный второй переворачиваемый клапан выполнен с возможностью перемещения между указанным вторым исходным положением и указанным вторым перевернутым положением посредством его складывания вокруг указанной второй линии сгиба, в соответствии с чем указанный второй переворачиваемый клапан находится в указанном втором исходном положении перед использованием указанного тампона, в соответствии с чем указанная вторая внутренняя поверхность обращена к указанному абсорбирующему телу в указанном втором исходном положении и обращена от указанного абсорбирующего тела в указанном втором перевернутом положении.

Предпочтительные варианты осуществления описаны в зависимых пунктах.

Кроме того, другие задачи и признаки настоящего изобретения станут понятны из следующего подробного описания, рассматриваемого в сочетании с сопровождающими чертежами. Однако следует понимать, что чертежи выполнены исключительно для целей иллюстрирования, а не в качестве определения ограничений изобретения, для которых должна быть сделана ссылка на прилагаемую формулу изобретения. Кроме того, следует понимать, что чертежи необязательно нарисованы в масштабе и что, если не указано иное, они предназначены исключительно для концептуального отображения конструкций, описанных в данной заявке.

КРАТКОЕ ОПИСАНИЕ ЧЕРТЕЖЕЙ

На чертежах, на которых одинаковые ссылочные обозначения указывают на аналогичные элементы на нескольких изображениях:

фигура 1a представляет собой вид сбоку первого варианта осуществления тампона согласно изобретению, когда первые переворачиваемые клапаны расположены в первом исходном положении;

фигура 1b представляет собой изображение поперечного сечения согласно линии Ib-Ib на фиг. 1a;

фигура 1c представляет собой увеличенное изображение первого переворачиваемого клапана тампона на фиг. 1a;

фигура 1d представляет собой вид сбоку первого варианта осуществления тампона, когда первые переворачиваемые клапаны расположены в первом перевернутом положении;

фигура 1e представляет собой увеличенное изображение первого переворачиваемого клапана тампона на фиг. 1d;

фиг. 1f представляет собой увеличенное изображение первого переворачиваемого клапана с альтернативным первым изгибом;

фиг. 1g представляет собой увеличенное изображение первого переворачиваемого клапана с альтернативным первым изгибом;

фиг. 1h соответствует фиг. 1d, но со смазывающим средством на первых внутренних поверхностях первых переворачиваемых клапанов;

фиг. 1i представляет собой увеличенное изображение первого переворачиваемого клапана с альтернативной первой системой прорезей;

фиг. 1j представляет собой увеличенное изображение двух первых переворачиваемых клапанов, имеющих общую точку;

фиг. 1k представляет собой увеличенное изображение двух первых переворачиваемых клапанов с различными ориентациями первых линий сгиба;

фиг. 2a представляет собой вид сбоку второго варианта осуществления тампона согласно изобретению, когда вторые переворачиваемые клапаны расположены во втором исходном положении;

фиг. 2b представляет собой увеличенное изображение второго переворачиваемого клапана тампона на фиг. 2a;

фиг. 2c представляет собой вид сбоку второго варианта осуществления тампона, когда вторые переворачиваемые клапаны расположены во втором перевернутом положении;

фиг. 2d представляет собой увеличенное изображение второго переворачиваемого клапана тампона на фиг. 2c;

фиг. 2e представляет собой увеличенное изображение второго переворачиваемого клапана с альтернативным вторым изгибом;

фиг. 2f соответствует фиг. 2c, но со смазывающим средством на вторых внутренних поверхностях вторых переворачиваемых клапанов;

фигура 2g представляет собой увеличенное изображение второго переворачиваемого клапана с альтернативной второй системой прорезей;

фигура 2h представляет собой увеличенное изображение двух вторых переворачиваемых клапанов, имеющих общую точку;

фигура 2i представляет собой увеличенное изображение двух вторых переворачиваемых клапанов с различными ориентациями вторых линий сгиба;

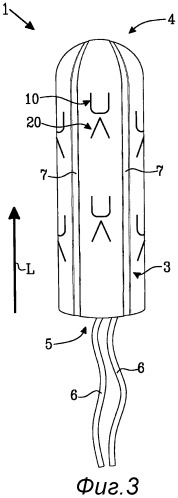
фигура 3 представляет собой вид сбоку третьего варианта осуществления тампона согласно изобретению.

ПОДРОБНОЕ ОПИСАНИЕ ПРЕДПОЧТИТЕЛЬНЫХ ВАРИАНТОВ ОСУЩЕСТВЛЕНИЯ

Как упоминалось ранее, изобретение относится к влагалищному тампону. Изобретение будет описано более подробно далее со ссылкой на сопровождающие чертежи.

Фигура 1a показывает вид сбоку первого варианта осуществления тампона 1 согласно изобретению, а фиг. 1b показывает изображение поперечного сечения первого варианта осуществления тампона 1 согласно линии Ib-Ib на фиг. 1a. Тампон 1 включает в себя удлиненное абсорбирующее тело 2, заключенное в проницаемое для жидкостей покрытие 3. Покрытие 3 минимизирует отделение катышков из абсорбирующего тела 2. В первом варианте осуществления, показанном на фиг. 1a, абсорбирующее тело 2 имеет в целом цилиндрическую форму. Однако абсорбирующее тело 2 может в качестве альтернативы иметь любую другую подходящую форму, например коническую, остроконечную, чашеобразную, бананообразную и тому подобное. Кроме того, тампон 1 имеет конец 4 для введения и конец 5 для извлечения. Конец 4 для введения может иметь любую подходящую форму, например закругленную (фиг.1a), тупоносую (не показано) или остроконечную (не показано). Равным образом, конец 5 для извлечения может иметь любую подходящую форму, например тупоконечную (фиг.1a), закругленную (не показано) или остроконечную (не показано).

Термин "конец для введения" в данной заявке определен как та часть тампона, которая включает в себя кончик тампона и которая выполнена с возможностью введения первым во влагалище пользователя. Термин "конец для извлечения" в данной заявке определен как та часть тампона, которая выполнена с возможностью составлять ведущий конец (исключая извлекающие нити) тампона в процессе извлечения тампона из влагалища пользователя.

В первом варианте осуществления абсорбирующее тело 2 полностью заключено внутри покрытия 3 (фиг.1a). Однако абсорбирующее тело 2 может в качестве альтернативы быть только частично заключено внутри покрытия 3. Например, покрытие 3 может быть выполнено с возможностью закрывать абсорбирующее тело 2 только в длину, оставляя один или и тот и другой из конца 4 для введения и конца 5 для извлечения свободным от покровного материала. В качестве альтернативы, абсорбирующее тело 2 может быть закрыто покрытием 3 только на конце 4 для введения и/или конце 5 для извлечения или частично около них. Таким образом, согласно изобретению, абсорбирующее тело 2, по меньшей мере, частично заключено внутри покрытия 3.

В первом варианте осуществления, показанном на фиг. 1a, тампон 1 включает в себя также две извлекающие нити 6, тянущиеся от конца 5 для извлечения. Однако тампон 1 может в качестве альтернативы содержать любое другое подходящее количество извлекающих нитей 6, например одну извлекающую нить или три извлекающие нити. Таким образом, согласно изобретению, тампон 1 включает в себя по меньшей мере одну извлекающую нить 6. В дополнение, в первом варианте осуществления, тампон 1 снабжен тянущимися продольно уплощенными желобками 7, которые способствуют распределению жидкости по длине тампона 1. Предоставление подобных уплощенных желобков общепринято в данной области, но по выбору они могут быть исключены.

В первом варианте осуществления, абсорбирующее тело 2 представляет собой массу абсорбирующих волокон, которые были сжаты в приблизительно цилиндрическую форму (фиг.1b). Однако абсорбирующее тело 2 может быть выполнено с помощью любого традиционного способа. Например, абсорбирующее тело 2 может в качестве альтернативы быть выполнено посредством скручивания слоя абсорбирующего материала в приблизительно цилиндрическую форму, а затем прессования цилиндрической формы (не показано). Примеры способов получения тампона будут дополнительно описаны ниже. Подходящими абсорбирующими материалами для абсорбирующего тела 2 являются целлюлозные волокна, такие как вискозные, хлопчатые, и целлюлозная пушистая масса. Абсорбирующее тело 2 может также содержать связующее вещество, такое как термопластические волокна. Могут быть использованы полимерные гелеобразующие материалы, также известные как суперабсорбенты, а также угнетающие бактерии средства.

Покрытие 3 включает в себя внутреннюю поверхность 8, обращенную к абсорбирующему телу 2, и наружную поверхность 9, обращенную от абсорбирующего тела 2 (фиг.1b). Покрытием 3 может быть любой подходящий безабразивный проницаемый для жидкости материал. Предпочтительно, покрытие 3 представляет собой нетканый материал, который может представлять собой кардочесанное, гидросплетенное полотно или полотно, изготовленное по технологии спанбонд, изготовленное из полипропилена, полиэтилена, вискозы, двухкомпонентных волокон или любого другого подходящего волокнистого материала. Однако также могут быть использованы перфорированные пластмассовые пленки, литые или вязаные сетки или аналогичные пористые материалы. Покрытие 3 может состоять из одного или более слоев материала. Таким образом, покрытие 3 может быть слоистым. В дополнение, покрытие 3 может иметь различные характеристики трения на внутренней поверхности 8 и наружной поверхности 9. Например, внутренняя поверхность 8 может быть более гладкой, чем наружная поверхность 9.

Извлекающие нити 6 изготовлены из материала, имеющего высокую прочность при растяжении, и прочно прикреплены к остальной части тампона 1 за счет закручивания их внутри в абсорбирующем теле 2 или за счет сваривания, склеивания или сшивания их с абсорбирующим телом 2 и/или с проницаемым для жидкости покрытием 3.

В первом варианте осуществления, показанном на фиг. 1a, проницаемое для жидкостей покрытие 3 включает в себя множество первых переворачиваемых клапанов 10. Все первые переворачиваемые клапаны 10 в первом варианте осуществления являются одинаковыми, а фиг. 1c показывает увеличенное изображение одного из первых переворачиваемых клапанов 10. Далее, один первый переворачиваемый клапан 10 из множества первых переворачиваемых клапанов 10 первого варианта осуществления будет описан со ссылкой на фиг. 1a и 1c.

Первый переворачиваемый клапан 10 образован участком покрытия 3 (т.е. первый переворачиваемый клапан 10 образован частью покрытия 3) и включает в себя первую внутреннюю поверхность 11 и противоположную первую наружную поверхность 12. Первая внутренняя поверхность 11 первого переворачиваемого клапана 10 составляет часть внутренней поверхности 8 покрытия 3, а первая наружная поверхность 12 первого переворачиваемого клапана 10 составляет часть наружной поверхности 9 покрытия 3.

Первый переворачиваемый клапан 10 частично отделен от остальной части покрытия 3, т.е. одна или более пограничных частей первого переворачиваемого клапана 10 отделены от остальной части покрытия 3 (не связаны с ней). Отделение получают посредством первой системы 13 прорезей, предоставленной в покрытии 3. Однако первый переворачиваемый клапан 10 соединен с остальной частью покрытия 3 через первую линию 14 сгиба. Таким образом, первый переворачиваемый клапан 10 ограничен первой линией 14 сгиба и первой системой 13 прорезей, т.е. первый переворачиваемый клапан 10 полностью окружен первой линией 14 сгиба и первой системой 13 прорезей.

Более конкретно, первая линия 14 сгиба тянется по линии между первой начальной точкой 15 и первой конечной точкой 16. Кроме того, первая система 13 прорезей тянется вдоль первого изгиба, начинаясь от первой начальной точки 15 и заканчиваясь в первой конечной точке 16. В первом варианте осуществления, показанном на фиг. 1a и 1c, первая система 13 прорезей образована одной прорезью, тянущейся от первой начальной точки 15 к первой конечной точке 16 вдоль первого изгиба. Первый изгиб выдается от первой линии 14 сгиба в направлении конца 5 для извлечения. В первом варианте осуществления, первый изгиб является U-образным. Посредством этого, прорезь, составляющая первую систему 13 прорезей, является U-образной. Первый изгиб может в качестве альтернативы иметь любую другую подходящую форму. Это будет дополнительно описано ниже.

Термин "прорезь" в данной заявке предполагает обозначение по существу одномерного проходящего насквозь отверстия в слое материала, так что отверстие проходит от начальной точки к конечной точке вдоль изгиба и имеет глубину, которая зависит от толщины покровного материала и способа, с помощью которого в материале выполнена прорезь. Прорезь включает в себя две контактные поверхности. Когда внешние усилия отсутствуют, две контактные поверхности могут находиться в контакте друг с другом и закрывать отверстие таким образом, как если бы прорезь отсутствовала, но с тем отличием, что на участке слоя материала, в котором имеется прорезь, отсутствуют связи, которые в противном случае удерживали бы слой материала вместе. Однако в зависимости от способа и инструментов для предоставления прорези, созданный клапан или части созданного клапана (например, его свободные края) могут быть смещены немного наружу от остальной части покрытия, и/или свободный край (края) созданного клапана может быть отогнут от остальной части покрытия таким образом, чтобы две контактные поверхности не находились или только частично находились в контакте друг с другом. Прорезь изготавливают за счет разрывания связей в слое материала на протяжении расстояния, требующегося для протяжения прорези. Связи могут быть разорваны, например, за счет образования разреза в слое материала посредством создания длинного узкого разреза, вырезания или каким-либо другим образом. Это полностью верно для теоретической модели, хотя в реальной действительности материал будет пропадать на микрометрическом уровне, например, вследствие тупых инструментов и т.д. Потерю материала не надо путать с потерей материала при создании отверстий, когда отверстие является не одномерным, но скорее двумерным, вследствие такого необходимого условия в отношении отверстий, для материала, подлежащего удалению, чтобы образовалось постоянное отверстие, когда соответствующие контактные поверхности не способны создать контакт друг с другом, если слой материала не подвержен воздействию внешних усилий. Прорезь в покрытии может быть сделана посредством проходящего насквозь разреза в покрытии, перпендикулярно поверхностям покрытия в плоском состоянии, но также она может быть сделана в покрытии посредством проходящего насквозь разреза под углом к поверхностям покрытия в плоском состоянии.

Термин "изгиб" в данной заявке предусматривает включение как изгибов, включающих в себя два или более прямолинейных участка, тянущихся в разных направлениях, таких как например V-образные изгибы или W-образные изгибы, так и не прямолинейных изгибов, таких как например, U-образные изгибы. В дополнение, изгиб может быть волнообразным.

Первая система 13 прорезей и первая линия 14 сгиба, ограничивающие первый переворачиваемый клапан 10, предоставлены таким образом, что первый переворачиваемый клапан 10 выполнен с возможностью перемещения между первым исходным положением (фигуры 1a и 1c) и первым перевернутым положением (фигуры 1d-1e) в процессе извлечения тампона 1 из влагалища пользователя для того, чтобы способствовать извлечению. Более конкретно, первая система 13 прорезей и первая линия 14 сгиба, ограничивающие первый переворачиваемый клапан 10, имеют такую протяженность и ориентацию, чтобы первый переворачиваемый клапан 10 был выполнен с возможностью перемещения между первым исходным положением и первым перевернутым положением в процессе извлечения тампона 1 из влагалища пользователя. Таким образом, первый переворачиваемый клапан 10 формируют и ориентируют посредством первой системы 13 прорезей и первой линией 14 сгиба таким образом, чтобы первый переворачиваемый клапан 10 был выполнен с возможностью перемещения между первым исходным положением и первым перевернутым положением в процессе извлечения тампона 1 из влагалища пользователя. Первый переворачиваемый клапан 10 выполнен с возможностью перемещения между первым исходным положением и первым перевернутым положением посредством его складывания вокруг первой линии 14 сгиба.

Первый переворачиваемый клапан 10 находится в первом исходном положении перед использованием тампона 1 (фигуры 1a и 1c). В первом исходном положении, первая внутренняя поверхность 11 первого переворачиваемого клапана 10 обращена к абсорбирующему телу 2, а первая наружная поверхность 12 первого переворачиваемого клапана 10 обращена от абсорбирующего тела 2. Однако первый переворачиваемый клапан 10 выполнен с возможностью перемещения в первое перевернутое положение (фигуры 1d-1e) в процессе извлечения тампона 1 из влагалища пользователя. В первом перевернутом положении, первая внутренняя поверхность 11 первого переворачиваемого клапана 10 обращена от абсорбирующего тела 2, а первая наружная поверхность 12 обращена к абсорбирующему телу 2. Таким образом, в первом перевернутом положении, первая наружная поверхность 12 первого переворачиваемого клапана 10, по меньшей мере, частично находится в контакте с наружной поверхностью 9 покрытия 3, при этом в покрытии 3 образуется отверстие, соответствующее форме первого переворачиваемого клапана 10, в соответствии с чем абсорбирующее тело 2 обнажается посредством отверстия.

В соответствии с изложенным выше, прорезь первой системы 13 прорезей первого варианта осуществления включает в себя две контактные поверхности. Две контактные поверхности в первом исходном положении могут находиться в контакте друг с другом. Однако две контактные поверхности в качестве альтернативы в первом исходном положении могут не быть в контакте или быть только частично в контакте друг с другом благодаря тому, что созданный первый переворачиваемый клапан 10 или его части смещен/смещены немного наружу от остальной части покрытия 3, и/или благодаря тому, что свободные края созданного первого переворачиваемого клапана 10 отгибают от остальной части покрытия 3 посредством использованного способа и/или интсрумента для предоставления первой системы 13 прорезей. Выражение "первая внутренняя поверхность обращена к абсорбирующему телу в первом исходном положении" в данной заявке предусматривает включение того, что вся первая внутренняя поверхность обращена к абсорбирующему телу или что основная часть первой внутренней поверхности обращена к абсорбирующему телу, но что один или более свободных краевых участков первого переворачиваемого клапана отогнут/отогнуты от остальной части покрытия благодаря воздействию технологического приема и/или инструмента. Кроме того, в случае когда первый переворачиваемый клапан или его части смещен/смещены немного наружу от остальной части покрытия благодаря технологическому приему и/или инструменту, первая внутренняя поверхность считается обращенной к абсорбирующему телу.

Как упоминалось выше, первая система 13 прорезей и первая линия 14 сгиба, ограничивающие первый переворачиваемый клапан 10, имеют такие протяженность и ориентацию, чтобы первый переворачиваемый клапан 10 был выполнен с возможностью перемещения между первым исходным положением и первым перевернутым положением в процессе извлечения тампона 1 из влагалища пользователя. Предпочтительно, как показано на фиг. 1a и 1c-1e, первая линия 14 сгиба тянется в направлении, ортогональном или, по меньшей мере, по существу ортогональном продольному направлению L тампона 1 для того, чтобы содействовать обеспечению того, чтобы первый переворачиваемый клапан 10 перемещался из первого исходного положения в первое перевернутое положение в процессе извлечения тампона 1. Однако направление, в котором тянется первая линия 14 сгиба, может быть изменено, но его можно изменять только так, чтобы линия тянулась в таком направлении, чтобы это содействовало обеспечению того, чтобы первый переворачиваемый клапан 10 перемещался из первого исходного положения в первое перевернутое положение в процессе извлечения тампона 1.

Кроме того, в первом варианте осуществления, форма первого изгиба, вдоль которого тянется первая система 13 прорезей, является U-образной. Однако форма первого изгиба может быть изменена, но она может иметь только такую форму, чтобы это способствовало обеспечению того, чтобы первый переворачиваемый клапан 10 перемещался из первого исходного положения в первое перевернутое положение в процессе извлечения тампона 1. Например, первый изгиб может быть V-образным (фиг.1f), с формой квадрата (не показано), с формой наподобие туалетной крышки (не показано), шарообразным (не показано) или W-образным (фиг.1g).

Кроме того, важно удостовериться, что первый переворачиваемый клапан 10 не отрывается от покрытия 3 по первой линии 14 сгиба в процессе извлечения тампона 1 из влагалища пользователя. Это может быть определено протяженностью и ориентацией первой линии 14 сгиба и первой системы 13 прорезей. Однако это также может быть определено усилением первой линии 14 сгиба посредством прикрепления ее к абсорбирующему телу 2. Например, первая линия 14 сгиба может быть соединена или сплавлена вместе с абсорбирующим телом 2. В качестве альтернативы, первая линия 14 сгиба может быть укреплена посредством дополнительной полосы материала, например покровного материала или любого другого поверхностного материала, прикрепленного поверх первой линии 14 сгиба на наружной поверхности 9 покрытия 3. Кроме того, как описано дополнительно ниже, тампон 1 может в качестве альтернативы содержать один или более дополнительных материалов, прослоенных между покрытием 3 и абсорбирующим телом 2. Тогда первая линия 14 сгиба может быть укреплена посредством прикрепления ее к самому крайнему дополнительному материалу.

Для того чтобы содействовать обеспечению того, чтобы первый переворачиваемый клапан 10 перемещался из первого исходного положения в первое перевернутое положение в процессе извлечения тампона 1 и чтобы первый переворачиваемый клапан 10 не отрывался от покрытия 3, первая линия 14 сгиба может составлять, по меньшей мере, 1 мм, предпочтительно, по меньшей мере, 2 мм, наиболее предпочтительно, по меньшей мере, 3 мм. В дополнение, для того чтобы получить описанный ниже эффект разделения, первый переворачиваемый клапан 10 может иметь площадь, равную по меньшей мере 1 мм2, предпочтительно, по меньшей мере 4 мм2, наиболее предпочтительно, по меньшей мере 9 мм2 в плоском состоянии. Первый переворачиваемый клапан 10 может иметь размер реснички.

Таким образом, в соответствии с изложенным выше, первый вариант осуществления тампона 1, показанный на фиг. 1a-1e, поступает к пользователю со всеми первыми переворачиваемыми клапанами 10, расположенными в первом исходном положении. В процессе введения тампона 1 во влагалище пользователя и в состоянии введения первые переворачиваемые клапаны 10 удерживаются в первом исходном положении благодаря их ориентации. Однако при извлечении тампона 1 после использования, первые переворачиваемые клапаны 10 будут перемещаться из первого исходного положения в первое перевернутое положение за счет отворачивания или отхождения от абсорбирующего тела 2.

Более конкретно, при вытаскивании тампона 1 после использования пользователь тянет за одну или обе извлекающих нити 6. Вытягивание заставляет тампон 1 перемещаться в направлении прикладываемого усилия. Поскольку трение между первыми внутренними поверхностями 11 первых переворачиваемых клапанов 10 и абсорбирующим телом 2 меньше, чем трение между первыми наружными поверхностями 12 первых переворачиваемых клапанов 10 и стенкой влагалища пользователя, первая наружная поверхность 12 первых переворачиваемых клапанов 10 будет цепляться за стенку влагалища. Посредством этого, тянущее усилие будет также заставлять первые переворачиваемые клапаны 10 постепенно переворачиваться в процессе извлечения тампона 1. В конце концов, первые переворачиваемые клапаны 10 полностью переворачиваются, как показано на фиг. 1d-1e.

В процессе переворачивания и после полного переворачивания первые переворачиваемые клапаны 10 будут действовать в качестве разделительного средства, создавая промежуток между слизистыми оболочками на стенке влагалища пользователя и остальной частью покрытия 3. Таким образом, первые переворачиваемые клапаны 10 действуют в качестве вспомогательных средств для извлечения, существенно облегчая извлечение тампона 1 и минимизируя риск вызывания натирания, раздражения или других вызываемых трением неудобств, которые в противном случае могут возникать при извлечении тампона. Таким образом, посредством первых переворачиваемых клапанов 10, тампон 1 может быть легко и удобно извлечен из влагалища, даже в случае только частичного насыщения менструальной жидкостью.

Кроме того, как упоминалось выше, внутренняя поверхность 8 и наружная поверхность 9 покрытия 3 может иметь различные характеристики трения. В случае когда внутренняя поверхность 8 является более гладкой, чем наружная поверхность 9, первая внутренняя поверхность 11 первых переворачиваемых клапанов 10 является более гладкой, чем первая наружная поверхность 12 первых переворачиваемых клапанов 10. Разные характеристики трения принимают участие в переворачивании первых переворачиваемых клапанов 10 в процессе извлечения тампона 1 из влагалища пользователя. В дополнение, разные характеристики трения подразумевают, что после переворачивания более гладкая первая внутренняя поверхность 11 будет находиться в контакте со стенкой влагалища пользователя вместо первой наружной поверхности 12, в соответствии с чем будет уменьшено трение между тампоном 1 и стенкой влагалища пользователя и будет дополнительно облегчено извлечение.

В первом варианте осуществления, показанном на фиг. 1a-1e, все первые переворачиваемые клапаны 10 из множества первых переворачиваемых клапанов 10 являются одинаковыми. Однако нет необходимости, чтобы одинаковыми были все первые переворачиваемые клапаны 10 из множества первых переворачиваемых клапанов 10, но один или более первых переворачиваемых клапанов 10 могут отличаться от одного или более других первых переворачиваемых клапанов 10 за счет изменения в соответствии с одним или более из описанных выше вариантов. В качестве альтернативы, первый изгиб одного или более первых переворачиваемых клапанов 10 из множества первых переворачиваемых клапанов 10 может иметь другую форму, чем первый изгиб одного или более других первых переворачиваемых клапанов 10 из множества первых переворачиваемых клапанов 10. Например, первый изгиб одного или более первых переворачиваемых клапанов 10 может быть V-образным, тогда как первый изгиб одного или более других первых переворачиваемых клапанов 10 может быть U-образным. Таким образом, согласно изобретению, первый изгиб по меньшей мере одного первого переворачиваемого клапана 10 из множества первых переворачиваемых клапанов 10 может быть V-образным и/или первый изгиб, по меньшей мере, одного первого переворачиваемого клапана 10 из множества первых переворачиваемых клапанов 10 может быть U-образным. Однако все первые изгибы могут иметь только такую форму, чтобы они содействовали обеспечению того, чтобы первые переворачиваемые клапаны 10 перемещались из первого исходного положения в первое перевернутое положение в процессе извлечения тампона 1. В качестве дополнительной альтернативы, первая линия 14 сгиба одного или более первых переворачиваемых клапанов 10 из множества первых переворачиваемых клапанов 10 может иметь иную длину и/или иную ориентацию, чем первая линия 14 сгиба одного или более других первых переворачиваемых клапанов 10 из множества первых переворачиваемых клапанов 10. Нап