Устройство фильтрации газа

Иллюстрации

Показать все

Изобретение может быть использовано в химической промышленности. Устройство (1) фильтрации газа содержит корпус (2) фильтра, кольцевой фильтрующий материал (3), размещенный в поперечном сечении корпуса (2) фильтра и в котором размещен, по меньшей мере, один вращающийся вокруг продольной оси (4) корпуса (2) фильтра распылитель (7) продува фильтрующего материала (3). Держатель (11) фильтра соединен с внутренней полостью (8) корпуса (2) фильтра посредством выпускного отверстия (14), соединенного с напорным штуцером (15) для обеспечения вращающихся распылителей (7) продувочным газом. Соединительное приспособление (19) снабжено посадочной поверхностью (20), закрепленной посредством соединительного штуцера (21) на корпусе (2) фильтра и соединенной напорным штуцером с каждым распылителем (7). Соединительное приспособление (19) снабжено соединительной втулкой (22) круглого поперечного сечения, в котором расположен напорный штуцер (15), закрепленный в продольном направлении с посадочной поверхностью (20). Изобретение позволяет уменьшить монтажное пространство для установки фильтра. 9 з.п. ф-лы, 4 ил.

Реферат

Область техники, к которой относится изобретение

Данное изобретение относится к устройству фильтрации газа, в частности к пылевому фильтру.

Уровень техники

Из DE 4406124 A1 известно устройство фильтрации газа, которое имеет корпус фильтра, фильтрующий материал которого в поперечном сечении корпуса фильтра расположен кольцеобразно. Устройство снабжено двумя вращающимися распылителями для продувки материала фильтра в обратном направлении, размещенными вокруг продольной оси корпуса фильтра с возможностью вращения. Далее устройство фильтрации газа включает в себя держатель фильтра, на котором корпус фильтра закреплен при монтаже на конце оси. Держатель фильтра имеет выпускное отверстие, соединенное с внутренней полостью корпуса фильтра, а также напорный штуцер для подачи продувочного газа в соответствующие вращающиеся распылители.

В известных устройствах фильтрации газа напорный штуцер состоит из конусообразной трубки, которая концентрически входит во внутреннюю полость фильтра и на которую опираются вращающиеся распылители. Через трубку на соответствующие вращающиеся распылители подается продувочный газ. Для замены корпуса фильтра, что, например, может потребоваться при износе фильтрующего материала, в известных устройствах фильтрации газа необходимо снимать корпус фильтра через всю длину трубки. В зависимости от длины корпуса фильтра вдоль оси для этого требуется очень большое монтажное пространство.

Раскрытие изобретения

Для решения этой проблемы и служит предложенное изобретение. Изобретение ставит перед собой задачу предложить улучшенную конструкцию устройства фильтрации газа указанного типа, которая отличается, в частности, тем, что требуемое для монтажа и демонтажа пространство уменьшено.

В настоящем изобретении данная проблема решается посредством выполнения различных требований. Предпочтительные конструктивные варианты осуществления являются предметом зависимых пунктов формулы.

Изобретение основано на общеизвестной идее использовать для подачи продувочного газа на вращающиеся распылители соединительное приспособление, которое включает в себя расположенную на корпусе фильтра посадочную плоскость и взаимодействующую с ней расположенную на держателе фильтра соединительную втулку. Благодаря такой конструкции внутри системы продувки реализуется разделение на два узла, а именно первый узел, который включает в себя расположенные на держателе фильтра компоненты, и второй узел, который включает в себя расположенные на или в корпусе фильтра компоненты. Для монтажа и демонтажа корпуса фильтра в этом случае требуется сравнительно небольшое конструктивное пространство, так как, в принципе, достаточно приподнять корпус фильтра в осевом направлении с держателя фильтра, чтобы затем вынуть его в радиальном направлении с оставшейся в ней системой продувки. Затем можно удалить расположенную на корпусе фильтра систему продувки. Благодаря этому можно существенно уменьшить требуемое для смены корпуса фильтра монтажное пространство.

В соответствии с предпочтительным конструктивным вариантом осуществления изобретения можно согласовать друг с другом посадочную поверхность и соединительную втулку так, чтобы соединительная втулка могла смещаться в радиальном направлении относительно посадочной поверхности вдоль плоскости посадочной поверхности. Возможность относительного смещения между посадочной поверхностью и соединительной втулкой позволяет компенсировать допуски посадки между корпусом и держателем фильтра.

Дополнительно или альтернативно, в соответствии с другим предпочтительным конструктивным вариантом осуществления изобретения, соединительную втулку можно расположить на размещенной на напорном штуцере держателя фильтра соединительного штуцера с возможностью осевого перемещения. Это позволяет смещать посадочную поверхность с прилегающей к ней соединительной втулкой относительно соединительного штуцера, что позволяет компенсировать допуски посадки между корпусом и держателем фильтра.

Другие важные характеристики и преимущества изобретения вытекают из пунктов формулы изобретения, из чертежей и из прилагаемого детального описания на основании чертежей.

Разумеется, что указанные в данном документе особенности применимы не только в описанной комбинации, но и в других комбинациях, а также по отдельности в рамках данного изобретения.

Примеры конструкции изобретения указаны в чертежах и будут более подробно разъяснены в нижеследующем описании, при этом одинаковые обозначения позиций относятся к одинаковым, подобным или функционально похожим узлам.

Краткое описание чертежей

Показано схематично:

Фиг.1 - вид сбоку в разрезе устройства фильтрации газа в установленном положении;

Фиг.2 - увеличенное изображение устройства фильтрации газа в зоне соединительного приспособления, при монтаже или демонтаже;

Фиг.3 - увеличенная деталь III, показанная на Фиг.1 в зоне соединительного приспособления;

Фиг.4 - увеличенная деталь IV, показанная на Фиг.1 в зоне опоры между вращающимся распылителем и корпусом фильтра.

Осуществление изобретения

В соответствии с Фиг.1 устройство 1 фильтрации газа, которое предпочтительно представляет собой пылевой фильтр и используется в стационарных промышленных условиях, включает в себя по крайней мере один корпус 2 фильтра, кольцевой фильтрующий материал 3 которого расположен в поперечном сечении корпуса 2 фильтра, вокруг продольной оси 4 корпуса 2 фильтра. В соответствии с этим корпус 2 фильтра образует кольцевой фильтрующий элемент. Как вариант, корпус 2 фильтра имеет коническую форму, образуя фильтрующий элемент в форме усеченного конуса. Альтернативно, корпус 2 фильтра может иметь и цилиндрическую форму с постоянным сечением в осевом направлении. Фильтрующий материал 3 может быть сложен обычным образом или плиссирован (гофрирован) и, кроме того, может опираться на внутреннее перфорированное радиальное ребро 5. Перфорация 6 этого ребра 5 обозначена на Фиг.1 изображением нескольких отверстий.

Кроме того, устройство 1 фильтрации газа включает в себя по меньшей мере один вращающийся распылитель 7, расположенный во внутренней полости 8 корпуса 2 фильтра с возможностью вращения вокруг продольной оси 4. Вращающийся распылитель 7 предназначен для продувки фильтрующего материала 3 в обратном направлении. В соответствии с этим фильтрующий материал 3 в нормальном режиме работы устройства 1 фильтрации газа продувается снаружи вовнутрь. Соответствующее направление потока обозначено на Фиг.1 стрелками 9. Тем самым корпус 2 фильтра отделяет загрязненную среду 10 от чистой внутренней полости 8. В варианте осуществления изобретения имеется или предполагается только один вращающийся распылитель 7. Очевидно, что в принципе можно установить две или более вращающихся распылителей 7 во внутренней полости 8 корпуса 2 фильтра, причем в этом случае вращающиеся распылители 7 равномерно распределены по длине окружности.

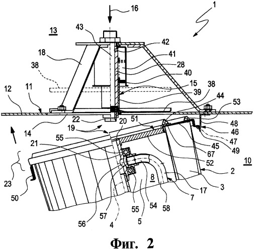
Далее устройство 1 фильтрации газа имеет держатель 11 фильтра, который предназначен для закрепления соответствующего корпуса 2 фильтра. Держатель фильтра 11 образован, например, пластиной 12 или имеет пластину 12, которая отделяет полость 10 неочищенного газа от полости 13 очищенного газа. На держателе 11 фильтра или на его пластине 12 имеется выпускное отверстие 14 на очищенной стороне, которое, при установленном корпусе 2 фильтра, обеспечивает соединение с внутренней полостью 8. У корпуса 2 фильтра имеется стандартное осевое замкнутое кольцевое уплотнение 53, через которое корпус 2 фильтра в установленном положении прилегает к пластине 12 держателя 11 фильтра в осевом направлении, чтобы отделить полость 10 неочищенного газа от полости 13 очищенного газа.

На держателе 11 фильтра также образован напорный штуцер 15, предназначенный для подачи на соответствующий вращающийся распылитель 7 подходящего продувочного газа. В качестве подходящего для продувки газа можно рассматривать, например, газ, очищенный с помощью корпуса 2 фильтра. В режиме продувки на соответствующий вращающийся распылитель 7 через напорный штуцер 15 по направлению стрелки 16 подается газ, который выходит из расположенных на вращающемся распылителе 7 отверстий 17 и действует на фильтрующий материал 3 изнутри в радиальном направлении. При этом отверстия 17 распылителя могут быть ориентированы в радиальном направлении так, что согласно принципу отдачи возникает импульс движения вращающегося распылителя 7. В соответствии с этим вращающийся распылитель 7 при продувке вращается вокруг продольной оси 4. При этом вся внутренняя поверхность фильтрующего материала 3 может быть обработана продувочным газом. Очевидно, что для этого вращающийся распылитель должен иметь протяженность в основном вдоль всей продольной оси фильтрующего материала 3.

Для крепления напорного штуцера 15 на держателе 11 фильтра установлена фиксирующая стойка 18, которая может иметь, например, форму треноги.

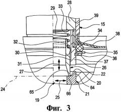
В соответствии с Фиг.2 и 3 устройство 1 фильтрации газа также состоит из соединительного приспособления 19, которое обеспечивает разъединение или соединение компонентов системы продувки, расположенных как на держателе корпуса фильтра, так и на корпусе фильтра. Соединительное приспособление 19 имеет ориентированную в осевом направлении посадочную поверхность 20, имеющую кольцевую форму и расположенную на соединительном штуцере 21. Указанный соединительный штуцер 21 расположен на корпусе 2 фильтра и соединен с соответствующим вращающимся распылителем 7. Далее соединительное приспособление 19 содержит соединительную втулку 22 с кольцевым поперечным сечением, которая в установленном положении прилегает к посадочной поверхности 20. Соединительная втулка 22 расположена на напорном штуцере 15.

В соответствии с приведенным здесь предпочтительным вариантом осуществления изобретения посадочная поверхность 20 в осевом направлении расположена внутри показанного фигурной скобкой осевой концевой части 23 корпуса 2 фильтра. Указанная осевая концевая часть 23 охватывает закрепленный в установленном состоянии на держателе 11 фильтра конец корпуса 2 фильтра. Кроме того, предпочтительно, чтобы посадочная поверхность 20 была ровной. В частности, посадочная поверхность 20 в осевом направлении не выступает выше корпуса 2 фильтра.

В соответствии с Фиг.3 посадочная поверхность 20 и соединительная втулка 22 согласуются друг с другом так, что имеется радиальное смещение соединительной втулки 22 относительно посадочной поверхности 20 вдоль плоскости 24, причем посадочная поверхность расположена на плоскости 24. Благодаря созданному таким образом радиальному смещению между согласующимися друг с другом компонентами можно компенсировать допуски расположения между корпусом 2 фильтра и держателем 11 фильтра.

Соответствующая радиальная компенсация или соответствующее радиальное смещение обозначены на Фиг.3 стрелкой влево-вправо 25.

Показанная здесь форма является предпочтительной, так как в ней соединительная втулка 22 расположена на соединительной муфте 26 с возможностью смещения в осевом направлении. Соответствующее смещение в осевом направлении отмечено на Фиг.3 стрелкой вверх-вниз 27. Такое смещение в осевом направлении позволяет компенсировать допуски расположения между корпусом 2 фильтра и держателем 11 фильтра. Соединительная муфта 26 расположена на напорном штуцере 15. Например, соединительная муфта 26 установлена в торце трубы 28 напорного штуцера 15. Предпочтительна установка прижимной пружины 29, которая в установленном состоянии прижимает соединительную втулку 22 к посадочной поверхности 20 в осевом направлении. Целесообразно выполнить прижимную пружину 29 в виде пружины сжатия, которая одним концом опирается на соединительную втулку 22 и другим концом на трубу 28 в осевом направлении. Для этого соединительная втулка 22 в предложенном случае расположена с соединительной муфтой 26 соосно. Выступы 30 или 31 на соединительной муфте 26 или на соединительной втулке 22 образуют осевой конечный упор для перемещения в осевом направлении между соединительной втулкой 22 и соединительной муфтой 26. В зоне прижимной пружины 29 соединительная втулка 22 имеет кольцевую отбортовку 32, которая центрирует прижимную пружину 29 и может образовать в противоположном направлении такой же конечный упор, в котором он взаимодействует с уступом 33 в осевом направлении, который образован на трубе 28.

Предпочтительно, чтобы соединительная муфта 26 имела наружное демпфирующее кольцо 34, действующее в осевом направлении. Например, демпфирующее кольцо 34 через дистанционную шайбу 35 опирается на кольцо 36 в осевом направлении, которое входит в охватывающий радиальный паз 37, выполненный на внешней поверхности соединительной муфты 26. Демпфирующее кольцо 34 предназначено для поддержки подпорной пластины 38 в ее нижнем конечном положении.

В соответствии с Фиг.2 данная подпорная пластина 38 через втулку 39 соединена с поршнем 40, который расположен в цилиндре 41 с возможностью осевого перемещения. При этом втулка 39 расположена радиально на внешней стороне трубки 28 напорного штуцера 15 с возможностью осевого перемещения. Полость цилиндра 41 связана, например, по меньшей мере через одно отверстие 42 с внутренней полостью 43 трубки 28. При подаче давления на напорный штуцер 15 давление во внутренней полости 43 возрастает и передается через по меньшей мере одно отверстие 42 в полость цилиндра 41, вследствие чего поршень 40 выдвигается, то есть перемещается в осевом направлении. Здесь подпорная пластина 38 из слегка намеченного прерывистой линией положения верхнего конечного упора перемещается в отмеченное сплошной линией нижнее конечное положение, в котором подпорная пластина 38 должна закрывать выпускное отверстие 14 держателя 11 фильтра.

Для этого подпорная пластина 38 предпочтительно соосно прилегает к кольцевому уплотнению 44, которое расположено на центрирующем кольце 67, которое, в свою очередь, опирается на осевую концевую шайбу 45 корпуса 2 фильтра. Одновременно подпорная пластина 38 в закрытом положении соосно прилегает к демпфирующему кольцу.

В соответствии с Фиг.2 корпус 2 фильтра преимущественно с помощью подвески 46 может фиксироваться с возможностью поворота относительно оси 47, которая направлена перпендикулярно продольной оси 4 корпуса 2 фильтра, с возможностью поворота на держателе 11 фильтра. Подобное поворотное движение также обеспечивается конструкцией соединительного приспособления 19, так как соединительное приспособление работает не со вставным соединением, а с соединением, действующим исключительно в осевом направлении. В частности, соединительная втулка 22 не выступает или несущественно выступает в осевом направлении над держателем 11 фильтра, благодаря чему в собранном состоянии не образуется или образуется несущественное осевое перекрытие или углубление между соединительной втулкой 22 и посадочной поверхностью 20.

Подвеска 46 может, например, иметь закрепленный на держателе 11 фильтра крюк 48, в который входит соответствующий ответный крюк 49 корпуса 2 фильтра, который, например, можно закрепить на упомянутой концевой шайбе. В диаметрально противоположном этой подвеске 46 положении можно выполнить по меньшей мере один подходящий фиксатор 50, который обеспечивает разъемное крепление корпуса 2 фильтра к держателю 11 фильтра в установленном состоянии. Также можно установить группу фиксаторов, предпочтительно два одинаковых. Предпочтительно приведенное здесь подвесное расположение корпуса 2 фильтра, в котором продольная ось 4 корпуса 2 фильтра имеет вертикальную ориентацию. Также допускается положение лежа с горизонтальной ориентацией продольной оси 4.

В концевой части 23 корпус 2 фильтра имеет фиксатор 51, который может быть выполнен в форме звездочки и предназначен для фиксации соединительного штуцера 21, предпочтительно в корпусе 2 фильтра. На фиксаторе 51 для этого есть несколько ребер, в частности, расположенных в виде звездочки 52, которые служат радиальной опорой внутренней части соединительного штуцера 21, закреплены в радиальном направлении снаружи центрирующего кольца 67 и опираются через него на концевую шайбу 45. При этом фиксатор 51 может крепиться к концевой шайбе 45, например, фиксатор 51 посредством центрирующего кольца 67 может быть просто вставлен. Для этого, как правило, можно использовать полноценный монтажный узел со стороны корпуса фильтра, состоящий из компонентов системы продувки, который просто вынимается и вставляется в корпус 2 фильтра.

В соответствии с Фиг.2 по меньшей мере один вращающийся распылитель 7 закреплен в начальной зоне 54, которая в установленном состоянии направлена к держателю 11 фильтра на соединительном штуцере 21 с возможностью вращения. Соответствующие радиальные подшипники обозначены здесь цифрой 55. Соединительный штуцер 21 имеет по меньшей мере одно радиальное соединительное отверстие 56, которое связано с кольцевой полостью 57, с которой соединена трубка 58 вращающегося распылителя 7.

В соответствии с Фиг.4 по меньшей мере один вращающийся распылитель 7 закреплен с возможностью вращения в концевой зоне 59, которая в установленном состоянии направлена от держателя 11 фильтра на опорной цапфе 60 с опорой в осевом направлении. При этом данная опорная цапфа 60 опирается на концевой диск 61 корпуса 2 фильтра, который закрывает соответствующий конец корпуса 2 фильтра в осевом направлении, соответствующем концевой зоне 59 вращающегося распылителя 7. Этот показанный здесь концевой диск 61 представляет собой так называемую закрытую концевую шайбу, которая в осевом направлении имеет кольцевое сечение, в то время как показанная на Фиг.1 сверху концевая шайба 45 выполнена в качестве так называемой открытой концевой шайбы, которая в осевом направлении имеет в сечении кольцо. В примере концевая зона 59 соответствующего вращающегося распылителя 7 в осевом положении опирается на кронштейн 62, например, на ребро, которое расположено на внутренней радиальной части бортика 63 в форме трубки. Бортик 63 (особенно съемный) надвинут в осевом направлении на опорную цапфу 60. Далее бортик 63 (особенно съемный) другим концом вставлен в соединительный штуцер 21.

В соответствии с Фиг.3 на радиальной внешней стороне посадочной поверхности 20 имеется кольцевая отбортовка 64, которая имеет некоторый зазор в осевом направлении до посадочной поверхности 20. Кольцевая отбортовка 64 образует круговой бортик для посадочной поверхности 20. Эта кольцевая отбортовка 64 характеризуется поперечным сечением, которое увеличивается по мере возрастания осевого зазора до посадочной поверхности 20. Это оказывает центрирующее воздействие при совместной работе посадочной поверхности 20 с кольцевой отбортовкой 64 и соединительной втулки 22. Дополнительно можно выполнить соединительную втулку 22 с концевой зоной 65, поперечное сечение которой увеличивается к концу 66. Конец 66 соединительной втулки 22 соосно прилегает к посадочной поверхности 20. Благодаря сужающейся концевой зоне 65 поперечное сечение соединительной втулки 22 к концу 66 увеличивается, что увеличивает радиальное смещение между соединительной втулкой 22 и посадочной поверхностью 20.

1. Устройство фильтрации газа, в частности пылевой фильтр, включающий по меньшей мере один корпус (2) фильтра, снабженный кольцевым фильтрующим материалом (3) и по меньшей мере одним распылителем (7), установленным с возможностью вращения относительно продольной оси (4) корпуса (2) и с возможностью продувки фильтрующего материала (3), по меньшей мере один держатель (11) фильтра, закрепленный на одном конце корпуса (2) и снабженный выпускным отверстием (14) очищенного газа, соединенным с внутренней полостью (8) корпуса (2), и напорным штуцером (15) обратной подачи продувочного газа на соответствующий распылитель (7), отличающееся тем, что оно содержит соединительное приспособление (19), состоящее из соединительного штуцера (21), имеющего кольцевую посадочную поверхность (20) и соединенного с соответствующим распылителем (7) и с корпусом (2), и из кольцевой соединительной втулки (22), установленной прилегающей к посадочной поверхности (20) соединительного штуцера (21) в осевом направлении и связанной с напорным штуцером (15).

2. Устройство по п.1, отличающееся тем, что посадочная поверхность (20) расположена аксиально внутри концевой части (23) корпуса (2) и/или выполнена плоской.

3. Устройство по п.1 или 2, отличающееся тем, что соединительная втулка (22) установлена с возможностью смещения в радиальном направлении вдоль плоскости (24) посадочной поверхности (20).

4. Устройство по п.1, отличающееся тем, что соединительная втулка (22) установлена в соединительной муфте (26) и в напорном штуцере (15) с возможностью смещения в осевом направлении.

5. Устройство по п.4, отличающееся тем, что соединительная втулка (22) установлена с возможностью прижатия в осевом направлении прижимной пружиной (29) к посадочной поверхности (20).

6. Устройство по п.4 или 5, отличающееся тем, что соединительная втулка (22) установлена соосно с соединительной муфтой (26) и/или соединительная муфта (26) снабжена наружным демпфирующим кольцом (34), действующим в осевом направлении.

7. Устройство по п.1, отличающееся тем, что корпус (2) соединен с держателем (11) посредством подвески (46) с возможностью поворота относительно оси (47), перпендикулярной продольной оси (4) корпуса (2).

8. Устройство по п.1, отличающееся тем, что концевая часть (23) корпуса (2), обращенная к держателю (11), содержит фиксатор (51), выполненный в виде звездочки для соединительного штуцера (21).

9. Устройство по п.1, отличающееся тем, что распылитель (7) соединен с возможностью вращения с соединительным штуцером (21) в начальной зоне (54), направленной к держателю (11), и/или с аксиальной опорой в концевой зоне (59), направленной от держателя (11), на опорную цапфу (60), установленную на концевом диске (61), закрывающим соответствующий конец корпуса (2).

10. Устройство по п.1, отличающееся тем, что посадочная поверхность (20) снабжена снаружи кольцевой отбортовкой (64), выполненной с зазором в радиальном направлении, с увеличивающимся поперечным сечением, при увеличении зазора до посадочной поверхности (20), и/или соединительная втулка (22) имеет сужающуюся концевую зону (65), расположенную соосно с посадочной поверхностью (20) и прилегающей к ней концом (66).