Приспособление, зарядное устройство и способ заряжания скважины взрывчатым веществом

Иллюстрации

Показать все

Группа изобретений относится к взрывному разрушению горных пород, в частности к способам заряжания скважин взрывчатым веществом. Приспособление содержит вместилище для приема взрывчатого вещества и анкерный узел. Вместилище приспособлено для его наполнения взрывчатым веществом извне скважины. Анкерный узел расположен на внешней поверхности вместилища и приспособлен для закрепления гибкого вместилища в скважине и разделения вместилища, когда оно наполнено взрывчатым веществом, и стенки скважины. Повышается эффективность взрывной отбойки. 4 н. и 13 з.п. ф-лы, 4 ил.

Реферат

Область техники, к которой относится изобретение

Настоящее изобретение относится к приспособлению, в частности к приспособлению для размещения взрывчатого вещества. Кроме того, изобретение относится к зарядному устройству. Изобретение относится также к способу заряжания скважины взрывчатым веществом.

Уровень техники

Взрывные патроны могут использоваться во многих областях техники для разрушения любых типов скальных, породных массивов, бетонов или подобных материалов.

В публикации GB 1281946 раскрыт взрывной патрон, содержащий оболочку с электропроводящими концевыми участками. Воспламенение заряда предусмотрено детонирующим шнуром или электрической дугой. Провод или дуга могут быть замкнуты накоротко путем помещения отрезка удаляемой фольги между электропроводящими участками. Отдельные патроны можно соединять между собой замками, резьбовыми соединениями, втулками или штыковыми соединениями (байонетами). Оболочка может быть выполнена из пластмассы, картона или намотанной бумажной полосы. Проводящие участки содержат фольгу; лак включает в себя проводящий металл, графитный порошок или сажу; или металл, нанесенный химическим, электролитическим методами, напылением в вакуумной камере либо катодным напылением.

При подрыве взрывного патрона в скважине образуются трещины и осколки материала во всех направлениях вокруг скважины. При выполнении обычного взрыва в горнодобывающей выработке такой взрыв не вызывает серьезных проблем, так как расколовшуюся стену после взрыва можно обрушить с помощью механического оборудования и таким образом сделать ее безопасной для следующего взрыва.

В ситуациях же, когда взрыв осуществляется вдоль окончательной стенки из породы или когда при подземном взрыве целью является как можно более качественное создание (оставление) тупиковой боковой стенки, сильное радиальное растрескивание по всей окружности скважины является проблемой. Количество и длина трещин, создаваемых зарядом взрывчатого вещества в скважине, зависит, среди прочих факторов, от давления, возникающего во время детонации.

Раскрытие изобретения

В основу изобретения была положена задача разработки приспособления и способа, позволяющих выполнять взрывную отбойку точно по заданному контуру выработки в наземных и подземных применениях.

Для решения поставленной задачи предлагаются приспособление, зарядное устройство и способ заряжания или частичного заряжания скважины взрывчатым веществом, охарактеризованные в независимых пунктах формулы изобретения.

Предлагаемое в изобретении приспособление для приема, или размещения, взрывчатого вещества (приемное приспособление) содержит вместилище для приема взрывчатого вещества и анкерный узел, причем вместилище приспособлено для его наполнения взрывчатым веществом извне скважины, а анкерный узел расположен на внешней поверхности вместилища и приспособлен для закрепления гибкого вместилища в скважине и для разделения вместилища, когда оно наполнено взрывчатым веществом, и стенки скважины. В частности, в качестве взрывчатого вещества может использоваться бестарное взрывчатое вещество или патронированное взрывчатое вещество в форме так называемых взрывных патронов.

Предлагаемое в изобретении зарядное устройство включает в себя вышеупомянутое приспособление и продолговатый контейнер, в котором расположено приспособление. В частности, продолговатый контейнер может иметь цилиндрическую форму и/или может содержать либо может быть выполнен из стали или термореактивной пластмассы.

Предлагаемый в изобретении способ заряжания или частичного заряжания скважины взрывчатым веществом включает введение в скважину вышеупомянутого приспособления и загрузку приспособления взрывчатым веществом извне скважины. В частности, загрузка приспособления взрывчатым веществом может осуществляться путем закачивания либо пневмотранспорта взрывчатого вещества, такого как бестарное взрывчатое вещество или взрывные патроны. Таким образом, взрывчатые вещества могут гибко выбираться из широкого спектра возможных взрывчатых веществ. Для вышеупомянутого закачивания может использоваться дополнительный шланг или трубопровод.

Предлагаемый в изобретении способ заряжания скважины взрывчатым веществом включает введение в скважину предлагаемого в изобретении зарядного устройства, загрузку приемного приспособления зарядного устройства взрывчатым веществом и удаление продолговатого контейнера. В частности, способ может также включать в себя фиксацию загружающего взрывчатое вещество элемента на продолговатом контейнере. Например, для фиксации загружающего взрывчатое вещество элемента на продолговатом контейнере может использоваться фиксатор. В частности, наполнение или загрузка приспособления взрывчатым веществом может выполняться в процессе извлечения продолговатого контейнера, т.е. одновременно с ним, и/или загрузка приспособления взрывчатым веществом сама может вызывать удаление продолговатого контейнера или выход (выдавливание) наполненного взрывчатым веществом приспособления из продолговатого контейнера например, при закачивании взрывчатых веществ в приспособление приложением относительно высокого давления.

Оснащение предлагаемого в изобретении приспособления анкерным узлом делает возможным закрепление вместилища на заданном расстоянии от стенки скважины, например делает возможным его установку по центру (центрирование), обеспечивающее расположение вместилища по центру скважины. В частности, вместилище и анкерный узел могут быть образованы двумя отдельными элементами. Например, анкерный узел может быть образован элементом, устанавливаемым поверх вместилища или надеваемым на него, и может быть соединен с вместилищем, например, склеиванием. Кроме того, анкерный узел может быть приспособлен для разделения взрывчатого вещества и стенки скважины. То есть анкерный узел может использоваться для обеспечения промежутка между стенкой скважины и наполненным вместилищем, эффективно отделяя их друг от друга. В частности, это обеспечивает исключение прямого контакта стенки вместилища со стенкой скважины. Поскольку исследования показали, что обеспечение зазора, например кольцеобразного зазора, между взрывчатым веществом, которым может наполняться вместилище, и стенкой скважины может сильно снизить степень разрушения и дробления материала, создаваемого взрывом, закрепление вместилища в скважине способно обеспечить взрывную отбойку точно по заданному контуру выработки в наземных и подземных применениях, таких, например, как разработка месторождений, строительство или проходка туннелей. Использование вместилища, которое может быть приспособлено для заполнения взрывчатым веществом и которое имеет анкерный узел, прикрепленный к вместилищу, может быть эффективным способом обеспечения взрывной отбойки точно по заданному контуру выработки при наземном и подземном применении даже в наклонных скважинах с большим углом наклона или даже в вертикальных скважинах. В частности, использование предлагаемого в изобретении приспособления может иметь преимущества перед частичным заполнением скважины бестарными взрывчатыми веществами, т.е. взрывчатыми веществами, не находящимися в оболочке или патроне, которое может осуществляться путем вытягивания зарядного шланга во время заряжания с большей скоростью, чем скорость заполнения скважины взрывчатым веществом, поскольку это может быть выполнено в основном только для горизонтальных либо слабо наклоненных скважин. В частности, использование предлагаемого в изобретении приспособления может также иметь преимущества перед использованием взрывных патронов малого диаметра (примерно от 20 до 25 мм), которые заряжаются в скважины диаметром от 40 до 50 мм, что также приводит к тому, что скважины наполнены взрывчатым веществом лишь частично. Использование предлагаемого в изобретении приспособления может быть более эффективным для обеспечения того, что скважина заполнена взрывчатым веществом лишь частично для снижения взрывного давления внутри скважины, что обеспечивает уменьшение растрескивания вокруг скважины. В частности, в одном варианте осуществления можно построить непрерывную колонну, наполненную взрывчатым веществом.

Кроме того, использование приспособления, имеющего анкерный узел, позволяет предотвращать контакт вместилища, например взрывного патрона, колонны подачи эмульсии или трубчатого элемента, наполненных бестарными взрывчатыми веществами, с участками стенки скважины и даже может обеспечить центрирование наполненного подрывным зарядом вместилища внутри скважины, что гарантирует разделение подрывного заряда и стенки скважины. Кроме того, использование предлагаемого в изобретении приспособления позволяет добиться более равномерной степени наполнения скважины даже в тяжелых и неоднородных условиях, чем достигается более стабильное разделение. К тому же при использовании предлагаемого в изобретении приспособления поперечное сечение заряда может быть более постоянным по сравнению с традиционным применением бестарного взрывчатого вещества. Таким образом, изобретение также позволяет достигать постоянства условий детонации, так что использование предлагаемого в изобретении приспособления снижает риск прерывания детонации внутри скважины вследствие непостоянства поперечного сечения.

В частности, наличие по меньшей мере одного анкерного узла способно снизить риск вымывания взрывчатого вещества из вместилища, наполненного им, и/или самого вместилища при использовании приспособления в водоносных слоях.

Кроме того, использование предлагаемого в изобретении приспособления способно снизить риск перекрытия вместилищ малого диаметра в скважинах с большим диаметром, что может ухудшить эффект разделения, или риск появления зазора между вместилищами, что может привести к прекращению детонации, поскольку предлагаемое в изобретении приспособление оснащено анкерным узлом, который способен зафиксировать положение вместилищ относительно друг друга.

Термин "вместилище", в частности, может обозначать элемент, приспособленный для наполнения взрывчатым веществом. Таким образом, взрывной патрон не может рассматриваться в этом смысле как "вместилище", поскольку взрывной патрон уже заполнен взрывчатым веществом, но он может использоваться для загрузки вместилища.

Далее рассматриваются предпочтительные варианты выполнения предлагаемого в изобретении приспособления. Вместе с тем эти варианты также относятся к зарядному устройству и к способам заряжания скважины взрывчатым веществом.

В одном варианте осуществления изобретения вместилище выполнено гибким. В частности, такое вместилище может быть складным.

Гибкое вместилище может быть особенно подходящим для наполнения взрывчатым веществом с обеспечением равномерного наполнения скважины. В частности, наличие складного вместилища позволяет разместить приспособление в сложенном состоянии в контейнере, который можно легко ввести в скважину, а затем, после установки приспособления в скважине, извлекать из скважины таким образом, что сложенное вместилище будет раскладываться в процессе извлечения контейнера.

В другом варианте выполнения приспособления анкерный узел является центрирующим узлом. В частности, приспособление может содержать несколько центрирующих узлов. Один или несколько центрирующих узлов могут быть приспособлены для центрирования вместилища в отверстии, скважине и т.п. Кроме того, один или несколько центрирующих узлов могут быть приклеены, приварены либо привулканизированы к внешней поверхности вместилища, например гибкого шланга.

Благодаря центрированию вместилища в скважине становится возможным обеспечение максимального разделения вместилища и стенки скважины, что позволяет уменьшить дробление материала (фрагментацию) и разрушения вокруг скважины.

В другом варианте выполнения приспособления вместилище выполнено в виде гибкого шланга, в частности, выполненного из пластмассы. В особенности гибкий шланг может быть выполнен из тонкого полимерного материала, способного выдержать давление в несколько бар, например в диапазоне от 5 до 15 бар, в частности около 10 бар, и/или способного выдержать силу тяжести, действующую на сам наполненный шланг, например в случае, если наполненный шланг располагается в вертикальной скважине, где сила тяжести может достигать 20 кН, в частности около 10 кН. Подходящая толщина пластмассового шланга или пленки может составлять порядка десятых долей миллиметра, например пластмассовая пленка может иметь толщину между 0,1 и 2 мм, в частности около 0,5 мм. Длина вместилища, например пластмассового шланга или любой другой подходящей емкости либо трубчатого элемента наподобие шланга или цилиндрической емкости, может выбираться из расчета, что она должна быть больше длины скважины, заряжаемой этим пластмассовым шлангом, примерно на 20 см. Например, длина вместилища может составлять от 0,1 до 100 м, в частности от 1 до 30 м. Ввиду большой возможной длины вместилища его можно также назвать бесконечным или непрерывным вместилищем. В случае применения пластмассового шланга он может храниться на бобине, с которой шланг может разматываться путем закачивания в него взрывчатых веществ.

В другом варианте выполнения предлагаемого в изобретении приспособления анкерный узел выполнен в виде упругого элемента. В частности, каждый анкерный узел может содержать центральную кольцевую часть, выполненную с возможностью расположения в ней вместилища, и упругую часть, выполненную с возможностью фиксации вместилища в скважине. Подходящими для упругого элемента материалами могут служить сталь или пластмасса, обладающая способностью к упругой деформации, достаточной для того, чтобы упругий элемент действительно работал, как пружина, т.е. после деформации возвращался в исходное положение. В частности, может быть предусмотрено множество узлов или элементов, установленных или закрепленных на вместилище, например пластмассовом шланге. Анкерные узлы могут отстоять друг от друга на расстоянии от 5 см до 2 м, в частности от 10 см до 1 м.

В другом варианте выполнения приспособления упругая часть образована несколькими стержневидными элементами. В частности, стержневидные элементы могут быть выполнены в виде элементов жесткости, пружин, распорных лап или брусков, содержащих металл или пластмассу и/или выполненных из них. В общем термин "упругая часть" может, в частности, обозначать любой элемент, приспособленный к тому, чтобы находиться в состоянии предварительного напряжения и раскрываться для фиксации вместилища в скважине. К примеру, каждый анкерный узел может содержать от трех до десяти распорных лап, в частности минимум три или шесть, причем распорные лапы могут быть равноудалены друг от друга по окружности кольцевой части, т.е. угловое расстояние между любыми соседними распорными лапами может быть постоянным, например в случае трех распорных лап угловое расстояние между каждыми двумя из них равно 120°.

В другом варианте выполнения приспособления оно также содержит боевик (промежуточный детонатор), причем боевик закреплен на вместилище. В частности, боевик может быть закреплен на конце вместилища таким образом, что этот конец уплотнен боевиком. Например, боевик может быть приклеен к одному концу вместилища, образованного шлангом, таким образом, чтобы уплотнить (закупорить) этот конец. В частности, боевик может иметь отверстие, приспособленное для размещения детонатора. Боевик может содержать или быть выполнен из легко взрывающегося вещества, например из тринитротолуола или из пентаэритриттетранитрата. Наличие такого боевика может быть достаточной мерой для обеспечения механизма зажигания, что устраняет необходимость какой-либо дополнительной подготовки заряда взрывчатого вещества. Это делает предлагаемое в изобретении приспособление настолько простым в применении, что его сможет использовать даже лицо невысокой квалификации.

В другом варианте выполнения приспособления анкерный узел приспособлен для разделения взрывчатого вещества и стенки скважины.

Далее рассматриваются варианты выполнения зарядного устройства. Вместе с тем эти варианты также относятся к приспособлению и к способам заряжания скважины взрывчатым веществом.

В одном варианте выполнения зарядного устройства продолговатый контейнер имеет две стенки, расположенные концентрично друг к другу, так что приспособление размещено по существу между этими двумя стенками. В частности, эти стенки могут иметь цилиндрическую форму. Точнее, вместилище, анкерные узлы или анкерные элементы располагаются в пространстве, образованном между двумя стенками. То есть внешняя стенка имеет больший диаметр, в то время как внутренняя имеет меньший диаметр, так что между двумя стенками образуется пространство, в которое может быть помещено приспособление. Толщина стенок контейнера, который можно также назвать защитным контейнером, может составлять от 0,1 до 10 мм, в частности от 0,5 до 5 мм, и например от 1 до 3 мм. Предпочтительно, чтобы наружный размер или диаметр продолговатого контейнера был в достаточной мере меньше диаметра скважины, чтобы при заряжании скважины отделенным от нее зарядом он легко вводился в скважину.

В другом варианте выполнения зарядного устройства приспособление размещено между двумя стенками таким образом, что анкерный узел находится в предварительно напряженном состоянии. В частности, термин "находится в предварительно напряженном состоянии" может означать то, что анкерный или центрирующий узел или узлы, например упругая часть или деталь, такая как пружина или упругие бруски, предварительно напряжен, располагаясь между стенками, а при извлечении продолговатого контейнера восстанавливает свою форму, и таким образом центрирующий узел освобождает пространство между двумя стенками. В частности, можно провести различие между предварительно напряженным состоянием и нейтральным или восстановленным состоянием.

В другом варианте выполнения зарядное устройство также содержит загрузочный элемент, приспособленный для загрузки в приспособление взрывчатого вещества. В частности, загрузочный элемент может представлять собой шланг. Этот шланг загрузки взрывчатого вещества может быть приспособлен для введения внутрь приспособления либо в пространство, образованное внутренней стенкой цилиндрического контейнера.

В еще одном варианте выполнения зарядное устройство также имеет фиксатор загрузочного элемента, приспособленный для фиксации загрузочного элемента на продолговатом контейнере.

Подытоживая раскрытие изобретения, оно позволяет осуществлять максимально эффективный процесс взрывной отбойки точно по заданному контуру выработки за счет заполнения бестарным взрывчатым веществом зарядного устройства, которое можно назвать зарядным устройством непрерывной детонации (CONT-BLAST). Зарядное устройство CONT-BLAST может включать в себя складной пластмассовый шланг, расширяющиеся центрирующие узлы, боевик и цилиндрический защитный контейнер. При заряжании скважины бестарным взрывчатым веществом при помощи зарядного устройства CONT-BLAST, в частности извне скважины, формируется непрерывная цилиндрическая на 100% отделенная от стенки скважины колонна взрывчатого вещества, которая может быть автоматически отцентрирована в скважине. Диаметр заряда, формируемого в скважине, может быть легко подобран к желаемому отношению разделения путем изменения диаметра складного пластмассового шланга. Складной пластмассовый шланг может быть выполнен из любого вида тонкой пластмассы, способной выдержать давление закачки порядка нескольких бар и тянущие усилия, действующие на шланг в вертикальных скважинах. Длина пластмассового шланга может превышать глубину заряжаемой скважины примерно на 20 см и составлять, например, от 1 до 30 м. На внешней поверхности шланга из тонкой пластмассы с интервалом от 10 до 100 см могут располагаться маленькие расширяющиеся центрирующие узлы (центраторы), способные центрировать пластмассовый шланг, наполненный взрывчатым веществом, внутри скважины. Расширяющиеся узлы могут иметь такую конструкцию, чтобы удерживать пластмассовый шланг от вытягивания из скважины во время наполнения и от соскальзывания вглубь скважины под действием сил тяжести. На дне зарядного устройства CONT-BLAST может быть расположен боевик с маленьким отверстием для установки детонатора перед наполнением взрывчатым веществом. Боевик может быть прикреплен, например приклеен, к складному пластмассовому шлангу. Складной пластмассовый шланг и расширяющиеся центрирующие узлы могут до зарядки взрывчатыми веществами храниться внутри защитного контейнера.

Описанные выше и другие особенности изобретения поясняются ниже на примере варианта осуществления изобретения. Необходимо учитывать, что элементы и аспекты, описанные применительно к различным вариантам осуществления изобретения, могут комбинироваться.

Краткое описание чертежей

Настоящее изобретение подробно рассматривается ниже на примере варианта его осуществления со ссылками на чертежи, на которых показано:

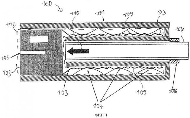
на фиг.1 - схематичный вид предлагаемого в изобретении зарядного устройства,

на фиг.2 - схематичный вид расширяющихся центрирующих узлов, которые могут использоваться в предлагаемом в изобретении приспособлении,

на фиг.3 - схематичное изображение скважины, заряженной взрывчатым веществом с помощью предлагаемого в изобретении зарядного устройства.

Осуществление изобретения

Изображения на чертежах выполнены схематично. На разных чертежах однотипные или одинаковые элементы обозначены подобными или одинаковыми номерами позиций.

Ниже описывается изображенное на фиг.1 зарядное устройство 100. На фиг.1 схематично приведен вид в продольном разрезе зарядного устройства 100, имеющего цилиндрический защитный контейнер 101. В цилиндрическом защитном контейнере 101 расположено приспособление 102, содержащее складной пластмассовый шланг 103, расширяющиеся или упругие центрирующие узлы 104 и боевик 105. Расширяющиеся центрирующие узлы 104 и боевик 105 присоединены, например приклеены, к складному пластмассовому шлангу 103. В боевике 105 выполнено детонаторное отверстие 106, приспособленное для размещения детонатора для воспламенения боевика 105. Как показано на фиг.1, складной пластмассовый шланг 103 и расширяющиеся центрирующие узлы 104 расположены между двумя стенками цилиндрического защитного контейнера 101 таким образом, что расширяющиеся центрирующие узлы 104 сжаты и находятся в предварительно напряженном состоянии. Кроме того, на фиг.1 показан шланг 107 загрузки взрывчатого вещества, прикрепленный к цилиндрическому защитному контейнеру 101 с помощью фиксатора 108 загрузочного шланга. Узел 107 загрузки взрывчатого вещества вставлен между внутренними стенками 109, изображенными в разрезе на фиг.1 и образованными внутренней цилиндрической поверхностью цилиндрического защитного контейнера 101. Шланг 107 загрузки взрывчатого вещества может использоваться для загрузки складного пластмассового шланга 103 взрывчатым веществом, как показано стрелкой 110.

На фиг.2 в увеличенном масштабе схематично изображен расширяющийся центрирующий узел 104. На фиг.2а изображен поперечный разрез расширяющегося центрирующего узла 104. Расширяющийся центрирующий узел 104 содержит центральную кольцевую часть 211 и несколько распорных лап 212, выступающих из центральной кольцевой части 211. На фиг.2а изображены три распорные лапы 212, но в принципе возможно любое подходящее их количество, например шесть или даже больше. Предпочтительно же, чтобы количество распорных лап было не меньше трех. На фиг.2б схематично изображен продольный разрез расширяющегося узла 104, а также центральная кольцевая часть 211 и несколько распорных лап 212. Распорные лапы 212 приклеены, припаяны либо привулканизированы к складному шлангу 104 и могут быть изготовлены из стали или пластмассы с высокой способностью к упругой деформации.

На фиг.3 изображено зарядное устройство 100, показанное на фиг.1, после введения в скважину и загрузки взрывчатым веществом. Таким образом, на фиг.3 изображена скважина 313 в горной породе 314. В скважину 313 введено зарядное устройство 100, однако поскольку приспособление 102 уже наполнено взрывчатым веществом, цилиндрический защитный контейнер 101, изображенный на фиг.1, извлечен из скважины. Складной пластмассовый шланг 103 приспособления 102 загружен взрывчатым веществом 315. Поскольку цилиндрический защитный контейнер 101, изображенный на фиг.1, извлечен, сжатые расширяющиеся центрирующие узлы 104, также изображенные на фиг.1, разжимаются и тем самым фиксируют приспособление в стволе скважины 313. При этом, в частности, складной пластмассовый шланг 103 центрируется в скважине 313. Кроме того, в детонаторное отверстие 106 боевика 105 введен детонатор 316. Для воспламенения детонатора 316 к нему прикреплен электрический кабель или так называемая неэлектрическая ударная трубка 317.

Далее поясняются некоторые геометрические размеры и свойства материала зарядного устройства 100. Наружный диаметр защитного контейнера 101 меньше диаметра скважины 313, заряжаемой взрывчатым веществом с зазором от стенки скважины, в достаточной мере для того, чтобы защитный контейнер можно легко ввести в скважину. Стенка защитного контейнера имеет толщину, которая колеблется от 1 до 3 мм, и может быть изготовлена из стали или термореактивной пластмассы. Боевик предпочтительно изготавливать из пентаэритриттетранитрата или тринитротолуола либо из любого другого легко взрывающегося вещества. Боевик имеет несколько меньший диаметр, чем внутренний диаметр защитного контейнера. Таким образом, он может быть вставлен в нижнюю часть защитного контейнера. Боевик приклеен к складному пластмассовому шлангу.

Диаметр складного пластмассового шланга меньше внутреннего диаметра защитного контейнера как минимум на 10 мм. Действительный размер зависит как от диаметра скважины, так и от желаемого отношения разделения, например от отношения диаметра скважины к диаметру заряда взрывчатого вещества. Складной пластмассовый шланг может быть выполнен из прочной тонкой, например толщиной порядка десятых долей миллиметра, полимерной пленки, способной выдерживать давление закачки взрывчатого вещества в несколько бар, а также способной также выдержать тянущие усилия, создаваемые весом взрывчатого вещества во время его загрузки в вертикальную скважину.

Расширяющиеся центрирующие узлы приклеены, припаяны или привулканизированы снаружи к складному пластмассовому шлангу на расстояниях, достаточных для центрирования шланга в скважине во время ее заряжания. Расширяющиеся центрирующие узлы работают подобно пружинам. Они могут быть изготовлены из стали или пластмассы с высокой способностью к упругой деформации. Они выполнены таким образом, чтобы их можно было сжать и удерживать внутри защитного контейнера. Когда они вытягиваются из защитного контейнера, они разжимаются и упираются в стенку скважины. Обычно они имеют по меньшей мере три или шесть распорных лап, обращенных после разжатия в одном либо в двух направлениях.

Кроме того, шланг загрузки взрывчатого вещества достаточно мал, чтобы иметь возможность проходить внутрь зарядного устройства непрерывного взрыва (зарядное устройство CONT-BLAST). Он крепится к зарядному устройству CONT-BLAST с помощью маленького съемного фиксатора.

Ниже подробнее описаны некоторые принципы работы зарядного устройства CONT-BLAST.

1. В маленькое отверстие в боевике, расположенном внизу зарядного устройства CONT-BLAST, вставляют детонатор, например электрический, неэлектрический или электронный детонатор.

2. В зарядное устройство CONT-BLAST вводят шланг загрузки взрывчатого вещества, подсоединенный к зарядной установке или установке по изготовлению взрывчатого вещества (для эмульсионных взрывчатых веществ или патронов, активируемых или смешиваемых на месте взрывных работ), и фиксируют шланг загрузки взрывчатого вещества в зарядном устройстве с помощью фиксатора.

3. Шланг загрузки взрывчатого вещества вместе с зарядным устройством CONT-BLAST на его переднем конце вводят в скважину до тех пор, пока зарядное устройство не достигнет дна скважины.

4. Внутрь зарядного устройства CONT-BLAST через загрузочный шланг закачивают бестарное эмульсионное взрывчатое вещество, приготовленное с помощью установки по изготовлению взрывчатого вещества.

5. Давление закачки сначала выталкивает из защитного контейнера боевик, и в то же время из защитного контейнера непрерывно вытягивается складной пластмассовый шланг в процессе его наполнения взрывчатым веществом.

6. Через каждые 10-100 см из защитного контейнера складным пластмассовым шлангом вытягивается один центрирующий узел, который разжимается, центрируя внутри скважины складной пластмассовый шланг, наполненный взрывчатым веществом.

7. Когда заряд взрывчатого вещества достигает конца (устья) скважины, складной пластмассовый шланг, имеющий на конце один последний центрирующий узел, полностью вытягивается из защитного контейнера. Теперь скважина наполнена отделенным от ее стенок и отцентрированным зарядом, готовым к подрыву.

8. Загрузочный шланг отсоединяют от пустого защитного контейнера, который может быть использован вновь.

В заключение следует отметить, что предлагаемое в изобретении приспособление для размещения взрывчатого вещества обеспечивает автоматическое центрирование в скважине непрерывного отделенного от стенки скважины заряда взрывчатого вещества, исключая контакт заряда со стенкой скважины, и таким образом идеально разделяет заряд и стенку скважины. Кроме того, отделенный от стенки скважины заряд может иметь по всей своей длине цилиндрическое поперечное сечение, что также достигается в вертикальных и наклонных скважинах. В частности, предлагаемое в изобретении приспособление обеспечивает точную реализацию степени заполнения скважины взрывчатым веществом, соответствующей отношению разделения заряда и стенки скважины, в условиях изготовления взрывчатого вещества. Далее, поперечное сечение заряда взрывчатого вещества может быть цилиндрическим и постоянным, и вследствие этого постоянными могут быть также условия детонации, что позволяет снизить риск прерывания детонации в скважине. Кроме того, контакт между боевиком заряда и отделенным от стенки скважины зарядом может быть полным и идеальным для хорошего инициирования или воспламенения. Благодаря анкерным или центрирующим узлам исключается вымывание взрывчатого вещества из скважины при проведении работ в водоносных слоях и устраняется риск появления разрыва в колонне заряда взрывчатого вещества. Помимо этого описанная система может легко применяться с существующими эмульсионными взрывчатыми веществами и зарядными машинами, а сама система может быть недорогой в изготовлении.

Необходимо учитывать, что понятие "включающий/содержащий" не исключает наличия других элементов или признаков, а употребление элемента или признака в единственном числе не исключает возможности использования нескольких элементов или признаков. Также элементы, описанные применительно к различным вариантам осуществления изобретения, могут комбинироваться. И также необходимо учитывать, что ссылочные обозначения, приведенные в формуле изобретения, не ограничивают объема охраны изобретения, определяемого его формулой.

1. Приспособление для размещения взрывчатого вещества, содержащее вместилище для приема взрывчатого вещества и анкерный узел, причем вместилище приспособлено для его наполнения взрывчатым веществом извне скважины, а анкерный узел расположен на внешней поверхности вместилища и приспособлен для закрепления гибкого вместилища в скважине и разделения вместилища, когда оно наполнено взрывчатым веществом, и стенки скважины.

2. Приспособление по п.1, в котором вместилище выполнено гибким.

3. Приспособление по п.1, в котором анкерный узел является центрирующим узлом.

4. Приспособление по п.1, в котором вместилище выполнено в виде гибкого непроницаемого или перфорированного шланга.

5. Приспособление по п.1, в котором анкерный узел выполнен в виде упругого элемента по типу пружины.

6. Приспособление по п.1, в котором каждый анкерный узел содержит центральную кольцевую часть, выполненную с возможностью расположения в ней вместилища, и упругую часть, выполненную с возможностью фиксации вместилища в скважине.

7. Приспособление по п.6, в котором упругая часть образована несколькими стержневидными элементами.

8. Приспособление по п.1, также содержащее боевик, прикрепленный к вместилищу.

9. Зарядное устройство, включающее в себя приспособление по любому из пп.1-8 и продолговатый контейнер, в котором расположено приспособление.

10. Зарядное устройство по п.9, в котором продолговатый контейнер имеет две стенки, расположенные концентрично друг другу, причем приспособление размещено, по существу, между этими двумя стенками.

11. Зарядное устройство по п.10, в котором приспособление размещено между двумя стенками таким образом, что анкерный узел находится в предварительно напряженном состоянии.

12. Зарядное устройство по п.9, содержащее также шланг загрузки взрывчатого вещества, приспособленный для загрузки в приспособление взрывчатого вещества.

13. Зарядное устройство по п.12, содержащее также фиксатор загрузочного элемента, приспособленный для фиксации загрузочного элемента на продолговатом контейнере.

14. Способ заряжания скважины взрывчатым веществом, включающий введение в скважину приспособления по любому из пп.1-8 и загрузку приспособления взрывчатым веществом.

15. Способ по п.14, в котором в качестве взрывчатого вещества используют бестарное или патронированное взрывчатое вещество.

16. Способ заряжания скважины взрывчатым веществом, включающий введение в скважину зарядного устройства по любому из пп.9-13 и наполнение приспособления взрывчатым веществом в процессе извлечения продолговатого контейнера.

17. Способ по п.16, включающий также фиксацию загружающего взрывчатое вещество элемента на продолговатом контейнере.