Картридж для автоматического инъектора

Иллюстрации

Показать все

Изобретение относится к медицинской технике, а именно к картриджу для автоматического инъектора. Картридж имеет гибкий контейнер, втулку для иглы, иглу и каркас. Гибкий контейнер содержит жидкий медикамент. Втулка для иглы соединена с гибким контейнером. Игла прикреплена к втулке и выступает проксимально из нее. Каркас соединен с втулкой для иглы и имеет проксимальный конец, проходящий проксимально за проксимальный конец иглы. Втулка для иглы и игла способны двигаться относительно каркаса в проксимальном направлении для введения иглы в пациента. Изобретение является простым и надежным, а также снижает риск потери покрытия иглы. 14 з.п. ф-лы, 43 ил., 2 табл.

Реферат

ТЕХНИЧЕСКАЯ ОБЛАСТЬ

Данное изобретение главным образом относится к автоматическому инъектору для инъекции медикаментов пациенту.

УРОВЕНЬ ТЕХНИКИ

Для улучшения процедуры инъекции лекарственных средств желательно упростить процесс введения иглы в место инъекции, введения лекарственного средства и потом помещения иглы в чехол с минимальным усилием для пользователя. Предыдущий уровень техники включает ряд автоматических инъекторов для осуществления этого процесса. Большинство инъекторов предыдущего уровня техники используют стеклянные шприцы либо картриджи как основную емкость для лекарственного средства либо медикамента.

Существует постоянная потребность в улучшенном автоматическом инъекторе, который является простым и надежным в использовании и экономически выгодным в производстве.

ОПИСАНИЕ ИЗОБРЕТЕНИЯ

В одном варианте выполнения картридж для автоматического инъектора имеет гибкий контейнер, содержащий жидкий медикамент. Втулка для иглы соединена с гибким контейнером. Иглу крепят к втулке, и она выступает проксимально из нее. Защитный каркас для иглы соединен с втулкой для иглы и имеет проксимальный конец, проходящий проксимально за проксимальный конец иглы. Втулка для иглы и игла могут двигаться относительно каркаса в проксимальном направлении для введения иглы в пациента.

Картридж может быть сменным картриджем для использования с инъектором.

Картридж может также быть частью одноразового инъектра.

Многочисленные задачи, признаки и преимущества данного изобретения станут легко понятными для специалистов в этой отрасли при чтении последующего описания, беря во внимание сопровождающие чертежи.

КРАТКОЕ ОПИСАНИЕ ЧЕРТЕЖЕЙ

Фиг.1A-1D содержат ряд схематических изображений, иллюстрирующих производство и использование варианта выполнения автоматического инъектора.

Фиг.1А изображает процесс сборки варианта выполнения автоматического инъектора с Фиг.1A-1D.

Фиг.1В изображает готовый к использованию вариант выполнения автоматического инъектора с Фиг.1A-1D.

Фиг.1C изображает промежуточный этап использования варианта выполнения автоматического инъектора с Фиг.1A-1D, в котором игла открыта, как это должно быть при введении ее в тело пациента.

Фиг.1D изображает дальнейший этап использования варианта выполнения автоматического инъектора с Фиг.1A-1D, в котором пружинистая свернутая лента катится по гибкому картриджу для инъекции медикамента.

Фиг.2A-2G содержит ряд последовательных изображений этапов использования автоматического инъектора, использующего сменные картриджи.

Фиг.2А изображает устройство после использования, готовое для повторной загрузки.

Фиг.2В изображает устройство, открытое для удаления использованного картриджа.

Фиг.2С изображает сменный картридж в устройстве.

Фиг.2D изображает устройство, закрытое и готовое к использованию.

Фиг.2Е изображает устройство, как оно выглядит со своим проксимальным концом, приложенным к телу пациента, и активирующим механизмом на его дистальном вдавленном конце.

Фиг.2F изображает устройство с иглой, выступающей из него, когда она появляется во время введения в тело пациента и инъекции медикамента.

Фиг.2G изображает устройство с иглой, отведенной назад в то же состояние, что изображено на Фиг.2А.

Фиг.3 изображает вид с торца варианта выполнения сменного картриджа для автоматического инъектора.

Фиг.4 изображает вертикальную проекцию правой боковой стороны устройства с Фиг.3.

Фиг.5 изображает вид снизу устройства с Фиг.3.

Фиг.6 изображает вид сверху устройства с Фиг.3.

Фиг.7 изображает вид в перспективе устройства с Фиг.3 в разобранном виде.

Фиг.8А-8В содержат ряд последовательных видов в перспективе, показывающих работу устройства с Фиг.3.

Фиг.8А изображает вид в перспективе устройства с Фиг.3, готового к использованию.

Фиг.8В изображает вид в перспективе устройства с Фиг.3, в котором защитный каркас для иглы изображен в разрушенном виде с выступающей из него иглой для введения в пациента и инъекции медикамента.

Фиг.9А-9С содержат вид перспективы с торца защитного каркаса для иглы и втулки для иглы устройства с Фиг.3, показывающий способ, которым разъемный механизм на втулке для иглы разъединяется при открывании крышки устройства.

Фиг.9А изображает соединительный механизм в заблокированном положении до открывания крышки устройства.

Фиг.9В изображает с использованием ориентированных вертикально вниз стрелок приложение при открытии ориентированной книзу силы с помощью двух штифтов (не изображенные) крышки.

Фиг.9С изображает разрушенный защитный каркас для иглы с его элементами, скользящими сквозь втулку для иглы.

Фиг.10 изображает вид в перспективе варианта выполнения автоматического инъектора в разобранном виде для использования со сменными картриджами.

Фиг.11, 13, 15, 17, 19, 21 и 23 содержат ряд последовательных видов в перспективе устройства с Фиг.10, показывающих ряд этапов использования устройства.

Фиг.11 изображает вид в перспективе устройства с Фиг.10 в первом положении до его открытия и до загрузки в него картриджа.

Фиг.12 изображает вид сверху устройства с Фиг.11.

Фиг.12А-А изображает вид вертикального разреза устройства с Фиг.12, проведенного вдоль линии А-А.

Фиг.12В-В изображает вид вертикального разреза устройства с Фиг.12, проведенного вдоль линии В-В.

Фиг.14А-А изображает вид вертикального разреза устройства с Фиг.14, проведенного вдоль линии А-А.

Фиг.14В-В изображает вид вертикального разреза устройства с Фиг.14, проведенного вдоль линии В-В.

Фиг.15 изображает вид в перспективе устройства с Фиг.10 в третьем положении с помещенным в нем картриджем.

Фиг.16 изображает вид сверху устройства с Фиг.15.

Фиг.16А-А изображает вид вертикального разреза устройства с Фиг.16, проведенного вдоль линии А-А.

Фиг.16В-В изображает вид вертикального разреза устройства с Фиг.16, проведенного вдоль линии В-В.

Фиг.17 изображает вид в перспективе устройства с Фиг.10 в четвертом положении с картриджем и закрытой крышкой.

Фиг.18 изображает вид сверху устройства с Фиг.17.

Фиг.18А-А изображает вид вертикального разреза устройства с Фиг.18, проведенного вдоль линии А-А.

Фиг.18В-В изображает вид вертикального разреза устройства с Фиг.18, проведенного вдоль линии В-В.

Фиг.19 изображает вид в перспективе устройства с Фиг.10 в пятом положении, в котором игла выступает из устройства во время введения в тело пациента, но до инъекции медикамента пациенту.

Фиг.20 изображает вид сверху устройства с Фиг.19.

Фиг.20А-А изображает вид вертикального разреза устройства с Фиг.20, проведенного вдоль линии А-А.

Фиг.20В-В изображает вид вертикального разреза устройства с Фиг.20, проведенного вдоль линии В-В.

Фиг.21 изображает вид в перспективе устройства с Фиг.10 в шестом положении после инъекции медикамента пациенту. Отмечается, что Фиг.21 совпадает с Фиг.19, но положения внутренних компонентов изменены.

Фиг.22 изображает вид сверху устройства с Фиг.21.

Фиг.22А-А изображает вид вертикального разреза устройства с Фиг.22, проведенного вдоль линии А-А.

Фиг.22В-В изображает вид вертикального разреза устройства с Фиг.22, проведенного вдоль линии В-В.

Фиг.23 изображает вид в перспективе варианта выполнения устройства с Фиг.10 в седьмом положении, в котором игла отведена назад в устройство.

Фиг.24 изображает вид сверху устройства с Фиг.23.

Фиг.24А-А изображает вид вертикального разреза устройства с Фиг.24, проведенного вдоль линии А-А.

Фиг.24В-В изображает вид вертикального разреза устройства с Фиг.24, проведенного вдоль линии В-В.

Фиг.25 изображает вид в перспективе варианта выполнения автоматического инъектора, разработанного для одноразового использования, в разобранном состоянии.

Фиг.26А-26Н изображают несколько вариантов размера и формы гибкого контейнера для лекарственных средств. Фиг.26А изображает контейнер относительно малого объема. Фиг.26В изображает контейнер относительно большого объема. Фиг.26С изображает сдвоенные параллельные контейнеры, которые позволяют во время инъекции смешиваться двум лекарственным средствам. Фиг.26D изображает последовательно расположенные сдвоенные контейнеры, которые во время инъекции позволяют смешивать два лекарственных компонента. Фиг.26Е-Н изображают несколько вариантов профилированного контейнера, который влияет на скорость введения медикамента.

Фиг.27 изображает схематический вид в перспективе варианта выполнения инъектора, имеющего зафиксированный в продольном направлении ролик.

Фиг.28 изображает схематический вид в перспективе иного варианта выполнения инъектора, имеющего зафиксированный в продольном направлении ролик.

Фиг.29 изображает схематический вид в перспективе иного варианта выполнения инъектора, имеющего зафиксированный в продольном направлении ролик.

Фиг.30 изображают схематический вид в перспективе иного варианта выполнения инъектора, имеющего зафиксированный в продольном направлении ролик.

Фиг.31А и 31В схематически изображают два положения альтернативного насосного устройства, включающего пневматический баллонный насос.

Фиг.32А и 32В схематически изображают два положения альтернативного насосного устройства, имеющего пару магнитов на противоположных сторонах гибкого контейнера.

Фиг.33A и 33В схематически изображают два положения альтернативного насосного устройства, имеющего электромагнит и притягиваемую магнитом массу.

Фиг.34А и 34В схематически изображают два положения альтернативного насосного устройства, имеющего источник гидростатического давления, соединенный с внутренней частью гибкого контейнера.

Фиг.35 изображает вид сверху картриджа, содержащегося во вспомогательной упаковке.

Фиг.36 изображает вид сбоку упаковки с Фиг.35.

Фиг.37 изображает вид разреза упаковки с Фиг.35, проведенного вдоль линии 37-37.

Фиг.38 изображает вид сверху картриджа в ином варианте выполнения вспомогательной упаковки.

Фиг.39 изображает упаковку с Фиг.38 с отогнутой крышкой.

Фиг.40 изображает вид сбоку упаковки с Фиг.39.

Фиг.41 изображает вид сверху одноразового инъектора, содержащегося во вспомогательной упаковке.

Фиг.42 изображает вид сверху одноразового устройства, имеющего прозрачное окно, закрытое выдвижной полоской.

Фиг.43 изображает устройство с Фиг.42 после выдвижения выдвижной полоски для открытия картриджа с помощью прозрачного окна.

НАИЛУЧШИЙ ВАРИАНТ ВЫПОЛНЕНИЯ ИЗОБРЕТЕНИЯ

Вариант выполнения с Фиг.1A-1D

Фиг.1A-1D схематически изображают один вариант выполнения автоматического инъектора.

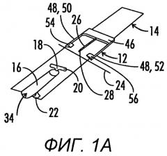
Фиг.1А схематически изображает этап сборки автоматического инъектора 10, более полная конструкция которого изображена на Фиг.1В. На Фиг.1А, вспомогательная сборная конструкции 12 для иглы лежит на плоском участке гибкой основы 14.

Гибкая основа 14 начинается с плоского гибкого листа материала, который может быть, например, полимерным материалом и может иметь ламинированный металлический слой, как описано ниже. Емкость 16 для содержания лекарственного средства, которая также может называться гибким контейнером 16, сформирована блистерным способом в плоском гибком листе. Также в листе сформированы сужающийся книзу проход 18, канал 20 и отверстие 22 для крови.

На Фиг.1В основа 14 сложена по линий 24 изгиба, а плоские участки гибкого основания сварены в местах их соединения. Также сужающийся книзу проход 18, который можно назвать горлышком 18, загерметизирован для изоляции иглы 26 и закрывания емкости 16 для содержания лекарственного средства на ее проксимальном конце.

Отмечается, что в этом описании термин "проксимальный" обозначает конец устройства, который расположен наиболее близко либо контактирует с пациентом, когда устройство используется для инъекции медикамента в тело пациента. Таким образом, острый конец 28 иглы 26 называется проксимальным концом иглы 26. Подобным образом, проксимальный конец устройства 10 обозначен цифрой 30. Соответственно, дистальный конец устройства 10 обозначен цифрой 32.

После складывания основы 14 и сваривания плоских участков и горлышка 18 емкость 16 для содержания лекарственного средства заполняется лекарственным средством либо медикаментом, который вводят сквозь верхний конец 34 все еще открытой емкости 16 для содержания лекарственного средства, потом верхний конец закрывают либо герметизируют, как указано позицией 36 на Фиг.1В.

Потом объем емкости 16 для содержания лекарственного средства немного уменьшается для выпускания остаточного воздуха сквозь отверстие 22 для крови, после чего горлышко 38 отверстия 22 для крови герметизируют для полной герметизации емкости 16 для содержания лекарственного средства.

Потом тыльную сторону основы 14, примыкающую к емкости 16 для содержания лекарственного средства, крепят к распрямленной пружинистой ленте 40, также иногда называемой пружина Tensator 40.

Фиг.1C и 1D схематически изображают два этапа использования устройства 10. На Фиг.1C начато активирование устройства 10 и емкость 16 для содержания лекарственного средства, вспомогательная сборная конструкция 12 для иглы, содержащая иглу 26, передвинуты вперед вдоль оси в проксимальном направлении, вынуждая иглу 26 проходить сквозь переднюю часть 42 материала основы 14 со скоплением избыточного материала, как указано позицией 44, вблизи основания иглы 26. Будет понятно, что это этап активации и проксимальное перемещение емкости для содержания лекарственного средства и вспомогательной конструкции 12 для иглы осуществляется с помощью приводного механизма, который не изображен на Фиг.1A-1D.

На Фиг.1D пружинистая лента 40 освобождена и свернута вперед проксимально в свое естественное свернутое положение. Когда виток пружинистой ленты 40 катится вперед, то он сдавливает гибкую емкость 16 для содержания лекарственного средства и выдавливает содержащееся в ней лекарственное средство сквозь проход 18 и сквозь иглу 26 в пациента. Виток может быть цельным участком 41 рулона пружинистой ленты 40.

Несколько признаков предоставляются единой сборной конструкцией устройства 10, изображенной на Фиг.1А-1D.

Устройство 10 обеспечивает содержание лекарственного средства в гибком контейнере, образованным емкостью 16 для содержания лекарственного средства и охватывающей его гибкой основой 14.

При необходимости могут выбираться свойства материала, выбранного для основы 14, который формирует гибкий барьер вокруг емкости 16 для содержания лекарственного средства.

Свернутая возле вспомогательной конструкции 12 для иглы основа, как это видно на Фиг.1D, обеспечивает стерильность иглы до момента использования устройства 10.

Хрупкая герметизация, сформированная в горлышке 18, обеспечивает хранение иглы в сухом состоянии.

Отверстие 22 для крови предоставляет средство для удаления воздуха во время заполнения.

Предусматривается потенциал, состоящий в присутствии двух емкостей 16 для содержания лекарственного средства, сформированных в основе 14, которая предусматривает вариант лиофилизированного порошка, как, например, это далее обсуждается ниже по отношению к Фиг.26D.

Устройство 10 предусматривает гибкие емкости для заполнения путем выбора размера емкости 16 для содержания лекарственного средства, сформированной в основе 14.

Использование ролика для выдавливания лекарства из гибкой емкости 16 позволяет подачу всего содержимого из емкости 16 сквозь иглу 26.

Устройство 10 является компактным по размеру и относительно низким в цене.

Устройство 10 делает более удобной инъекцию лекарственных средств путем упрощения процесса инъекции лекарственного средства путем введения иглы в место введения лекарства, введения лекарственного средства и потом зачехления иглы с минимальным усилием для пользователя.

Как наилучшем образом видно на Фиг.1А, вспомогательная конструкция 12 для иглы имеет втулку 46 для иглы, которая, как это изображено на Фиг.1В, конструкционно соединена с гибким контейнером 16 с помощью сложенных слоев основы 14 и потоком текучей субстанции соединена с внутренней частью контейнера 16 с помощью прохода 18 и канала 20, который соединен с отверстием (не изображенное) во втулку 46 для иглы, которая в свою очередь соединяется с иглой 26.

Игла 26 прикреплена к втулке 46 и выступает проксимально из нее. Защитный каркас 48 для иглы соединен с втулкой 46 для иглы. Каркас 48 имеет первый и второй разнесенные в поперечном направлении элементы 50 и 52, которые удерживаются на расстоянии от втулки 46 для иглы на противоположных сторонах иглы 26 и выступают проксимально за проксимальный конец 28 иглы 26. Проходящие внутрь выступы 54 и 56 сформированы на проксимальных концах элементов 50 и, соответственно, 52 для помощи в удержании сложенной основы 14, как видно на Фиг.1В. Элементы 50 и 52 удерживают переднюю часть 42 основы 14 на расстоянии от проксимального конца 28 иглы 26.

Когда контейнер 16, втулка 46 для иглы и игла 26 двигаются проксимально вперед из положения с Фиг.1В в положение с Фиг.1C относительно передней части 42 ламинированной основы 14, то элементы 50 и 52 каркаса складываются в соответствии со способом, изображенным на Фиг.1C, для предоставления возможности относительного движения иглы 26 и передней части 42 ламината 14. Втулка 46 для иглы и игла 26 могут передвигаться относительно каркаса 48 в проксимальном направлении для введения иглы 26 в пациента.

Эти участки ламинированного материала 14, сложенного на игле 26 между элементами 50 и 52, как это видно на Фиг.1В, можно называть гибкими чехлами 58 для иглы, соединенными с каркасом 48 и покрывающими иглу 26 для содержания ее в стерильном состоянии до использования. Как изображено, чехол 58 способен разрушаться так, что игла 26 может проходить сквозь него во время проксимального перемещения втулки 46 для иглы и иглы 26 относительно каркаса 48.

Два листа основания 14, формирующих чехол 58 для иглы, могут быть листом эластичного материала 14, сложенного по линии изгиба 24 с формированием двух листовых частей, соединенных между собой вдоль по меньшей мере двух сторон, как указано позициями 60 и 62, при этом две стороны 60 и 62 проходят главным образом параллельно игле 26, которая может быть ориентирована поперек линии изгиба 24.

Гибкий контейнер 16 может изготавливаться из первого и второго слоя гибкого материала 14 основы, соединенных между собой для формирования контейнера 16, при этом первый и второй слой основы 14 дополнительно формируют проходы 18 и 20, соединяющие контейнер 16 с втулкой 46 для иглы.

Как предварительно отмечалось, сужающаяся книзу часть прохода 18 временно закрывается для формирования хрупкой герметизации, временно закрывающей проход 18 для изоляции иглы 26 от медикамента в контейнере 16. Такая хрупкая герметизация формируется соединением частей первого и второго слоя основы 14 так, что они слегка сплавляются вдоль прохода 18, таким образом блокируя его до тех пор, пока давление в контейнере 16 не станет достаточным для разрушения герметизации вдоль сужающейся книзу части прохода 18 путем разъединения двух слоев.

Гибкий контейнер 16 может также иметь первый и второй слой гибкой основы 14, которая может быть эластичной пленкой 14, соединенные между собой по по меньшей мере части периметра контейнера так, что внутренний объем контейнера 16 является вместительным пространством, сформированным между несоединенными частями первого и второго слоя основы 14. Как это видно на Фиг.1В и 1C, контейнер либо вместительное пространство 16 является удлиненным пространством, длину 64 которого главным образом измеряют параллельно его проксимальной/дистальной оси 66, и имеющим ширину 68, измеряемую поперек длины и меньшую, чем длина 64, так, что вместительное пространство 16 имеет две продольные стороны 63 и 65, параллельные направлению измерения длины 64, дистальную сторону 70 и проксимальную сторону 72. Первый и второй слой материала 14 основы соединены между собой на по меньшей мере двух продольных сторонах 63 и 65 и дистальной стороне 70, и два слоя основы 14 дополнительно соединены между собой для формирования проходов 18 и 20, соединяющих проксимальную сторону 72 вместительного пространства 16 с втулкой 46 для иглы.

Пружинистая лента 40 может быть приводной пружиной 40, имеющей цельную роликовую часть 41, которая катится по гибкому контейнеру 16 после переведения иглы 26 в положение, изображенное на Фиг.1C и 1D.

Вариант выполнения Многоразового Устройства с Фиг.2-24

Фиг.2A-2G содержат ряд последовательных иллюстраций, показывающих использование многоразового автоматического иньектора, который главным образом обозначен цифрой 100. Устройство 100 имеет корпус 102, имеющий крышку 104, которая может открываться, как указано на Фиг.2В и 2С, для предоставления возможности удаления и замены картриджа 106.

Картридж

Детали конструкции картриджа 106 видны на Фиг.3-9. Фиг.3 показывает вид проксимального конца картриджа 106. Фиг.4 изображает вертикальный вид правой стороны картриджа 106. Фиг.5 изображает вид снизу картриджа 106. Фиг.6 изображает вид сверху картриджа 106. Фиг.7 изображает вид в перспективе устройства в разобранном состоянии, показывающий компоненты картриджа 106. Фиг.8А и 8В показывают картридж в двух различных рабочих положениях.

Картридж 106 имеет гибкий контейнер 108, который, как это схематически изображено на Фиг.7, содержит жидкий медикамент 110. Как наилучшим образом видно на Фиг.7, гибкий контейнер 108 имеет соединенные между собой первый и второй слой 112 эластичной пленки. Как показано на Фиг.6, слои 112 и 114 пленки соединены между собой по меньшей мере по части периметра емкости, образованного двумя продольными сторонами 116 и 118, дистальной стороной 120 и проксимальной стороной 122. Внутренняя часть гибкого контейнера 108 может быть вместительным пространством, которое образовано между несоединенными частями первого и второго слоя 112 и 114. Такое вместительное пространство является удлиненным пространством, имеющим длину 124, измеряемую главным образом параллельно проксимальной/дистальной оси 128 контейнера 108, и имеющий ширину 130, измеряемую поперек длины и меньшую, чем длина 124, так, что вместительное пространство в контейнере 108 имеет две упомянутые продольные стороны 116 и 118 плюс дистальную сторону 120 и проксимальную сторону 122.

Первый и второй слой 112 и 114 соединены между собой вдоль двух продольных сторон 116 и 118 на участках, указанных позициями 132 и 134, и вдоль дистальной стороны 122 на участке, указанном позицией 136.

Верхний слой пленки 112 имеет канал 138, сформированный в нем, как это наилучшим образом видно на Фиг.7. Канал 138 имеет форму, подогнанную для плотной насадки на дистальный участок центральной части 146 втулки 140 для иглы. Втулка 140 для иглы имеет центральную часть 146, верхний и нижний фиксатор 148 и 150. Верхний и нижний фиксатор 148 и 150 имеют пазы, такие как 176, для приема ребер, таких как ребра 178 центральной части 146 втулки. Верхний и нижний фиксатор 148 и 150 удерживаются вместе гибкими выступами, такими как 180, имеющими проходящие во внутрь выступы, такие как 182, которые защелкиваются под краями, такими как 184, на нижнем фиксаторе 150.

Как это главным образом указано пунктирной линией 142 на Фиг.6, проход 142 соединяет внутреннюю часть контейнера 108 с каналом 138 и таким образом с втулкой 140 для иглы. После наполнения пространства в гибком контейнере 108 медикаментом 110 проход 142 временно герметизируют хрупкой герметизацией 143, которая сформирована спрессовыванием первого и второго слоя 112 и 114 эластичной пленки, и легкой сваркой двух слоев вдоль прохода 142 для временной герметизации медикамента в гибком контейнере 108. Как далее описывается, во время использования устройства 106, ролик будет катиться по гибкому контейнеру 108 от его дистального конца 120 к его проксимальному концу 122, а давление в гибком контейнере 108 будет ломать герметизацию 143 путем разъединения слоев 112 и 114 на участке прохода 142, таким образом позволяя жидкому медикаменту протекать из контейнера 108 сквозь проход 142 и сквозь центральную часть 146 втулки 140 для иглы в иглу 144.

Втулка 140 и игла 144 являются частью вспомогательной конструкции 152 для иглы, которая дополнительно имеет защитный каркас 154 для иглы, соединенный с втулкой 140 для иглы и имеющий проксимальный конец 156, проходящий проксимально за проксимальный конец 158 иглы 144. Как это видно на Фиг.8А и 8В, втулка 140 для иглы и игла 144 могут двигаться относительно каркаса 154 в проксимальном направлении для введения иглы 144 в пациента.

Защитный каркас 154 для иглы имеет первый и второй расположенные на расстоянии друг от друга в поперечном направлении стержни 158 и 160, удерживаемые на расстоянии от втулки 140 для иглы на противоположных сторонах иглы 144 и проходящие проксимально за проксимальный конец 158 иглы 144.

Каркас 154 дополнительно имеет передний стопор 162, состоящий из верхней и нижней фиксируемой половины 164 и 166, проходящих между проксимальными концами стержней 158 и 160 каркаса, для защиты проксимального конца 158 иглы 144, когда игла 144 пребывает в начальном положении, отвечающем положению на Фиг.4-6 и Фиг.8А. Верхняя и нижняя передняя фиксируемая часть 164 и 166 удерживаются вместе упругими стержнями, такими как 185, на верхней фиксируемой части, имеющей проходящий внутрь выступ 188. Как наилучшим образом видно на Фиг.3, передние фиксируемые части имеют выполненные в них выемки, которые формируют отверстие 168 в переднем стопоре 162, сквозь которое проходит игла 144, когда она движется проксимально относительно каркаса 154 для введения ее в пациента. Такое проксимальное перемещение изображено в положении с Фиг.8В, в котором игла 144 прошла сквозь отверстие 168.

Верхняя фиксируемая часть 148 втулки 140 для иглы имеет выполненные в ней сквозное первое и второе цилиндрическое отверстие 169 и 171, в которые с помощью скольжения вставляются цилиндрические стержни 158 и, соответственно, 160.

Как наилучшим образом видно по сравнению с Фиг.8А и 8В, стержни 158 и 160 каркаса скользят сквозь отверстия 169 и 171 втулки 140 для иглы, когда втулка 140 для иглы и игла 144 перемещаются проксимально относительно каркаса 154 для введения иглы 144 в пациента.

Вспомогательная конструкция 152 для иглы преимущественно имеет эластичный чехол 170 для иглы, соединенный либо удерживаемый на расстоянии от каркаса 154 и закрывающий иглу 144 для содержания ее в стерильном состоянии до использования. Чехол 170 для иглы способен разрушаться с тем, чтобы игла 144 могла выходить из него при проксимальном перемещении втулки 140 для иглы и иглы 144 относительно каркаса 154, как изображено на Фиг.8В. Эластичный чехол 170 для иглы преимущественно сформирован из двух слоев эластичной пленки способом, подобным способу, описанному для формирования гибкого контейнера 108 из двух листов 112 и 114. Чехол 170 для иглы имеет отверстие 172 на дистальном конце, которое подобно по размеру и форме отверстию либо вышеописанному каналу 138, при этом проксимальную часть 174 центральной части 146 втулки плотно устанавливают в отверстие 172. Чехол 170 для иглы может формироваться с листа эластичного материала, сложенного по линии 186 с формированием двух листовых частей, соединенных между собой вдоль по меньшей мере двух сторон поперек линии изгиба.

Листы 112 и 114 преимущественно соединяются свариванием листового материала. Сварка может осуществляться подведением тепла, подведением радиочастотной энергии, подведением ультразвуковой энергии, сваркой трением либо любой другой технологией сварки. Альтернативно листы могут соединяться связывающим растворителем либо использованием любого другого пригодного клеящего вещества. Центральная часть 146 втулки преимущественно формируется из пластика и преимущественно соединяется с гибким контейнером 108 и с чехлом 170 для иглы путем приваривания эластичного материала к центральной части 146 втулки.

В любом раскрытом здесь варианте выполнения, в котором два отдельных листа, такие как 112 и 114, соединяются между собой, путем сложения единственного листа может получаться эквивалентная структура. Подобным образом, в любом из раскрытых здесь вариантов выполнения, в котором для формирования двух налегающих слоев складывают единственный лист, эквивалентная структура может получаться двумя соединенными между собой отдельными листами.

Также вместо использования чехла 170 для иглы, созданного из двух листов либо сложенного листа эластичного материала, может использоваться и непосредственно крепиться к втулке 140 для иглы формованная цилиндрическая резиновая либо пластиковая гильза либо патрубок.

Фиг.9А-9С иллюстрируют работу разъемного фиксирующего механизма 188, операбельно соединенного со стержнями 158 и 160 каркаса и втулкой 140 для иглы. Разъемный фиксирующий механизм 188 может фиксировать защитный каркас 154 для иглы в заблокированном положении, как изображено на Фиг.9А, в котором стержни 158 и 160 каркаса предохранены от дистального скольжения относительно втулки 140 для иглы, и в разблокированном положении, как изображено на Фиг.9В и 9С, в котором защитный каркас 154 для иглы имеет возможность дистально скользить относительно втулки 140 для иглы. Разъемный фиксирующий механизм 188 имеет упругие блокировочные плечи 190 и 192, которые в своем неотклоненном положении, как показано на Фиг.9А, вставляются в пазы, указанные позицией 194, на дистальных концах стержней 158 и 160. Когда гибкие плечи 190 и 192 вставляются в пазы 194, они предохраняют стержни 158 и 160 от дистального проскальзывания сквозь втулку 140 для иглы.

Ссылаясь снова на ряд фигур 2A-2G, когда крышка 104 переводится в закрытое положение, как изображено на Фиг.2D, пара штифтов (не изображена) на нижней стороне крышки 194 сцепляется с гибкими плечами 190 и 192 и толкает их вниз, как указано стрелками 196 и 198 на Фиг.9В, для предоставления возможности стержням 158 и 160 скользить дистально, как показано на Фиг.9С.

Эластичные материалы, образующие первый и второй слой 112 и 114 пленки, которые используются для изготовления гибкого контейнера 108, могут выбираться на основании большого количества желательных свойств гибкого контейнера 108. Например, гибкий контейнер 108 может изготавливаться из прозрачного либо полупрозрачного материала с тем, чтобы пользователем могла отслеживаться мера, до которой контейнер 108 заполняется медикаментом. Также материалы, из которых изготавливается контейнер 108, могут выбираться на основании их свойств, касающихся кислородного барьера и барьера для влажности для защиты и сохранения срока пригодности медикамента, содержащегося в контейнере 108. Преимущественно таким материалом, который будет непрозрачным и будет обеспечивать очень высокие барьерные свойства, является эластичный металлический материал, который имеет алюминиевый слой. Могли бы также использоваться другие металлические пленки, слои либо виды фольги. Например, металлический слой мог бы осаждаться в вакууме на нижележащую эластичную основу.

Многочисленные примеры возможных эластичных материалов, из которых могут выбираться первый и второй слой 112 и 114 пленки, приведены в следующей Таблице 1 вместе с некоторыми приближенными свойствами этих материалов, касающихся барьера для кислорода и влаги. В каждом случае продукт является ламинатом из трех материалов.

Таблица 1
Продукт Общая толщина Кислородный барьер (1 мл объем) Барьер от влаги (1 мл объем)
мкм (г/м2/день) частей на миллион (см32/день) частей на миллион
PP/20µ EVOH/PP 160 1,86 1897 0,2 204
PP/40µ EVOH/PP 160 1,93 1969 0,1 102
PP/PET.SIOx/PP 112 0,5 510 0,5 510
РР/23µ PCTFE/PP 100 0,23 235 120 122400
PP/51µPCTFE/PP 100 0,11 112 55 56100
PP/PET.SIOx/PP (Super) 112 0,001 1 0,001 1
Лак/Алюминий/РР 110 0 0 0 0

Аббревиатуры для продуктов в первом столбце Таблицы 1 относятся к следующим материалам:

1. РР является полипропиленом.

2. PCTFE является полихлортрифторэтиленом. Полихлортрифторэтилен является фторполимером, который имеет наилучшие свойства водонепроницаемости среди всех предложенных полимеров. Также известен под торговой маркой ALCAR®, которая является продуктом компании Honeywell.

3. EVOH является этиленвиниловым спиртом. Этиленвиниловый спирт является полимером, который имеет чудесные свойства кислородного барьера, но склонен к переносу влаги и поэтому должен весь защищаться внешними слоями.

4. SIOx является оксидом кремния. Он является очень тонким стеклянным слоем, нанесенным на пленку из полиэтилентерефталата (PET). Процесс нанесения покрытия может осуществляться многими разными способами.

Использование прозрачной либо полупрозрачной пленки для содержания лекарственного средства может быть пригодным для лекарственных средств, которые имеют требование к стабильности слабо растворенного кислорода и малой потери влаги. Оно имеет преимущество, состоящее в том, что возможна визуальная проверка пациентом лекарственного средства во время производства и до инъекции. Недостатком является потенциальная чувствительность к ультрафиолетовому излучению. Многие полимеры, перечисленные в Таблице 1, могут получаться в достаточно прозрачной форме, вследствие чего можно визуально определять уровень жидкого медикамента в контейнере, хотя они могут быть не полностью прозрачными.

Для лекарственных средств, которые имеют более высокие требования к стабильности растворенного кислорода и малой потере влаги, может быть желательна темная упаковочная пленка, имеющая слой фольги, такой как алюминиевая фольга. Такая конфигурация имеет преимущество, состоящее в меньшей чувствительности к ультрафиолетовому излучению. Она имеет недостаток, состоящий в том, что может быть невозможной визуальная проверка пациентом лекарственного средства во время производства до инъекции.

Внешняя Упаковка

Иным вариантом является использование эластичной прозрачной пленки для содержания лекарственного средства, которая герметизирует внутри вторичную упаковку из металлической фольги. Этот вариант пригоден для лекарственных средств, которые отвечают требованиям к стабильности большого количества растворенного кислорода и малой потере влаги. Она имеет преимущество, состоящее в возможности визуальной проверки пациентом лекарственного средства во время производства и до инъекции, и что она менее чувствительна к ультрафиолету. Это решение может также быть пригодным для лекарственных средств, которые имеют требования очень высокой стабильности, то есть если вторичная упаковка герметизируется в атмосфере азота либо содержит кислородопоглощающий материал. Такой вариант выполнения изображен, например, на Фиг.35-37, в котором картридж 106 изображен на месте в упаковке 700 из фольги. Упаковка 700 изготавливается с нижнего слоя 702 и верхнего слоя 704, сплавленных между собой по своей периферии. Верхний слой 704 поднят, как это наилучшим образом видно на Фиг. 36 и 37, для создания внутреннего пространства 710 для хранения картриджа 106. Пазы 706 и 708 выполнены в упаковке 700 так, что он может отрываться по ширине упаковки с тем, чтобы картридж 106 мог удаляться для использования. Упаковка 700 преимущественно изготавливается из металлической фольги, которая будет непроницаемой для влаги и воздуха. Как отмечено, внутренняя часть 710 упаковки может герметизироваться в атмосфере азота либо содержать кислородопоглощающий материал. Гибкий контейнер 108 будет изготавливаться с прозрачного материала так, что во время производства и при удалении из упаковки 700 для использования, его можно визуально проверять для гарантии заполнения его медикаментом, чистоты медикамента и отсутствие частичек.

Другая форма внешней упаковки изображена на Фиг.38-40. В этом случае картридж 106 содержится в темной упаковке 720, которая снова преимущественно изготовлена из металлической фольги, такой как алюминиевая фольга. Упаковка 720 образована нижним слоем 722 и верхним слоем 724, соединенными по своей периферии для формирования внутреннего пространства 726. Окно 728 формируется в верхнем слое 724 и сперва покрывается отрывной лентой 730, как изображено на Фиг.38. Как изображено на Фиг.39 и 40, лента 730 отрывается назад с тем, чтобы картридж 106 был видим и мог удаляться с упаковки. Альтернативно, весь верхний слой может отрываться назад от нижнего слоя.

Оба вышеописан