Инструмент нейтронного каротажа, имеющий источник и мишень, с добавкой дейтериево-тритиевого газа
Иллюстрации
Показать всеИзобретение относится к углеводородной промышленности, более конкретно данное изобретение касается инструментов нейтронного каротажа, используемых при исследовании геологической формации. Сущность изобретения заключается в том, что инструмент нейтронного каротажа содержит генератор нейтронов, включающий в себя смесь газообразного дейтерия и газообразного трития, выбранную так, чтобы генерировать заданное отношение выхода 2,45 МэВ и 14 МэВ нейтронов, причем упомянутое отношение составляет от 10:1 до 2:1; по меньшей мере, два нейтронных детектора, находящихся на расстоянии от упомянутого генератора нейтронов. Технический результат - повышение радиоактивной безопасности при использовании устройства. 4 н. и 17 з.п. ф-лы, 13 ил.
Реферат
1. Область техники, к которой относится изобретение
Настоящее изобретение относится в общем к углеводородной промышленности. Более конкретно данное изобретение касается инструментов нейтронного каротажа, используемых при исследовании геологической формации. Данное изобретение особенно применимо к ускорительным нейтронным каротажным инструментам пористости, хотя не ограничивается этим.
2. Предшествующий уровень техники
Обычные нейтронные каротажные инструменты пористости, такие как CNT (торговая марка Schlumberger) инструмент или инструмент компенсированного нейтронного каротажа, детектируют нейтроны, испускаемые радиоизотопным нейтронным источником, после того, как они проходят сквозь изучаемую формацию. Самые обычные нейтронные источники состоят из радиоактивного америция (241Am), объединенного с бериллием, или AmBe. Альфа-частицы, испускаемые 241Am, реагируют с ядрами бериллия и испускают нейтроны с широким спектром энергии, который охватывает интервал приблизительно 11 МэВ, как видно на фиг.1. Из-за широкого спектра энергии вовлекаются несколько различных транспортных процессов, так как нейтроны из AmBe источника рассеиваются сквозь формацию и теряют энергию. Как видно на фиг.2, для энергий нейтронов выше приблизительно 6 МэВ неупругое рассеяние является преобладающим механизмом потери энергии. Для энергий нейтронов ниже приблизительно 6 МэВ упругое рассеяние от водорода является преобладающим механизмом потери энергии. Таким образом, нейтроны, исходящие из AmBe источника, будут подвергаться и неупругому рассеянию, и упругому рассеянию.
Другие нейтронные источники имеют эмиссионные спектры, отличные от AmBe источника. Например, как видно на фиг.1, радиоактивный калифорниевый источник имеет пик при приблизительно 1 МэВ и излучает мало нейтронов выше 6 МэВ. Ускорительные генераторы нейтронов, такие как ДД (дейтериевый источник - дейтериевая мишень) и ДТ (смешанный дейтериевый/тритиевый источник и мишень, которая обычно обеспечена 50% дейтерия и 50% трития, и сильное взаимодействие дейтерий-тритий), обычно излучают нейтроны одной энергии. Например, ДД генератор нейтронов обычно излучает 2,45 МэВ нейтроны, тогда как ДТ генератор нейтронов обычно излучает 14 МэВ нейтроны. ДТ источники, окруженные дюймовой оболочкой вольфрама (ДТ с замедлителем 1 дюйм (2,54 см) W), имеют спектры, которые демонстрируют эмиссии нейтронов в окне 0-2 МэВ и окне 13-14 МэВ (как видно на фиг.1). В результате нейтроны из калифорниевого и ДД нейтронного источников обычно подвергаются, главным образом, упругому рассеянию, тогда как нейтроны из ДТ и ДТ с замедлителем 1 дюйм (2,54 см) W подвергаются и неупругому, и упругому рассеянию. Следует отметить, что нейтроны из ДТ подвергаются упругому рассеянию после того, как энергии нейтронов сначала снижаются путем неупругого рассеяния.
Для определенных измерений, таких как пористость формации, инструменты, которые используют AmBe источник и два детектора, являются преобладающими на рынке. Однако из-за соображений безопасности, связанных с радиоактивными материалами, далее не желательно применять AmBe в качестве материала источника.
СУЩНОСТЬ ИЗОБРЕТЕНИЯ
Предложены ускорительный генератор нейтронов и инструмент, включающий в себя данный генератор. В одном варианте осуществления данный генераторный источник представляет собой заземленную трубку мишени, содержащую дейтериево-тритиевую газовую смесь, которая обеспечивает заданное отношение 2,45 МэВ и 14 МэВ нейтронов. Согласно одному варианту осуществления данного изобретения мишень генератора расположена на расстоянии приблизительно 22 см от ближнего Не-3 детектора и приблизительно 14,5 см от дальнего Не-3 детектора, и мишень генератора отделена от детекторов посредством водородсодержащего замедлителя нейтронов. Согласно другому варианту осуществления данного изобретения мишень генератора расположена на расстоянии приблизительно 33 см от ближнего Не-3 детектора и приблизительно 52,5 см от дальнего Не-3 детектора, и мишень генератора отделена от детекторов посредством вольфрамового умножителя/отражателя нейтронов.
Согласно одному варианту осуществления данного изобретения заданное отношение 2,45 МэВ и 14 МэВ нейтронов, испускаемых источником нейтронов, составляет от 3:1 до 5:1 и наиболее предпочтительно 4:1.
Согласно другому варианту осуществления данного изобретения данный источник нейтронов выполнен с возможностью генерировать приблизительно 1×107±25% нейтронов/секунду.
Согласно другому варианту осуществления данного изобретения смесь дейтерия и трития в генераторе нейтронов содержит 99,72%±0,07% дейтерия и 0,28%±0,07% трития.
Согласно дополнительному варианту осуществления данного изобретения перед использованием каротажного инструмента, включающего в себя заданную дейтериево-тритиевую смесь данного изобретения, производят калибровочное измерение.
Согласно другому варианту осуществления данного изобретения перед использованием каротажного инструмента, включающего в себя заданную дейтериево-тритиевую смесь данного изобретения, опрашивают базу данных, идентифицирующую данный инструмент, с целью проведения возрастной коррекции.
Согласно одному аспекту данного изобретения инструмент данного изобретения, включающий в себя генератор источника, содержащий заданную дейтериево-тритиевую смесь, функционирует подобно инструменту, использующему AmBe источник, так что полученные результаты формирования отклика могут быть интерпретированы таким же образом, как они были бы интерпретированы для инструмента с AmBe источником, и будут обеспечивать определение заполненной водой пористости (pu) внутри, 6 pu по всему диапазону пористости и менее чем, 3 pu в диапазоне от 0 до 50 pu.
Согласно другому варианту осуществления данного изобретения инструмент с AmBe источником модифицируется путем удаления AmBe источника и замены AmBe источника на генератор нейтронов, имеющий трубку мишени, содержащую дейтериево-тритиевую газовую смесь, которая обеспечивает заданное отношение 2,45 МэВ и 14 МэВ нейтронов.
КРАТКОЕ ОПИСАНИЕ ЧЕРТЕЖЕЙ
Преимущества данного изобретения станут очевидны специалистам в данной области техники при обращении к подробному описанию, рассматриваемому совместно с предложенными чертежами, на которых:
фиг.1 представляет собой график, показывающий относительную скорость эмиссии при разных энергиях нейтронов, генерируемых из AmBe источника, Cf источника, ДД источника, ДТ источника и ДТ источника с 1"W замедлением;
фиг.2 - график, показывающий эффекты неупругого рассеяния и упругого рассеяния в 20 pu песчанике в широком диапазоне энергий нейтронов;
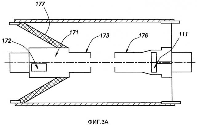
фиг.3 - схематичное изображение первого варианта осуществления генератора нейтронов;
фиг.3А - схематичное изображение нейтронной трубки с заземленной мишенью и плавающим ионным источником, применимой в качестве генератора нейтронов;
фиг.4 - схематичное изображение второго варианта осуществления генератора нейтронов;
фиг.5 - смоделированный график, показывающий отношение ближнего/дальнего потока нейтронов как функцию водородного индекса для инструмента с AmBe источником и для такого инструмента, как инструмент на фиг.4 и 5;
фиг.6 - смоделированный график, показывающий отношение ближнего/дальнего для модели, основанной на AmBe, для разных геологических формаций;
фиг.7а-7с - смоделированные графики отношения ближнего/дальнего от заполненной водой пористости для инструмента на фиг.3, где генератор нейтронов использует дейтерий-дейтериевую (ДД) систему, дейтерий-тритиевую (ДТ) систему и смешанную ДД-ДТ систему соответственно;
фиг.8 - смоделированный график, сравнивающий ближнее-дальнее отношение инструмента с AmBe источником и компоновки источника инструмента на фиг.4 для смешанного ДД-ДТ инструмента;
фиг.9 - смоделированный график отношения ближнего/дальнего от пористости для инструмента с AmBe источником и для инструмента на фиг.4 (смешанный ДД-ДТ источник);
фиг.10 - смоделированные графики истинной пористости от обратной пористости в различных геологических формациях для AmBe источника и компоновки источника инструмента на фиг.4 для смешанного ДД-ДТ источника;
фиг.11 - смоделированные графики истинной пористости от обратной пористости в СаСО3 формации со скважинами различной солености для AmBe источника и компоновки источника инструмента на фиг.4 для смешанного ДД-ДТ источника;
фиг.12 - смоделированные графики истинной пористости от обратной пористости в СаСО3 формации с разным отклонением в скважине для AmBe источника и компоновки источника инструмента на фиг.4 для смешанного ДД-ДТ источника;
фиг.13 - смоделированные графики истинной пористости от обратной пористости в СаСО3 формации с разным размером скважины для AmBe источника и компоновки источника инструмента на фиг.4 для смешанного ДД-ДТ источника.
ПОДРОБНОЕ ОПИСАНИЕ ПРЕДПОЧТИТЕЛЬНЫХ ВАРИАНТОВ ОСУЩЕСТВЛЕНИЯ ИЗОБРЕТЕНИЯ
На фиг.3 проиллюстрировано схематичное изображение первого варианта осуществления каротажного инструмента 100. Первый вариант осуществления будет описан в контексте способа и устройства для каротажа геологической формации 10, пройденной скважиной 12. Каротажный инструмент (устройство или зонд) 100 содержит выдерживающий давление корпус, заключающий в себе нейтронный источник (генератор) 110, первый нейтронный детектор 118 (опционно окруженный алюминиевой гильзой 119) и второй нейтронный детектор 120, оба расположены на расстоянии от нейтронного источника. Вольфрамовый умножитель/отражатель 122 нейтронов расположен между генератором 110 нейтронов и детекторами. За исключением нейтронного источника и умножителя/отражателя, каротажный инструмент 100, по существу, такой же, как показан и описан в патенте США #4794792 от Flaum. Таким образом, в варианте осуществления на фиг.3 первый детектор 118 находится от генератора нейтронов на расстоянии приблизительно 33,0 см (±1 см), тогда как второй детектор 120 находится от генератора нейтронов на расстоянии приблизительно 52,5 см (±2 см). Нейтронные детекторы 118 и 120 имеют предпочтительно Не3 тип. Они представляют собой газонаполненные счетные трубки, наполненные Не3 газом под давлением. Не3 детекторы реагируют на нейтроны, рассеянные обратно на детекторы от окружающих естественных формаций. Предпочтительно оба детектора представляют собой детекторы тепловых нейтронов. Конструкции детекторов 118 и 120 хорошо известны и не являются аспектом настоящего изобретения, так что их дополнительное описание будет опущено для краткости.
Во время использования в скважине импульсы напряжения от нейтронных детекторов 118 и 120 обычно усиливаются усилителями (не показаны), временно сохраняются в буферах (также не показаны) и затем поступают на поверхность посредством соответствующей телеметрической схемы 136 по проводной линии 144, к которой подвешен инструмент 100. На поверхности телеметрические данные принимаются подходящей телеметрической схемой (не показана) и поступают в каротажный компьютер (не показан) для дальнейшей обработки. Все это является обычным в данной области техники и пропускается для краткости.
Генератор 110 нейтронов на фиг.3 предпочтительно представляет собой нейтронную трубку с заземленной мишенью и плавающим ионным источником, такую как в GB 2429832 A, за исключением того, что газовый источник представляет собой тщательно регулируемую смесь дейтерия и трития с 99,72%±0,07% дейтерия и 0,28%±0,07% трития, как будет подробно описано ниже. С данной регулируемой смесью заданное отношение (от 3:1 до 5:1) 2,45 МэВ и 14 МэВ нейтронов генерируется с помощью данной нейтронной трубки с заземленной мишенью и плавающим ионным источником, как будет подробно описано ниже.
Более конкретно и как можно видеть на фиг.3А, предпочтительный генератор 110 нейтронов, в общем, включает в себя ионный источник 171 с устройством 172 управления давления Д-Т, высоковольтным изолятором 177, гасителем 176 вторичных электронов и заземленным электродом 111 мишени. Генератор 110 нейтронов предпочтительно выполнен с возможностью генерировать, по меньшей мере, 0,5×107 нейтронов/секунду и более предпочтительно генерировать, по меньшей мере, 1×107 нейтронов/секунду (что, как ожидается, обеспечит приблизительно такую же скорость каротажа, как стандартное устройство с AmBe источником). Как будет понятно специалистам в данной области техники, более высокие выходы нейтронов позволяют осуществить более высокие скорости каротажа.
Схематичное изображение второго варианта осуществления каротажного инструмента 200 показано на фиг.4. Второй вариант осуществления будет описан в контексте способа и устройства для каротажа геологической формации 10, пройденной скважиной 12. Каротажный инструмент (устройство или зонд) 200 содержит выдерживающий давление корпус, заключающий в себе нейтронный источник (генератор) 210, первый нейтронный детектор 218 и второй нейтронный детектор 220, оба расположенные на расстоянии от нейтронного источника. Водородсодержащий замедлитель 221 нейтронов (например, TiH) расположен между генератором 210 нейтронов и детекторами. За исключением нейтронного источника и замедлителя нейтронов, каротажный инструмент 200, по существу, такой же, как показанный и описанный в патенте США #4794792. В варианте осуществления на фиг.4 первый детектор 218 находится от генератора нейтронов на расстоянии приблизительно 22 см (±1 см), тогда как второй детектор 220 находится от генератора нейтронов на расстоянии приблизительно 41,5 см (±2 см). Нейтронные детекторы 218 и 220 предпочтительно представляют собой детекторы тепловых нейтронов Не3 типа. Конструкции детекторов 218 и 220 хорошо известны и не являются аспектом настоящего изобретения, так что их дополнительное описание будет опущено для краткости.
Во время использования в скважине импульсы напряжения от нейтронных детекторов 218 и 220 обычно усиливаются усилителями (не показаны), временно сохраняются в буферах (также не показаны) и затем поступают на поверхность посредством соответствующей телеметрической схемы 236 по проводной линии 244, к которой подвешен инструмент 200. На поверхности телеметрические данные принимаются подходящей телеметрической схемой (не показана) и поступают в каротажный компьютер (не показан) для дальнейшей обработки. Снова все из этого является обычным в данной области техники и пропускается для краткости.
Генератор 210 нейтронов на фиг.4 предпочтительно представляет собой генератор нейтронов, такой как описано выше со ссылкой на фиг.3А.
Путем моделирования каротажных инструментов 100 и 200 на фиг.3 и 4 было обнаружено, что они функционируют подобно инструментам CNT-типа предшествующего уровня техники, которые используют AmBe нейтронный источник. Например, отклик простого двухдетекторного инструмента с генератором нейтронов, содержащим дейтериево-тритиевую смесь, которая обеспечивает десять 2,45 МэВ нейтронов по реакции дейтерий-дейтерий на каждые три 14 МэВ нейтрона по реакции дейтерий-тритий, вычисляли для бесконечной известняковой среды и точечных детекторов, расположенных на приблизительно 38,1 см и 62,7 см от нейтронного источника. Нейтронный поток f у детектора, расположенного на расстоянии r от источника, может быть определен по:
f = S E e − r / L S r L S 2 ( 1 )
где Ls представляет собой зависящую от энергии длину падения, а SE представляет собой интенсивность источника при энергии Е. Зависящие от энергии длины падения вычисляют с помощью SNUPAR (смотри, McKeon, D.C., and Scott, H.D. SNUPAR - A Nuclear Parameter Code for Nuclear Geophysics Applications, Nucl. Geophysics, Vol.2, No. 4), а поток у ближнего и дальнего детекторов, расположенных на расстоянии от CNT, вычисляют, используя уравнение 1. Отношение этих потоков для инструмента CNT-типа и инструмента с генератором нейтронов, содержащим дейтериево-тритиевую смесь, отложено на фиг.5 от водородного индекса (ВИ) для известняковой матрицы, и будет ясно, что данные отклики очень похожи. Также на фиг.5 отложен отклик простого двухдетекторного инструмента с дейтериево-тритиевой смесью, которая обеспечивает десять 2,45 МэВ нейтронов по реакции дейтерий-дейтерий на каждые три 14 МэВ нейтрона по реакции дейтерий-тритий, после пяти лет распада трития в трубке генератора нейтронов. Пятилетний распад трития уменьшает 14 МэВ компонент, тогда как 2,45 МэВ компонент (от дейтерия) остается таким же. Видно, что после пяти лет, если не применяли никакой калибровки или коррекции, ошибка до двух pu будет возникать, когда водородный индекс превышает 20.
По сравнению с вычислениями, использующими длину спада LS, гораздо более точное моделирование может быть достигнуто при использовании MCNP моделирования по методу Монте-Карло. Используя модель стандартного инструмента, основанного на AmBe, на дне заполненной водой скважины (который идентичен инструменту на фиг.4 за исключением того, что AmBe источник используется вместо генератора нейтронов), получили смоделированный график на фиг.6. Фиг.6 показывает отношение ближнего-дальнего от заполненной водой пористости для инструмента, основанного на AmBe, для разных геологических формаций.
Фиг.7а-7с представляют собой смоделированные графики отношения ближнего-дальнего от заполненной водой пористости для инструмента на фиг.3, где нейтронный генератор соответственно использует систему (100% дейтерия), генерирующую только реакции дейтерий-дейтерий (ДД) (энергии нейтронов только 2,45 МэВ), систему (обычно 50% дейтерия - 50% трития), генерирующую, по существу, только реакции дейтерий-тритий (ДТ) (энергии нейтронов 14 МэВ) и систему (описанную ниже как имеющую свыше 99% дейтерия и менее чем 1% трития - далее называемую как объединенная ДД-ДТ генераторная система), генерирующую и реакции дейтерий-дейтерий, и реакции дейтерий-тритий в заданных количествах. В случае фиг.7с моделируется ДД-ДТ система, генерирующая пятнадцать 2,45 МэВ нейтронов на два 14 МэВ нейтрона (т.е. отношение 7,5:1 показывает лучшее приближение). Как будет ясно специалистам в данной области техники, отклик ДД системы, видимый на фиг.7а, не соответствует полностью отклику AmBe источника (фиг.6), так как форма кривых очень различается, в частности при низких величинах водородного индекса, и амплитуды отношения ближнего-дальнего значительно различаются выше 40 pu. Аналогично, отклик ДТ системы, представленный на фиг.7b, не соответствует полностью отклику AmBe источника, так как форма кривых очень различается, в частности при более высоких величинах водородного индекса (т.е. при высоких величинах водородного индекса существует низкая чувствительность отношения ближнего-дальнего к водородному индексу, приводя к потери точности), и амплитуды отношения ближнего-дальнего значительно различаются выше 20 pu. С другой стороны, отклик объединенной (ДД-ДТ) генераторной системы на фиг.7с оказывается лучше соответствующим AmBe источнику, по меньшей мере, до приблизительно 50 pu.
Когда детекторы передвигали ближе к источнику, как в расположении варианта осуществления инструмента 200 на фиг.4, отклик отношения ближнего/дальнего на пористость объединенной ДД-ДТ генераторной системы очень близко соответствует отклику AmBe инструмента (здесь отношение четыре 2,45 МэВ нейтрона на каждый 14 МэВ нейтрон выбрали как лучшее приближение к отклику AmBe инструмента). В частности, как видно в смоделированном графике на фиг.8, отклик инструмента с AmBe источником и расположения источника инструмента на фиг.4 для объединенного ДД-ДТ инструмента для формаций кальций-карбонат, кремний-диоксид и кремний-диоксид плюс газ обеспечивали очень близкое соответствие до 80 pu. Соответствие для кремний-диоксид плюс каолинит от нуля до 50 pu также очень близкое, а затем появляется некоторое расхождение. Учитывая данные результаты, вариант осуществления на фиг.4 является в настоящее время предпочтительным относительно варианта осуществления на фиг.3, хотя оба обеспечивают хорошие результаты и могут быть использованы.
Чтобы получить пористость из измеренных отношений ближнего/дальнего, пористость выражают как функцию ближнего/дальнего (n:f) отношения и аппроксимируют функцией φ(n:f). Любая удобная функция может быть использована, но было обнаружено, что полином четвертой степени аппроксимирует AmBe данные; например φ(n:f)=-10,52+10,47(n:f)-0,902(n:f)^2+0,079(n:f)^3+0,012(n:f)^4). Два полинома третьей степени (один для 0-50 pu и другой для 50-100 pu) получили для инструмента на фиг.4; например для 0<φ<=50 pu, φ(n:f)=-14,66+14,58(n:f)-2,07(n:f)^2+0,237(n:f)^3; и для 50<φ<=100 pu, φ(n:f)=-983+584(n:f)-110(n:f)^2+6,92(n:f)^3. Фиг.9 представляет собой смоделированный график отношения ближнего-дальнего от пористости для инструмента с AmBe источником и для инструмента на фиг.4 (объединенный ДД-ДТ генератор). Следует заметить, что, когда кривая стремится к вертикали, чувствительность к пористости уменьшается.
На фиг.10 видны смоделированные графики истинной пористости от обращенной пористости в различных геологических формациях (в предположении восьмидюймовой (23,2 см) скважины с пресной водой, без отклонения) для AmBe источника и компоновки источника инструмента на фиг.4 с объединенным ДД-ДТ генератором (четыре 2,45 МэВ нейтрона на каждый 14 МэВ нейтрон). Как будет видно, результаты для сланца, SiO2 и карбоната кальция показывают, что результаты компоновки инструмента на фиг.4, использующего объединенный ДД-ДТ генератор, приближаются к результатам инструмента, использующего AmBe источник. То же верно для SiO2 плюс газ до приблизительно 50 pu, а затем возникает некоторое расхождение.
Фиг.11-13 соответственно показывают влияние солености, отклонения скважины и размера скважины на отклик инструмента с компоновкой на фиг.4 с объединенным ДД-ДТ генератором (четыре 2,45 МэВ нейтрона на каждый 14 МэВ нейтрон) по сравнению с откликом AmBe инструмента для СаСО3 формации. Как видно на фиг.11, когда обращенную пористость откладывают относительно истинной пористости для СаСО3 формации, имеющей рассол в скважине, и СаСО3 формации с рассолом в скважине и формации, соленость не оказывает большого влияния при пористости до приблизительно 50 pu. Так как этот диапазон покрывает большинство ситуаций, встречающихся в данной области, расхождение при более высоких пористостях не имеет большого значения. Однако при более высоких пористостях инструмент на фиг.4 с объединенным ДД-ДТ генератором будет требовать большей коррекции, чем AmBe инструмент.
Фиг.12 показывает, что отклонение действительно имеет небольшое влияние на инструмент на фиг.4 относительно AmBe инструмента при всех пористостях. Однако так как данный эффект является небольшим при всех пористостях, его можно либо игнорировать, либо включать в коррекции окружающей среды.
Фиг.13 показывает, что размер скважины очень мало влияет на инструмент на фиг.4 относительно AmBe инструмента при всех пористостях до 80 pu. Опять, так как этот диапазон покрывает почти все ситуации, встречающиеся в данной области, небольшое расхождение при очень высоких пористостях не имеет значения.
Как указано выше, отклик инструмента 200 с фиг.4 близко соответствует отклику AmBe инструмента предшествующего уровня техники, в частности, когда объединенный ДД-ДТ генератор обеспечивает четыре 2,45 МэВ нейтрона на каждый 14 МэВ нейтрон. В действительности, очень приемлемые результаты получаются, когда объединенный ДД-ДТ генератор обеспечивает от трех до пяти 2,45 МэВ нейтронов на каждый 14 МэВ нейтрон. Так как нейтронный источник 210 инструмента 200 расположен близко к детекторам (например, которые удалены на приблизительно 22 см и 41,5 см от мишени источника), нейтроны, излучаемые источником, детектируются с вероятностью приблизительно в 4,5 раза больше, чем в конфигурации AmBe инструмента или с заземленным нейтронным генератором. Так как номинальная мощность AmBe источника составляет приблизительно 4,7×107 нейтронов/секунду, выход генератора нейтронов немного больше 1×107 может достигать точности нейтронного инструмента измерения пористости на основе AmBe при приблизительно от 75% до 83% нейтронов, генерированных по реакции дейтерий-дейтерий, и от 17% до 25% нейтронов, генерированных по реакции дейтерий-тритий. Компоновка трубки с заземленной мишенью особенно подходит для такого выхода нейтронов.
Дейтериево-тритиевая газовая смесь, требуемая для обеспечения заданного отношения 2,45 МэВ и 14 МэВ нейтронов, может быть вычислена следующим образом. Если α определено как доля трития в трубке, то вероятность дейтрон-иона в пучке, реагирующего с тритиевым ядром мишени, пропорциональна (1-α)α. Вероятность дейтрон-иона в пучке, реагирующего с дейтериевым ядром мишени, пропорциональна (1-α)(10α)/90, где фактор 1/90 взят как относительная скорость получения нейтронов по реакции дейтрон-дейтрон относительно реакции дейтрон-тритон. Устанавливая отношение (1-α)(10α)/90 относительно (1-α)α, равное 4 (т.е. четыре 2,45 МэВ нейтрона получаются на каждый 14 МэВ нейтрон), и решая для α, α=1/361 или приблизительно 0,28%. Когда данное отношение устанавливают на пять, α=1/451 или приблизительно 0,22%. Таким образом, согласно одному варианту осуществления данного изобретения, когда используется компоновка трубки с заземленной мишенью и нейтронный источник выполнен с возможностью генерировать, по меньшей мере, 0,5×107 нейтронов/секунду, смесь дейтерия и трития в генераторе нейтронов выбирают с 99,72%±0,07% дейтерия и 0,28%±0,07% трития.
Как указано выше, тритий распадается со временем, тогда как дейтерий является стабильным. Время полураспада трития составляет 12,32 лет. Таким образом, если исходная активность трития составляет А0, то оставшаяся активность Ar после y лет равна
A r = A 0 y ln ( 2 ) 12,32 ( 2 )
После одного года оставшаяся активность трития составляет приблизительно 95% от исходной активности, и, следовательно, число получаемых 14 МэВ нейтронов составляет 95% от исходного получения. После пяти лет число получаемых 14 МэВ нейтронов составляет 75% от исходного получения. Когда число 14 МэВ нейтронов снижается, общий динамический диапазон в отношении ближнего/дальнего как функция пористости увеличивается, как показано на фиг.5. Таким образом, хотя трубки генераторов нейтронов могут быть получены с заданным числом 14 МэВ нейтронов в момент изготовления, отклик данного инструмента будет изменяться со временем.
Согласно одному варианту осуществления данного изобретения получают базу данных отношений ближнего/дальнего как функцию пористости и как функцию отношения получения 2,45 МэВ и 14 МэВ нейтронов для некоторой компоновки скважинного инструмента и сохраняют на поверхности. Кроме того, сохраняют базу данных возраста инструмента. Так как отношение получения 2,45 МэВ и 14 МэВ нейтронов соотносится с возрастом генератора (в общем, согласно уравнению (2)), при использовании инструмента данного изобретения возраст данного инструмента используют, чтобы находить текущее отношение получения нейтронов. Текущее отношение получения нейтронов затем используется для поиска в базе данных коррекции, необходимой для данного отношения ближнего/дальнего от определения пористости. Например, база данных φ(n/f) коэффициентов может быть получена как функция отношения трития к дейтерию, введенных в нейтронную трубку. Со временем данное отношение будет уменьшаться согласно уравнению (2) выше. В любой момент времени после изготовления трубки текущий набор φ(n/f) коэффициентов может быть определен путем интерполяции базы данных согласно текущему отношению трития к дейтерию.
Согласно другому варианту осуществления получают базу данных отношений ближнего/дальнего как функцию пористости и как функцию отношения получения 2,45 МэВ и 14 МэВ нейтронов для некоторой компоновки скважинного инструмента и сохраняют в базе данных. Перед использованием каротажного инструмента, вмещающего дейтериево-тритиевый источник данного изобретения, выполняют калибровочное измерение. Например, калибровочное измерение отношения ближнего/дальнего измеряют в двух разных пористостях (например, 100 pu и 33 pu). Затем база данных может быть запрошена для этой комбинации, чтобы определить, как сильно изменилось отношение получения нейтронов и насколько большая коррекция требуется для определений пористости, произведенных данным инструментом. Как можно видеть на фиг.5, отклонение n/f отношения при 5 годах распада трития приблизительно линейно увеличивается с пористостью (водородным индексом). Как хорошо известно, две калибровочных точки требуются, чтобы определить линейную коррекцию (наклон и смещение). Соответственно, калибровочные измерения при, например, 100 и 33 pu являются достаточными для коррекции n/f отношения, чтобы давать, по существу, такой же отклик, как исходный отклик.
Согласно одному аспекту данного изобретения инструмент данного изобретения, содержащий дейтериево-тритиевий источник, моделируется и конструируется так, чтобы функционировать подобно инструменту, использующему AmBe источник, так что детектированные результаты отклика формации могут быть интерпретированы таким же образом, как они были бы интерпретированы для инструмента с AmBe источником. Таким образом, например, инструмент 200 на фиг.4 сконструирован с генератором нейтронов, который генерирует четыре 2,45 МэВ нейтрона на каждый 14 МэВ нейтрон, который он генерирует, чтобы обеспечить отклик инструмента с насколько возможно близким соответствием к отклику AmBe инструмента. Однако при зарядке данного инструмента газом, вместо обеспечения генератора нейтронов с 0,28% трития и 99,72% дейтерия, что обеспечило бы заданное отношение 2,45 МэВ и 14 МэВ нейтронов, данный инструмент обеспечен избытком трития (например, 12,5% избыток, что дает приблизительно 0,315% трития), так что среднее отклонение от AmBe отклика в течение пяти лет будет внутри 0,6 pu во всем диапазоне пористости и менее чем 0,3 pu в диапазоне от 0 до 50 pu.
Согласно другому варианту осуществления данного изобретения инструмент с AmBe источником модифицируют путем получения данного инструмента, удаления AmBe источника и замены AmBe источника источником, имеющим заземленную трубку мишени, содержащую дейтериево-тритиевую газовую смесь, которая обеспечивает заданное отношение 2,45 МэВ и 14 МэВ нейтронов.
Здесь были описаны и проиллюстрированы несколько вариантов осуществления инструмента нейтронного каротажа и связанного с ним способа. Хотя были описаны конкретные варианты осуществления данного изобретения, не подразумевается, что изобретение ограничивается ими, так как подразумевается, что данное изобретение является настолько широким по объему, насколько позволяет данная область техники, и что также следует читать данное описание. Таким образом, хотя данное изобретение было описано со ссылкой на проводной инструмент, будет понятно, что данный инструмент нейтронного каротажа может быть частью инструмента каротажа при бурении LWD или инструментом другого типа. Также, хотя инструмент нейтронного каротажа данного изобретения был описан с конкретной ссылкой на проведение измерений пористости, специалистам в данной области техники будет понятно, что данный инструмент нейтронного каротажа может быть также использован для других целей. Кроме того, хотя был описан двухдетекторный инструмент, будет понятно, что дополнительные детекторы также могут быть использованы. Кроме того, хотя были описаны детекторы типа гелий-3, будет понятно, что другие типы детекторов могут быть использованы. Также, хотя конкретные расстояния источник-детектор были описаны в качестве предпочтительных, будет понятно, что детекторы могут быть расположены на других расстояниях от источника; т.е. другие конфигурации могут быть использованы. Только в качестве примера, ближний детектор может быть расположен где-то между приблизительно 21 и 34 см от источника, тогда как дальний детектор может быть расположен где-то между приблизительно 39,5 и 54,5 см от источника. Кроме того, хотя были описаны конкретные отношения (и диапазоны) для 2,45 МэВ и 14 МэВ нейтронов, будет понятно, что в зависимости от расстояний между источником и детекторами могут быть использованы другие отношения, которые обеспечат наиболее близкое соответствие отклику AmBe инструмента. Таким образом, например, для компоновки на фиг.3, отношение 7,5:1 2,45 МэВ и 14 МэВ нейтронов может быть предпочтительным. Устанавливая отношение (1-α)(1-α)/90 относительно (1-α) на 7,5 и решая для α, получается α=1/676 или концентрация трития приблизительно 0,15%. На основании других факторов согласно одному варианту осуществления данного изобретения эта концентрация может варьироваться на ±25%. Поэтому, в зависимости от различных факторов, таких как расположение источника относительно детекторов, расстояние между источниками и т.д., представляется, что заданное отношение генерируемых 2,45 МэВ и 14 МэВ нейтронов охватывается диапазоном от 10:1 до 2:1. Следовательно, специалистам в данной области техники будет понятно, что и другие модификации могут быть сделаны к обеспеченному изобретению без отклонения от его сущности и объема, описанных в формуле изобретения.
1. Инструмент для использования в скважине, пересекающей формацию, содержащий:a) генератор нейтронов, включающий в себя смесь газообразного дейтерия и газообразного трития, выбранную так, чтобы генерировать заданное отношение выхода 2,45 МэВ и 14 МэВ нейтронов, причем упомянутое отношение составляет от 10:1 до 2:1;b) по меньшей мере, два нейтронных детектора, находящихся на расстоянии от упомянутого генератора нейтронов.
2. Инструмент по п.1, в котором:упомянутое отношение составляет от 5:1 до 3:1.
3. Инструмент по п.2, в котором:упомянутая смесь дейтерия и трития содержит 99,72%±0,07% дейтерия и 0,28%±0,07% трития.
4. Инструмент по п.1, в котором:упомянутый генератор нейтронов генерирует, по меньшей мере, 0,5·107 нейтронов/с.
5. Инструмент по п.1, в котором:упомянутый генератор нейтронов генерирует, по меньшей мере, 1·107 нейтронов/с.
6. Инструмент по п.1, в котором:упомянутый генератор нейтронов включает в себя заземленную трубку мишени.
7. Инструмент по п.6, в котором:упомянутые нейтронные детекторы представляют собой Не3 детекторы.
8. Инструмент по п.7, в котором:первый из упомянутых, по меньшей мере, двух детекторов находится на расстоянии от 21 см до 34 см от упомянутого генератора нейтронов, а второй из упомянутых, по меньшей мере, двух детекторов находится на расстоянии от 39,5 см до 54,5 см от упомянутого генератора нейтронов.
9. Инструмент по п.8, в котором:первый из упомянутых, по меньшей мере, двух детекторов находится на расстоянии 22 см (±1 см) от упомянутого генератора нейтронов, а второй из упомянутых, по меньшей мере, двух детекторов находится на расстоянии от 41,5 см (±2 см) от упомянутого генератора нейтронов.
10. Инструмент по п.9, дополнительно содержащий:водородсодержащий замедлитель нейтронов, расположенный между упомянутым генератором нейтронов и упомянутыми, по меньшей мере, двумя детекторами.
11. Инструмент по п.10, в котором:упомянутый замедлитель нейтронов содержит TiH.
12. Инструмент по п.8, в котором:первый из упомянутых, по меньшей мере, двух детекторов находится на расстоянии 33 см (±1 см) от упомянутого генератора нейтронов, а второй из упомянутых, по меньшей мере, двух детекторов находится на расстоянии от 52,5 см (±2 см) от упомянутого генератора нейтронов.
13. Инструмент по п.12, дополнительно содержащий:вольфрамовый умножитель/отражатель нейтронов, расположенный между упомянутым генератором нейтронов и упомянутыми, по меньшей мере, двумя детекторами.
14. Инструмент по п.1, дополнительно содержащий:телеметрию, связанную с упомянутыми, по меньшей мере, двумя нейтронными детекторами.
15. Способ каротажа геологической формации, в котором:a) получают инструмент согласно п.1;b) идентифицируют возраст упомянутого генератора нейтронов упомянутого инструмента;c) и
 
                         
                            


