Накладной ультразвуковой многофазный расходомер
Иллюстрации
Показать всеМногофазный расходомер для определения, по меньшей мере, одной характеристики первой фазы, проходящей в трубе, причем в трубе также присутствует, по меньшей мере, вторая фаза. Многофазный расходомер включает в себя процессор, выполненный с возможностью определения, по меньшей мере, одной характеристики первой фазы; первый преобразователь, выполненный с возможностью подачи первого импульсного сигнала в первую фазу под первым углом падения по отношению к прямой линии, которая перпендикулярна внутренней стенке трубы, причем первый импульсный сигнал находится в ультразвуковом диапазоне. Причем первый преобразователь выполнен с возможностью соединения с внешней стенкой трубы; и абсолютное значение первого угла падения в первой фазе задано, чтобы быть, по меньшей мере, 10 градусов и, по большей мере, 80 градусов. Второй преобразователь, выполненный с возможностью подавать второй импульсный сигнал в первую фазу под углом менее 10 градусов, чтобы иметь по существу нормальное падение. При этом генерированный первый импульсный сигнал и первый обратный эхо-сигнал, принятый первым преобразователем, используются для определения первого времени прохождения. Причем определение первого времени прохождения основано на профиле скорости потока и/или первом доплеровском профиле эхо-энергии первой фазы. Генерированный второй импульсный сигнал и второй обратный эхо-сигнал, принятый вторым преобразователем, используются для определения второго времени прохождения. Причем определение второго времени прохождения основано на втором доплеровском профиле обратных эхо-энергии сигналов от множества уровней глубины первой фазы. Технический результат - повышение точности определения характеристики многофазного потока. 3 н. и 22 з.п. ф-лы, 9 ил.
Реферат
Область техники
Настоящее изобретение относится в целом к расходомеру и без ограничения к многофазному расходомеру.
Уровень техники
По сравнению со встраиваемым расходомером накладной расходомер предлагает значительные функциональные и экономические преимущества. Некоторые из этих накладных расходомеров спроектированы, чтобы использовать ультразвук для наблюдения за однофазными потоками. Однако такие расходомеры не могут быть использованы для наблюдения за многофазными потоками, которые распространены в нефтяной и газовой промышленности.
Для многофазных потоков известны некоторые ультразвуковые технические приемы для измерения толщины жидкой фазы в цистерне или трубе. Например, подавая импульсный сигнал и измеряя эхо от поверхности раздела между газом и жидкостью, время прохождения импульсного сигнала до цели и обратно может быть использовано для определения положения раздела между газом и жидкостью. Однако технические приемы, такие как этот, требуют определения скорости звука в жидкой фазе.
Для того чтобы определить скорость звука в жидкой фазе, различные технические приемы требуют того, чтобы длина пути перемещения импульсного сигнала была известна. Однако в нефтегазовой промышленности, где толщина жидкой фазы может варьироваться от нескольких миллиметров до нескольких сантиметров, не принято проектировать путь перемещения так, чтобы можно было определить репрезентативную скорость звука из пути перемещения.
Сущность изобретения
Один вариант осуществления настоящего изобретения описывает накладной расходомер, который использует ультразвук для наблюдения за многофазными потоками, которые распространены в нефтяной и газовой промышленности. Накладной расходомер определяет скорость звука в жидкой фазе, не требуя известности длины пути перемещения импульсного сигнала. В различных вариантах осуществления накладной расходомер способен определять скорость потока, фракцию фазы, скорость звука и звуковое полное сопротивление жидкой фазы, которые могут быть объединены для определения расхода жидкости жидкой фазы и пропорций смеси разных компонентов в жидкой фазе. Различные измерения времени прохождения могут быть объединены для определения толщины жидкого слой и скорости звука в жидком слое.
В одном варианте осуществления настоящее изобретение предоставляет многофазный расходомер, для определения, по меньшей мере, одной характеристики первой фазы, проходящей в трубе, причем в трубе также присутствует, по меньшей мере, вторая фаза. Многофазный расходомер включает в себя процессор, выполненный с возможностью определения, по меньшей мере, одной характеристики первой фазы. Многофазный расходомер также включает в себя первый преобразователь, выполненный с возможностью подавать первый импульсный сигнал в первую фазу под первым углом падения по отношению к прямой линии, которая перпендикулярна внутренней стенке трубы, причем первый импульсный сигнал находится в ультразвуковом диапазоне, причем первый преобразователь выполнен с возможностью соединяться с внешней стенкой трубы, и абсолютное значение первого угла падения в первой фазе задано, чтобы быть, по меньшей мере, 10 градусов и, по большей мере, 80 градусов. Дополнительно, многофазный расходомер включает в себя второй преобразователь, выполненный с возможностью подавать второй импульсный сигнал в первую фазу под вторым углом падения по отношению к прямой линии, которая перпендикулярна внутренней стенке трубы, причем второй импульсный сигнал находится в ультразвуковом диапазоне, причем второй преобразователь выполнен с возможностью соединяться с внешней стенкой трубы, и абсолютное значение второго угла падения в первой фазе задано, чтобы быть менее 10 градусов, т.е. по существу нормальное падение.
В другом варианте осуществления настоящее изобретение предоставляет способ определения расхода жидкости первой фазы проходящей в трубе, причем в трубе так же присутствует, по меньшей мере, вторая фаза. На одном этапе подают первый импульсный сигнал в первую фазу под первым углом падения по отношению к прямой линии, которая перпендикулярна внутренней стенке трубы, причем первый импульсный сигнал находится в ультразвуковом диапазоне. На другом этапе подают второй импульсный сигнал в первую фазу под вторым углом падения по отношению к прямой линии, которая перпендикулярна внутренней стенке трубы, причем второй импульсный сигнал находится в ультразвуковом диапазоне. На еще одном этапе определяют расход жидкости первой фазы на основе, по меньшей мере частично, определений средней скорости потока в первой фазе.
В еще одном варианте осуществления настоящее изобретение предоставляет способ расхода жидкости первой фазы, проходящей в трубе, причем в трубе также присутствует, по меньшей мере, вторая фаза. На одном этапе, генерируют первую энергию возбуждения в первом общем местоположении в стенке трубы под первым углом падения по отношению к прямой линии, которая перпендикулярна внутренней стенке трубы, так, чтобы первый импульсный сигнал подавался в первую фазу. На другом этапе принимают первый импульсный сигнал во втором общем местоположении, где сгенерирована вторая энергия возбуждения. На еще одном этапе генерируют вторую энергию возбуждения во втором общем местоположении в стенке трубы под вторым углом падения по отношению к прямой линии, которая перпендикулярна внутренней стенке трубы, так, чтобы второй импульсный сигнал подавался во вторую фазу. Дополнительно, на одном этапе принимают второй импульсный сигнал в первом общем местоположении, где сгенерирована первая энергия возбуждения. На другом этапе генерируют третью энергию возбуждения так, чтобы третий импульсный сигнал подавался в третьем общем местоположении, в третью фазу под третьим углом падения по отношению к прямой линии, которая перпендикулярна внутренней стенке трубы, причем третий импульсный сигнал находится в ультразвуковом диапазоне. На еще одном этапе принимают третий импульсный сигнал в третьем общем местоположении, где сгенерирована третья энергия возбуждения.
Дополнительные области применения настоящего изобретения станут понятны из подробного описания, представленного ниже. Следует понимать, что подробное описание и конкретные примеры, несмотря на то, что указывают различные варианты осуществления, предназначены только для иллюстрации и не предназначены для ограничения объема изобретения.
Краткое описание чертежей
Настоящее изобретение описано совместно с приложенными фигурами:
На Фиг.1A-1I показаны блок-схемы вариантов осуществления расходомера в соответствии с аспектами настоящего изобретения;
На Фиг.2A-2I показаны функциональные схемы вариантов осуществления расходомера в соответствии с аспектами настоящего изобретения;
На Фиг.3A-3B показан профиль скорости потока и доплеровский профиль эхо-энергии вариантов осуществления расходомера в соответствии с аспектами настоящего изобретения;
На фиг.4 показано распределение жидкой фазы вариантов осуществления;
На фиг.5A и 5B показаны функциональная схема и ответ перпендикулярного высокочастотного преобразователя вариантов осуществления расходомера в соответствии с аспектами настоящего изобретения;
На фиг.6A и 6B показаны функциональная схема и ответ акустико-волновых преобразователей вариантов осуществления расходомера в соответствии с аспектами настоящего изобретения;
На фиг.7 показана функциональная схема для кросскорреляционного профиля скорости вариантов осуществления расходомера в соответствии с аспектами настоящего изобретения;
На фиг.8 показаны функциональная схема и ответ способа пульс-эхо во временной области вариантов осуществления расходомера в соответствии с аспектами настоящего изобретения;
На фиг.9 показана схема последовательности операций варианта осуществления процесса для определения расхода жидкости жидкой фазы проходящей в трубе в соответствии с аспектами настоящего изобретения.
На приложенных фигурах схожие компоненты и/или признаки могут иметь одинаковые ссылочные обозначения. Дополнительно, различные компоненты одного типа могут быть отличены посредством выделенного ссылочного обозначения и второго обозначения, которое отличает схожие компоненты. Если в описании используется только первое ссылочное обозначение, описание подходит для любого из схожих компонентов, имеющих одинаковые ссылочные обозначения, независимых от вторых ссылочных обозначений.
Подробное описание
Последующее описание предоставляет только предпочтительный примерный вариант(ы) осуществления и не предназначено для ограничения объема, области применения и конфигурации настоящего изобретения. Скорее, последующее описание предоставляет только предпочтительный примерный вариант(ы) осуществления, предоставит специалистам в области техники описание для реализации предпочтительного примерного варианта осуществления. Следует понимать, что в функциях и расположении элементов могут быть сделаны изменения, не отходя от смысла и объема описанного в приложенной формуле изобретения.
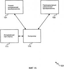
Со ссылкой на фиг.1А показан вариант осуществления расходомера 101 с двумя преобразователями. Угловой доплеровский преобразователь 121 и перпендикулярный узкополосный преобразователь 122, подключенные к контроллеру 110 для определения, по меньшей мере, одной характеристики жидкой фазы в трубе. Контроллер подключен к интерфейсному порту (портам) 111, от которых контроллер 110 принимает ввод и создает вывод для, по меньшей мере, одной характеристики жидкой фазы.
Угловой доплеровский преобразователь 121 является узкополосным преобразователем, который используется для доплеровского измерения со стробированием по дальности. Подробности преобразователя, разработанного для доплеровского измерения скорости потока со стробированием по дальности, были описаны, например, в патенте США № 6,758,100, озаглавленном “Доплеровский расходомер для многофазных потоков”, описание которого включено в данную заявку, для любых целей, посредством ссылки. Как будет описано более подробно, угловой допплеровский преобразователь 121 создает профиль скорости потока и доплеровский профиль эхо-энергии. Из профилей может быть определено, по меньшей мере, вычисление времени прохождения.
Перпендикулярный узкополосный преобразователь 122 имеет нормальный угол падения по отношению к центральной линии трубы. Перпендикулярный узкополосный преобразователь 122 может быть использован для доплеровского измерения со стробированием по дальности для определения, по меньшей мере, вычисления второго времени прохождения. Перпендикулярный узкополосный преобразователь 122 может также осуществлять пульс-эхо измерение во временной области для определения времени прохождения в стенке трубы и от раздела между газом и жидкостью.
Контроллер 110 может содержать блок обработки, память, порты ввода-вывода.
Контроллер 110 может так же содержать аналого-цифровой преобразователь и процессор сигналов для преобразования аналоговых сигналов и осуществления анализа частотных характеристик. Контроллер 110 управляет угловым доплеровским преобразователем 121 и перпендикулярным узкополосным преобразователем 122 для осуществления различных измерений и для определения, по меньшей мере, одной характеристики жидкой фазы.
Интерфейсный порт (порты) 111 может подключаться к устройству отображения для вывода вычислений, определенных контроллером 110. Интерфейсный порт (порты) 111 может также подключаться или проводным образом или беспроводным образом через интерфейс связи или сеть к системе, удаленной от расходомера, для возможности удаленного наблюдения за вычислениями, определенными контроллером 110. Дополнительно, интерфейсный порт (порты) 111 может принимать ввод от нажатия кнопок или ввод с клавиатуры для управления работой контроллера. Интерфейсный порт (порты) 111 может также принимать ввод или проводным образом или беспроводным образом, через интерфейс связи или сеть, от системы, удаленной от расходомера, для возможности удаленного управления работой контроллера 110.
Со ссылкой на фиг.1В, показан вариант осуществления акустико-волнового расходомера 102 с тремя преобразователями. Акустико-волновой расходомер 102 с тремя преобразователями схож с расходомером 101 с двумя преобразователями с фиг.1А, так как они оба используют, по меньшей мере, угловой и перпендикулярный преобразователи. Акустико-волновой расходомер 102 с тремя преобразователями включает в себя два угловых акустико-волновых преобразователя 123 и перпендикулярный высокочастотный широкополосный преобразователь 124.
Акустико-волновые преобразователи 123 генерируют используемые импульсы возбуждения, имеющие обычный частотный диапазон от 50 килогерц до 1 мегагерца. Преобразователи расположены друг напротив друга для формирования пары передатчик-приемник; расстояние между ними обычно составляет несколько сотен миллиметров и является регулируемым. Во время обычной работы, первый акустико-волновой преобразователь 123-1 генерирует импульс возбуждения, который создает акустическую волну в стенке трубы. Когда акустическая волна перемещается по стенке трубы, ультразвуковая энергия подается в жидкую фазу. Второй акустико-волновой преобразователь 123-2 затем принимает отраженную ультразвуковую энергию, так же как и акустическую волну. Затем второй акустико-волновой преобразователь 123-2 генерирует импульс возбуждения, а первый акустико-волновой преобразователь 123-1 работает как приемник. Два вычисления времени прохождения, одно определяется, когда акустическая волна перемещается в том же направлении что и поток жидкой фазы, и одно определяется, когда акустическая волна перемещается в противоположном направлении, могут быть определены в этом варианте осуществления.
Перпендикулярный высокочастотный широкополосный преобразователь 124 генерирует используемые импульсы, имеющие обычный частотный диапазон от 1 мегагерца до 20 мегагерц. Как будет описано более подробно, перпендикулярный высокочастотный широкополосный преобразователь 124 осуществляет пульс-эхо измерение во временной области для определения времени прохождения в стенке трубы и от раздела между газом и жидкостью.
Со ссылкой на фиг.1С, показан вариант осуществления кросскорреляционного/акустико-волнового расходомера 103. Кросскорреляционный/акустико-волновой расходомер 103 схож с акустико-волновым расходомером 102 с тремя преобразователями с фиг.1В, за исключением того, что кросскорреляционный/акустико-волновой расходомер 103 использует перпендикулярные высокочастотные преобразователи 124 и кросскоррелятор со стробированием по дальности 115. Этот вариант осуществления демонстрирует один путь создать профиль скорости жидкой фазы.
Каждый из перпендикулярных высокочастотных преобразователей 124 подает энергию в жидкую фазу и принимает энергию назад. Энергия может отражаться назад эхогенными отражателями, которые представлены на разных уровнях глубины в жидкой фазе. Кросскоррелятор со стробированием по дальности 115 позволяет выбирать энергию, отраженную от разных уровней глубины, и посредством кросскорреляции между энергиями, принятыми двумя преобразователями, может быть создан профиль скорости жидкой фазы в этом варианте осуществления.
Со ссылкой на фиг.1D, показан вариант осуществления доплеровского/акустико-волнового расходомера 104. Доплеровский/акустико-волновой расходомер 104 схож с акустико-волновым расходомером 102 с тремя преобразователями с фиг.1В, за исключением того, что доплеровский/акустико-волновой расходомер 104 использует угловой высокочастотный импульсный доплеровский преобразователь 125 для создания профиля скорости. Угловой высокочастотный импульсный доплеровский преобразователь 125 работает в некоторой степени схоже с вышеупомянутым угловым доплеровским преобразователем 121. В сравнении с кросскорреляционным/акустико-волновым расходомером 103, доплеровский/акустико-волновой расходомер 104 позволяет создать профиль скорости, используя меньшее количество преобразователей.
Со ссылкой на фиг.1E, показан вариант осуществления расходомера 105 с контактным преобразователем. Расходомер 105 с контактным преобразователем схож с акустико-волновым расходомером 102 с тремя преобразователями с фиг.1В, за исключением того, что расходомер 105 с контактным преобразователем использует различные типы контактных преобразователей 126. В одном варианте осуществления расходомер 105 с контактным преобразователем может определять тип жидкости за стенкой трубы, используя измерения акустического сопротивления. В другом варианте осуществления, расходомер 105 с контактным преобразователем может предоставлять измерения скорости по многим путям в трубе для более аккуратного измерения средней скорости.
Контактные преобразователи 126 находятся в непосредственном контакте с трубой. Контактная поверхность может быть плоской или изогнутой для того, чтобы подходить внешней стороне трубы. На контактной поверхности могут использоваться контактные материалы для устранения любой воздушной прослойки между преобразователем и трубой. Технические приемы, используемые для контактных преобразователей 126, могут включать в себя линию задержки, двойственный элемент и т.д. Преобразователь с линией задержки позволяет завершить посылку ультразвукового сигнала перед приемом ультразвукового сигнала. Преобразователь с двойственным элементом обычно имеет один независимый элемент, который посылает ультразвуковой сигнал, и другой независимый элемент, который принимает ультразвуковой сигнал. Контактные преобразователи 126 могут быть расположены под разными углами вокруг окружности трубы. Некоторые контактные преобразователи 126 могут определять тип жидкости за стенкой трубы, используя измерения акустического сопротивления. Другие контактные преобразователи 126 могут предоставлять измерения скорости по многим путям в трубе для более аккуратного измерения средней скорости.
Со ссылкой на фиг.1F показан вариант осуществления мультиинтервального акустико-волнового расходомера 106. Мультинтервальный акустико-волновой расходомер 106 схож с акустико-волновым расходомером 102 с тремя преобразователями с фиг.1В, за исключением того, что мультинтервальный акустико-волновой расходомер 106 использует третий угловой акустико-волновой преобразователь 123-3. Третий угловой акустико-волновой преобразователь 123-3 предоставляет дополнительное измерение с большим интервалом между третьим угловым акустико-волновым преобразователем 123-3 и вторым угловым акустико-волновым преобразователем 123-2. Тогда как меньший интервал предоставляет лучшее соотношение сигнал-шум для определения первичного эхо, больший интервал позволяет определить больше множеств эхо от раздела жидкости.
Со ссылкой на фиг.1G, показан вариант осуществления акустико-волнового расходомера 107 с верхним и нижним креплением. Акустико-волновой расходомер 107 с верхним и нижним креплением схож с акустико-волновым расходомером 102 с тремя преобразователями с фиг.1В, за исключением того, что акустико-волновой расходомер 107 с верхним и нижним креплением использует дополнительные угловые акустико-волновые преобразователи 123. Дополнительные угловые акустико-волновые преобразователи 123 могут формировать между собой пары передатчиков и приемников для дополнительных измерений.
Со ссылкой на фиг.1H показан вариант осуществления широкополосного расходомера 108. Широкополосный расходомер 108 схож с расходомером 101 с двумя преобразователями с фиг.1А, за исключением того, что широкополосный расходомер 108 использует перпендикулярный широкополосный преобразователь 127 в дополнение к, или вместо перпендикулярного узкополосного преобразователя 122. Этот вариант осуществления может позволить альтернативный способ измерения или предоставить чрезмерность измерений.
Широкополосный преобразователь 127 генерирует используемые импульсы, имеющие обычный частотный диапазон от 1 мегагерца до 20 мегагерц. Как будет описано более подробно, широкополосный преобразователь 127 может быть использован для определения акустического сопротивления жидкой фазы и фракции воды в жидкой фазе. Впоследствии в одном варианте осуществления могут быть определены скорость звука и толщина слоистой/разделенной жидкой фазы. В другом варианте осуществления могут быть также определены скорость звука и толщина кольцевой жидкой фазы.
Со ссылкой на фиг.1H показан вариант осуществления мультиуглового расходомера 109. Мультиугловой расходомер 109 схож с расходомером 101 с двумя преобразователями с фиг.1А, за исключением того что мультиугловой расходомер 109 использует дополнительные угловые допплеровские преобразователи 121. Дополнительные угловые доплеровские преобразователи 121 могут работать на разных друг от друга углах и/или разных частотах для обеспечения более надежного определения профиля скорости в одном варианте осуществления.
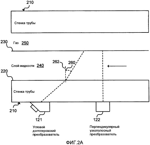
Со ссылкой на фиг.2А, показан вариант осуществления расходомера 101 с двумя преобразователями с фиг.1А, функционально соединенного со стенкой трубы 210. Соединение может быть удаляемого типа, такое как зажим. Как будет понятно специалистам в данной области техники, соединение может так же быть постоянного типа, такое как встраивание преобразователя непосредственно в участок трубы. Дополнительные пути прикрепления расходомера 101 с двумя преобразователями к трубе могут включать в себя использование эпоксида, обвязывание вокруг трубы, и т.д. Многофазный поток в трубе состоит, по меньшей мере, из жидкого слоя 240 и газа 250. Раздел 220 между трубой и жидкостью существует между стенкой 210 трубы и жидким слоем 240. Дополнительно, раздел 230 между газом и жидкостью существует между жидким слоем 240 и газом 250.
Угловой доплеровский преобразователь 121 выполнен с возможностью подавать импульсный сигнал в жидкий слой 240 под углом 260 падения по отношению к прямой линии 262, которая перпендикулярна внутренней стенке трубы на разделе 220 между трубой и жидкостью. Следует понимать, что стенка трубы на разделе 220 между трубой и жидкостью может быть не цилиндрической формы и может иметь не ровную поверхность, так как поверхность может иметь дефекты. Однако внутренняя стенка трубы на разделе 220 между трубой и жидкостью обычно цилиндрическая и ровная. Можно определить угол 260 падения как положительный, если осевое направление распространения импульса противоположно направлению потока, и как отрицательный, если совпадает с направлением потока. Абсолютное значение угла 260 падения в жидком слое 240, обычно, по меньшей мере, 10 градусов и, по большей мере, 80 градусов. Специалистам в данной области техники следует понимать, что другие абсолютные значения для угла 260 падения в жидком слое 240, такие как, по меньшей мере, 45 градусов и, по большей мере, 70 градусов; по меньшей мере, 37 градусов и, по большей мере, 58 градусов; и, по меньшей мере, 18 градусов и, по большей мере, 80 градусов, могут быть использованы в различных вариантах осуществления.
Угловой доплеровский преобразователь 121 может быть использован для определения первого времени прохождения от времени подачи импульсного сигнала до прибытия обратного эхо как отраженного от раздела 230 между газом и жидкостью. Как будет понятно специалистам в данной области техники, подача импульсного сигнала перемещается вплотную к потоку жидкого слоя 240, и обратное эхо перемещается с потоком. Дополнительно, полное время прохождения импульсного сигнала в стенке 210 трубы может быть определено также как и калибровочное измерение.
Перпендикулярный узкополосный преобразователь 122 также выполнен с возможностью подавать импульсный сигнал в жидкий слой 240 под углом 260 падения по отношению к прямой линии 262, которая перпендикулярна внутренней стенке трубы на разделе 220 между трубой и жидкостью. Абсолютное значение угла 260 падения в жидком слое 240 обычно менее чем 10 градусов, отклоняясь от 0. Специалистам в данной области техники будет понятно, что другие углы 260 падения в жидком слое 240, такие как: в пределах ±5 градусов; в пределах ±1,5 градусов; и, по меньшей мере, -0,5 градусов и, по большей мере, 0,5 градусов, могут быть использованы в различных вариантах осуществления.
Схоже с угловым доплеровским преобразователем 121, перпендикулярный узкополосный преобразователь 122 может быть использован для определения, по меньшей мере, вычисления второго времени прохождения. Эффект скорости потока на вычисление второго времени прохождения отсутствует или отличается от первого вычисления, определенного угловым доплеровским преобразователем 121. Специалистам в данной области техники следует понимать, что два вычисления времени прохождения с удалением соответствующего времени прохождения в стенке трубы могут формировать следующие два уравнения, где c - скорость звука в жидком слое 240, h - толщина жидкого слоя 240, и k - известная константа, основанная на скорости звука и угле преломления в стенке 210 трубы:
Вычисление первого времени прохождения = 2 * h c * 1 − ( k * c ) 2 , и
Вычисление второго времени прохождения = 2 * h c .
Объединением вычислений времени прохождения от углового доплеровского преобразователя 121 и перпендикулярного узкополосного преобразователя 122, в этом варианте осуществления можно определить скорость звука в жидком слое 240. Из определения скорости звука можно также определить толщину жидкого слоя 240. Дополнительно, скорость звука в жидком слое может быть использована для определения фракции воды в жидком слое 240. Корме того, расход жидкости жидкого слоя 240 также может быть определен на основе скорости потока и толщины жидкого слоя 240. В некоторых вариантах осуществления средняя скорость потока может быть определена на основе определения профиля скорости жидкого слоя 240. В некоторых аспектах настоящего изобретения профиль скорости может быть измерен угловым (импульсным) допплеровским преобразователем 121.
Со ссылкой на фиг.2В, показан вариант осуществления расходомера 101 с тремя преобразователями с фиг.1В, функционально соединенного со стенкой трубы 210. Этот вариант осуществления схож с вариантом осуществления, показанным на фиг.2А, так как они оба используют, по меньшей мере, угловой и перпендикулярный преобразователи.
Два угловых акустико-волновых преобразователя 123 могут быть использованы для создания и обнаружения акустической волны 270 с малой амплитудой. Второй угловой акустико-волновой преобразователь 123-2 создает акустическую волну 270 с малой амплитудой, которая перемещается в том же направлении что и поток жидкого слоя 240, при этом первый угловой акустико-волновой преобразователь 123-1 работает как приемник. По существу, первый угловой акустико-волновой преобразователь 123-1 создает акустическую волну, которая перемещается в направлении, противоположном потоку жидкого слоя 240, при этом второй угловой акустико-волновой преобразователь 123-2 работает как приемник. Перпендикулярный высокочастотный широкополосный преобразователь 124 осуществляет измерение пульс-эхо во временной области для определения вычисления времени прохождения раздела 230 между газом и жидкостью, так же как и вычисления времени прохождения в стенке трубы 210.
Угловой акустико-волновой преобразователь 123 может быть использован для определения вычисления первого времени прохождения и вычисления третьего времени прохождения, одного - по направлению потока, и одного - в направлении, противоположном потоку. Как будет описано более подробно, перпендикулярный высокочастотный широкополосный преобразователь 124, который по существу перпендикулярен внутренней стенке трубы на разделе 220 между трубой и жидкостью, может быть использован для определения вычисления второго времени прохождения, которое отсутствует из-за эффекта скорости потока. Специалистам в данной области техники будет понятно, что три вычисления времени прохождения в жидкости могут быть использованы в следующих трех уравнениях:
Разница между вычислениями первого и третьего времени прохождения = 4 h c k 1 − ( k * c 2 ) V ,
Сумма вычислений первого и третьего времени прохождения = 4 h c ( 1 − k * c 2 / p ) 1 − ( k * c 2 ) , и
Вычисление второго времени прохождения = 2 * h c ,
где c - скорость звука в жидком слое 240, h - толщина жидкого слоя 240, V - средняя скорость потока жидкого слоя 240, p - известная скорость акустической волны в стенке 210 трубы, и k - известная константа, основанная на скорости звука и угле преломления в стенке 210 трубы. Из трех вычислений скорости прохождения, в этом варианте осуществления, могут быть определены скорость звука, толщина и средняя скорость потока жидкого слоя 240.
Со ссылкой на фиг.2C, показан вариант осуществления кросскорреляционного/акустико-волнового расходомера 103 с фиг.1C, функционально соединенного со стенкой трубы 210. Этот вариант осуществления схож с вариантом осуществления, показанным на фиг.2B, за исключением того, что высокочастотные преобразователи 124 могут использоваться для создания профиля скорости посредством кросскорреляции, способом стробирования по дальности, эхо-энергий, принятых двумя преобразователями. Этот вариант осуществления демонстрирует один путь создания профиля скорости жидкого слоя 240.
Со ссылкой на фиг.2C, показан вариант осуществления допплеровского/акустико-волнового расходомера 104 с фиг.1D, функционально соединенного со стенкой трубы 210. Этот вариант осуществления схож с вариантом осуществления, показанным на фиг.2B, за исключением того, что угловой высокочастотный импульсный допплеровский преобразователь 125 может использоваться для создания профиля скорости. Этот вариант осуществления демонстрирует другой путь создания профиля скорости жидкого слоя 240 с использованием меньшего числа преобразователей.
Угловой высокочастотный импульсный допплеровский преобразователь 125 выполнен с возможностью подавать импульсный сигнал в жидкий слой 240 под первым углом 260 падения по отношению к прямой линии, которая перпендикулярна внутренней стенке трубы на разделе 220 между трубой и жидкостью. Абсолютное значение первого угла 260 падения в жидком слое 240 обычно, по меньшей мере, 10 градусов и, по большей мере, 80 градусов. Специалистам в данной области техники следует понимать, что другие абсолютные значения для угла 260 падения в жидком слое 240, такие как, по меньшей мере, 45 градусов и, по большей мере, 70 градусов; по меньшей мере, 27 градусов, и, по большей мере, 58 градусов; и, по меньшей мере, 58 градусов, и, по большей мере, 80 градусов, могут быть использованы в различных вариантах осуществления.
Со ссылкой на фиг.2Е показан вариант осуществления расходомера 105 с контактным преобразователем с фиг.1Е, функционально соединенного со стенкой трубы 210. Этот вариант осуществления схож с вариантом осуществления, показанным на фиг.2B, за исключением того, что используются различные типы контактных преобразователей 126. В одном варианте осуществления тип жидкости за стенкой трубы может быть определен с использованием измерения акустического сопротивления. В других вариантах осуществления более аккуратные измерения средней скорости могут быть представлены измерением скорости по многим путям в трубе.
Контактные преобразователи 126 могут быть расположены под разными углами вокруг окружности трубы. Контактный преобразователь 126-4 на верху трубы может формировать пару передатчик-приемник с контактным преобразователем 126-1 внизу трубы. Таким же образом, контактный преобразователь 126-2 на боку трубы может формировать дополнительную пару передатчик-приемник с контактным преобразователем 126-5 на противоположном боку трубы. Схожим образом, контактные преобразователи 126-10, 126-4 на верху трубы могут также формировать пару передатчик-приемник с контактными преобразователями 126-7, 126-1 внизу трубы. Когда жидкий слой 240 заполняет трубу, могут быть промежутки, позволяющие прямую передачу между парами передатчик-приемник.
Со ссылкой на фиг.2F показан вариант осуществления мультиинтервального акустико-волнового расходомера 106 с фиг.1F, функционально соединенного со стенкой трубы 210. Этот вариант осуществления схож с вариантом осуществления, показанным на фиг.2B, за исключением того, что этот вариант осуществления использует третий угловой акустико-волновой преобразователь 123-3. Третий угловой акустико-волновой преобразователь 123-3 позволяет создавать и принимать акустическую волну 271 с длинной амплитудой. Акустическая волна 271 с длинной амплитудой позволяет определить больше информации о потоке в этом варианте осуществления.
Со ссылкой на фиг.2G, показан вариант осуществления акустико-волнового расходомера 107 с верхним и нижним креплением с фиг.1G, функционально соединенного со стенкой трубы 210. Этот вариант осуществления схож с вариантом осуществления, показанным на фиг.2B, за исключением того, что в этом варианте осуществления используются дополнительные угловые акустико-волновые преобразователи 123. Угловые акустико-волновые преобразователи 123-3, 123-4 на верху трубы могут формировать дополнительные пары передатчик-приемник с угловыми акустико-волновыми преобразователями 123-2, 123-1 внизу трубы.
Со ссылкой на фиг.2H показан вариант осуществления широкополосного расходомера 108 с фиг.1H, функционально соединенного со стенкой трубы 210. Этот вариант осуществления схож с вариантом осуществления, показанным на фиг.2А, за исключением того, что в этом варианте осуществления используется перпендикулярный широкополосный преобразователь 127 в дополнение к или вместо перпендикулярного узкополосного преобразователя 122. Этот вариант осуществления может позволить альтернативный способ измерения или предоставить чрезмерность измерений.
Со ссылкой на фиг.2I показан вариант осуществления мультиуглового расходомера 109 с фиг.1I, функционально соединенного со стенкой трубы 210. Этот вариант осуществления схож с вариантом осуществления, показанным на фиг.2А, за исключением того, что дополнительные угловые доплеровские преобразователи 121, в этом варианте осуществления, работают на разных друг от друга углах и/или разных частотах. Этот вариант осуществления может обеспечить более надежное определение профиля скорости. Перпендикулярный угловой доплеровский преобразователь 121 (с углом 260 падения по существу в ноль градусов) может обеспечить альтернативное (для узкополосного преобразователя 122) определение раздела 220 между трубой и жидкостью и/или раздела 230 между газом и жидкостью, на основе измерения доплеровского профиля эхо-энергии.
Со ссылкой на фиг.3А показан профиль 300 скорости потока. Ось 310 времени записи представляет время задержки между подачей импульсного сигнала и прибытием обратного эхо. Нижняя секция профиля 300 скорости потока с нулевой скоростью соответствует участкам внутри преобразователя и стенки 210 трубы потому, что в этих участках нет движущихся эхогенных отражателей. Если в жидком слое 240 есть обнаруживаемые движущиеся эхогенные отражатели, такие как твердые частицы, маленькие газовые пузырьки или жидкие капли, энергии отражаются, и может быть создан профиль скорости через жидкий слой 240. Как будет понятно специалистам в данной области техники, ско
 
                         
                            


