Способ автоматизированного формирования или расформирования группы транспортных средств
Иллюстрации
Показать всеИзобретение относится к рельсовому транспорту, а именно к формированию или расформированию транспортных средств на сортировочных или конечных пунктах. Способ автоматизированного формирования или расформирования группы рельсовых транспортных производят с использованием устройства управления, установленном на транспортном средстве. Данное устройство дистанционно приводит в действие сцепной механизм транспортного средства путем получения аналогового или цифрового управляющего сигнала. Способ проводится с возможностью автоматизированного управления стрелочными переводами или без таковой. Также возможна автоматическая передача данных о транспортном средстве на пункт управления. Решение направлено на сокращение времени технологических операций. 2 ил.
Реферат
Изобретение относится к рельсовому транспорту, а именно к способу автоматизированного расформирования или расформирования группы рельсовых транспортных средств на сортировочных, промежуточных или конечных пунктах путем установки на транспортное средство устройства управления, приводящего дистанционно в действие сцепной механизм путем получения аналогового или цифрового управляющего сигнала.
Известный в настоящее время (авторское свидетельство SU 742218, 22.03.1978) способ автоматизированного формирования или расформирования группы рельсовых транспортных средств на сортировочных, промежуточных или конечных пунктах предполагает:
1. Орган управления 1, установленный в кабине локомотива.
2. Подключающие элементы 4 с управляющими входами и выходами, установленные на каждом из транспортных 6 средств и соединенные с органом управления 1.
3. Устройство ответного сигнала 3 о готовности подключающего элемента для контроля за готовностью сцепного устройства 5 к расцепке.
4. Подключающие элементы 4, воздействующие на сцепное устройство 5 для выполнения расцепки.
5. Концевые выключатели 2, через контакты которых управляющие входы и выходы подключающих элементов каждого из транспортных средств и соединены с органом управления 1.
6. Наличие работника или группы работников при формировании группы рельсовых транспортных средств, отвечающих: за расцепку сцепных устройств транспортного средства, направление транспортного средства на путь формирования группы.
7. Вероятность травмирования вышеуказанных работников в связи с наличием движущихся транспортных средств, устройств пути: стрелочные переводы, вагонные замедлители и т.д.
Описанный способ автоматизированного формирования или расформирования группы рельсовых транспортных средств на сортировочных, промежуточных или конечных пунктах обуславливает (фиг.1):
1. Установку дополнительного оборудования на локомотив.
2. Установку дополнительного соединения на транспортное средство.
3.Наличие необходимого персонала для подготовки плана работы, расцепки транспортных средств и т.д.
4. Исправность концевых выключателей.
5. Исключение воздействия окружающей среды, повреждения и т.п.
Прибытие на пункт расформирования группы рельсовых транспортных средств с использованием линейной или магистральной тяговой единицы (магистрального локомотива). Впоследствии линейная или магистральная тяговая единица (магистральный локомотив) от группы рельсовых транспортных средств отцепляется. Группы рельсовых транспортных средств ожидает подготовку плана технологических операций по расформированию и подход тяговой единицы для выполнения технологических операций по расформированию (маневровый локомотив), так как требуется время на подготовку плана. При этом занимается приемо-отправочный путь.
Технологические операции по расформированию группы рельсовых транспортных средств выполняются с использованием тяговой подвижной единицы, задействованной для данного вида технологических операций (маневровый локомотив).
Отличительными признаками предлагаемого способа автоматизированного формирования или расформирования группы рельсовых транспортных средств на сортировочных, промежуточных или конечных пунктах являются:
1. Отсутствие дополнительных соединений между транспортными средствами.
2. Возможность модернизации установленного сцепного устройства на транспортном средстве без замены.
3. Возможность автоматизированного составления плана работы на сортировочном, промежуточном или конечном пункте.
4. Сокращение ручного труда, а как следствие, и количества персонала, задействованного в технологическом процессе.
Использование предлагаемого способа автоматизированного расформирования или расформирования группы рельсовых транспортных средств на сортировочных, промежуточных или конечных пунктах позволит:
1. Автоматизировать план работы по обработке группы транспортных средств на сортировочном, промежуточном или конечном пункте с автоматизированным управлением стрелочными переводами.
2. Сократить количество тяговых транспортных средств (маневровых локомотивов), задействованных для формирования или расформирования группы рельсовых транспортных средств.
3. Модернизировать сцепное устройство, установленное на транспортное средство без его замены.
4. Сократить время на выполнение технологических операций по расформированию группы рельсовых транспортных средств на сортировочном, промежуточном или конечном пункте следования транспортного средства.
5. Сократить время простоя транспортного средства на сортировочном, промежуточном или конечном пункте.
6. Сократить технологические операции, связанные с привлечение персонала, а следовательно, повышение производительности труда и снижение вероятности производственного травматизма.
7. Выполнять автоматическую передачу сведений о транспортном средстве на пункт управления.
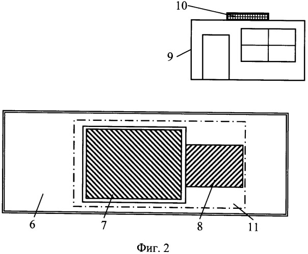
Реализация способа автоматизированного формирования или расформирования группы транспортных средств показана на фиг.2.
После прибытия на пункт расформирования группы рельсовых транспортных средств с пункта управления 9 аналоговый или цифровой управляющий сигнал через приемно-передающее устройство 10 подается на премно-передающее устройство 7 устройства управления 11 расположенного на транспортном средстве 6. Полученный управляющий сигнал содержит код, приводящий в действие исполнительный механизм 8, который приводит в действие сцепное устройство транспортного средства.
При этом технологические операции при расформировании группы рельсовых транспортных средств могут выполняться с использованием линейной или магистральной тяговой единицы (магистральный локомотив), так как возможно значительное сокращение времени на подготовку плана технологочиских операций по расформированию группы рельсовых транспортных средств и при этом не требуется использование тяговой подвижной единицы задействованной для данного вида технологических операций (маневровый локомотив).
Устройство управления 11 расположенное на транспортном средстве 6 может содержать сведения о транспортном средстве: модель, год выпуска, завод-изготовитель, выполнение технического обслуживания, виды ремонтов и т.д. и передавать при необходимости данные содержащиеся в устройстве управления на пункт управления, а также при необходимости вести контроль за срабатыванием тормоза на транспортном средстве или получать показания от уже установленых датчиков сигнализации срабатывания тормоза для ускорения процесса автоматизированной обработки транспортных средств.
Передача сведений о транспортном средстве позволит:
1. Вести автоматизированный учет транспортных средств, находящихся на пункте формирования, сортировки или промежуточном пункте и сведений о них.
2. Автоматизировать план работы пунктов формирования или сортировки с автоматизированным управлением стрелочными переводами.
3. Отслеживать время направления транспортного средства на плановые виды технического обслуживания или ремонта.
4. Сократить персонал, задействованный в технологическом процессе (расцепщики, осмотрщики вагонов, операторы стрелочных постов, постов централизации и т.д.).
5. Проводить ряд технологических операций без участия персонала.
Способ автоматизированного формирования или расформирования группы рельсовых транспортных средств, отличающийся тем, что формирование или расформирование группы рельсовых транспортных средств производится с использованием установленного на транспортном средстве устройства управления, приводящего дистанционно в действие сцепной механизм транспортного средства, путем получения аналогового или цифрового управляющего сигнала, с возможностью автоматизированного управления стрелочными переводами без участия персонала или без таковой, а также с возможностью автоматической передачи данных о транспортном средстве на пункт управления или без таковой.

