Электрический нагревательный блок для проточного нагревателя

Иллюстрации

Показать все

Изобретение относится к электрическому нагревательному блоку для проточного нагревателя. Проточный электронагреватель содержит корпус, в котором выполнен проточный канал, определяющий участок нагрева жидкости, и могут располагаться нагревательные элементы, предназначенные для нагрева жидкости, протекающей по проточному каналу. Проточный электронагреватель содержит также блок ограничения расхода, определяющий проходное сечение потока. Блок ограничения расхода встроен в корпус и содержит элемент клапана, который, по меньшей мере, частично погружен в проточный канал. Кроме того, разработан проточный нагреватель с таким нагревательным блоком. Техническим результатом, который достигается изобретением, является разработка электрического нагревательного блока, в частности, для проточного нагревателя, который обеспечит простое, компактное и недорогое размещение блока ограничения расхода. Интеграция блока ограничения расхода в нагревательный блок позволяет обойтись без его дополнительного монтажа, благодаря чему затраты на установку нагревательного блока в проточный нагреватель снижаются по сравнению с известными решениями. Кроме того, при таком способе интеграции не образуется потенциальных слабых мест, например утечек, между нагревательным блоком и блоком ограничения расхода. 2 н. и 7 з.п. ф-лы, 3 ил.

Реферат

Область техники

Предлагаемое изобретение относится к электрическому нагревательному блоку, в частности, для проточного нагревателя, согласно ограничительной части пункта 1 формулы изобретения, причем нагревательный блок содержит корпус, в котором выполнен проточный канал, определяющий участок нагрева жидкости, и могут располагаться нагревательные элементы, предназначенные для нагрева жидкости, протекающей по проточному каналу, и блок ограничения расхода, определяющий проходное сечение потока. Кроме того, изобретение относится к проточному нагревателю с таким нагревательным блоком.

Уровень техники

Современные проточные нагреватели с электрическим управлением могут устанавливать температуру на выходе с точностью до градуса вплоть до предела мощности. При низкой температуре на входе, высокой заданной температуре и слишком большом расходе воды мощности устройства часто не хватает для достижения установленной заданной температуры. Поэтому были разработаны так называемые проточные нагреватели с электронным управлением, которые дополнительно содержат блок ограничения расхода с электронным управлением. С помощью этого блока электронный регулятор динамически настраивает расход таким, образом, чтобы установленная заданная температура достигалась даже тогда, когда пользователь выбирает для данной температуры слишком большой расход воды. В уровне техники блоки ограничения расхода представляют собой самостоятельные узлы, которые дополнительно соединяются с внутренним каналом для воды нагревательного блока. Соединение часто осуществляется с помощью муфт или резьбовых насадок, которые увеличивают затраты на монтаж и повышают стоимость, а также являются местами потенциальной утечки.

Патентный документ DE 29906937 U1 описывает блок ограничения расхода, который встроен в реле разности давлений проточного нагревателя с гидравлическим управлением. Недостаток этого решения заключается в дорогостоящей и сложной интеграции блока ограничения расхода в реле разности давлений.

Раскрытие изобретения

Задачей изобретения является разработка электрического нагревательного блока (в частности, для проточного нагревателя), который будет лишен упомянутых недостатков и обеспечит простое, компактное и недорогое размещение блока ограничения расхода. Кроме того, требуется разработать проточный нагреватель с таким нагревательным блоком.

Эта задача решена электрическим нагревательным блоком с признаками, раскрываемыми в пункте 1 формулы изобретения, а также проточным нагревателем с признаками, раскрываемыми в пункте 9 формулы. Выгодные варианты исполнения изобретения, которые могут применяться по отдельности или в комбинации друг с другом, описываются в зависимых пунктах формулы.

Согласно изобретению, электрический нагревательный блок для проточного нагревателя содержит корпус, в котором выполнен проточный канал, определяющий участок нагрева жидкости, и могут располагаться нагревательные элементы, предназначенные для нагрева жидкости, протекающей по проточному каналу. Кроме того, нагревательный блок содержит блок ограничения расхода для регулировки проходного сечения потока, который встроен, согласно изобретению, в корпус и с элементом клапана, по меньшей мере, частично погружен в проточный канал.

Интеграция блока ограничения расхода в нагревательный блок, предусматриваемая изобретением, позволяет обойтись без его дополнительного монтажа, благодаря чему затраты на установку нагревательного блока в проточный нагреватель снижаются по сравнению с известными решениями. Кроме того, при таком способе интеграции не образуется потенциальных слабых мест, например, утечек, между нагревательным блоком и блоком ограничения расхода, то есть, нагревательный блок согласно изобретению отличается высокой степенью надежности. Блок ограничения расхода не нуждается в собственном корпусе и потому может отличаться очень компактным исполнением, которое позволяет в заводских условиях оснащать встроенным блоком ограничения расхода (выполненным согласно изобретению) даже малые проточные нагреватели, в которых монтажное пространство обычно очень ограничено. Кроме того, при вводе в эксплуатацию наладчиком или покупателем не требуется устанавливать никакой обязательной оснастки. Кроме того, необходимые настройки, например, настройку расхода воды, можно выполнить еще на производстве, то есть, отпадает необходимость в такой настройке при первичной установке проточного нагревателя, оснащенного таким нагревательным блоком. Корпус нагревательного блока может быть изготовлен из пластмассы. Следовательно, блок ограничения расхода встраивается в корпус нагревательного блока. Это означает, что, по меньшей мере, часть блока ограничения расхода выполнена как одно целое с корпусом нагревательного блока. Это может быть реализовано, например, методом литья под давлением, причем может применяться, в том числе, сварка пластмассы. Поэтому блок ограничения расхода может быть изготовлен, как бы, как одно целое с нагревательным блоком.

В предпочтительном варианте исполнения блок ограничения расхода вставляется в отверстие корпуса и располагается в области входного участка проточного канала. Установка блока ограничения расхода выше по течению от нагревательных элементов выгодна тем, что на нагревательные элементы подается лишь столько воды, сколько необходимо для установки заданной температуры.

В предпочтительном варианте исполнения элемент клапана представляет собой заслонку, которая взаимодействует с участком стенки входного участка канала, выполненным в виде седла клапана. Заслонку клапана можно сравнительно просто встроить в корпус или входной участок канала, в результате чего стоимость такого решения становится особенно оптимальной. Седло клапана встраивается в корпус, в частности, в пластмассовый корпус нагревательного блока, как одно целое с ним. То есть, корпус нагревательного блока одновременно служит корпусом блока ограничения расхода, в котором седло клапана выполнено непосредственно в отверстии нагревательного блока или корпуса нагревательного блока.

Для введения заслонки клапана в отверстие заслонка со стороны головной части может содержать выступ, выполненный, предпочтительно, в виде пальца или ланцета. Этот выступ частично погружается в углубление, выполненное в седле клапана. Благодаря пальцевидному выступу уменьшается нагрузка на область уплотнительного элемента заслонки клапана, в результате чего такой блок ограничения расхода отличается высокой стабильностью и не требует технического обслуживания.

Перемещение заслонки клапана может быть обеспечено электромеханическим сервоприводом. Такие сервоприводы сравнительно надежны, компактны и дешевы.

Заслонка клапана может содержать элемент в виде зубчатой рейки, который взаимодействует с шестерней сервопривода. Такое зацепление может очень точно настраиваться, в результате чего обеспечить очень точную настройку проходного сечения потока. Кроме того, для управления заслонкой клапана требуется сравнительно мало подвижных частей.

Предпочтительно, входной участок канала в области блока ограничения расхода имеет сечение потока, уменьшенное по сравнению с соседними участками входной части канала. В результате для изменения расхода достаточно минимального установочного движения или смещения заслонки клапана.

Для предотвращения загрязнения заслонки клапана и повреждения нагревательных элементов в одном из вариантов исполнения предусмотрен сетчатый фильтр, установленный на входном участке канала выше по течению от блока ограничения расхода или заслонки клапана.

Электрический проточный нагреватель в предпочтительном исполнении оснащен нагревательным блоком согласно изобретению. Такой проточный нагреватель отличается, в частности, компактностью, надежностью, простотой установки и дешевизной.

Предлагаемое изобретение подходит, в частности, для изготовления электрического нагревательного блока для бытового проточного нагревателя, который. отличается компактностью, надежностью, простотой установки и дешевизной.

Прочие выгодные варианты исполнения предлагаемого изобретения раскрываются в зависимых пунктах формулы изобретения.

Краткое описание чертежей

Ниже, на основании схематичных фигур, описывается предпочтительный вариант исполнения изобретения. На фигурах изображено:

Фигура 1: продольный разрез нагревательного блока согласно изобретению.

Фигура 2: детальный вид блока ограничения расхода, показанного на фигуре 1.

Фигура 3: еще один детальный вид блока ограничения расхода, показанного на фиг.1.

Осуществление изобретения

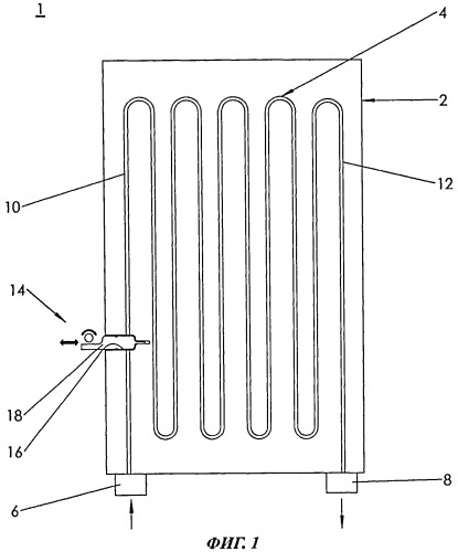
На фиг.1 представлен упрощенный продольный разрез электрического нагревательного блока 1 (выполненного согласно изобретению) для проточного нагревателя, предназначенного для нагрева воды. Этот блок содержит корпус 2, в котором выполнен проточный канал 4, имеющий форму меандра и определяющий участок нагрева. Нагревательный блок 1 выполнен по технологии неизолированной проводки с несколькими нагревательными элементами, предназначенными для нагрева воды, расположенными в проточном канале 4 и не показанными на фигуре.

Для подвода нагреваемой воды и отвода нагретой воды корпус 2 содержит впускной патрубок 6 и выпускной патрубок 8, которые гидравлически соединены с входным участком 10 и выходным участком 12 проточного канала 4, не имеющими нагревательных элементов. Для ограничения количества воды, проходящей через проточный канал 4, то есть, для ограничения расхода изобретение предусматривает наличие блока 14 ограничения расхода, встроенного в корпус 2. Клапанная заслонка 18 этого блока введена через отверстие 16 корпуса 2 во входной участок 10 канала.

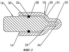
Согласно фиг.2, заслонка 18 клапана имеет форму цилиндра, проходящего в направлении перемещения, с головной частью 20 в виде полушария, которая взаимодействует с чашеобразным седлом 22 клапана, причем седло клапана образовано участком 24 стенки входной части 10 канала, расположенным напротив отверстия 16. Заслонка 18 канала введена в продольном направлении в отверстие 16, герметизированное уплотнительным кольцом 26, которое помещено в кольцевой паз 28 заслонки 18 клапана и соприкасается с участком 30 внутренней стенки отверстия 16. Чтобы предотвратить перекос заслонки 18 в отверстии 16 при осевом перемещении и повреждение уплотнительного кольца 26, заслонка 18 клапана со стороны головной части содержит палец 32, который частично погружен в углубление 34, выполненное в седле 22 клапана.

Согласно продольному разрезу (см. фиг.3) участок 24 стенки в области блока 14 ограничения расхода смещен в радиальном направлении (к отверстию 16), благодаря чему входная часть 10 канала непосредственно выше и ниже по течению от седла 22 клапана имеет сечение АR потока, которое меньше сечения А потока в соседних участках 36, 38 канала выше и ниже по течению.

Как показано на фиг.3, углубление 34 в этом варианте исполнения выполнено в выступе 40 входной части 10 канала, направленном радиально наружу. Соответственно, отверстие 16 выполнено в выступе 42, направленном радиально наружу. В результате, во-первых, заслонка 18 может полностью отпирать входной канал, во-вторых, входной канал 10 имеет постоянную толщину стенок, по существу, на всем своем протяжении.

Для осевого перемещения заслонки 18 клапана в отверстии 16 блок 14 ограничения расхода содержит электромеханический сервопривод 44. Этот сервопривод содержит шестерню 46, которая закреплена на ведущем валу серводвигателя (не показанного на фигуре), например, шагового электродвигателя, и состоит в зацеплении с зубчатым элементом 48 заслонки 18, расположенным в ее основании и ориентированном в продольном направлении. Чтобы избежать посадки заслонки 18 клапана на седло 22 клапана и, тем самым, полного запирания входного участка 10 канала, со стороны сервопривода предусмотрен упор, не показанный на фигуре.

Чтобы избежать загрязнения заслонки 18 клапана, седла 22 клапана или нагревательных элементов, предусмотрен сетчатый фильтр (не показанный на фигуре), расположенный выше по течению от блока 14 ограничения расхода или встроенный в него.

При включении проточного нагревателя сервопривод 44 активизируется в зависимости от заданной температуры, установленной пользователем, таким образом, чтобы при повороте шестерни 46 заслонка 18 клапана перемещалась, увеличивая или уменьшая проходное сечение потока в области седла 22 клапана. Согласно фиг.3, увеличение проходного сечения потока означает перемещение заслонки 18 клапана влево и, тем самым, удаление от седла 22 клапана. Напротив, уменьшение проходного сечения потока подразумевает перемещение заслонки 18 клапана вправо и, тем самым, приближение к седлу 22 клапана.

Итак, в заявке раскрыт электрический нагревательный блок для проточного нагревателя, который содержит корпус, в котором выполнен проточный канал, определяющий участок нагрева жидкости, и могут располагаться нагревательные элементы, предназначенные для нагрева жидкости, протекающей по проточному каналу, и блок ограничения расхода, определяющий проходное сечение потока, причем блок ограничения расхода встроен в корпус и содержит элемент клапана, который, по меньшей мере, частично погружен в проточный канал.

СПИСОК ССЫЛОЧНЫХ ОБОЗНАЧЕНИЙ НА ЧЕРТЕЖАХ

1 нагревательный блок

2 корпус

4 проточный канал

6 впускной патрубок

8 выпускной патрубок

10 входной участок канала

12 выходной участок канала

14 блок ограничения расхода

16 отверстие

18 заслонка клапана

20 головная часть заслонки

22 седло клапана

24 участок стенки

26 уплотнительное кольцо

28 кольцевой паз

30 участок внутренней стенки

32 палец

34 углубление

36 соседний участок канала

38 соседний участок канала

40 выступ

42 выступ

44 сервопривод

46 шестерня

48 элемент

Ar уменьшенное сечение потока

a обычное сечение потока

1. Электрический нагревательный блок (1) для проточного нагревателя, содержащий корпус (2), в котором выполнен проточный канал (4), определяющий участок нагрева жидкости, и могут располагаться нагревательные элементы, предназначенные для нагрева жидкости, протекающей по проточному каналу (4), а также блок (14) ограничения расхода, устанавливающий проходное сечение потока, отличающийся тем, что блок (14) ограничения расхода встроен в корпус (2) и с элементом (18) клапана, по меньшей мере, частично погружен в проточный канал (4).

2. Нагревательный блок по п.1, отличающийся тем, что блок (14) ограничения расхода вставлен в отверстие (16) корпуса (2) и расположен в области входного участка (10) проточного канала (4).

3. Нагревательный блок по п.1, отличающийся тем, что элемент (18) клапана представляет собой заслонку, которая взаимодействует с выполненным в виде седла (22) клапана участком (24) стенки входного участка (10) канала.

4. Нагревательный блок по п.3, отличающийся тем, что заслонка клапана со стороны головной части содержит выступ (32), который предназначен для осевого перемещения и частично погружается в углубление (34), выполненное в седле (22) клапана.

5. Нагревательный блок по п.4, отличающийся тем, что для перемещения заслонки клапана предусмотрен электромеханический сервопривод (44).

6. Нагревательный блок по п.5, отличающийся тем, что заслонка клапана содержит элемент (48) в виде зубчатой рейки, который взаимодействует с шестерней (46) сервопривода (44).

7. Нагревательный блок по одному из пп.1-6, отличающийся тем, что входной участок (10) канала в области блока (14) ограничения расхода имеет сечение (AR) потока, уменьшенное по сравнению с соседними участками (36, 38) входной части канала.

8. Нагревательный блок по одному из пп.1-6, отличающийся тем, что на входном участке (10) канала выше по течению от блока (14) ограничения расхода установлен сетчатый фильтр.

9. Электрический проточный нагреватель с нагревательным блоком (1), заявленным по любому из пп.1-8.