Устройство переключения автоматической коробки передач

Иллюстрации

Показать все

Изобретение относится к области трансмиссии транспортных средств и предназначено для переключения скоростей в автоматической коробке передач транспортного средства. Устройство переключения автоматической коробки передач содержит вал выбора передач, вал включения передач с установленным на нем рычагом включения передач, палец которого входит в пазы тяг включения передач, которые связаны с вилками включения передач. На валу выбора передач установлены неподвижная втулка включения сцепления, образующая кулачковый механизм с рычагом включения сцепления, подвижная вдоль его оси втулка включения передач, образующая кулачковый механизм с рычагом включения передачи, и вращающаяся вокруг его оси втулка выбора передач, образующая кулачковый механизм с винтовым пазом втулки выбора передач и пальцем втулки включения передач. Достигается повышение надежности устройства. 3 з.п. ф-лы, 7 ил.

Реферат

Изобретение относится к области трансмиссии транспортных средств и предназначено для переключения скоростей в автоматической коробке передач транспортного средства, например мотоцикла, автомобиля и другой технике на колесном или гусеничном ходу.

Существуют различные типы коробок передач: механические, гидромеханические и бесступенчатые. Для того, чтобы автоматизировать переключение передач в механической коробке передач, необходимо использовать устройство переключения передач с приводными механизмами, например электроприводами. Использование электроприводов требует изменения конструкции устройства переключения в механической коробке передач, часто требуется изменение конструкции коробки передач, сцепления, что приводит к значительному усложнению трансмиссий транспортного средства.

Известно устройство переключения передач транспортного средства по патенту США №7779977, B60W 10/02, B60W 10/10, опубл. 24.08.2010 г., содержащее кулачки и вилки для включения передач и сцепления с использованием одного привода. Недостатки: для каждой вилки переключения передач выполнен свой кулачковый механизм, что приводит к увеличению габаритов устройства, при этом длина и диаметр барабана, на котором располагаются кулачки включения передач, определяются расположением и числом вилок включения передач. Нет возможности переключения сразу на несколько передач, например, в случае необходимости быстрого разгона автомобиля, так как передачи здесь переключаются последовательно. Данным устройством невозможно оборудовать существующие механические коробки передач и сцепления.

Наиболее близким техническим решением (прототипом) является техническое решение по патенту США 4873881, F16H 5/44, B60K 20/16, опубл. 17.10.1989 г., содержащее устройство переключения передач, блок управления, электрический двигатель для выбора передач и электрический двигатель включения передач. В устройстве переключения передач имеются вал выбора передач, вал включения передач с установленным на нем рычагом включения передач, палец которого входит в пазы тяг включения передач, которые связаны с вилками включения передач. Недостатки: для включения требуемой передачи необходимо использовать два электропривода, а для их управления необходим электронный блок управления с датчиками контроля перемещения в виде поворотных потенциометров, вследствие чего сложно обеспечить плавное и быстрое переключение скорости в транспортном средстве. Для включения любой передачи необходимо еще одно устройство управления включением сцепления, что приводит к усложнению процесса автоматического переключения скоростей и увеличивает время переключения скорости в транспортном средстве. Наличие нескольких приводов с датчиками управления усложняет конструкцию устройства, уменьшает ее надежность, увеличивает габариты и не позволяет достичь высокой скорости в переключении передач.

Техническим результатом заявленного изобретения является создание высокоскоростного, обеспечивающего плавное переключение передач и сцепления устройства, имеющего повышенную надежность, с использованием, по крайней мере, одного привода.

Технический результат достигается тем, что устройство переключения автоматической коробки передач, содержащее вал выбора передач, вал включения передач с установленным на нем рычагом включения передач, палец которого входит в пазы тяг включения передач, которые связаны с вилками включения передач, на валу выбора передач установлены неподвижная втулка включения сцепления, образующая кулачковый механизм с рычагом включения сцепления, подвижная вдоль его оси втулка включения передач, образующая кулачковый механизм с рычагом включения передачи, а также вращающаяся вокруг его оси втулка выбора передач, образующая кулачковый механизм с винтовым пазом втулки выбора передач и пальцем втулки включения передач. Причем втулка включения передач выполнена с двумя кулачками. Причем винтовой паз выполнен с переменным осевым шагом и имеет участки с нулевым и рабочим шагами. Причем участки винтового паза с нулевым и с рабочим шагом повторяются через каждые 180°.

Сущность предлагаемого изобретения представлена на фигурах 1-7, где:

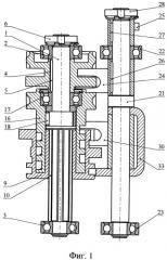
на фиг.1 - устройство переключения автомагической коробки передач в разрезе;

на фиг.2 - общий вид устройства в аксонометрической проекции;

на фиг.3 - кулачковый механизм включения передач в разрезе;

на фиг.4 - кулачковый механизм включения сцепления в разрезе;

на фиг.5 - палец втулки включения передач в разрезе;

на фиг.6 - втулка выбора передач;

на фиг.7 - общий вид с устройства с тягами и вилками включения передач в аксонометрической проекции.

На фигурах имеются следующие обозначения:

1 - вал выбора передач;

2, 3 - подшипники;

4 - втулка включения сцепления;

5 - шпонка;

6 - гайка;

7 - зубчатый венец

8 - кулачок;

9 - втулка включения передач;

10 - шлицевое соединение;

11, 12 - кулачки;

13 - канавка;

14 - палец;

15 - подшипник;

16 - втулка выбора передач;

17 - подшипник;

18 - подшипник;

19 - зубчатый венец;

20 - винтовой паз;

21 - вал включения передач;

22, 23 - подшипники;

24 - рычаг включения сцепления;

25 - рычаг управления сцеплением;

26, 27 - шпонка;

28 - гайка;

29 - подшипник;

30 - рычаг включения передач;

31, 32 - подшипники;

33 - блокиратор;

34, 35 - ушки;

36, 37, 38 - тяги включения передач;

39 - паз;

40 - палец;

41, 42 - лепестки;

43, 44, 45 - вилки включения передач.

Устройство переключения автоматической коробки передач содержит вал 1 (фиг.1) выбора передач, имеющий возможность вращения в подшипниках 2, 3. На валу 1 выбора передач установлена втулка 4 включения сцепления, зафиксированная неподвижно на нем, например, при помощи шпонки 5 и гайки 6. Втулка 4 включения сцепления состоит из зубчатого венца 7 (фиг.2) и кулачка 8. Втулка 9 (фиг.1) включения передач, также установленная на валу 1 выбора передач с помощью шлицевого соединения 10 для возможности ее осевого перемещения, имеет кулачок 11 (фиг.2), кулачок 12, канавку 13 и палец 14. Втулка 16 выбора передач, имеющая возможность вращения, например, в шариковом подшипнике 17 (фиг.1) и игольчатом подшипнике 18 вокруг оси вала 1 выбора передач, выполнена с зубчатым венцом 19 (фиг.2) и винтовым пазом 20, который вместе с пальцем 14 образуют кулачковый механизм, обеспечивающий перемещение втулки 9 включения передач вдоль оси вала 1 выбора передач. Палец 14 выполнен, например, с игольчатым подшипником 15 (фиг.5), что служит для снижения нагрузок в устройстве и увеличения скорости переключения передач. Винтовой паз 20 (фиг.6) выполнен с переменным осевым шагом и имеет участки с нулевым шагом, на которых происходит переключение передачи и участки с рабочим шагом, обеспечивающие выбор рабочей передачи. Участки с нулевым и рабочим шагом повторяются через каждые 180°.

Устройство переключения автоматической коробки передач также содержит вал 21 (фиг.1) включения передач, выполненный параллельно валу 1 выбора передач, который имеет возможность вращения в подшипнике 22 и подшипнике 23. На валу 21 включения передач установлены неподвижно рычаг 24 включения сцепления и рычаг 25 управления сцеплением, которые зафиксированы на нем, например, с помощью шпонки 26, шпонки 27 и гайки 28. Кулачок 8 и рычаг 24 включения сцепления образуют кулачковый механизм (фиг.4), в котором для снижения нагрузок и увеличения скорости переключения передач используется, например, игольчатый подшипник 29. Рычаг 30 включения передач (фиг.2), также установленный на валу 21 включения передач, образует с кулачком 11 и кулачком 12 кулачковый механизм. На валу 21 включения передач для снижения нагрузок в устройстве и увеличения скорости переключения передач используется, например, игольчатый подшипник 31 и игольчатый подшипник 32. Блокиратор 33 (фиг.1), также установленный на валу 21 включения передач и имеющий возможность перемещения вдоль его оси, входит в канавку 13 втулки 9 включения передач с помощью ушек 34, 35 и предназначен для исключения свободного перемещения рычага 30 включения передач вдоль оси вала 21 включения передач и блокирования несанкционированного включения нерабочих скоростей в автоматической коробке передач.

Устройство управляет движением тяг 36, 37, 38 (фиг.7) включения передач посредством выполненных в них пазов 39. Палец 40 рычага 30 включения передач входит в паз 39 рабочей тяги при перемещении блокиратора 33, чем обеспечивается выбор рабочей передачи, а в пазы 39 нерабочих тяг, которые находятся в нейтральном положении, входят лепестки 41, 42 блокиратора 33. Тяги 36, 37, 38 включения передач жестко связаны с вилками 43, 44, 45 включения передач. Включение рабочей передачи происходит при качании рычага 30 включения передач под воздействием кулачка 11 и кулачка 12 втулки 9 включения передач.

Цикл работы устройства состоит из 5 фаз:

- включение сцепления;

- выключение передачи;

- выбор рабочей передачи;

- включение новой передачи;

- выключение сцепления.

На всех фазах цикла работы устройства рабочий привод, например, электропривод посредством зубчатого или червячного механизма (на фиг. не показаны) обеспечивает передачу крутящего момента через зубчатый венец 7 втулки 4 включения сцепления на кулачок 8 втулки 4 включения сцепления.

На фазах включения и выключения сцепления работа устройства осуществляется следующим образом:

- вращение кулачка 8 обеспечивает качание сопряженного с ним рычага 24 включения сцепления;

- рычаг 24 включения сцепления через вал 21 включения передач передает качание на рычаг 25 управления сцеплением, который обеспечивает управление включением сцепления.

На фазах выключения и включения передачи работа устройства осуществляется следующим образом:

- вал 1 выбора передач за счет шлицевого соединения передает крутящий момент на кулачок 11 и кулачок 12 втулки 9 включения передач, установленной на нем;

- вращение кулачков 11 и 12 обеспечивает качание сопряженного с ними рычага 30 включения передач;

- при качании рычага 30 включения передач его палец 40, находящийся в пазу 39 тяг 36, 37, 38 включения передач, обеспечивает смещение одной из вилок 43, 44, 45 включения передач, которая выполняет включение или выключение передачи (скорости) в коробке передач. Ушки 34, 35 блокиратора 33, входящие в канавку 13, предотвращают вращение и смещение блокиратора 33, который своими лепестками 41, 42, входящими в паз 39, блокирует случайное включение нерабочих передач.

На фазе выбора рабочей передачи работа устройства осуществляется следующим образом:

- при вращении втулки 9 включения передач и находящейся в неподвижном состоянии втулки 16 выбора передач происходит осевое смещение втулки 9 включения передач и связанных с ней блокиратора 33 и рычага 30 включения передач за счет винтового паза 20 втулки 16 выбора передач и входящего в него пальца 14 втулки 9 включения передач;

- палец 40 рычага 30 включения передач и лепестки 41, 42 блокиратора 33 перемещаются вдоль оси вала 21 включения передач и перемещаются в пазах 39 тяг 36, 37, 38 включения передач, обеспечивая выбор рабочей передачи и блокирование нерабочих передач.

На фазе выбора передачи при необходимости смены передачи сразу на несколько ступеней, например с третьей передачи на первую передачу или в нейтральное положение, включается дополнительный (вспомогательный) привод, например, электропривод, который посредством зубчатого или червячного механизма (на фиг. не показаны) обеспечивает передачу крутящего момента на втулку 16 выбора передач через зубчатый венец 19.

- при вращении втулки 9 включения передач и вращении втулки 16 выбора передач происходит суммирующее осевое смещение втулки 9 включения передач и связанных с ней блокиратора 33 и рычага 30 включения передач, сразу на несколько ступеней за счет винтового паза 20 втулки 16 выбора передач и входящего в него пальца 14 втулки 9 включения передач.

В отличие от прототипа, где для выбора и переключения скорости необходимо управлять включением и выключением нескольких приводов, в предлагаемом изобретении высокая скорость переключения осуществляется за счет включения одного рабочего привода, обеспечивающего вращение неподвижной на валу 1 выбора передач втулки 4 включения сцепления и образующей с рычагом 24 включения сцепления кулачковый механизм, вращения подвижной вдоль оси вала 1 выбора передач втулки 9 включения передач, образующей с рычагом 30 включения передачи кулачковый механизм, а также вращающейся вокруг оси вала 1 выбора передач втулки 16 выбора передач, образующей с винтовым пазом 20 и пальцем 40 кулачковый механизм.

В отличие от прототипа, где при смене передачи сразу на несколько ступеней увеличивается время выбора передачи за счет необходимости дополнительного вращения вала выбора передач, в предлагаемом изобретении на фазе выбора передачи используется дополнительное вращение втулки 16 выбора передач за счет использования вспомогательного привода, что не увеличивает время переключения передачи.

В отличие от прототипа, где для выбора и переключения скорости необходимо управлять несколькими приводами и поэтому сложно обеспечить плавное переключение передач, например, в момент начала движения транспортного средства, в предлагаемом изобретении выполненные взаимосвязи профилей кулачков 8, 11, 12 и винтового паза 20 обеспечивают плавность переключения и сцепления.

В отличие от прототипа, где для выбора и переключения скорости в каждом цикле работы устройства необходимо использовать нескольких приводов, что снижает надежность, в предлагаемом изобретении повышение надежности устройства достигается за счет использования в цикле работы устройства одного привода.

В отличие от прототипа, где необходимо использовать дополнительный привод сцепления, в предлагаемом изобретении имеется возможность включения сцепления за счет использования в предлагаемом изобретении рычага 25 управления сцеплением.

В предлагаемом изобретении выполнение втулки включения передач с двумя кулачками позволяет уменьшить размеры предлагаемого устройства. Выполнение винтового паза 20 на втулке 16 выбора передач с переменным осевым шагом и с участками с нулевым и с рабочим шагами, где участки винтового паза с нулевым шагом и с рабочим шагом повторяются через каждые 180°, повышает скорость переключения передач в устройстве. Использование роликовых подшипников в кулачковых механизмах позволяет снизить нагрузки в узлах устройства, повысить скорость переключения и надежность его работы.

Заявленное техническое решение имеет отличия от наиболее близкого аналога, соответственно оно удовлетворяет условию патентоспособности "новизна". Техническое решение явным образом не следует из уровня техники. Кроме того, в процессе патентного поиска не выявлены технические решения, совпадающие с отличительными признаками заявленного изобретения и, следовательно, оно удовлетворяет условию патентоспособности "изобретательский уровень". Предложенное техническое решение может быть реализовано на промышленном предприятии, поэтому оно соответствует условию патентоспособности "промышленная применимость".

1. Устройство переключения автоматической коробки передач, содержащее вал выбора передач, вал включения передач с установленным на нем рычагом включения передач, палец которого входит в пазы тяг включения передач, которые связаны с вилками включения передач, отличающееся тем, что на валу выбора передач установлены неподвижная втулка включения сцепления, образующая кулачковый механизм с рычагом включения сцепления, подвижная вдоль его оси втулка включения передач, образующая кулачковый механизм с рычагом включения передач, а также вращающаяся вокруг его оси втулка выбора передач, образующая кулачковый механизм с винтовым пазом втулки выбора передач и пальцем втулки включения передач.

2. Устройство по п.1, отличающееся тем, что втулка включения передач выполнена с двумя кулачками.

3. Устройство по п.1, отличающееся тем, что винтовой паз выполнен с переменным осевым шагом и имеет участки с нулевым и рабочим шагами.

4. Устройство по п.3, отличающееся тем, что участки винтового паза с нулевым и с рабочим шагами повторяются через каждые 180°.