Устройство и способ равномерного электропитания кремниевого стержня

Иллюстрации

Показать все

Изобретение относится к устройству электропитания, по меньшей мере, одного кремниевого стержня (3) во время осаждения кремния по Сименс-процессу, причем устройство имеет, по меньшей мере, один вход (E) для подключения устройства к электрической сети (N) энергоснабжения для питания электрической энергией, по меньшей мере, один выход (A), к которому подключается, по меньшей мере, один кремниевый стержень (3), и, по меньшей мере, один преобразователь-регулятор (1) переменного тока для питания, по меньшей мере, одного подключенного, по меньшей мере, к одному выходу (A) кремниевого стержня (3) электрическим током из сети (N) энергоснабжения, причем устройство содержит также, по меньшей мере, один частотный преобразователь (2) для питания, по меньшей мере, одного подключенного, по меньшей мере, к одному выходу (A) кремниевого стержня (3) электрическим током из сети (N) энергоснабжения, который имеет более высокую частоту, чем ток, выработанный преобразователем-регулятором (1) переменного тока. Оптимальное распределение температуры внутри кремниевого стержня путем повышения однородности распределения плотности тока по его сечению является техническим результатом заявленного изобретения. 2 н. и 19 з.п. ф-лы, 6 ил.

Реферат

Изобретение относится к устройству электропитания, по меньшей мере, одного кремниевого стержня во время осаждения кремния по Сименс-процессу. Кроме того, изобретение относится к способу электропитания, по меньшей мере, одного кремниевого стержня во время осаждения кремния по Сименс-процессу с помощью такого устройства.

Устройства электропитания кремниевого стержня во время осаждения кремния по Сименс-процессу известны из уровня техники. Такие устройства имеют вход, с помощью которого устройство можно подключить к электрической сети энергоснабжения для питания электрической энергией. Устройства имеют также, по меньшей мере, один выход, к которому можно подключить один или несколько кремниевых стержней. Один или несколько преобразователей-регуляторов переменного тока питают электрическим током из сети энергоснабжения кремниевый стержень/стержни, подключенный/подключенные к выходу или выходам. Посредством преобразователя-регулятора переменного тока можно регулировать силу тока и напряжение и, тем самым, также термически преобразованную в кремниевом стержне электрическую мощность.

При изготовлении кремниевых стержней по Сименс-процессу они питаются в реакторе посредством устройств током. Реактор наполнен трихлорсиланом и находится под давлением. Реализованная в кремниевых стержнях за счет протекания тока мощность термических потерь вызывает нагрев кремниевых стержней. Температура их поверхности достигает примерно 1100°С. При этой температуре трихлорсилан разлагается и диссоциирует при доступе водорода в кремний и хлороводород. Кремний осаждается на находящемся/находящихся в реакторе кремниевом стержне/стержнях. При осаждении диаметр кремниевого стержня увеличивается в ходе процесса примерно на 1 мм/ч. В результате возрастает площадь сечения кремниевого стержня. При остающемся постоянным удельном сопротивлении кремниевого стержня большая площадь сечения приводит к снижению электрического сопротивления стержня. Кроме того, плотность тока изменяется с величины, постоянной по радиусу, до величины, сильно зависящей от радиуса. При диаметрах кремниевых стержней 7-10 мм сопротивление не зависит от радиуса. При больших диаметрах плотность тока внутри стержня выше, чем снаружи.

Поскольку электрическая проводимость кремния возрастает с температурой, а его теплопроводность уменьшается с температурой, отшнуровывание тока в середине стержня приводит к перепаду температур изнутри наружу. Перепад температур может быть настолько крайне выраженным, что стержень достигает внутри температур выше 1460°C, тогда как температура его наружной стороны составляет 1100°C. Температура 1460°C в сердцевине кремниевого стержня приводит, однако, к расплавлению кремния в его сердцевине. Вследствие этого кремний может вытечь из стержня, и стержень разрушается. Поэтому температура осаждения должна быть установлена так, чтобы температура сердцевины не превышала температуры плавления кремния.

Однако желательной была бы максимально возможная температура осаждения, чтобы достичь сильного роста стержня или высокой скорости осаждения.

В публикации WO 97/36822 раскрыто устройство для осаждения кремния на кремниевых стержнях по Сименс-процессу. В ней рассматривается также проблема перепада температур между сердцевиной и внешней поверхностью кремниевого стержня. В публикации предложен дополнительный нагрев, который вырабатывает в кремниевом стержне вихревые токи. Последние создают магнитное переменное поле заданной частоты. За счет этого достигается изменение плотности тока. Она становится более однородной от внешней поверхности кремниевого стержня к его сердцевине, так что для распределения возникает более равномерная температура.

Представленное в этой публикации устройство является сложным, поскольку дополнительно к традиционному резистивному нагреву кремниевых стержней приходится предусматривать второй нагрев, а именно нагрев вихревыми токами.

Из публикации DE 19882883 Т1 известно устройство, которое использует скин-эффект, возникающий в проводнике в случае высоко- и среднечастотных токов, чтобы достичь равномерного распределения температуры внутри кремниевого стержня. В этом устройстве предусмотрен только один нагрев, а именно резистивный. Однако он приводится в действие токами разных частот. Согласно техническому решению этой публикации, к кремниевому стержню сначала прикладывается низкочастотное напряжение. Если температура кремниевого стержня превышает заданное значение, то низкочастотное напряжение отключается, и прикладывается напряжение более высокой частоты. Устройство для питания кремниевого стержня электрической энергией в этой публикации подробно не описано.

Известный из публикации DE 19882883 Т1 способ питания кремниевых стержней либо только низкочастотными токами, либо только высоко- и среднечастотными токами, имеет тот недостаток, что при питании кремниевого стержня только высоко- и среднечастотным напряжением возникают сравнительно высокие индуктивные потери.

На фоне названного последним уровня техники в основе изобретения лежит задача создания устройства для электропитания, по меньшей мере, одного кремниевого стержня, которое позволило бы достичь более однородного распределения температуры и плотности тока в подключенных кремниевых стержнях. При этом индуктивные потери должны поддерживаться предпочтительно на минимальном уровне.

Эта задача решается, согласно изобретению, за счет того, что устройство содержит, по меньшей мере, один частотный преобразователь для питания, по меньшей мере, одного подключенного, по меньшей мере, к одному выходу кремниевого стержня электрическим током из сети энергоснабжения. Выработанный частотным преобразователем электрический ток имеет более высокую частоту, чем ток, выработанный преобразователем-регулятором переменного тока. Более высокочастотный ток за счет скин-эффекта вытесняется в наружные зоны кремниевого стержня, тогда как более низкочастотный ток приводит к высокой плотности тока в сердцевине. За счет наложения более высокочастотного и более низкочастотного токов достигается более однородная, в целом, плотность тока, что приводит к более сбалансированному распределению температуры по сечению кремниевого стержня.

Предпочтительно устройство выполнено так, что преобразователь-регулятор переменного тока и частотный преобразователь одновременно вырабатывают на своих выходах напряжения. Эти напряжения могут смешиваться в устройстве для вырабатывания на его выходе смешанного напряжения, содержащего низко- и средне- или высокочастотные доли. Смешивание выходных напряжений преобразователя-регулятора переменного тока и частотного преобразователя может осуществляться в одном или нескольких узлах, в котором/которых связываются оба напряжения.

Согласно изобретению, один выход, по меньшей мере, одного преобразователя-регулятора переменного тока, один выход частотного преобразователя и выход устройства, к которому подключен кремниевый стержень, включены электрически последовательно. Это значит, что ток, вырабатываемый частотным преобразователем, течет через выход преобразователя-регулятора переменного тока, прежде чем он будет течь через подключенный к выходу устройства кремниевый стержень. Наоборот, ток, вырабатываемый преобразователем-регулятором переменного тока, после своего протекания через подключенный к выходу устройства кремниевый стержень течет через частотный преобразователь обратно к преобразователю-регулятору переменного тока.

Точно так же возможно, что электрически между, по меньшей мере, одним преобразователем-регулятором переменного тока и выходом устройства включено первое средство для развязывания (развязывающее средство), по меньшей мере, одного преобразователя-регулятора переменного тока от, по меньшей мере, одного частотного преобразователя. Далее между, по меньшей мере, одним частотным преобразователем и выходом устройства может быть включено второе развязывающее средство для развязывания, по меньшей мере, одного частотного преобразователя от, по меньшей мере, одного преобразователя-регулятора переменного тока. Если предусмотрены первое и второе развязывающие средства, то схемы, по меньшей мере, из одного преобразователя-регулятора переменного тока и первого развязывающего средства, с одной стороны, и, по меньшей мере, из одного частотного преобразователя и второго развязывающего средства, с другой стороны, могут быть включены электрически параллельно по отношению к выходу. Это значит, что ток, вырабатываемый преобразователем-регулятором переменного тока, течет не через выход частотного преобразователя, и точно так же ток, вырабатываемый частотным преобразователем, не течет через выход преобразователя-регулятора переменного тока. Поэтому преобразователь-регулятор переменного тока и частотный преобразователь могут быть рассчитаны без учета тока соответственно друг друга.

В одном предпочтительном варианте устройство имеет, по меньшей мере, одну пару выходов для одного кремниевого стержня каждый и, по меньшей мере, одну пару частотных преобразователей. Пара частотных преобразователей относится к паре выходов. Каждый из обоих выходов пары выходов может быть тогда соединен с одним выходом одного частотного преобразователя пары частотных преобразователей. Кроме того, оба частотных преобразователя пары частотных преобразователей могут быть одинаковыми, по меньшей мере, по отношению к своим электрическим выходным величинам. Поскольку каждый частотный преобразователь одной пары имеет один выход, а выходы одной пары частотных преобразователей образуют цепь, в которой выходы частотных преобразователей сопряжены противофазно, можно соединить выходы устройства с выходами частотных преобразователей, в результате чего выходы устройства также сопряжены.

Цепь выходов частотных преобразователей имеет тогда предпочтительно первый внешний, средний и второй внешний выводы, причем выход первого частотного преобразователя пары частотных преобразователей соединен с первым внешним и средним выводами, а выход второго частотного преобразователя пары частотных преобразователей соединен со средним и вторым внешним выводами.

Далее предпочтительно один выход преобразователя-регулятора переменного тока соединен с первым и вторым внешними выводами. Сопряженное напряжение из напряжений на выходах частотных преобразователей приложено, следовательно, к выходу преобразователя-регулятора переменного тока. Поскольку частотные преобразователи в отношении своих выходных величин одинаковые, т.е. в частности, настроены на одинаковые выходные напряжения, а выходные напряжения противофазные, сопряженное напряжение из напряжений на выходах частотных преобразователей всегда равно нулю. Следовательно, к выходу преобразователя-регулятора переменного тока не приложено выработанное частотными преобразователями напряжение. Таким образом, преобразователь-регулятор переменного тока развязан от частотных преобразователей.

Первый внешний, средний и второй внешний выводы образуют узлы, в которых сопрягаются между собой низкочастотное напряжение преобразователя-регулятора переменного тока и средне- или высокочастотные напряжения частотных преобразователей.

Развязывание частотных преобразователей от преобразователя-регулятора переменного тока может достигаться, напротив, за счет того, что последовательно с частотными преобразователями включены конденсаторы, которые вместе с подключенными к выходам устройства кремниевыми стержнями образуют фильтры верхних частот и, таким образом, уменьшают или предотвращают влияния преобразователя-регулятора переменного тока на частотные преобразователи.

Согласно изобретению, частотный преобразователь или частотные преобразователи представляют собой преимущественно среднечастотный преобразователь или среднечастотные преобразователи. По меньшей мере, один частотный преобразователь может быть выполнен для вырабатывания на выходе устройства смеси из наложенных токов различных средних частот, которые накладываются друг на друга.

По меньшей мере, один частотный преобразователь устройства может быть далее выполнен для установления частоты или частот выработанного на выходе устройства тока или выработанных токов.

Любое предложенное устройство может содержать регулирующее средство, которое выполнено для установления отношения мощности, созданной, по меньшей мере, одним преобразователем-регулятором переменного тока, к мощности, созданной, по меньшей мере, одним частотным преобразователем. Поскольку в процессе осаждения диаметр или площадь сечения кремниевого стержня изменяется, изменяется также его электрическое сопротивление. Чтобы, несмотря на изменяющиеся физические условия, можно было достигать всегда оптимального распределения температуры внутри кремниевого стержня, теплопроизводительность преобразователя-регулятора переменного тока и теплопроизводительность частотного преобразователя можно изменять по отношению друг к другу. Например, в начале процесса осаждения теплопроизводительность преобразователя-регулятора переменного тока может быть выше по отношению к теплопроизводительности частотного преобразователя, чем в более поздний момент процесса осаждения. Устройство может содержать, например, регулирующее средство, которое выполнено для установления частоты или частот в зависимости от диаметра и/или площади сечения, по меньшей мере, одного кремниевого стержня.

Преобразователь-регулятор переменного тока устройства представляет собой преимущественно ведомый сетью преобразователь-регулятор переменного тока.

Предложенное питание, по меньшей мере, одного кремниевого стержня электрическим током во время осаждения кремния может осуществляться с помощью описанного устройства. Предложенный способ может быть реализован так, что отношение мощности, созданной, по меньшей мере, одним преобразователем-регулятором переменного тока к мощности, созданной, по меньшей мере, одним частотным преобразователем, в процессе осаждения изменяется с целью равномерного распределения температуры, по меньшей мере, в одном подключенном кремниевом стержне. Так, в частности, подаваемая, по меньшей мере, к одному кремниевому стержню через, по меньшей мере, один частотный преобразователь мощность может быть выше по отношению к мощности в процессе осаждения, подаваемой через, по меньшей мере, один преобразователь-регулятор переменного тока.

Частота тока на выходе преобразователя регулятора соответствует в случае регулирования частоте сети питания, к которой подключено устройство согласно изобретению. Частота составляет предпочтительно от 47 до 63 Гц. Частоты тока на выходе частотного преобразователя могут быть от 0,3 до 300 МГц.

Предпочтительно частота на выходе частотного преобразователя находится в пределах от 20 кГц до 200 кГц.

Другие признаки и преимущества изобретения поясняются с помощью чертежей, на которых изображают:

- фиг.1: устройство с одним преобразователем-регулятором переменного тока и одним частотным преобразователем, выходы которых включены последовательно;

- фиг.2: устройство с одним преобразователем-регулятором переменного тока и одним частотным преобразователем, включенными параллельно;

- фиг.3: устройство с двумя частотными преобразователями с сопряженными выходами;

- фиг.4: временную диаграмму напряжения, приложенного к выходу преобразователя-регулятора переменного тока;

- фиг.5: временную диаграмму напряжения, приложенного к выходу частотного преобразователя;

- фиг.6: временную диаграмму напряжения, приложенного к выходу устройства.

На фиг.1-3 изображены упрощенные блок-схемы устройств и только их пути мощности. Линии для управляющих или регулирующих сигналов на фиг.1-3 не показаны. Если в устройствах на фиг.1-3 использованы детали одного рода, то они обозначены одинаковыми ссылочными позициями.

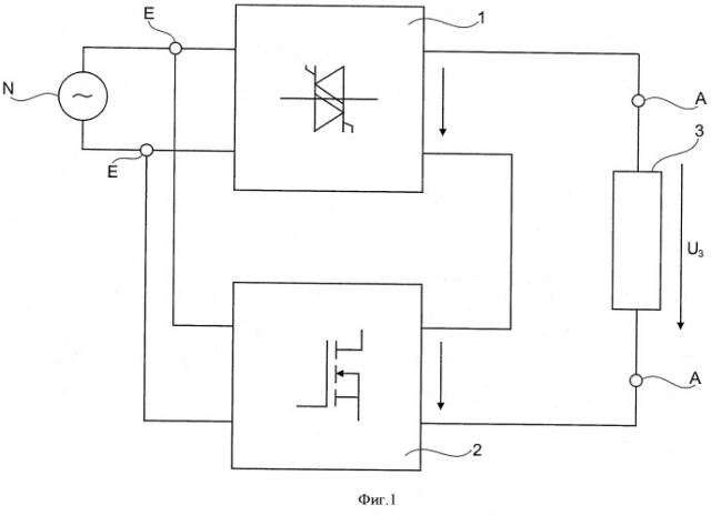
Устройство на фиг.1 для электропитания кремниевого стержня во время осаждения кремния по Сименс-процессу имеет вход Е с двумя выводами E1, Е2. Через вывод Е устройство подключено к сети N для питания электрической энергией. С входом Е соединены преобразователь-регулятор 1 переменного тока и частотный преобразователь 2. Оба через вход Е могут отбирать электрическую энергию из сети N.

Преобразователь-регулятор 1 переменного тока и частотный преобразователь 2 могут быть выполнены известным образом. Преобразователь-регулятор 1 переменного может быть образован, например, схемой из различных силовых тиристоров.

В то время как преобразователь-регулятор 1 переменного тока выполнен ведомым сетью, частотный преобразователь 2 выполнен автономным и вырабатывает на своем выходе напряжение, которое имеет заметно более высокую частоту, чем напряжение, вырабатываемое преобразователем-регулятором 1 переменного тока. Временные диаграммы напряжений, приложенных к выходам преобразователя-регулятора 1 переменного тока и частотного преобразователя 2, изображены на фиг.4 и 5.

Выходы преобразователя-регулятора 1 переменного тока и частотного преобразователя 2 включены электрически последовательно.

Не соединенные между собой выводы выходов преобразователя-регулятора переменного тока и частотного преобразователя соединены с выводами выхода А, к которым подключен кремниевый стержень 3. На нем за счет диссоциации из трихлорсилана должен осаждаться кремний.

В отличие от устройства на фиг.1 в устройстве на фиг.2 выходы преобразователя-регулятора 1 переменного тока и частотного преобразователя 2 не включены последовательно. Выход преобразователя-регулятора 1 переменного тока через развязывающее средство 4 соединен с выходом А устройства. Выход частотного преобразователя 2 аналогичным образом через развязывающее средство 5 соединен с выходом А устройства.

Схема из преобразователя-регулятора 1 переменного тока и первого развязывающего средства 4 включена электрически параллельно схеме из частотного преобразователя 2 и второго развязывающего средства 5.

К выходу А подключен кремниевый стержень 3, на котором должен осаждаться кремний. Как к выходу устройства на фиг.1, так и к выходу устройства на фиг.2 приложено напряжение U3, чья временная диаграмма изображена на фиг.6. Напряжение U3 образуется за счет наложения напряжений U1, U2. Таким образом, к выходу А устройств на фиг.1 и 2 приложено напряжение, возбуждающее ток, основная частота которого соответствует частоте сети, а его спектр высших гармоник установлен частотным преобразователем 2. Этот ток ведет в кремниевом стержне 3 к более однородной плотности, чем использование тока без доли высших гармоник. В то время как ток, возбуждаемый только напряжением U1 преобразователя-регулятора 1 переменного тока, ведет к более высокой плотности в сердцевине кремниевого стержня 3, доля высших гармоник, вызываемая напряжением U2 частотного преобразователя 2, ведет к более однородному распределению плотности тока по всему сечению кремниевого стержня. Отшнуровывание тока по сердечнику кремниевого стержня 3 и чрезмерный нагрев сердечника предотвращены. Благодаря этому можно проводить Сименс-процесс осаждения кремния на кремниевом стержне с более высокими температурами, чем в устройстве, в котором нагрев происходит только током, вырабатываемым преобразователем-регулятором переменного тока.

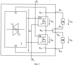
В противоположность примерам на фиг.1 и 2 устройство на фиг.3 содержит один преобразователь-регулятор 1 переменного тока и два частотных преобразователя 2а, 2b. Оба частотных преобразователя 2а, 2b выполнены идентичными и имеют поэтому идентичные выходные величины. Частотные преобразователи 2а, 2b эксплуатируются противофазно, так что на их выходах устанавливаются, правда, одинаковые по величине напряжения, однако они отличаются положением по фазе, а именно смещены по отношению друг к другу на 180°.

Устройство на фиг.3 имеет один вход с двумя выводами E1, Е2, которым оно соединено с питающей сетью (не показана). Преобразователь-регулятор 1 переменного тока и частотные преобразователи 2а, 2b соединены с выводами E1, Е2.

Напряжения U1 и U2a, U2b, приложенные к выходам преобразователя-регулятора 1 переменного тока и частотных преобразователей 2а, 2b, сопряжены между собой в трех узлах К1, К2, К3.

Выходы частотных преобразователей 2а, 2b сопряжены, причем первый внешний вывод К1 цепи соединен с первым выводом выхода первого частотного преобразователя 2а. Второй вывод его выхода соединен с внутренним выводом К2 цепи. С этим внутренним выводом К2 цепи соединен также первый вывод выхода второго частотного преобразователя 2b. Второй вывод его выхода соединен со вторым внешним выводом К3. Внешние выводы К1, К3 цепи соединены с выводами 11, 12 выхода преобразователя-регулятора 1 переменного тока.

Первый внешний К1 и средний К2 выводы цепи соединены с первым выходом устройства с выводами A11, А12. К этому первому выходу подключен первый кремниевый стержень 3а.

Средний К2 и второй внешний К3 выводы цепи из обоих частотных преобразователей 2а, 2b соединены со вторых выходом А21, А22 устройства, к которому подключен второй кремниевый стержень 3b.

Выход первого частотного преобразователя 2а и первый кремниевый стержень 3а включены параллельно. Точно так же параллельно включены выход второго частотного преобразователя 2b и второй кремниевый стержень 3b. Параллельные схемы включены последовательно, и эта последовательная схема подключена к преобразователю-регулятору 1 переменного тока.

На первом внешнем К1, среднем К2 и втором внешнем К3 выводах между собой смешиваются выходные напряжения преобразователя-регулятора 1 переменного тока и частотных преобразователей 2а, 2b. На первом выходе A11, А12 устанавливается смесь из напряжения U2a первого частотного преобразователя 2а и напряжения U1 преобразователя-регулятора 1 переменного тока. На втором выходе А21, А22 устанавливается смесь из выходных напряжений U2b второго частотного преобразователя 2b и напряжения U1 преобразователя-регулятора 1 переменного тока.

Поскольку напряжения на выходах частотных преобразователей 2а, 2b по величине одинаковы и противофазны, между узлами К1 и К3 падает исключительно выходное напряжение U1 преобразователя-регулятора 1 переменного тока, поскольку напряжения U2a и U2b взаимно уничтожаются. Это предотвращает обратную связь выходных напряжений частотных преобразователей с преобразователем-регулятором 1 переменного тока.

За счет конденсаторов (не показаны) на выходах частотных преобразователей 2а, 2b можно устранить воздействие напряжения U1 преобразователя-регулятора 1 переменного тока на оба частотных преобразователя 2а, 2b. Конденсаторы на выходах частотных преобразователей 2а, 2b образуют с подключенными к выходам нагрузками, в частности их омическими долями, фильтр верхних частот, который удерживает низкие частоты напряжения U1 от частотных преобразователей 2а, 2b. По сравнению с устройствами на фиг.1 и 2 устройство на фиг.3 имеет то преимущество, что последовательно с низкочастотным электропитанием не включены никакие элементы. Предотвращена связь между низкочастотным электропитанием за счет преобразователя-регулятора переменного тока средне- или высокочастотным электропитанием за счет частотных преобразователей. Другое преимущество в том, что частотные преобразователи простыми средствами могут быть комбинированы с уже существующим питающим устройством с преобразователем-регулятором переменного тока для достижения предложенного устройства. Поэтому дооснащение существующего устройства возможно простыми средствами.

1. Устройство электропитания, по меньшей мере, одного кремниевого стержня (3) во время осаждения кремния, имеющее, по меньшей мере, один вход (Е) для подключения устройства к электрической сети (N) энергоснабжения для питания электрической энергией, по меньшей мере, один выход (A), к которому может быть подключен, по меньшей мере, один кремниевый стержень (3) и, по меньшей мере, один преобразователь-регулятор (1) переменного тока для питания, по меньшей мере, одного, подключенного, по меньшей мере, к одному выходу (A) кремниевого стержня (3) электрическим током из сети (N) энергоснабжения, отличающееся тем, что устройство содержит также, по меньшей мере, один частотный преобразователь (2) для питания, по меньшей мере, одного, подключенного, по меньшей мере, к одному выходу (A) кремниевого стержня (3) электрическим током из сети (N) энергоснабжения, который имеет более высокую частоту, чем ток, выработанный преобразователем-регулятором (1) переменного тока, причем подключенный к выходу устройства кремниевый стержень одновременно питается низкочастотным током преобразователя-регулятора и высоко- или низкочастотным током частотного преобразователя.

2. Устройство по п.1, отличающееся тем, что оно выполнено с возможностью вырабатывания электрического напряжения, смешанного из долей напряжений разной частоты, по меньшей мере, на одном выходе (A).

3. Устройство по п.3, отличающееся тем, что оно содержит узлы, в которых выработанные преобразователем-регулятором (1) переменного тока и частотным преобразователем (2) напряжения могут быть сопряжены для смешивания вырабатываемого на выходе напряжения.

4. Устройство по одному из пп.1-3, отличающееся тем, что один выход, по меньшей мере, одного преобразователя-регулятора (1) переменного тока, один выход, по меньшей мере, одного частотного преобразователя (2) и выход устройства, к которому может быть подключен кремниевый стержень, включены электрически последовательно.

5. Устройство по одному из пп.1-3, отличающееся тем, что электрически между, по меньшей мере, одним преобразователем-регулятором (1) переменного тока и выходом (A) включено первое развязывающее средство (4), по меньшей мере, одного преобразователя-регулятора (1) переменного тока от, по меньшей мере, одного частотного преобразователя (2), а между, по меньшей мере, одним частотным преобразователем (2) и выходом (A) включено второе развязывающее средство (5) для развязывания, по меньшей мере, одного частотного преобразователя (2) от, по меньшей мере, одного преобразователя-регулятора (1) переменного тока.

6. Устройство по п.5, отличающееся тем, что схемы, по меньшей мере, из одного преобразователя-регулятора (1) переменного тока и первого развязывающего средства (4), с одной стороны, и, по меньшей мере, из одного частотного преобразователя (2) и второго развязывающего средства (5), с другой стороны, включены электрически параллельно.

7. Устройство по одному из пп.1-3, отличающееся тем, что оно содержит, по меньшей мере, одну пару выходов для одного кремниевого стержня каждый и, по меньшей мере, одну пару частотных преобразователей (2a, 2b), относящихся к паре выходов.

8. Устройство по п.7, отличающееся тем, что каждый из обоих выходов пары выходов соединен с одним выходом одного частотного преобразователя (2a, 2b) пары частотных преобразователей (2a, 2b).

9. Устройство по п.8, отличающееся тем, что оба частотных преобразователя (2a, 2b) пары частотных преобразователей (2a, 2b) выполнены одинаковыми, по меньшей мере, по отношению к своим электрическим выходным величинам.

10. Устройство по п.8 или 9, отличающееся тем, что каждый частотный преобразователь (2a, 2b) одной пары имеет один выход, при этом выходы одной пары частотных преобразователей (2a, 2b) образуют цепь, в которой выходы частотных преобразователей (2a, 2b) сопряжены противофазно.

11. Устройство по п.10, отличающееся тем, что цепь имеет первый внешний вывод (К1), средний вывод (К2) и второй внешний вывод (К3), причем выход первого частотного преобразователя (2а) пары частотных преобразователей (2а, 2b) соединен с первым внешним выводом (К1) и средним выводом (К2), а выход второго частотного преобразователя (2b) пары частотных преобразователей (2а, 2b) соединен со средним выводом (К2) и вторым внешним выводом (К3).

12. Устройство по п.11, отличающееся тем, что один выход преобразователя-регулятора (1) переменного тока соединен с первым внешним выводом (К1) и вторым внешним выводом (К2).

13. Устройство по п.1, отличающееся тем, что, по меньшей мере, один частотный преобразователь (2) представляет собой среднечастотный преобразователь.

14. Устройство по п.1, отличающееся тем, что, по меньшей мере, один частотный преобразователь (2) выполнен с возможностью вырабатывания на выходе (А) устройства смеси из наложенных токов разных средних частот.

15. Устройство по п.1, отличающееся тем, что, по меньшей мере, один частотный преобразователь (2) выполнен с возможностью установления частоты/частот выработанного/выработанных на выходе (A) устройства тока/токов.

16. Устройство по п.1, отличающееся тем, что оно содержит регулирующее средство для установления отношения мощности, созданной, по меньшей мере, одним преобразователем-регулятором (1) переменного тока, к мощности, созданной, по меньшей мере, одним частотным преобразователем (2).

17. Устройство по п.1, отличающееся тем, что оно содержит регулирующее средство для установления частоты/частот в зависимости от диаметра и/или площади сечения, по меньшей мере, одного кремниевого стержня (3).

18. Устройство по п.1, отличающееся тем, что, по меньшей мере, один преобразователь-регулятор (1) переменного тока представляет собой ведомый сетью преобразователь-регулятор переменного тока.

19. Способ электропитания, по меньшей мере, одного кремниевого стержня (3) во время осаждения кремния с помощью устройства по одному из пп.1-18.

20. Способ по п.19, отличающийся тем, что отношение мощности, созданной, по меньшей мере, одним преобразователем-регулятором (1) переменного тока, к мощности, созданной, по меньшей мере, одним частотным преобразователем (2), изменяют в процессе осаждения для равномерного распределения температуры, по меньшей мере, в одном подключенном кремниевом стержне (3).

21. Способ по п.20, отличающийся тем, что подаваемую, по меньшей мере, к одному кремниевому стержню (3) через, по меньшей мере, один частотный преобразователь (2) мощность увеличивают по отношению к мощности в процессе осаждения, подаваемой через, по меньшей мере, один преобразователь-регулятор (1) переменного тока.