Сушилка для белья

Иллюстрации

Показать все

Настоящее изобретение относится к раздвижной сушилке для белья, позволяющей наиболее полно использовать рабочие поверхности в обоих положениях, а также компактной легкой и удобной в использовании. Сушилка (10) для белья содержит два опорных продольных элемента (11, 12), образующих, по существу, две противоположные друг другу рамы с возможностью их взаимного введения и выдвижения относительно друг друга с помощью средства взаимного перемещения, образованных двумя поперечными элементами (25, 26). При этом в первом положении - задвинутом, по существу, наложенном друг на друга - образуется одна центральная рама (15), во втором положении при полном их взаимном выдвижения, обе рамы полностью доступны для подвешивания белья. Опорные средства (16) сушилки (10) для белья соединены с продольными элементами. 5 з.п. ф-лы, 8 ил.

Реферат

Настоящее изобретение относится к сушилке для белья.

В настоящее время многие типы сушилок для белья являются доступными для приобретения.

Среди них, многие представляют собой тип сушилок для белья, который содержит четырехугольный каркас, который образован парой продольных элементов и парой поперечных элементов, между которыми предусмотрены стержнеобразные элементы, которые, вместе с каркасом, образуют раму для подвешивания белья/ пары складывающихся опорных ножек обычно соединены с продольными элементами.

Сушилки для белья обычно имеют основную раму, которая образована, в добавление к стержнеобразным элементам, продольными элементами и поперечными элементами, и две дополнительные рамы, которые имеют стержнеобразные подвешивающие элементы, которые короче, чем стержнеобразные элементы основной рамы (типично приблизительно на половину их длины), при этом такие дополнительные рамы или шарнирно соединены с поперечными элементами и способны складываться на основную раму, или являются выдвижными из основной рамы.

Две дополнительные рамы позволяют использовать сушилку для белья оптимизированным образом с конструкцией, которая может быть приспособлена к количеству белья, подлежащего подвешиванию.

Как сушилки для белья с шарнирно соединенными дополнительными рамами, так и сушилки для белья с выдвижными дополнительными рамами имеют один и тот же недостаток, связанный с ограниченным размером дополнительных рам.

В обоих случаях, фактически, чтобы обеспечить возможность сохранения сушилкой для белья ее собственного устойчивого равновесия, даже если одна дополнительная рама раскрыта и нагружена, каждая из боковых рам, в общем смысле, имеет половину длины основной рамы.

Следовательно, эти известные дополнительные рамы, несмотря на то, что полезны, не обладают теми же самыми функциональными возможностями, что и основная рама, так как является возможным повесить на них только небольшие предметы, такие как носовые платки, носки, нижние рубашки и тому подобное, но не такие как простыни, большие полотенца и, в общем, все предметы, которые, вследствие их размера, могут подвешиваться только на основную раму.

Целью настоящего изобретения является создание сушилки для белья, которая способна устранить ограничения упомянутых сушилок для белья известного типа.

В рамках этой цели, задачей изобретения является создание сушилки для белья, к основной раме которой присоединена дополнительная рама, большая, чем известные дополнительные рамы.

Другой задачей изобретения является создание сушилки для белья, которая является простой в использовании, подобно известным сушилкам для белья.

Другой задачей изобретения является создание сушилки для белья, которая может легко складываться в нерабочее положение таким же образом, что и известные сушилки для белья.

Другая задача изобретения - создать сушилку для белья, которая может быть конструктивно изготовлена с небольшими затратами, с известными технологиями и системами.

Эта цель, а также эти и другие задачи, которые станут более понятны в дальнейшем, достигаются с помощью сушилки для белья, которая согласно изобретению содержит два опорных продольных элемента для двух противоположных друг другу рам, которые могут перемещаться друг относительно друга с помощью средств взаимного перемещения между первым по существу наложенным положением для образования одной центральной рамы для подвешивания белья и вторым положением полного и взаимного выдвижения, причем обе рамы полностью доступны для подвешивания белья, при этом опорные средства для сушилки для белья соединены с указанными продольными элементами.

Дополнительные признаки и преимущества изобретения станут более очевидными из нижеследующего подробного описания предпочтительного, но не ограничивающего, варианта осуществления сушилки для белья в соответствии с изобретением, показанного в качестве неограничивающего примера на сопровождающих чертежах, на которых:

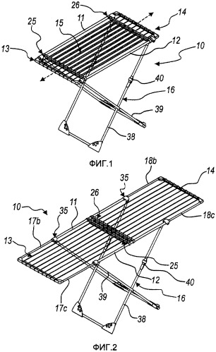
Фиг.1 - перспективный вид сушилки для белья в соответствии с изобретением в первом рабочем положении;

Фиг.2 - перспективный вид сушилки для белья в соответствии с изобретением во втором рабочем положении;

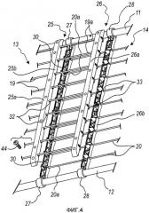
Фиг.3 - перспективный вид двух взаимно противоположных рам сушилки для белья в соответствии с изобретением;

Фиг.4 - вид с частичным разнесением деталей части сушилки для белья в соответствии с изобретением;

Фиг.5 - вид сверху части сушилки для белья в соответствии с изобретением;

Фиг.6 - сечение, взятое по линии VI-VI на фиг.5;

Фиг.7 - сечение, взятое по линии VTI-VII на фиг.5;

Фиг.8 - изображение второго варианта осуществления сушилки для белья в соответствии с изобретением.

На фигурах сушилка для белья в целом обозначена ссылочной позицией 10.

Сушилка 10 для белья содержит два опорных продольных элемента 11 и 12 для двух противоположных друг другу рам 13 и 14, описанных более подробно в дальнейшем.

Рамы 13 и 14 могут перемещаться относительно друг друга и относительно продольных элементов 11 и 12 посредством средств взаимного перемещения.

Рамы 13 и 14 могут перемещаться между первым по существу наложенным положением для образования одной центральной подвешивающей рамы 15, как показано на фиг.1, и вторым положением полного и взаимного выдвижения, причем обе рамы полностью доступны для подвешивания белья, как показано на фиг.2.

Опорные средства 16 для сушилки 10 для белья соединены с продольными элементами 11 и 12 и также описаны более подробно в дальнейшем.

Каждая из двух рам 13 и 14, хорошо видимые на фиг.3, образована U-образным трубчатым элементом, соответственно 17 и 18, который поддерживает множество стержнеобразных или проволокообразных элементов для подвешивания белья.

Такие стержнеобразные или проволокообразные элементы образованы, в этом иллюстративном и неограничивающем варианте осуществления изобретения, рядом металлических стержней 19 и 20, которые приварены на первом конце к центральной части 17а и 18а соответствующих U-образных трубчатых элементов 17 и 18.

Боковые части 17b и 17с и 18b и 18с U-образных трубчатых элементов 17 и 18 выполнены с возможностью введения, для того чтобы они могли выдвигаться, в продольные элементы 11 и 12.

Предотвращающие выпадение, ограничивающие ход средства образованы между продольными элементами 11 и 12 и соответствующими боковыми частями 17b, 17c, 18b, 18с и приспособлены для предотвращения полного выдвижения рам 13 и 14 из продольных элементов 11 и 12; предотвращающие выпадение средства описаны в дальнейшем.

Металлические стержни 19 и 20 соединены, так как они являются частью одного и того же металлического прутка, 21 и 22, который согнут в U-образную форму.

Каждый поперечный элемент 25 и 26 перемещения состоит, в этом варианте осуществления, из двух полукорпусов 25а и 25b и 26а и 26b, соответственно, полученных формованием пластикового материала.

Полукорпусы могут быть скреплены друг с другом посредством винтов 44, как показано на фиг.4.

Взаимное скрепление полукорпусов, как вариант, может быть обеспечено посредством взаимного блокирования.

В варианте осуществления, описываемом здесь, центральные стержни 23 и 24 являются независимыми.

Средства взаимного перемещения образованы двумя поперечными элементами 25 и 26 перемещения, которые имеют соответствующие втулки 27 и 28 для перемещения по продольным элементам 11 и 12.

Каждый из двух поперечных элементов 25 и 26 перемещения содержит фиксирующие посадочные места 30 и 31 для свободных концов, соединенных таким образом, чтобы образовать U-образную форму, стержней 19 или 20 первой рамы и щели 32 и 33 для перемещения относительно стержней другой второй рамы.

На фиг.4, и дополнительно на поперечном сечении фиг.6, показано, каким образом первый поперечный элемент 25 перемещения содержит первые посадочные места 30 для свободных концов 20а стержней 20 второй рамы 14 и первые щели 32 для перемещения первого поперечного элемента 25 по первым стержням 19 первой рамы 13; подобным образом, второй поперечный элемент 26 перемещения содержит вторые посадочные места 31 для свободных концов 19а стержней 19 первой рамы 13 и вторые щели 33 для перемещения второго поперечного элемента 26 по вторым стержням 20 второй рамы 14.

Стержни 19 и 20 предпочтительно расположены таким образом, чтобы быть параллельными, взаимно направленными и наложенными друг друга в положении, при котором рамы 13 и 14 перекрывают друг друга таким образом, что подвешивание белья является возможным только на одной центральной раме 15, образованной двумя рамами 13 и 14, которые в этом первом рабочем положении сушилки 10 для белья наложены друг на друга.

Упомянутые выше предотвращающие выпадение средства, приспособленные для предотвращения полного выдвижения рам 13 и 14 из продольных элементов 11 и 12, показаны на фиг.7.

Каждый конец продольных элементов 11 и 12, при этом один конец продольного элемента 11 показан в качестве примера на фиг.7, окружен узлом 35, внутрь которого вставлен поперечный стержень 36, который приспособлен для образования упорного ограничителя хода для выступа 37, который образован втулкой 38, размещенной так, чтобы окружать соответствующий конец боковой части 17b, а также 17с, 18b и 18с, U-образного элемента 17, а также 18, первой рамы 13, а также второй рамы 14.

Средства 16 также шарнирно соединены с узлами 35 и на фигурах показаны в виде двух пар ножек 38 и 39, которые шарнирно соединены подобно ножницам, и с сочленением 40 для обеспечения возможности складывания, по существу, известного типа.

Опорные средства 116, как показанные в варианте осуществления на фиг.8, следует понимать также в качестве возможных пар ножек 138 и 139, которые могут сгибаться на одном конце на сушилку 110 для белья и также представляют собой известный тип ножек, а также другие типы ножек, которые являются аналогичными и эквивалентными.

Работа сушилки 10 для белья, а также сушилки 110 для белья, в соответствии с изобретением изложена ниже.

Из закрытого положения, первого положения с наложенными друг на друга рамами 13 и 14 (фиг.1), является достаточным потянуть, по меньшей мере, одну из двух рам 13 и 14 в направлении для выдвижения относительно другой рамы.

Выдвижение двух рам 13 и 14 может быть частичным или полным, до получения двух рам 13 и 14, которые полностью доступны для подвешивания предметов, подлежащих просушиванию, (фиг.2), при этом указанные две рамы, по существу, удваивают подвешивающую способность одной центральной рамы 15 (которая получается, когда две рамы 13 и 14 наложены для образования одной рамы 15 первого рабочего положения), однако не имея поперечных элементов, предотвращающих подвешивание больших предметов, таких как простыни, шторы, большие полотенца и тому подобное.

На практике было обнаружено, что изобретение достигает намеченных целей и задач.

Согласно изобретению была создана сушилка для белья, которая имеет, по существу, две рамы 13 и 14, способные удвоить функциональные возможности центральной рамы 15, образованной совмещением двух рам 13 и 14.

Более того, посредством изобретения была создана сушилка для белья, которая является такой же простой в использовании, как и известные сушилки для белья.

Кроме того, сушилка для белья в соответствии с изобретением может легко складываться в нерабочее положение таким же образом, что и известные сушилки для белья.

Не менее важно, изобретение предлагает сушилку для белья, которая может быть конструктивно изготовлена с небольшими затратами, с технологиями и системами известного типа.

Изобретение, задуманное таким образом, допускает многочисленные модификации и изменения, все из которых находятся в пределах объема притязаний прилагаемой формулы изобретения; все элементы могут быть дополнительно заменены другими технически эквивалентными элементами.

На практике, применяемые материалы, а также возможные формы и размеры, могут быть любыми в соответствии с требованиями и уровнем техники.

1. Сушилка (10) для белья, отличающаяся тем, что она содержит два опорных продольных элемента (11, 12) для двух противоположных друг другу рам (13, 14), перемещающихся относительно друг друга с помощью средств взаимного перемещения средств между первым по существу наложенным положением для образования одной центральной подвешивающей рамы (15) и вторым положением полного и взаимного выдвижения, причем обе рамы полностью доступны для подвешивания белья, при этом опорные средства (16) для сушилки (10) для белья соединены с указанными продольными элементами.

2. Сушилка для белья по п.1, отличающаяся тем, что каждая из указанных двух рам (13, 14) образована U-образным трубчатым элементом (17, 18), который поддерживает множество стержнеобразных или проволокообразных элементов для подвешивания белья, при этом боковые части (17b, 17c, 18b, 18с) указанных U-образных трубчатых элементов (17, 18) выполнены с возможностью введения для обеспечения их выдвижения в указанные продольные элементы (11, 12), при этом между продольными элементами (11, 12) и соответствующими боковыми частями (17b, 17c, 18b, 18с) имеются ограничивающие ход средства для предотвращения выдвижения, которые выполнены с возможностью предотвращения полного извлечения рам (13, 14) из продольных элементов (11, 12).

3. Сушилка для белья по п.1, отличающаяся тем, что указанные средства взаимного перемещения образованы двумя поперечными элементами (25, 26) перемещения, имеющими соответствующие втулки (27, 28) для перемещения по продольным элементам (11, 12), при этом каждый из двух перемещающих поперечных элементов (25, 26) содержит фиксирующие посадочные места (30, 31) для свободных концов стержней (19, 20) первой рамы из двух противоположных друг другу рам и щели (32, 33) для взаимного перемещения относительно стержней второй рамы из двух противоположных друг другу рам.

4. Сушилка для белья по п.2, отличающаяся тем, что предотвращающие выдвижение, ограничивающие ход средства, приспособленные для предотвращения полного извлечения рам (13, 14) из продольных элементов (11, 12), образованы узлом (35) для каждого конца продольных элементов (11, 12), при этом поперечный стержень (36) введен в каждый узел (35) и выполнен с возможностью образования упорного ограничителя хода для выступа (37), образованного втулкой (38), которая размещена так, чтобы окружать соответствующий конец боковой части (17b, 17c, 18b, 18с) U-образного элемента (17, 18) каждой рамы (13, 14).

5. Сушилка для белья по п.3, отличающаяся тем, что каждый поперечный элемент (25, 26) перемещения состоит из двух полукорпусов (25а, 25b, 26а, 26b), полученных формированием пластикового материала.

6. Сушилка для белья по п.5, отличающаяся тем, что указанные полукорпуса жестко скреплены друг с другом посредством винтов (44), или посредством взаимоблокировки, или с помощью других аналогичных и эквивалентных средств.