Способ использования тепловой энергии от поверхности пирометаллургической технологической установки и используемый в нем термоэлектрический прибор

Иллюстрации

Показать все

Изобретение относится к преобразованию тепловой энергии в электрическую. Сущность: термоэлектрический прибор (100) содержит комбинацию термоэлементов (60, 62) и термомагнитных элементов (65) и может быть использован совместно с пирометаллургической технологической установкой (20), за счет работы которой возбуждается магнитное поле. Технический результат: увеличение вырабатываемой электрической энергии, повышение полного кпд электролизера за счет выработки электрической энергии с использованием потерянной диффузной теплоты, при одновременном повышении эффективности рекуперации теплоты за счет эффектов магнитных полей и улучшения контроля образования замерзшего слоя в электролизере для производства алюминия. 2 н. и 9 з.п. ф-лы, 2 ил.

Реферат

Область применения изобретения

Настоящее изобретение имеет отношение к созданию термоэлектрического и термомагнитного устройства для получения годной к употреблению энергии из отходящей теплоты.

Предпосылки к созданию изобретения

Термоэлектрические приборы или устройства на эффекте Зеебека представляют собой устройства, которые преобразуют перепады температуры между противоположными сторонами устройства в электрическую энергию. Типично изготовленные из полупроводниковых металлов или полуметаллов устройства на эффекте Зеебека обычно имеют форму пластины и работают как источник электрического тока, возникающего за счет перепада температуры между их противоположными главными поверхностями. Ранее их считали имеющими низкую эффективность, однако последние достижения в области материалов и обработки материалов привели к существенному повышению эффективности. Более того, даже как исторически неэффективные генераторы, они все же позволяют использовать иным образом недоступную энергию дешевым, чистым и не требующим технического обслуживания образом. В дополнение к рекуперации энергии, использование устройств на эффекте Зеебека в металлургических ваннах создает дополнительное преимущество, связанное с содействием контролю эффектов охлаждения реакции или обработки, протекающих в ванне.

До настоящего времени, указанные устройства в первую очередь использовали для преобразования отходящей теплоты выхлопных газов автомобиля в электрическую энергию. Эти устройства не используют широко для рекуперации мощности от отходящей теплоты в пирометаллургических применениях, принимая во внимание их относительно низкий коэффициент преобразования теплоты в электрическую энергию, в отраслях промышленности, привыкших к использованию исторически дешевой и легко доступной электрической энергии. В конструкциях современных пирометаллургических технологических ванн также уделяют больше внимания объему выпуска продукции, а не концентрируются на экономии использованной энергии, что дополнительно неблагоприятно влияет на попытки рекуперации энергии.

Полупроводниковые термоэлектрические приборы обычно изготавливают из чередующихся акцепторных и донорных полупроводников, соединенных при помощи металлических межсоединений. Электроны проходят через донорный термоэлектрический полупроводник, пересекают металлическое межсоединение и проходят в акцепторный термоэлектрический полупроводник. Когда используют источник теплоты, кристаллические дислокации в акцепторном термоэлектрическом полупроводнике движутся в направлении удаления от источника теплоты, за счет чего создается поток электронов в направлении источника теплоты. Это создает разность напряжений, которая может быть использована для создания тока и мощности в нагрузке. Таким образом, тепловая энергия преобразуется в электрическую энергию.

Имеется класс термоэлектрических материалов, в которых термоэлектрический эффект усиливается, когда материал надлежащим образом ориентирован в магнитном поле. В то время как некоторое усиление самого термоэлектрического эффекта происходит за счет магнитного поля, соответствующая взаимная ориентация магнитного поля и градиента температуры создают дополнительный электрический ток, возбуждаемый за счет эффект Нернста или термомагнитного эффекта. Этот дополнительный электрический ток протекает в направлении, нормальном к взаимно перпендикулярным градиенту температуры и магнитному полю в материале. Ранее пытались использовать эту повышенную эффективность преобразования теплоты за счет помещения термоэлектрического материала в магнитное поле, созданное при помощи постоянных магнитов, установленных на каждой стороне материала.

Несмотря на то что далее настоящее изобретение будет описано со ссылкой на резервуары (ванны) для восстановления оксида алюминия (глинозема) в алюминий, следует иметь в виду, что оно в равной мере применимо к любым установкам, используемым в пирометаллургических процессах, которые в контексте настоящего изобретения относятся к термической обработке различного минерального сырья, металлических руд и концентратов, чтобы вызвать физическое и/или химическое преобразования для извлечения ценных металлов, причем эти процессы включают в себя (но без ограничения) сушку, прокаливание, обжиг, плавление, испарение и рафинирование (в том числе электролитические процессы). Типично, такие процессы протекают при температурах свыше 100°С. Настоящее изобретение специфическим образом применимо к любой пирометаллургической технологической установке, которая возбуждает магнитные поля при своей работе, так что настоящее изобретение не ограничено единственно его использованием в алюминиевой промышленности. Настоящее изобретение может быть использовано везде, где существуют соответствующие магнитные поля, причем оно может быть использовано для преобразования энергии горячих отходящих газов пирометаллургических процессов.

По своей природе, процессы рафинирования и плавления алюминия требуют использования значительного количества теплоты. Например, во время восстановления оксида алюминия (глинозема) в алюминий в электролизерах, только около 30% всей потребляемой энергии в действительности используется для процесса восстановления, а существенная пропорция остальной энергии теряется как теплота рассеивания. В современной крупной операции плавления алюминия, по причине необходимости нагревания восстановительной среды, может теряться свыше 600 МВт энергии за счет натуральных тепловых потоков через боковые стенки и верхнюю часть восстановительных резервуаров, а также за счет отходящих газов.

Электролизеры для производства алюминия содержат электролитическую ванну, имеющую по меньшей мере один катод и по меньшей мере один анод. Электролитическая ванна (резервуар) содержит внешнюю стальную оболочку, имеющую блоки угольных катодов, установленных на слое изоляционного и огнеупорного материала вдоль основания резервуара. В то время как точная конструкция боковых стенок может быть различной, всегда используют футеровку, содержащую комбинацию угольных блоков и огнеупорного материала на стальной оболочке. Во время электролитического процесса, от анода к катоду протекает сильный электрический ток (создающий сильное магнитное поле). Оксид алюминия растворен в криолитной ванне, имеющейся в резервуаре. Рабочая температура криолитной ванны обычно лежит в диапазоне от 930°С до 970°С. Большая часть той энергии, которая требуется для поддержания температур процесса, теряется как теплота рассеивания (диффузная теплота) за счет тепловых потоков рассеивания через огнеупорную футеровку резервуара.

Кроме этих тепловых потерь, ведущих к снижению кпд, теплопередача (через огнеупорную футеровку) и последующее охлаждение криолитной ванны у огнеупорной футеровки приводят к образованию слоя 'замерзшего' криолита внутри футеровки электролизера. Толщина этого замерзшего слоя /корки/ края может варьироваться во время работы электролизера, причем эта толщина замерзшего криолита зависит, например, от температуры криолитной ванны (которая зависит от силы тока между анодом и катодом) и от отвода теплоты от внешних боковых стенок резервуара. Если замерзший слой становится слишком толстым, это может ухудшать работу электролизера, так как замерзший слой нарастает на катоде и нарушает распределение катодного тока. Если замерзший слой становится слишком тонким или отсутствует в некоторых местах, то криолитная ванна может разъедать огнеупорную футеровку и в конечном счете приводить к ее разрушению (что приводит к необходимости замены футеровки, чтобы исключить повреждение стальной оболочки и возможное вытекание криолита из резервуара). Таким образом, контролируемое образование замерзшего слоя является важным для хорошей работы ванны и повышения срока службы огнеупорной футеровки внутри электролизера. Контролируемое образование замерзшего слоя может быть частично осуществлено за счет управления тепловым потоком от ванны через огнеупорную футеровку восстановительного резервуара.

В связи с изложенным, в соответствии с настоящим изобретением предлагается средство для использования тепловой энергии, теряющейся с поверхностей пирометаллургической технологической установки, такой как электролизер, чтобы повысить электрический кпд и, в случае электролизера, создать улучшенную термодинамическую среду на внутренней поверхности футеровки ванны, чтобы можно было лучше контролировать замерзание футеровки.

Ссылку на любой известный уровень техники в описании настоящего изобретения не следует понимать как признание того, или как любую форму подсказки на то, что известный уровень техники является частью общих знаний в Австрии или в любой другой юрисдикции, причем можно разумно ожидать, что этот известный уровень техники может быть оценен, понят и рассмотрен как подходящий специалистами в данной области.

Сущность изобретения

Термоэлектрические приборы или устройства на эффекте Зеебека представляют собой устройства, которые преобразуют перепады температуры между противоположными сторонами устройства в электрическую энергию. Типично изготовленные из полупроводниковых металлов или полуметаллов устройства на эффекте Зеебека обычно имеют форму пластины и работают как источник электрического тока, возникающего за счет перепада температуры между их противоположными главными поверхностями. Ранее их считали имеющими низкую эффективность, однако последние достижения в области материалов и обработки материалов привели к существенному повышению эффективности. Более того, даже как исторически неэффективные генераторы, они все же позволяют использовать иным образом (иначе, по другому) недоступную энергию дешевым, чистым и не требующим технического обслуживания образом. В дополнение к рекуперации энергии, использование устройств на эффекте Зеебека в металлургических ваннах создает дополнительное преимущество, связанное с содействием контролю эффектов охлаждения реакции или обработки, протекающих в ванне.

До настоящего времени, указанные устройства в первую очередь использовали для преобразования отходящей теплоты выхлопных газов автомобиля в электрическую энергию. Эти устройства не используют широко для рекуперации мощности от отходящей теплоты в пирометаллургических применениях, принимая во внимание их относительно низкий коэффициент преобразования теплоты в электрическую энергию, в отраслях промышленности, привыкших к использованию исторически дешевой и легко доступной электрической энергии. В конструкциях современных пирометаллургических технологических ванн также уделяют больше внимания объему выпуска продукции, а не концентрируются на экономии использованной энергии, что дополнительно неблагоприятно влияет на попытки рекуперации энергии.

Полупроводниковые термоэлектрические приборы обычно изготавливают из чередующихся акцепторных и донорных полупроводников, соединенных при помощи металлических межсоединений. Электроны проходят через донорный термоэлектрический полупроводник, пересекают металлические межсоединение и проходят в акцепторный термоэлектрический полупроводник. Когда используют источник теплоты, кристаллические дислокации в акцепторном термоэлектрическом полупроводнике движутся в направлении удаления от источника теплоты, за счет чего создается поток электронов в направлении источника теплоты. Это создает разность напряжений, которая может быть использована для создания тока и мощности в нагрузке. Таким образом, тепловая энергия преобразуется в электрическую энергию.

Имеется класс термоэлектрических материалов, в которых термоэлектрический эффект усиливается, когда материал надлежащим образом ориентирован в магнитном поле. В то время как некоторое усиление самого термоэлектрического эффекта происходит за счет магнитного поля, соответствующая взаимная ориентация магнитного поля и градиента температуры создают дополнительный электрический ток, возбуждаемый за счет эффект Нернста или термомагнитного эффекта. Этот дополнительный электрический ток протекает в направлении, нормальном к взаимно перпендикулярным градиенту температуры и магнитному полю в материале. Ранее пытались использовать эту повышенную эффективность преобразования теплоты за счет помещения термоэлектрического материала в магнитное поле, созданное при помощи постоянных магнитов, установленных на каждой стороне материала.

Несмотря на то что далее настоящее изобретение будет описано со ссылкой на резервуары (ванны) для восстановления оксида алюминия (глинозема) в алюминий, следует иметь в виду, что оно в равной мере применимо к любым установкам, используемым в пирометаллургических процессах, которые в контексте настоящего изобретения относятся к термической обработке различного минерального сырья, металлических руд и концентратов, чтобы вызвать физическое и/или химическое преобразование для извлечения ценных металлов, причем эти процессы включают в себя (но без ограничения) сушку, прокаливание, обжиг, плавление, испарение и рафинирование (в том числе электролитические процессы). Типично, такие процессы протекают при температурах свыше 100°С. Настоящее изобретение специфическим образом применимо к любой пирометаллургической технологической установке, которая возбуждает магнитные поля при своей работе, так что настоящее изобретение не ограничено единственно его использованием в алюминиевой промышленности. Настоящее изобретение может быть использовано везде, где существуют соответствующие магнитные поля, причем оно может быть использовано для преобразования энергии горячих отходящих газов пирометаллургических процессов.

По своей природе, процессы рафинирования и плавления алюминия требуют использования значительного количества теплоты. Например, во время восстановления оксида алюминия (глинозема) в алюминий в электролизерах, только около 30% всей потребляемой энергии в действительности используется для процесса восстановления, а существенная пропорция остальной энергии теряется как теплота рассеивания. В современной крупной операции плавления алюминия, по причине необходимости нагревания восстановительной среды, может теряться свыше 600 МВт энергии за счет натуральных тепловых потоков через боковые стенки и верхнюю часть восстановительных резервуаров, а также за счет отходящих газов.

Электролизеры для производства алюминия содержат электролитическую ванну, имеющую по меньшей мере один катод и по меньшей мере один анод. Электролитическая ванна (резервуар) содержит внешнюю стальную оболочку, имеющую блоки угольных катодов, установленных на слое изоляционного и огнеупорного материала вдоль основания резервуара. В то время как точная конструкция боковых стенок может быть различной, всегда используют футеровку, содержащую комбинацию угольных блоков и огнеупорного материала на стальной оболочке. Во время электролитического процесса, от анода к катоду протекает сильный электрический ток (создающий сильное магнитное поле). Оксид алюминия растворен в криолитной ванне, имеющейся в резервуаре. Рабочая температура криолитной ванны обычно лежит в диапазоне от 930°С до 970°С. Большая часть этой энергии, которая требуется для поддержания температур процесса, теряется как теплота рассеивания (диффузная теплота) за счет тепловых потоков рассеивания через огнеупорную футеровку резервуара.

Кроме этих тепловых потерь, ведущих к снижению кпд, теплопередача (через огнеупорную футеровку) и последующее охлаждение криолитной ванны у огнеупорной футеровки приводят к образованию слоя 'замерзшего' криолита внутри футеровки электролизера. Толщина этого замерзшего слоя /корки/ края может варьироваться во время работы электролизера, причем эта толщина замерзшего криолита зависит, например, от температуры криолитной ванны (которая зависит от силы тока между анодом и катодом) и от отвода теплоты от внешних боковых стенок резервуара. Если замерзший слой становится слишком толстым, это может ухудшать работу электролизера, так как замерзший слой нарастает на катоде и нарушает распределение катодного тока. Если замерзший слой становится слишком тонким или отсутствует в некоторых местах, то криолитная ванна может разъедать огнеупорную футеровку и в конечном счете приводить к ее разрушению (что приводит к необходимости замены футеровки, чтобы исключить повреждение стальной оболочки и возможное вытекание криолита из резервуара). Таким образом, контролируемое образование замерзшего слоя является важным для хорошей работы ванны и повышения срока службы огнеупорной футеровки внутри электролизера. Контролируемое образование замерзшего слоя может быть частично осуществлено за счет управления тепловым потоком от ванны через огнеупорную футеровку восстановительного резервуара.

В связи с изложенным, в соответствии с настоящим изобретением предлагается средство для использования тепловой энергии, теряющейся с поверхностей пирометаллургической технологической установки, такой как электролизер, чтобы повысить электрический кпд и, в случае электролизера, создать улучшенную термодинамическую среду на внутренней поверхности футеровки ванны, чтобы можно было лучше контролировать замерзание футеровки.

Ссылку на любой известный уровень техники в описании настоящего изобретения не следует понимать как признание того, или как любую форму подсказки на то, что известный уровень техники является частью общих знаний в Австрии или в любой другой юрисдикции, причем можно разумно ожидать, что этот известный уровень техники может быть оценен, понят и рассмотрен как подходящий специалистами в данной области.

Краткое описание чертежей

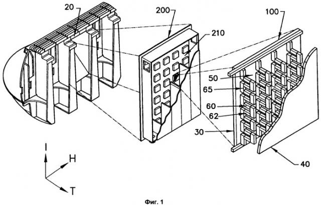
На фиг.1 показано перспективное изображение с пространственным разделением деталей одного конструктивного варианта комбинации термоэлектрической и термомагнитной пластины и ее связи с панелью теплообменника, с возможной установкой теплообменника на пирометаллургическом технологическом резервуаре.

На фиг.2 схематично показана компоновка термоэлементов и термомагнитных соединителей в термоэлектрическом приборе в соответствии с настоящим изобретением, где можно видеть направление центровки термоэлектрического прибора относительно градиента температуры и магнитного поля.

Подробное описание изобретения

Далее будет описан предпочтительный вариант осуществления настоящего изобретения со ссылкой на чертежи.

Термоэлектрический прибор 100, показанный на фиг.1, имеет первую сторону 30 (горячая сторона) и вторую сторону 40 (холодная сторона), между которыми расположен корпусной участок 50, по меньшей мере два термоэлемента 60, 62 и по меньшей мере один термомагнитный соединитель 65. Следует иметь в виду, что элементы 60, 62 и 65 не обязательно должны быть расположены так, как это показано на фиг.1, причем это может быть любая комбинация последовательных и/или параллельных подключений (при условии, что 'металлическое межсоединение' донорного термоэлемента 60 и акцепторного термоэлемента 62 представляет собой термомагнитный соединитель 65, изготовленный из термомагнитного материала).

Блок 200 теплообменника, содержащий термоэлектрические приборы 100, прикреплен к поверхности 20 технологического резервуара. В этом теплообменнике, горячая сторона термоэлементов 100 получает отходящую от технологического резервуара теплоту при помощи любой комбинации проводимости, конвекции или излучения, за счет чего температура горячей стороны термоэлементов 100 повышается. В этом теплообменнике, холодная сторона термоэлементов 100 охлаждается, преимущественно за счет излучения или конвекции, с использованием охлаждающей жидкости, протекающей через каналы в корпусе теплообменника 200.

Технологическая установка также имеет объединенное с ней магнитное поле. Комбинация 20 термоэлектрических и термомагнитных пластин 100, расположенных в теплообменнике, ориентирована внутри теплообменника таким образом, что магнитное поле оптимальным образом воздействует на термомагнитные элементы 65 внутри каждой из пластин.

Теплота, переданная от поверхности резервуара к горячей стороне термоэлементов, и удаленная за счет охлаждения конструкций в теплообменнике, создает градиент температуры через термоэлектрические и термомагнитные элементы, за счет чего возникает движущая сила для преобразования порции отходящей тепловой энергии в электрическую энергию.

Материал, использованный для конструирования первой стенки 30 и второй стенки 40, преимущественно является хорошо теплопроводным, чтобы обеспечивать более равномерное распределение температуры. Особенно подходящими материалами для этого являются медь или алюминий. Материал первой стенки может потребовать обработки (нанесения покрытия, анодирования или другой обработки), чтобы обеспечить коэффициент излучения, стремящийся к 1, так чтобы поглощенная теплота приближалась к теплоте, излучаемой поверхностью технологического резервуара. Первая сторона может иметь любой профиль; однако особенно предпочтительным профилем является такой профиль, который позволяет наиболее эффективно передавать теплоту от технологического резервуара к горячей стороне термоэлементов. Например, первая стенка может иметь ребра для повышения площади поверхности, имеющейся для теплоотдачи с нее, и для того, чтобы исключить ламинарный поток флюида, который может протекать между поверхностью 20 технологического резервуара и горячей стороной термоэлементов, установленных в теплообменнике 200.

Материал или материалы, которые используют для конструирования корпусного участка 50, преимущественно представляет собой изолятор, чтобы замедлить распространение тепловой энергии через материал корпусного участка термоэлектрической пластины per se (сам по себе) и увеличить количество тепловой энергии, принудительно переносимой через термоэлементы. Например, корпусной участок может быть изготовлен из предварительно отформованных керамических брикетов (из оксида алюминия, оксида магния, диоксида циркония и т.п.) или из другого материала, который препятствует распространению теплоты и протеканию электрического тока через его матрицу. Однако порции материала корпуса могут быть сделаны теплопроводящими за счет металлических вставок или при помощи других технологий изготовления, чтобы оптимизировать тепловой поток через термомагнитные соединители 65.

За счет выбора типа флюида, использованного как различные флюиды, проходящие через теплообменник, и их расхода через пространства внутри теплообменника, можно регулировать (в градусах) тепловую энергию, переносимую от технологической установки. Более высокая степень контроля может быть обеспечена за счет введения устройства типа теплообменника в эти пространства. Например, может быть использовано устройство внутреннего охлаждения, такое как описанное в публикации РСТ/ AU 2005/001617. Контролируемое охлаждение внешней поверхности технологической установки в соответствии с настоящим изобретением является лучшим, чем используемое в настоящее время. Это означает, что оно обеспечивает большую возможную степень охлаждения при более жестком контроле.

Что касается электролизера, то этот повышенный контроль теплового баланса внутри электролизера является существенным. Что более важно, можно контролировать внешнюю температуру оболочки электролитической ванны, что также позволяет контролировать образование корки/замерзшей футеровки. Например, можно регулировать скорость потока флюида в соответствии с внешней температурой оболочки, так что если внешняя температура падает, то скорость потока флюида может быть снижена, чтобы уменьшить перенос тепловой энергии от оболочки к термоэлектрическому прибору. Скорости потока флюида можно регулировать при помощи любого подходящего известного средства, например, при помощи системы клапанов или задвижек.

Флюидом может быть газ или жидкость. Флюидом преимущественно является газ, так как это позволяет снизить расходы при монтаже и при эксплуатации. Например, флюидом может быть воздух. Первый флюид, протекающий через первое пространство между поверхностью технологического резервуара и горячей стороной термоэлементов, имеет более высокую температуру, чем второй флюид, протекающий мимо холодной стороны термоэлементов. В первом пространстве, первый флюид конвективно нагревается поверхностью технологической установки и конвективно переносит свою тепловую нагрузку к первой стенке. Теплота от поверхности к первой стенке также поступает за счет лучистого переноса. Первая стенка также может иметь несколько ребер или других аналогичных элементов, которые выступают в первое пространство для повышения конвективной теплопередачи. Альтернативно, термоэлементы могут быть установлены непосредственно на поверхности технологического резервуара. Во втором пространстве используют второй флюид для отвода теплоты от второй стенки. Второй флюид преимущественно имеет температуру окружающей среды, но он также может быть охлажден. Вторая стенка может иметь несколько ребер или других аналогичных элементов, которые выступают во второе пространство для повышения конвективной теплопередачи. Флюиды могут быть приведены в движение через пространства при помощи любых известных средств. Например, для этого могут быть использованы вентилятор или воздуходувка, которые могут получать питание за счет электрической энергии, вырабатываемой при помощи термоэлектрического прибора.

Донорный термоэлемент 60, акцепторный термоэлемент 62 и термомагнитный соединитель 65 могут быть изготовлены соответственно из любого подходящего известного термоэлектрического или термомагнитного материала. Типично, термоэлектрическими материалами являются полупроводниковые металлы или полуметаллы. В различных обычных вариантах, термоэлектрический материал содержит соединения висмута, свинца или галлия, которыми могут быть теллурид свинца, селенид свинца, смесь висмута с сурьмой, арсенид галлия и фосфид галлия. Основным требованием является способность материала работать при высоких температурах в диапазоне ориентировочно от 100°С до 500°С.

На фиг.1 показаны термоэлементы в прямом контакте с термомагнитными соединителями. Однако термоэлементы преимущественно имеют электрический контакт с термомагнитными соединителями при помощи любого известного средства, например, при помощи электропроводящей проволоки, сварки или иного соединения.

Для усиления термоэлектрического эффекта, описанное выше устройство, которое содержит как термомагнитные, так и термоэлектрические элементы, помещают в магнитном поле, таким образом, чтобы направление теплового потока, направление электрического тока в термомагнитных элементах и магнитное поле были орогональными. Если устройство установлено так, как это показано на фиг.1, так что направление магнитного поля находится в плоскости матрицы пластин через термоэлектрический прибор, и тепловой поток от технологической установки поступает от поверхности 20 технологической установки к горячей стороне устройства (например, 30), то тогда электрический ток будет протекать вверх и вниз через панель термоэлектрического прибора (причем протекание вверх или вниз зависит от того, являются ли термомагнитные соединители донорными термомагнитными полупроводниками или акцепторными термомагнитными полупроводниками). Этот ток усиливается за счет свойств термомагнитного материала, когда магнитное поле центрировано так, как это описано выше, по сравнению с другим направлением магнитного поля.

Термоэлементы, или пластины, устанавливают на корпусном участке 50 в изоляционной опорной панели. Термоэлементы с чередующимися акцепторными и донорными полупроводниковыми материалами электрически соединены через опорную панель при помощи термомагнитных соединителей. Термомагнитные соединители, которые изготовлены из донорных или акцепторных полупроводниковых материалов, в любом одном направлении ортогональны как к градиенту температуры, так и к магнитному полю. Изоляционная опорная панель покрыта как на горячей стороне 30, так и на холодной стороне 40 слоем теплопроводящего диффузного материала, такого как алюминий, который способствует выравниванию температур по поверхности термоэлектрического прибора и особенно исключает образование горячих точек.

1. Способ использования тепловой энергии от поверхности пирометаллургической технологической установки, который включает в себя следующие операции:- использование по меньшей мере одного термоэлемента, имеющего тепловую связь с поверхностью установки, причем указанный термоэлемент содержит по меньшей мере один донорный термоэлектрический полупроводник и по меньшей мере один акцепторный термоэлектрический полупроводник;- с учетом направления магнитного поля, возбужденного за счет работы установки, использование по меньшей мере одного термомагнитного соединителя, причем по меньшей мере один термомагнитный соединитель, который (а) расположен так, что имеется или устанавливается градиент температуры через термомагнитный соединитель, причем градиент температуры создается за счет теплоты, исходящей от поверхности технологической установки, (b) расположен в магнитном поле так, что магнитное поле повышает эффективность термомагнитного соединителя, и (с) имеет электросвязь по меньшей мере с одним термоэлементом; и- накопление электрической энергии, вырабатываемой при этом термоэлементами и термомагнитными соединителями.

2. Способ по п.1, в котором каждый термомагнитный соединитель имеет электросвязь по меньшей мере с одним донорным термоэлектрическим полупроводником и по меньшей мере с одним акцепторным термоэлектрическим полупроводником.

3. Способ по п.1, в котором каждый термомагнитный соединитель обеспечивает в основном только электросвязь между донорным термоэлектрическим полупроводником и акцепторным термоэлектрическим полупроводником.

4. Способ по п.1, в котором каждый термомагнитный соединитель представляет собой металлическое межсоединение между донорным термоэлектрическим полупроводником и акцепторным термоэлектрическим полупроводником.

5. Способ по п.1, в котором каждый термомагнитный соединитель представляет собой донорный термомагнитный полупроводник или акцепторный термомагнитный полупроводник.

6. Способ по п.1, в котором все термомагнитные соединители, которые установлены в основном линейно в одном направлении, представляют собой донорный термомагнитный полупроводник или акцепторный термомагнитный полупроводник.

7. Способ по п.1, в котором термоэлементы образуют чередующиеся группы донорных термоэлектрических полупроводников и акцепторных термоэлектрических полупроводников, причем каждый термоэлектрический полупроводник имеет электросвязь с соседним термоэлектрическим полупроводником через термомагнитный соединитель.

8. Способ по п.1, в котором термомагнитный соединитель центрирован в магнитном поле таким образом, что возрастает электрическая энергия, выработанная при помощи термомагнитного соединителя.

9. Способ по п.1, в котором технологической установкой является электролизер.

10. Способ по п.9, в котором электролизер предназначен для производства алюминия.

11. Термоэлектрический прибор для преобразования тепловой энергии от поверхности технологической установки в электрическую энергию, который:(a) выполнен с возможностью входа в контакт с установкой, так что образуется тепловая связь между технологической установкой и термоэлектрическим прибором;(b) содержит:(i) по меньшей мере один термоэлемент, который содержит по меньшей мере один донорный термоэлектрический полупроводник и по меньшей мере один акцепторный термоэлектрический полупроводник,(ii) по меньшей мере один термомагнитный соединитель, имеющий электросвязь по меньшей мере с одним термоэлементом, причем указанный термомагнитный соединитель центрирован в магнитном поле, связанном с указанной установкой, так чтобы термоэлектрический прибор вырабатывал больше электрической энергии, чем в отсутствии магнитного поля.