Способ и устройство для улучшенной регистрации сейсмических данных
Иллюстрации
Показать всеИзобретение относится к области геофизики и может быть использовано для определения различных скважинных параметров во время бурения. Способ содержит перемещение прибора через подземный пласт от первой глубины на последующие глубины. Прибор принимает сейсмический сигнал в продолжении заданных временных окон. Сейсмический сигнал создают сейсмическим источником, который возбуждают в переменные моменты времени относительно заданных временных окон на основании глубины прибора. Технический результат: повышение точности и информативности данных зондирования. 4 н. и 16 з.п.ф-лы, 7 ил.
Реферат
Перекрестная ссылка на родственную заявку
По настоящему документу испрашивается приоритет предварительной заявки № 61/230747 на патент США, поданной 3 августа 2009 года, на которой он основан и содержание которой включено в настоящий документ для всех целей и намерений.
Предпосылки создания раскрытия
Область техники, к которой относится изобретение
Настоящее раскрытие относится к способам регистрации акустических данных. Более конкретно, настоящее раскрытие относится к получению улучшенных данных о сейсмических сигналах путем управления временем возбуждения сейсмического источника.
Уровень техники
Нижеследующие описания и примеры не должны признаваться ограничительной частью формулы изобретения на основании включения их в этот раздел.
Измерение в процессе бурения включает в себя определение одного или нескольких скважинных параметров во время процесса бурения. Датчики, обычно устанавливаемые в утяжеленных бурильных трубах, расположенных над буровым долотом, используют для получения информации, относящейся к процессу бурения или подземным условиям. Подмножество результатов этих измерений может быть передано на поверхность, для чего часто используют акустическую телеметрическую систему или телеметрическую систему с гидроимпульсным каналом связи. Другие результаты измерений могут сохраняться в устройствах регистрации, расположенных в утяжеленных бурильных трубах. Эти данные могут извлекаться при подъеме бурового долота (также называемого спускоподъемной операцией) на поверхность.
Сейсмические данные измерений в процессе бурения регистрируют, используя сейсмические датчики, такие как геофоны или гидрофоны, которые обычно размещают в утяжеленной бурильной трубе, расположенной над буровым долотом. Поскольку буровое долото создает очень большой уровень шума, сейсмические данные, которые могут создаваться источником, устанавливаемым возле устья скважины, обычно собирают только на протяжении времени, когда буровое долото или бурильная колонна не перемещается или бурение не осуществляется. Обычно это приравнивают ко времени, в течение которого бурильную колонну или бурение временно останавливают, чтобы на поверхности добавлять секции бурильных труб к бурильной колонне или удалять их.
Как упоминалось выше, связь между прибором и поверхностью обычно осуществляют с помощью телеметрической системы с гидроимпульсным каналом связи или другой телеметрической системы с низкой скоростью передачи данных, что делает практически нецелесообразной посылку оператором команд на прибор во время прекращения бурения для регулирования последовательности операций во времени или работы, связанной с регистрацией сейсмических данных. Кроме того, вследствие очень большого количества данных, которые регистрируются на основании сейсмических сигналов, также практически нецелесообразно собирать данные о сейсмических сигналах в течение больших периодов времени, таких как от момента прекращения бурения до момента начала его. Для преодоления этих ограничений систему регистрации сейсмических сигналов в приборе программируют, чтобы регистрация начиналась и прекращалась в определенные периоды времени и на определенных интервалах. В связи с этим источник возбуждают в соответствии с программируемыми периодами времени для гарантии, что сейсмический сигнал будет приходить на прибор в течение периода регистрации.
Было обнаружено, что в пределах периода регистрации имеются предпочтительные участки прихода сигнала. Большей частью довольствуются обработкой сейсмического сигнала после приема. Кроме того, было обнаружено, что когда прибор перемещается через подземный пласт (как, например, прибор при бурении), расстояние между прибором и источником и скоростная функция пласта между ними изменяются, обуславливая приход сейсмических сигналов на прибор в нежелательные моменты времени в пределах периода и пропуск всего периода в более радикальных случаях.
Краткое изложение
В общем настоящее изобретение относится к способу и системе для получения акустических данных при улучшении приема сейсмических сигналов в пределах точно определенных периодов. Способ содержит перемещение прибора через подземный пласт от первой глубины на последующие глубины. Прибор принимает сейсмический сигнал на протяжении заданных временных окон. Сейсмический сигнал создается сейсмическим источником, который на основании глубины погружения прибора возбуждают в переменные моменты времени относительно заданных временных окон.
Другие или альтернативные признаки станут очевидными из нижеследующего описания, из чертежей и из формулы изобретения.
Краткое описание чертежей
Ниже некоторые осуществления изобретения будут описаны с обращением к сопровождающим чертежам, на которых одинаковыми позициями обозначены аналогичные элементы. Однако должно быть понятно, что сопровождающими чертежами только иллюстрируются различные реализации, описанные в этой заявке, и они не подразумеваются ограничивающими объем различных способов, описанных в этой заявке. На чертежах:
фиг.1 - иллюстрация примера буровой системы, в которой можно использовать способ получения сейсмических данных согласно осуществлению настоящего изобретения;
фиг.2 - иллюстрация примера прибора, используемого совместно с сейсмическим источником, согласно осуществлению настоящего изобретения;
фиг.3 - иллюстрация примера прибора, используемого совместно со множеством сейсмических источников, согласно осуществлению настоящего изобретения;
фиг.4 - иллюстрация примера прибора, имеющего множество приемников, используемого совместно с сейсмическим источником, согласно осуществлению настоящего изобретения;
фиг.5 - иллюстрация примера прибора, имеющего множество приемников, используемого совместно со множеством сейсмических источников, согласно осуществлению настоящего изобретения;
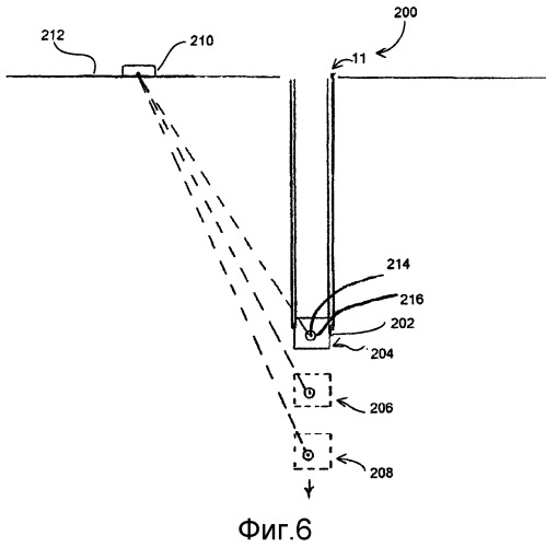
фиг.6 - иллюстрация примера прибора, принимающего сигналы от сейсмического источника по мере того, как прибор перемещается все глубже в подземный пласт, согласно осуществлению настоящего изобретения; и
фиг.7 - графическое представление осуществления методологии изменения согласования во времени сейсмического источника относительно заданных временных окон при приеме сейсмического сигнала на приборе согласно осуществлению настоящего изобретения.
Подробное описание
Чтобы перечисленные выше признаки и преимущества настоящего изобретения можно было понять в деталях, более конкретное описание изобретения, кратко изложенного выше, можно получить при обращении к осуществлениям его, которые иллюстрируются сопровождающими чертежами и графиками. Для обеспечения понимания настоящего изобретения в нижеследующем описании изложены многочисленные подробности. Однако специалистам в данной области техники должно быть понятно, что изобретение можно применять на практике без этих подробностей и что возможны многочисленные варианты или модификации описываемых осуществлений.
В описании и прилагаемой формуле изобретения термины «соединять», «соединение», «соединенный», «в соединении с», «соединяющий», «связь», «связанный», «связанный с» и «связывающий» используются в значении «в непосредственном соединении с» или «в соединении с через посредство другого элемента», а термин «набор» используется в значении «один элемент» или «более одного элемента». Используемые в этой заявке термины «вверх» и «вниз», «верхний» и «нижний», «кверху» и «книзу», «выше по потоку» и «ниже по потоку», «над» и «под» и другие подобные термины, указывающие на относительные положения выше или ниже данной точки или элемента, используются в этом описании для более ясного изложения некоторых осуществлений изобретения.
На фиг.1 показана буровая система, в которой можно использовать настоящее изобретение. Буровая площадка может быть на суше или в море. В этом примере системы ствол 11 скважины образуют в подземных пластах вращательным бурением, способом, который является хорошо известным. Как будет описано ниже, в осуществлениях изобретения также может использоваться наклонно направленное бурение.
Бурильная колонна 12 подвешена в стволе 11 скважины и имеет компоновку 100 низа бурильной колонны, которая на нижнем конце включает в себя буровое долото 105. Наземная система включает в себя узел 10 платформы и буровой вышки, расположенный над стволом 11 скважины. Узел 10 может включать в себя роторный стол 16, ведущую трубу 17, крюк 18 и вертлюг 19. Бурильная колонна 12 вращается роторным столом 16, снабжаемым энергией от непоказанного средства, который находится в зацеплении с ведущей трубой 17 на верхнем конце бурильной колонны. Бурильная колонна 12 подвешена на крюке 18, прикрепленном к талевому блоку (также непоказанному), через ведущую трубу 17 и вертлюг 19, которые позволяют бурильной колонне вращаться относительно крюка. Как хорошо известно, в качестве варианта можно использовать систему верхнего привода.
В примере этого осуществления наземная система также включает в себя промывочную жидкость или буровой раствор 26, сохраняемый в резервуаре 27, образованном на месте расположения скважины. Насос 29 нагнетает промывочную жидкость 26 во внутреннюю часть бурильной колонны 12 через отверстие в вертлюге 19, побуждая промывочную жидкость протекать вниз по бурильной колонне 12, как показано направленной стрелкой 8. Промывочная жидкость выходит из бурильной колонны 12 через отверстия в буровом долоте 105 и затем направляется кверху через область кольцевого пространства между наружной стороной бурильной колонны и стенкой ствола скважины, как показано направленной стрелкой 9. Таким хорошо известным способом промывочная жидкость смазывает буровое долото 105 и переносит обломки породы, выбуренной из пласта, на поверхность, где ее возвращают в резервуар 27 для рециркуляции.
В показанном осуществлении компоновка 100 низа бурильной колонны может содержать модуль 120 каротажа в процессе бурения, модуль 130 измерений в процессе бурения, систему вращательного наклонного бурения с двигателем и буровое долото 105.
Модуль 120 каротажа в процессе бурения помещен в утяжеленную бурильную трубу специального типа, известную из предшествующего уровня техники, и может включать в себя один или множество каротажных приборов известных типов. Кроме того, должно быть понятно, что можно использовать больше одного модуля каротажа в процессе бурения или измерений в процессе бурения, при этом для примера дополнительный модуль представлен позицией 120А. (На всем протяжении описания при ссылке на модуль в положении 120 также может подразумеваться модуль в положении 120А.) Модуль каротажа в процессе бурения обладает функциональными возможностями измерения, обработки и запоминания информации, а также связи с наземным оборудованием. В настоящем осуществлении модуль каротажа в процессе бурения включает в себя устройство измерения сейсмических сигналов, описываемое более подробно ниже.
Модуль 130 измерений в процессе бурения также помещен в утяжеленную бурильную трубу специального типа, известную из предшествующего уровня техники, и может включать в себя одно или несколько устройств для измерения характеристик бурильной колонны и бурового долота. Прибор измерений в процессе бурения также включает в себя установку (непоказанную) выработки электрической энергии для скважинной системы. В типичном случае она может включать в себя забойный турбогенератор, приводимый в движение потоком промывочной жидкости, при этом понятно, что могут использоваться другие системы электропитания и/или батарейные установки. В предпочтительном осуществлении модуль измерений в процессе бурения включает в себя одно или несколько измерительных устройств следующих видов: устройство измерения нагрузки на долото, устройство измерения крутящего момента, устройство измерения вибрации, устройство измерения ударного воздействия, устройство измерения прихвата-проскальзывания, устройство измерения направления, устройство измерения сейсмических сигналов и устройство измерения наклона.
На фиг.2-5 показан прибор сейсмических исследований в процессе бурения, который может быть прибором 120 каротажа в процессе бурения или может быть частью приборного комплекса 120А каротажа в процессе бурения вида, раскрытого в статье P. Breton et al., “Well positioned seismic measurement”, Oilfield Review, pp. 32-45, Spring, 2002, которая включена в эту заявку путем ссылки.
Скважинный прибор каротажа в процессе бурения может иметь единственный приемник (изображенный на фиг.2 и 3) или множество приемников (изображенных на фиг.4 и 5), и они могут использоваться в сочетании с единственным сейсмическим источником на поверхности (изображенным на фиг.2 и 4) или множеством сейсмических источников на поверхности (изображенных на фиг.3 и 5).
В соответствии с этим на фиг.2, которая включает в себя отражение от границы пласта и именуется компоновкой продольного вертикального сейсмического профилирования, используются единственный источник и единственный приемник. На фиг.3, которая включает в себя отражения от границы пласта и именуется компоновкой уровенного вертикального сейсмического профилирования, используются множество источников и единственный приемник. На фиг.4, которая включает в себя преломление на границах соляного купола и именуется вертикальным сейсмическим профилированием «вблизи соли», используются единственный источник и множество приемников. На фиг.5, которая включает в себя несколько отражений от границы пласта и именуется продольным вертикальным сейсмическим профилированием в наклонной скважине, используются множество источников и множество приемников.
Как описывалось при рассмотрении истории вопроса, для преодоления ограничений, обусловленных телеметрической системой с низкой скоростью передачи данных и/или очень большим количеством данных, регистрируемых по сейсмическим сигналам, предложена система 200 для получения сейсмических данных. Схематичное осуществление одного примера системы 200 показано на фиг.6. Система 200 может содержать прибор 202, который перемещают вдоль ствола 11 скважины на протяжении ряда глубин 204, 206 и 208, на которых принимают и регистрируют сейсмические сигналы. Число глубин, на которых регистрируют сейсмические сигналы, может меняться от одного применения к другому, и в некоторых применениях число различных глубин, на которых выполняют регистрации, может быть значительным.
Система 200 также содержит по меньшей мере один сейсмический источник 210, который может быть расположен на или вблизи земной поверхности 212. Как показано в осуществлении из фиг.3 или фиг.5, при некоторых применениях система 200 может содержать множество сейсмических источников 210. Точно так же вид прибора 202 может меняться от одного применения к другому, и прибор может входить в состав отдельных компонентов или компоновки низа бурильной колонны, такой как компоновка низа бурильной колонны (см. фиг.1). Вместе с тем прибор 202 содержит сейсмический приемник 214, который является частью системы 216 регистрации сейсмических сигналов. В качестве дополнительного примера прибор 202 может входить в состав бурового долота 105, объединенного с системой перемещения в процессе бурения, например, в модуль 120 каротажа в процессе бурения и/или модуль 130 измерений в процессе бурения. Система перемещения в процессе бурения может быть рассчитана на присоединение сейсмического приемника 214 и системы 216 регистрации сейсмических сигналов. Следует отметить, что в других осуществлениях прибор 202 может входить в состав насосно-компрессорной трубы или других бурильных компонентов. В некоторых случаях операцию, осуществляемую с помощью прибора, спускаемого на кабеле, можно выполнять с использованием аспектов осуществлений, описанных в этой заявке.
В показанном примере систему 216 регистрации сейсмических сигналов прибора 202 программируют для автоматического начала регистрации в точно определенные моменты времени и в течение точно определенных периодов времени в сочетании с согласованным по времени возбуждением источника 210. В соответствии с этим в одном примере системы и методологии для получения сейсмических данных прибор 202 (например, модуль измерений в процессе бурения, конусообразный прибор каротажа в процессе бурения, прибор в гибкой трубе, спускаемый на кабеле прибор, или другие приборы или компоненты приборов) перемещают через подземный пласт на первую глубину 204, показанную на фиг.6 и дополнительно показанную графически на фиг.7. По достижении первой глубины в приборе 202 приводится в действие механизм 216 регистрации сейсмических сигналов. Механизм 216 регистрации программируют для регистрации сейсмических сигналов на протяжении множества заданных периодов регистрации, которые могут быть названы временными окнами.
Параллельно сейсмический источник 210 возбуждают на или вблизи поверхности 212 множество раз пока прибор 202 находится на первой глубине 204. Сейсмический источник 210 возбуждают так, чтобы сейсмический сигнал, создаваемый источником 210, принимался сейсмическим приемником 214 прибора 202 в заданный момент в каждом интервальном/временном окне 218 регистрации (см. фиг.7). Затем прибор 202 перемещают на вторую глубину, например глубину 206, глубже по сравнению с первой глубиной 204, и снова приводят в действие механизм 216 регистрации сейсмических сигналов в приборе 202. Когда прибор 202 находится на второй глубине 206, сейсмический источник 210 возбуждают раньше относительно каждого заданного периода регистрации, чем в случае нахождения на первой глубине 204, что графически показано временной разностью 220 на фиг.7. Как показано временными маркерами 222, в случае большей глубины 206 при возбуждении сейсмического источника 210 раньше относительно заданных временных окон механизма 216 регистрации сейсмический сигнал, создаваемый источником 210, принимается на приборе 202 в интервальных/временных окнах 218 регистрации в тот же самый заданный момент времени.
Когда после этого прибор 202 перемещают на третью глубину, например глубину 208, глубже по сравнению со второй глубиной 206, механизм регистрации сейсмических сигналов 216 в приборе 202 снова приводят в действие. Когда прибор 202 находится на третьей глубине 208, сейсмический источник 210 возбуждают еще раньше (относительно каждого заданного периода регистрации) по сравнению со случаем нахождения на второй глубине 206, что графически показано следующей по очереди временной разностью 220 на фиг.7. Как показано временными маркерами 222, в случае большей глубины 208 при возбуждении сейсмического источника 210 раньше относительно заданных временных окон механизма 216 регистрации сейсмический сигнал, создаваемый источником 210, принимается на приборе 202 в интервальных/временных окнах 218 регистрации в тот же самый заданный момент времени. Этот процесс можно повторять на каждой последующей глубине, чтобы упрощать процесс регистрации сейсмических сигналов в заданной точке в пределах периода регистрации, в течение которого приводят в действие систему 216 регистрации сейсмических сигналов. Как показано на фиг.7, время возбуждения сейсмического источника 210 можно постепенно делать более ранним относительно времени начала периода 218 регистрации во время приведения в действие системы 216 регистрации сейсмических сигналов. Таким образом, существует временная разность 220 между возбуждением сейсмического источника 210 на последующей глубине в сравнении с возбуждением источника 210 на предшествующей глубине относительно начала заданного периода регистрации системы 216 регистрации сейсмических сигналов прибора 202.
Согласно одному осуществлению множество заданных временных окон 218 могут иметь протяженность около 3 с, отделенные отрезками времени около 12 с без регистрации. В конкретном примере заданный момент, в который сейсмический сигнал принимают во временном окне 218, может быть сдвинут к началу временных окон. Однако протяженность заданных интервальных/временных окон 218 регистрации, а также отрезки времени, которыми временные окна отделены на каждой глубине, могут изменяться в соответствии с особенностями конкретного применения и окружающей среды. В дополнение к этому, когда прибор 202 перемещают на различные глубины, изменения моментов времени возбуждения сейсмического источника 210 относительно периодов 218 регистрации могут быть одинаковыми или различными.
Например, временные разности 220 можно регулировать для решения различных задач, имеющих отношение к регистрации сейсмических данных и касающихся окружающей среды. Иногда составляют скоростные модели для определения конкретных характеристик данной подземной среды. При таких применениях сейсмический источник 210 можно возбуждать относительно раньше или же в иных случаях временные разности 220 можно выбирать на основании, по меньшей мере отчасти, вариации, прогнозируемой с помощью скоростной модели, между одной глубиной или последующими глубинами.
В целом на фиг.7 изображен один пример корреляции временной задержки при возбуждении источника 210 и сигнала, принимаемого прибором 202. На правой стороне фиг.7 показано, что, независимо от глубины погружения прибора 202, сейсмические сигналы принимаются во временном окне 218 регистрации приблизительно в один и тот же момент времени. Как показано на левой стороне фиг.7, когда прибор 202 опускают глубже, этого достигают более ранним возбуждением сейсмического источника 210 относительно временного окна 218 системы регистрации сейсмических сигналов.
Как рассматривалось выше, систему 200 для получения сейсмических данных можно объединять со скважинными инструментами многих видов, такими как бурильные инструменты, чтобы улучшать прием сейсмических сигналов в пределах точно определенных периодов, когда механизм регистрации сейсмических сигналов приведен в действие. Сейсмический приемник 214 и систему 216 регистрации сейсмических сигналов можно устанавливать на систему измерений в процессе бурения, систему каротажа в процессе бурения, различные другие приборы регистрации сейсмических сигналов в процессе бурения или на приборы совершенно других видов или использовать совместно с ними. Систему 200 можно также использовать совместно с оборудованием в виде колонн насосно-компрессорных труб и компоновок низа бурильной колонны различных видов в применениях, в которых сбор сейсмических данных является желательным. Кроме того, количество сейсмических источников и систем регистрации сейсмических сигналов/сейсмических приемников можно изменять от одного применения к другому. Изменения согласования во времени возбуждения сейсмического источника 210 относительно времени активации окна/периода регистрации системы регистрации сейсмических сигналов также можно регулировать линейно или нелинейно в зависимости от среды, расстояния между глубинами регистрации, продолжительности периода регистрации, характеристик инструмента и других факторов, имеющих отношение к конкретным применениям в сейсмике.
Соответственно, хотя выше были описаны подробно только несколько осуществлений настоящего изобретения, специалист в данной области техники должен без труда понять, что многочисленные модификации являются возможными без существенного отступления от идей этого изобретения. Такие модификации предполагаются включенными в объем этого изобретения, определяемый формулой изобретения.
1. Способ получения акустических данных, содержащий этапы, на которых: перемещают прибор через подземный пласт на первую глубину;возбуждают акустический излучатель в первый момент времени; регистрируют сигнал, создаваемый с помощью излучателя, прибором в течение заданного периода регистрации; перемещают прибор на вторую глубину, глубже по сравнению с первой глубиной; возбуждают акустический излучатель во второй момент времени; и регистрируют сигнал, создаваемый с помощью излучателя, прибором в течение заданного периода регистрации, при этом источник возбуждают во второй момент времени, более ранний по отношению к заданному периоду регистрации, чем в случае первой глубины.
2. Способ по п.1, в котором перемещение прибора содержит перемещение прибора сейсмических исследований в процессе бурения.
3. Способ по п.1, в котором перемещение прибора содержит перемещение прибора каротажа в процессе бурения.
4. Способ по п.1, в котором перемещение прибора содержит перемещение прибора измерений в процессе бурения.
5. Способ по п.1, в котором регистрация содержит регистрацию сигнала единственным приемником прибора.
6. Способ по п.1, в котором возбуждение источника содержит возбуждение единственного источника на земной поверхности.
7. Способ по п.1, в котором возбуждение источника содержит возбуждение множества источников на земной поверхности.
8. Способ по п.1, дополнительно содержащий последовательное возбуждение источника в дополнительные моменты времени, при этом последовательное возбуждение происходит во все более ранние моменты времени относительно заданных временных окон.
9. Способ получения сейсмических данных с использованием прибора скважинных измерений в процессе бурения, содержащий этапы, на которых: перемещают прибор скважинных измерений в процессе бурения через подземный пласт на первую глубину; приводят в действие механизм регистрации сейсмических сигналов в приборе во время нахождения на первой глубине, при этом механизм регистрации программируют для регистрации сейсмического сигнала на протяжении множества заданных временных окон; возбуждают сейсмический источник на или вблизи поверхности множество раз в то время, когда прибор находится на первой глубине, при этом источник возбуждают так, чтобы сейсмический сигнал, создаваемый источником, принимался на приборе в заданный момент во временных окнах; перемещают прибор через подземный пласт на вторую глубину, глубже по сравнению с первой глубиной; приводят в действие механизм регистрации сейсмический сигналов в приборе во время нахождения на второй глубине, при этом механизм регистрации программируют для регистрации сейсмического сигнала на протяжении множества заданных временных окон; возбуждают сейсмический источник на или вблизи поверхности множество раз в то время, когда прибор находится на второй глубине, при этом источник возбуждают раньше относительно регистрации в заданных временных окнах, чем в случае первой глубины, так что сейсмический сигнал, создаваемый источником, принимают на приборе на второй глубине в тот же самый заданный момент, как на первой глубине, во множестве заданных временных окон.
10. Способ по п.9, в котором каждое заданное временное окно из множества заданных временных окон, отделенных отрезками времени около 12 с без регистрации, составляет около 3 с по продолжительности.
11. Способ по п.9, в котором заданный момент во временных окнах находится в начале временных окон.
12. Способ по п.10, в котором временные окна изменяют по продолжительности.
13. Способ по п.9, в котором источник возбуждают раньше на основании, по меньшей мере отчасти, вариации скоростной модели между первой глубиной и второй глубиной.
14. Способ получения сейсмических данных, содержащий этапы, на которых: перемещают прибор через подземный пласт на первую глубину; возбуждают акустический источник в первый момент времени; регистрируют сигнал прибором в течение заданного периода регистрации; перемещают прибор на вторую глубину; возбуждают акустический источник во второй момент времени; регистрируют сигнал прибором на второй глубине в течение последующего заданного периода регистрации, при этом возбуждение акустического источника происходит в другое время относительно заданного периода времени и последующего заданного периода времени; и регистрируют сигнал прибором в течение заданного периода регистрации и последующего заданного периода времени.
15. Способ по п.14, в котором возбуждение акустического источника содержит все более раннее возбуждение акустического источника при каждом последующем заданном периоде регистрации по сравнению с предшествующим заданным периодом регистрации.
16. Способ по п.14, в котором временная разность возбуждения относительно заданного периода регистрации и последующего заданного периода регистрации основана, по меньшей мере отчасти, на скоростной модели между первой глубиной и второй глубиной.
17. Система для получения сейсмических данных, содержащая: прибор, перемещаемый через подземный пласт на последовательно возрастающие глубины, при этом прибор имеет механизм регистрации, программируемый для регистрации сейсмического сигнала на протяжении последовательности заданных окон регистрации; и сейсмический источник, возбуждаемый в конкретные моменты времени относительно каждого заданного окна регистрации из последовательности заданных окон регистрации, при этом сейсмический источник возбуждается раньше относительно каждого последующего заданного окна регистрации, когда прибор перемещается на последовательно возрастающие глубины.
18. Система по п.17, в которой прибор содержит перемещающийся в процессе бурения прибор.
19. Система по п.17, в которой прибор содержит прибор каротажа в процессе бурения.
20. Система по п.17, в которой прибор содержит прибор измерений в процессе бурения.
 
                         
                            


