Автономный скважинный регулятор притока и способы его использования
Иллюстрации
Показать всеПредставлен клапанный узел для регулирования потока текучей среды в горизонтальной скважине. Корпус может быть соединен насосно-компрессорной колонной. Камера образована внутри корпуса и может быть гидравлически сообщена проточным каналом с внутренним кольцевым зазором, образованным вблизи ствола скважины. Поршень и смещающий элемент могут быть расположены внутри камеры, причем смещающий элемент приспособлен для смещения поршня в первое положение. Путь потока текучей среды образован внутри корпуса и сообщен с насосно-компрессорной колонной и внутренним кольцевым зазором. Путь потока может содержать одну или несколько форсунок, расположенных в нем, и поршень может быть приспособлен для перемещения между первым положением, обеспечивающим поток текучей среды через путь потока в насосно-компрессорную колонну, и вторым положением, предотвращающим поток текучей среды в насосно-компрессорную колонну - перекрыт. 3 н. и 15 з.п. ф-лы, 7 ил.
Реферат
УРОВЕНЬ ТЕХНИКИ
В последние годы разработка и установка скважинных регуляторов притока позволила улучшить производительность горизонтальных скважин и сохранить отдачу в новых и существующих углеводородных скважинах. Технология указанных регуляторов способствовала увеличению площади дренирования коллекторов, уменьшению частоты прорывов конусов воды и/или газа и увеличению общих объемов добычи углеводородов. При этом в более длинных, существенно отклоненных горизонтальных скважинах существует нерешенная проблема неравномерного профиля потока по длине горизонтальной части, особенно, в условиях истощения скважины. Эта проблема, как правило, возникает в результате неоднородного снижения давления в пласте по длине горизонтальной части, но также может быть следствием изменений давления в коллекторе и общей проницаемости углеводородного пласта. Неоднородные профили движения потока могут привести к прорыву воды и газа, закупориванию отверстий и/или эрозии в противопесочных элементах, и могут существенно уменьшить эксплуатационный период и прибыльность скважины. Подобным образом, в горизонтальных нагнетательных скважинах то же явление в обратном его проявлении может привести к неравномерному распределению закачиваемых текучих сред, в результате чего части коллектора остаются нестреловидными, что приводит к потерям извлекаемых углеводородов.
Для обеспечения равномерности дебита/закачки по длине горизонтальной скважины также используют различные специальные способы заканчивания скважин. Один из способов включает использование сложных внутрискважинных клапанов управления потоком и измерений давления/температуры, позволяющих контролировать перепад давления и расход на различных участках скважины. Однако при этом обычно требуются гидравлические и/или электрические линии управления, которые ограничивают количество используемых клапанов и, в конечном счете, ведут к повышению общих затрат на заканчивание скважин. Другие способы предусматривают установку предварительно отрегулированных, фиксированных форсунок, сконфигурированных так, чтобы обеспечить перепад давления между коллектором и насосно-компрессорной колонной. Хотя каждая из форсунок действует как дроссель или клапан, ограничивающий расход текучей среды через систему, они полностью пассивны и могут лишь в ограниченной степени влиять на фактический расход через них и не могут корректировать степень закрытия после завершения заканчивания скважин.
Кроме того, перепад давления/расход обычно изменяются пропорционально степени истощения коллектора. Например, заканчивание скважин с использованием регуляторов притока текучих сред может первоначально быть оптимальным для извлечения углеводородов, но со временем будет отклоняться от идеала по мере снижения давления в коллекторе. Современные системы скважинного регулирования притока не могут поддерживать желаемый и неизменный расход по мере истощения коллектора и часто приводят к слишком высокому темпу закачки, и соответственно нежелательному прорыву конусов газа/воды.
На Фиг.1 изображена традиционная сборка для заканчивания скважин, предназначенная для извлечения нефти или других углеводородных текучих сред из подземного коллектора 102. Скважина 100, обычно включает в себя обсаженную, вертикальную часть 104, соединенную «участком» 105 с необсаженной, горизонтальной частью 106. Насосно-компрессорная колонна 108 для транспортирования углеводородов или других текучих сред к устью скважины 100 расположена внутри обсаженной части скважины 104 и проходит от устья скважины 100 через «участок» 105 к «участку» или забою 116. Для изоляции горизонтальной части 106 от забоя обычно используют пакер 110 или другой уплотняющий элемент для кольцевой зоны или затрубного пространства скважины 112 вокруг насосно-компрессорной колонны 108. Сборку для заканчивания скважин 114, представляющую собой песчаный экран или перфорированную трубу, обычно присоединяют к насосно-компрессорной колонне 108, обеспечивая приток и отток текучих сред через нее.
В процессе добычи изменения давления в коллекторе и перепад давления внутри скважины 100 могут вызвать откачку или закачку текучих сред с непостоянным расходом. При этом особые проблемы возникают в длинных горизонтальных скважинах, где перепад давления вдоль горизонтальной части 106 скважины 100 имеет максимальную величину в районе участка 105 скважины 100 вблизи вертикальной или почти вертикальной части 104, в результате чего скорость течения закачиваемой текучей среды в пятке 105 больше, чем в забое 116 скважины 100 (на максимальном удалении от вертикальной или почти вертикальной исходной части).
Таким образом, существует потребность в механизме управления потоком текучей среды для использования в скважинах, который бы компенсировал динамические изменения и отличия в давлении текучей среды по длине скважины. Существует также потребность в механизме управления потоком текучей среды, способном к саморегулированию и самокорректировке в зависимости от изменения разности давлений между углеводородным пластом и насосно-компрессорной колонной.
СУЩНОСТЬ ИЗОБРЕТЕНИЯ
Созданы клапанные узлы для регулирования расхода текучей среды в горизонтальных скважинах и способы их использования. По меньшей мере, в одном отдельном исполнении, клапанный узел может содержать корпус, соединенный с насосно-компрессорной колонной, камеру, образованную внутри корпуса и гидравлически сообщенную при помощи проточного канала с внутренним кольцевым зазором, образованным рядом со скважиной. Кроме того, клапанный узел может включать в себя поршень и смещающий элемент, расположенные внутри камеры, при этом смещающий элемент приспособлен для перемещения поршня в первое положение, и канал потока внутри корпуса, сообщенный с насосно-компрессорной колонной и внутренним кольцевым зазором. Путь потока может включать одну или несколько форсунок, расположенных в нем, а поршень может быть сконфигурирован таким образом, чтобы перемещаться между первым положением, в котором обеспечен поток текучей среды через канал потока в насосно-компрессорную колонну, и вторым положением, в котором предотвращен поток текучей среды в насосно-компрессорную колонну.
В другом исполнении клапанный узел может включать в себя корпус, соединенный с насосно-компрессорной колонной, и камеру, образованную внутри корпуса и имеющую первый конец, гидравлически сообщенный с внутренним кольцевым зазором при помощи проточного канала, и второй конец, гидравлически сообщенный с насосно-компрессорной колонной при помощи вентиляционного канала. Кроме того, клапанный узел может включать в себя канал потока внутри корпуса, гидравлически сообщенный с внутренним кольцевым зазором и насосно-компрессорной колонной через камеру. Форсунка может быть расположена внутри канала потока, окружающего насосно-компрессорную колонну, а поршень может быть расположен внутри камеры, приспособлен для радиального перемещения по отношению к насосно-компрессорной колонне и может иметь прижимной конец, смещающий конец и центральную часть уменьшенного поперечного сечения, расположенную между прижимным и смещающим концами. Клапанный узел также может включать в себя смещающий элемент, расположенный на втором конце камеры для перемещения поршня в первое положение. Поршень может перемещаться между первым положением, в котором обеспечен поток текучей среды через путь потока в насосно-компрессорную колонну, и вторым положением, предотвращен поток текучей среды в насосно-компрессорную колонну.
По меньшей мере, в одном варианте способ регулирования расхода текучей среды может включать в себя установку в скважине клапанного узла, содержащего корпус, образующий камеру, гидравлически сообщенную при помощи проточного канала с внутренним кольцевым зазором, образованным вблизи ствола скважины, создание потока текучей среды через клапанный узел по пути потока гидравлически сообщенного с насосно-компрессорной колонной и внутренним кольцевым зазором, при этом текучая среда действует на поршень через проточный канал, гидравлически сообщенный с внутренним кольцевым пространством. Поршень может быть перемещен в первое положение при помощи смещающего элемента, расположенного внутри камеры. Способ также предусматривает осевое перемещение поршня внутри камеры во второе положение, предотвращением потока через клапанный узел.
В другом варианте данный способ может включать в себя установку в скважине клапанного узла, содержащего поршень, расположенный внутри камеры и имеющий прижимной конец, смещающий конец и центральную часть уменьшенного проходного сечения, расположенную между прижимным и смещающим концами, создание потока текучей среды через клапанный узел по пути потока, гидравлически сообщенному с насосно-компрессорной колонной и стволом скважины при помощи камеры. Путь потока может иметь, по меньшей мере, одну форсунку, расположенную в нем вокруг насосно-компрессорной колонны. Текучая среда может действовать на прижимной конец поршня через проточный канал, гидравлически сообщенный со скважиной. Этот способ также включает в себя перемещение поршня в первое положение внутри камеры с использованием пружины, действующей на его смещающий конец, и перемещение поршня внутри камеры ко второму положению для перекрытия потока через клапанный узел.
КРАТКОЕ ОПИСАНИЕ ЧЕРТЕЖЕЙ
Для понимания вышеизложенных особенностей ниже представлено подробное описание изображения применительно к одному или нескольким вариантам, часть которых показана на прилагаемых чертежах. При этом следует понимать, что приложенные чертежи иллюстрируют лишь типичные варианты данного изобретения и, таким образом, не ограничивают изображение, так как данное изобретение может иметь другие варианты выполнения.
На Фиг.1 схематически изображена традиционная сборка для заканчивания скважин, сконфигурированная для извлечения нефти и некоторых других углеводородных текучих сред из горизонтальной скважины 100.
На Фиг.2 показан частичный вид в поперечном разрезе иллюстративного клапанного узла в положении «открыто», в соответствии с одним или несколькими описанными здесь исполнениями.
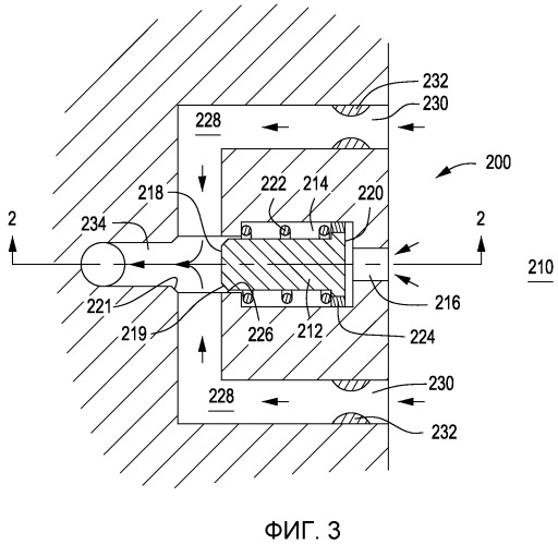
На Фиг.3 изображен частичный разрез по линии 3-3 на Фиг.2.
На Фиг.4 показан частичный вид в разрезе клапанного узла, изображенного на Фиг.2 и 3 и находящегося в положении «закрыто», в соответствии с описанными здесь одним или несколькими исполнениями.
На Фиг.5 показан частичный вид в разрезе по плоскости 5-5 клапанного узла, изображенного на Фиг.4, находящегося в положении «закрыто».
На Фиг.6 показан частичный вид в поперечном разрезе другого иллюстративного клапанного узла, находящегося в положении «открыто», в соответствии с описанными здесь одним или несколькими исполнениями.
На Фиг.7 изображен клапанный узел по Фиг.6, находящийся в положении «закрыто».
ПОДРОБНОЕ ОПИСАНИЕ
На Фиг.2 показан частичный вид в поперечном разрезе иллюстративного регулятора притока текучей среды или клапанного узла 200 в соответствии с одним или несколькими исполнениями. Клапанный узел 200 может быть сконфигурирован так, чтобы реагировать на изменения разности давлений между внутренней частью насосно-компрессорной колонны 208 и затрубным пространством 201 скважины. Как показано, клапанный узел 200 может включать внутренний корпус 202, имеющий внешний коллектор или корпус 204, расположенный вокруг него, образующий камеру 214 между ними. Клапанный узел 200 может быть расположен на или иначе прикреплена к насосно-компрессорной колонне 208. Например, внутренний корпус 202 может быть прикреплен или иным способом присоединен к наружной поверхности насосно-компрессорной колонны 208. Внешний коллектор 204 может быть прикреплен или иным способом присоединен к сборке для заканчивания скважин 215 на первом конце 206, а также соединен с насосно-компрессорной колонной 208 на втором конце 207. В одном или нескольких исполнениях внутренний корпус 202 и наружный коллектор 204 могут образовывать цельный или единый корпус, который может быть прикреплен или иным способом присоединен к насосно-компрессорной колонне 208.
По меньшей мере, в одном исполнении, сборка 215 для заканчивания скважин может включать в себя песчаный экран, известный специалистам в данной области, образующий внутренний кольцевой зазор 210, радиально дистанционированный от насосно-компрессорной колонны 208. Внутренний кольцевой зазор 210 может быть концентричным с затрубным пространством скважины 201, окружающим сборку 215 для заканчивания скважин, и насосно-компрессорной колонной 208. В одном из исполнений сборка 215 для заканчивания скважин может быть полностью исключена, так чтобы клапанный узел 200 располагался в непосредственном сообщении с затрубным пространством 201 скважины.
Поршень 212 или другой элемент, способный перемещаться в осевом направлении, может быть расположен в камере 214, образованной между внутренним корпусом 202 и наружным коллектором 204. Общая форма поршня 212 может быть в основном цилиндрической и сконфигурированной так, чтобы соответствовать, в основном, цилиндрической камере 214. При этом следует понимать, что поршень 212 и камера 214 могут иметь другие соответствующие формы, включая эллиптическую, овальную, прямоугольную и квадратную конфигурацию, не выходящие за рамки данного описания.
Камера 214 может быть гидравлически сообщена с внутренним кольцевым зазором 210 (например, в его верхней по потоку части) при помощи проточного канала 216. По меньшей мере, в одном исполнении, поршень 212 может иметь первый конец или дроссельный конец 218 и второй конец или смещающий конец 220. Дроссельный конец 218 может иметь коническую форму и уплотняющую поверхность 219, сконфигурированную для плотного зацепления с седлом или соответствующей конической поверхностью 221. Как показано на фигуре, коническая поверхность 221 может быть образована на наружной поверхности внутреннего корпуса 202 и внутренней поверхности наружного коллектора 204.
Хотя общее расположение корпуса (например, внутреннего корпуса 202 и наружного коллектора 204) и поршня 212, как показано на Фиг.2, является соосным с насосно-компрессорной колонной 208, другие конфигурации расположения также возможны и входят в сферу применения данного описания. Например, комбинация корпус (например, внутренний корпус 202 и наружный коллектор 204) и поршень 212 также может быть ориентирована радиально или тангенциально по отношению к насосно-компрессорной колонне 208, и, тем не менее, работать надлежащим образом, как описано здесь.
Смещающий элемент 222 также может быть расположен внутри камеры 214. Смещающий элемент 222 может представлять собой пружину, диафрагму или другие устройства, растягивающиеся в осевом направлении, сконфигурированные так, чтобы смещать поршень 212 в первое положение или положение «открыто» внутри камеры 214, как показано на Фиг.2 и 3. Например, смещающий элемент 222 может быть сконфигурирован так, чтобы воздействовать на или прилагать усилие к первому концу или буртику 224 поршня 212, образованному по периметру смещающего конца 220 поршня 212, для перемещения поршня в первое положение. В одном или нескольких исполнениях, часть камеры 214, содержащую смещающий элемент 222, можно вентилировать через отверстия или каналы, имеющиеся в буртике поршня 224. В результате, смещающий элемент 222 может быть гидравлически сообщен с внутренним кольцевым зазором 210 через буртик 224 и проточный канал 216.
В основном цилиндрическая уплотняющая поверхность 226 может быть расположена между внутренним корпусом 202 и наружным коллектором 204. В одном или нескольких исполнениях, уплотняющая поверхность 226 может иметь внутреннюю часть, сконфигурированную таким образом, чтобы обеспечить плотное зацепление с наружной частью поршня 212 в процессе перемещения поршня 212 в осевом направлении вперед и назад внутри камеры 214. Хотя это и не показано, поршень 212 может также иметь уплотняющий узел, например уплотнительное кольцо или диафрагму, расположенные вокруг него и плотно прижатые к уплотняющей поверхности 226 в процессе перемещения поршня 212, предотвращающие критические протечки вдоль поршня 212. В результате трения, возникающего при плотном зацеплении, уплотняющее кольцо или диафрагма потенциально могут заменить смещающий элемент 222, по меньшей мере, в одном исполнении.
В процессе работы поршень 212 может быть приспособлен для реагирования на возникающие изменения перепада давления между внутренним кольцевым зазором 210 (например, в его верхней по потоку части) и насосно-компрессорной колонной 208 (например, в ее нижней по потоку части). Например, поршень 212 может быть сконфигурирован для осевого перемещения внутри камеры 214 и регулирования при этом потока текучих сред через входной трубопровод 228 в зависимости от разности давлений выше и ниже по потоку. Следует понимать, что относительное расположение частей, расположенных выше и ниже по потоку, может быть обратным в тех исполнениях, где предусмотрена закачка текучих сред из насосно-компрессорной колонны 208 в окружающее затрубное пространство 201 скважины, например, в применениях для стимулирования скважин.
Как показано на Фиг.3, трубопровод 228 может иметь один или несколько форсуночных отверстий 230 (показаны два), гидравлически соединенных с внутренним кольцевым зазором 210 или затрубным пространством 201 скважины в применениях, где отсутствует сборка 215 для заканчивания скважин. Каждое форсуночное отверстие 230 может включать одну или несколько форсунок 232, расположенных в нем, по меньшей мере, частично. В процессе работы форсунки 232 способствует созданию контролируемого перепада давления на каждом форсуночном отверстии 232. В одном или нескольких исполнениях форсунки 232 могут быть заменены трубками уменьшенного проходного сечения, извилистым проточным каналом, или другим подобным устройством для регулирования или управления перепадом давления.
Входной трубопровод 228 может быть гидравлически сообщен с одним или несколькими выходными трубопроводами 234, гидравлически сообщенными с насосно-компрессорной колонной 208. Входной трубопровод 228 и выходной трубопровод 234 могут образовывать непрерывный путь потока через камеру 214.
В процессе работы клапанный узел 200 может быть сконфигурирован на использование разности давлений между сечениями выше и ниже по потоку относительно поршня 212 для саморегулирования расхода через входной и выходной трубопроводы 228 и 234. Например, текучая среда может протекать из затрубного пространства 201 скважины, через сборку 215 для заканчивания скважин (например, песчаный экран) во внутренний кольцевой зазор 210 клапанный узел 200. Внутренний кольцевой зазор 210 может одновременно использоваться для подачи текучей среды в форсуночный порт(ы) 230 и проточный канал 216. Текучая среда, проходя в проточный канал 216, может создавать усилие на невентилируемую часть смещающего конца 220 поршня 212.
При движении текучей среды через форсунки 232 создается перепад давлений, что приводит к формированию разности давлений перед и за поршнем 212, между внутренним кольцевым зазором 210 и внутренней частью насосно-компрессорной колонны 208. Увеличение разности давлений пропорционально увеличивает силу, приложенную к невентилируемой части смещающего конца 220 поршня 212 через текучую среду из проточного канала 216. В результате, поршень 212 под действием силы перемещается в осевом направлении к уплотняющему седлу 221, тем самым, перемещая смещающий элемент 222, создающий силу, в противоположном осевом направлении. Если перепад давления продолжает увеличиваться, давление текучей среды через проточный канал 216 может, соответствующим образом, преодолеть смещающее усилие смещающего элемента 222 и вынуждает поршень 212 двигаться к уплотняющему седлу 221 и, в конечном счете, - во второе положение или положение «закрыто», как показано на Фиг.4 и 5. В частности, на Фиг.4 показан клапанный узел 200, изображенный на Фиг.2, находящийся в положении «закрыто», а на Фиг.5 - клапанный узел 200, изображенный на Фиг.3, находящийся в положении «закрыто».
При движении поршня 212 к уплотняющему седлу 221 дроссельный конец 118 поршня 212 начинает редуцировать, ограничивать или иным способом регулировать поток текучей среды через входной трубопровод(ы) 228, тем самым, уменьшая расход текучих сред через выходной трубопровод 234. Регулирование потока текучей среды через входной трубопровод 228 может привести к увеличению перепада давления на поршне 212. Такое увеличение перепада давления может способствовать повышению запирающей силы, которая дополнительно перемещает уплотняющую поверхность 219 к уплотняющему седлу 221 и в положение «закрыто», тем самым, ограничивая или полностью перекрывая поток текучей среды через входной трубопровод(ы) 228. До тех пор, пока давление выше и ниже по потоку уравновешено, или, по меньшей мере, его разность меньше уровня, при котором смещающее усилие смещающего элемента 222 способно сдвинуть поршень 212 к открытой позиции поршень 212 будет оставаться в положении «закрыто», тем самым, вытесняя поступающие текучие среды из окружающего затрубного пространства 201 скважины в другие части насосно-компрессорной колонны 208. Такая ситуация может быть полезна при работе скважины в режиме, близком к истощению коллектора, когда, обычно, стараются предотвратить или избежать нежелательных прорывов конусов газа/воды в более проницаемые области коллектора, например, туда, где поток текучей среды может быть большим.
В другом исполнении структура буртика поршня 224 может обладать достаточной твердостью, чтобы обеспечить плотное зацепление с внутренней поверхностью камеры 214, вместо возможности вентиляции текучей среды в смещающий элемент 222. Кроме того, в основном цилиндрическая уплотняющая поверхность 226 может включать внутреннюю часть, приспособленную обеспечивать поток текучей среды или вентиляцию вокруг дроссельного конца 218 поршня 212 в ту часть камеры 214, которая содержит смещающий элемент 222. Иначе говоря, наружная поверхность поршня 212 и уплотняющая поверхность 226 могут совместно образовывать кольцевой зазор, через который текучая среда может притекать или вытекать из камеры 214, тем самым, вентилируя смещающий элемент 222. Следует понимать, что при этом гидравлическое давление в проточном канале 216 может действовать на всю площадь поверхности смещающего конца 220 поршня 212. Такая конфигурация может также обеспечивать возможность равной и противоположной площади поверхности поршня 212 подвергаться воздействию давления ниже форсунок 232 на противоположной стороне поршня 212, например, включая комбинированные поверхности дроссельного конца 218, уплотняющую поверхность 219, и внутрипоршневый буртик 224 вокруг смещающего элемента 222.
В этом варианте, при прохождении текучей среды из внутреннего кольцевого зазора 210 через форсунки 232 создается перепад давления и разность давлений по обеим сторонам поршня 212 между затрубным пространством скважины 201, например, внутренним кольцевым зазором 210, и насосно-компрессорной колонной 208. Эта разность давлений увеличивает давление, действующее на всю площадь поверхности смещающего конца 220 поршня 212 через проточный канал 216. Такое увеличение разности давлений может заставить поршень 212 двигаться к уплотняющему седлу 221, тем самым, прижимая и сжимая смещающий элемент 222. По мере движения поршня 212 в направлении уплотняющего седла 221 поток текучей среды через входной трубопровод 228 дросселируется, при этом снижается расход через выходной трубопровод 234 и дополнительно увеличивается разность давлений. Следует понимать, что из-за того, что давление текучей среды действует на равную по величине, но противоположную по направлению площадь поверхности поршня 212, поршень 212 может исполнять роль саморегулирующегося проточного клапана, приспособленного для поддержания в равновесии расхода через клапанный узел 200. Кроме того, меняя площадь поршня 212 и манипулируя коэффициентом упругости смещающего элемента 222, можно настроить клапанный узел 200 на закрывание при определенных расходе и перепаде давления.
Если перепад давления продолжает увеличиваться, давление текучей среды через проточный канал 216 преодолеет совместное смещающее усилие от смещающего элемента 222 и сил текучей среды, действующих на противоположную сторону поршня 212 (например, включая суммарную площадь поверхностей дроссельного конца 218, уплотняющей поверхности 219 и буртика 224 поршня рядом со смещающим элементом 222), тем самым, вынуждая поршень 212 двигаться дальше к уплотняющему седлу 221. При приближении дроссельного конца 218 к уплотняющему седлу 221, разность давлений по обе стороны уплотняющего седла 221 увеличивается, что обеспечивает дополнительное запирающее усилие на поршень 212.
На Фиг.6 показан частичный вид в разрезе другого иллюстрационного регулятора притока текучей среды или клапанный узел 600, в соответствии с одним или несколькими исполнениями. Клапанный узел 600 в некоторых аспектах подобен клапанному узлу 200, описанному выше применительно к Фиг.2-5. Соответственно, для лучшего понимания клапанного узла 600 можно обратиться к Фиг.2-5, где для обозначения подобных элементов используются подобные ссылочные позиции, поэтому нет необходимости вновь описывать их в деталях.
Клапанный узел 600 может быть приспособлена для реагирования на изменения разности давлений между насосно-компрессорной колонной 208 и затрубным пространством 201 скважины, в сочетании с определенным расходом текучей среды через клапанный узел 600. Как показано на Фигуре, клапанный узел 600 может иметь наружный коллектор или корпус 602, прикрепленный или иным способом присоединенный к насосно-компрессорной колонне 208 и сборке 215 для заканчивания скважин.
Поршень 604 или другой перемещаемый элемент может быть расположен внутри камеры 606, образованной в наружном коллекторе 602. Общая форма поршня 604 может быть в основном цилиндрической и сконфигурированной так, чтобы соответствовать в основном цилиндрической камере 606. При этом следует понимать, что поршень 604 и камера 606 могут иметь другие соответствующие формы, включая эллиптическую, овальную, прямоугольную и квадратную конфигурации. В одном из исполнений, поршень 604 может перемещаться внутри камеры 606 в направлении, в основном перпендикулярном (например, радиальном) осевой длине насосно-компрессорной колонны 208. Общая форма поршня 604 может быть приспособлена для плотного прилегания к внутренним стенкам камеры 606 в процессе движения или перемещения поршня 604. В других исполнениях поршень 604 или камера 606 могут иметь один или несколько уплотняющих элементов или устройств, например, уплотняющее кольцо или диафрагму, для уменьшения критических протечек текучей среды между поршнем 604 и камерой 606.
Хотя общее расположение корпуса 602 и поршня 604, как показано на Фиг.6, является, в основном, согласованным радиально с насосно-компрессорной колонной 208, другие конфигурации расположения так же возможны и входят в сферу применения данного описания. Например, поршень 604 также может быть ориентирован в осевом направлении или тангенциально по отношению к насосно-компрессорной колонне 208, и, тем не менее, работать надлежащим образом, как описано здесь. В одном или нескольких исполнениях, поршень 604 может быть сконфигурирован так, чтобы иметь возможность перемещаться в осевом направлении внутри камеры 606, по отношению к насосно-компрессорной колонне 208.
Поршень 604 может иметь первый конец или прижимной конец 608 и второй конец или смещающий конец 610 со штоком золотника 612, расположенным между ними. По меньшей мере, в одном исполнении шток 612 золотника может иметь коническую или другую цилиндрическую форму, обеспечивающую менее турбулентное течение текучей среды вокруг штока 612 золотника в процессе работы. Прижимной конец 608 может быть расположен недалеко от или иначе гидравлически соединен с проточным каналом 614, который гидравлически связан с внутренним кольцевым зазором 210 (например, со стороны, расположенной выше по потоку). И наоборот, смещающий конец 610 может быть гидравлически соединен с насосно-компрессорной колонной 208 (например, со стороны, расположенной ниже по потоку) при помощи вентиляционного канала 616, имеющегося в насосно-компрессорной колонне 208. Следует понимать, что относительное расположение частей выше и ниже по потоку, может быть обратным, например, в тех исполнениях, где предусмотрена закачка текучих сред из насосно-компрессорной колонны 208 в окружающее затрубное пространство 201 скважины в применениях для стимулирования скважин.
Клапанный узел 600 может также включать в себя первый или входной трубопровод 618 и второй или выходной трубопровод 620. Входной трубопровод 618 может быть гидравлически соединен с внутренним кольцевым зазором 210 (например, затрубным пространством 201 скважины) и камерой 606, а выходной трубопровод 620 может быть гидравлически соединен с камерой 606 и насосно-компрессорной колонной 208. Соответственно, входной и выходной трубопроводы 618, 620 гидравлически связаны друг с другом через камеру 606, таким образом, они образуют непрерывный путь потока через наружный коллектор 602 или корпус.
В одном из исполнений выходной трубопровод 620 может включать в себя одну или несколько форсунок 622 (показана одна), расположенных, по меньшей мере, частично, в нем и вблизи внутренней поверхности насосно-компрессорной колонны 208. Форсунки 622 способствуют созданию контролируемого перепада давления на клапанном узле 600. В одном или нескольких исполнениях форсунки 622 можно заменить трубопроводами уменьшенного проходного сечения, увеличением длины пути или другими подобными устройствами, сконфигурированными для регулирования или управления перепадом давления.
Смещающий элемент 624 также может быть расположен внутри камеры 606. Подобно смещающему элементу 222, описанному выше применительно к Фиг.2-5, смещающий элемент 624 может представлять собой пружину, диафрагму, или другие устройства, растягивающиеся в осевом направлении. В процессе работы, смещающий элемент 624 может перемещать или приводить иным образом поршень 604 в первое или «открытое» положение внутри камеры 606, как показано на Фиг.6. В открытом положении шток золотника 612, который расположен посередине между входным и выходным трубопроводами 618 и 620, и при помощи которого открывается проток текучей среды вокруг штока 612 золотника из входного трубопровода 618 в выходной трубопровод 620, или наоборот. Как показано на Фиг.7, поршень 604 находится во втором положении или положении «закрыто», при этом прижимной конец 608 поршня 604 в основном ограничивает или перекрывает поток текучей среды между входным и выходным трубопроводами 618 и 620. Следует понимать, что между первым и вторым положением, существуют несколько регулируемых положений для уменьшения, ограничения или регулирования иным образом потока текучей среды в различной степени между входным и выходным трубопроводами 618 и 620.
В процессе работы клапанный узел 600 реагирует на разность давлений выше и ниже по потоку относительно поршня 604 и автономно корректирует расход текучих сред через входной и выходной трубопроводы 618, 620. В одном или нескольких исполнениях текучая среда может поступать через сборку 215 для заканчивания скважин во внутренний кольцевой зазор 210. Внутренний кольцевой зазор 210 может одновременно питать текучей средой проточный канал 614 и входной трубопровод 618. Через проточный канал 614 давление текучей среды, действующее на прижимной конец 608 поршня 604, по меньшей мере, частично компенсируется суммарным смещающим усилием от смещающего элемента 624 на смещающий конец 610 и давления текучей среды в трубе 208, действующего на смещающий конец 610 через вентиляционный канал 616. В одном из исполнений эти суммарные усилия служат для удержания поршня 604 в первом положении, при котором открывается проток текучей среды из входного трубопровода 618, вокруг штока золотника 612, расположенного в камере 606, в выходной трубопровод 620.
При движении текучей среды через форсунки 622 создается перепад давлений, что приводит к формированию разности давлений до и после поршня 604, между внутренним кольцевым зазором 210, например, выше по потоку, и внутренней частью насосно-компрессорной колонны 208, например, ниже по потоку. При увеличении разности давлений может увеличиваться давление текучей среды, действующее на прижимной конец 608 поршня 604, тем самым, увеличивая силу, действующую на поршень 604 в противовес смещающему элементу 624. Если перепад давления продолжает увеличиваться, давление текучей среды через проточный канал 614 может, в конечном счете, преодолеть суммарное смещающее усилие смещающего элемента 624 и давления текучей среды ниже по потоку, действующего через вентиляционный канал 616, и вынуждает поршень 604 двигаться во второе положение или положение «закрыто», как показано на Фиг.7.
По мере продвижения поршня 604 ко второму положению, он перекрывает и ограничивает поток текучей среды через проточный канал, например, между входным и выходным трубопроводами 618, 620. Следует понимать, что перекрытие потока текучей среды может привести к увеличению перепада давления на поршне 604. Увеличение перепада давления увеличивает сжимающую силу, действующую навстречу смещающему элементу 624 на смещающий конец 608, который далее перемещает поршень 604 ко второму положению, в котором поток текучей среды через выходной трубопровод 620, в основном, ограничен или перекрыт.
До тех пор, пока давления выше и ниже по потоку примерно равны или, по меньшей мере, не превышают уровня, при котором суммарное смещающее усилие от смещающего элемента 624 и давления текучей среды ниже по потоку, действующего через вентиляционный канал 616, смогут опять заставлять поршень 604 двигаться к открытому положению, поршень 604 будет оставаться в положении «закрыто». Находясь в положении «закрыто», поршень 604 заставляет текучие среды, поступающие из затрубного пространства скважины 201, перемещаться в другие области насосно-компрессорной колонны 208, тем самым, предотвращая прорыв водяного конуса в любой зоне по длине насосно-компрессорной колонны 208. При работе скважины в режиме, близком к истощению коллектора, это может оказаться полезным для предотвращения нежелательных прорывов газового/водяного конуса в более проницаемые области коллектора, где поток текучей среды может быть большим.
Следует понимать, что в случаях, когда перепад давления на поршне 604 не может заставить поршень 604 полностью переместиться в положение «закрыто», суммарные усилия от смещающего элемента 624 и сил, действующих навстречу поршню 604 на его прижимной и смещающий конец 210, 212, могут достичь определенного равновесия. Иными словами, клапанный узел 600 может исполнять роль саморегулирующегося проточного клапана, приспособленного для поддержания в равновесии расхода через клапанный узел 600 с учетом давлений во внутреннем кольцевом зазоре 210 и насосно-компрессорной колонне 207. Кроме того, изменяя площадь сечения поршня 604 и манипулируя коэффициентом упругости смещающего элемента 624, можно спроектировать клапанный узел 600 на закрывание при достижении установленного расхода и перепада давления.
В одном или нескольких исполнениях сборка для заканчивания скважин 215 может включать два или больше регуляторов притока текучей среды, каждый из которых имеет две или большее количество клапанных сборок 200, 600, как в общем случае описано здесь, распределенных по длине насосно-компрессорной колонны 208. Между сборками для заканчивания скважин 215 и/или между клапанными узлами 200, 600 можно установить один или несколько пакеров для создания индивидуальных или отдельных секций или зон. В случае если первая текучая среда поступает в одну или несколько первых зон, и вторая текучая среда поступает в одну или несколько вторых зон, давление в затрубном пространстве скважины 201 может изменяться пропорционально первичному давлению в первой зоне(ах) по отношению к давлению во второй зоне(ах). Следует понимать, что если вторая текучая среда имеет вязкость или плотность, отличающуюся от первой текучей среды, перепад давления в коллекторе для того же расхода будет другим.
Как в общем виде описано здесь, узлы 200 и 600 для управления потоком могут быть сконфигуриро
 
                         
                            


