Интегрированная система непрерывного наблюдения
Иллюстрации
Показать всеИзобретение относится к исследованию скважин и может быть использовано для непрерывного контроля параметров в скважине. Техническим результатом является упрощение конструкции системы наблюдения за параметрами в скважине. Предложена система наблюдения в скважине, включающая датчики, в частности, давления и температуры, кабель, соединяющий скважинную систему наблюдения и устье скважины. При этом устье скважины содержит электрический вывод устья, имеющий телеметрическую систему сбора данных и источник питания для скважинной системы наблюдения. Кроме того, электрический вывод устья содержит командный модуль для скважинной системы наблюдения и модуль хранения данных с микропроцессором. 4 н. и 20 з.п. ф-лы, 4 ил.
Реферат
Уровень техники
[0001] Во многих областях, где работают скважины, используют датчики контроля за различными параметрами в скважине. Датчики опускают вниз в ствол скважины, а данные о значениях параметров передают наверх в независимый наземный бокс для сбора данных. Затем данные можно выводить на экран и/или подвергать обработке, чтобы можно было наблюдать и оценивать определенные аспекты скважинной системы. Однако независимый наземный бокс для сбора данных и архитектура ассоциированной системы могут создавать значительные сложности и повышать стоимость.
Сущность изобретения
[0002] В общем, предлагается система и методология наблюдения за параметрами в скважинном пространстве. По крайней мере, один датчик расположен в стволе скважины, чтобы измерять значение требуемого параметра или параметров. Данные из этого датчика поступают наверх в электрический вывод, интегрированный в устье скважины. В случае необходимости данные можно подвергать обработке на электрическом выводе в устье скважины. В некоторых случаях электрический вывод в устье скважины используют для беспроводной передачи данных в наземный шлюз данных.
Краткое описание чертежей
[0003] Определенные примеры осуществления этого изобретения будут описаны ниже со ссылкой на прилагаемые чертежы, на которых сходные элементы обозначены сходными номерами, и:
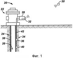
[0004] На фиг.1 приведено схематическое изображение скважинной системы с интегрированным электрическим выводом в устье скважины, расположенным над скважиной, согласно примеру осуществления настоящего изобретения.
[0005] На фиг.2 приведено схематическое изображение примера электрического вывода в устье скважины, который может быть интегрирован в устье скважины, согласно примеру осуществления настоящего изобретения.
[0006] На фиг.3 приведено схематическое изображение устья скважины и интегрированного электрического вывода в устье скважины, имеющего беспроводную связь с примером осуществления наземного шлюза данных, согласно примеру осуществления настоящего изобретения; и
[0007] На фиг.4 приведено схематическое изображение устья скважины и интегрированного электрического вывода в устье скважины, имеющего беспроводную связь с другим примером осуществления наземного шлюза данных, согласно альтернативному примеру осуществления настоящего изобретения.
Подробное описание изобретения
[0008] В последующем описании приведено множество подробностей, способствующих пониманию сущности настоящего изобретения. Однако специалистам в данной области будет понятно, что настоящее изобретение можно осуществлять и без использования этих подробностей и что в описанные примеры осуществления можно внести множество изменений или подвергать эти примеры осуществления разным модификациям.
[0009] Настоящее изобретение, в общем, относится к системе для наблюдения за одним или несколькими требуемыми параметрами внутри скважины. Согласно одному примеру осуществления, описанному ниже, система наблюдения представляет собой систему непрерывного наблюдения, имеющую сильно упрощенную архитектуру на поверхности. В устье скважины интегрирован электрический вывод, способный выполнять функции, выполнявшиеся иначе независимым наземным боксом для сбора данных. Например, электрический вывод в устье скважины может представлять собой беспроводной вывод в устье скважины, который может обходиться без проводов между устьем скважины и отдельной системой для сбора данных. Кроме того, электрический вывод в устье скважины может быть интегрирован с источником питания, обеспечивающим питанием скважинную систему наблюдения. Упрощенная архитектура этой системы облегчает установку и интеграцию с поверхностной системой, обеспечивая значительное понижение стоимости по сравнению с традиционными проводными системами.
[0010] На фиг.1 приведен пример типовой скважинной системы 20, содержащей устье 22 скважины, расположенное над скважиной 24, имеющей ствол 26 скважины. Кроме того, в устье 22 скважины интегрирован электрический вывод 28, чтобы можно было передавать характеризующие скважину данные в требуемую внешнюю систему 30, такую как наземный шлюз данных. Например, электрический вывод 28 может представлять собой беспроводной модуль 32, предназначенный для установления беспроводной связи со шлюзом 30 данных. В альтернативном примере осуществления модуль 32 может иметь форму штепсельного модуля (или содержит встроенный штепсельный модуль), чтобы можно было его временно или постоянно подключать к проводу для передачи данных во внешнюю систему.
[0011] В приведенном примере осуществления скважинная система 20 содержит также скважинную систему 34 слежения, предназначенную для определения и/или наблюдения за одним или несколькими скважинными параметрами. Скважинная система 34 слежения передает данные наверх в электрический вывод 28 в устье скважины. Например, скважинная система 34 слежения содержит датчик 36, такой как измерительный прибор. В зависимости от конкретного примера осуществления датчик 34 может представлять собой манометр, термометр или прибор, предназначенный для совместного определения давления и/или температуры в требуемом положении вдоль ствола 26 скважины. В некоторых примерах осуществления датчик 36 опускают снаружи труб 38, например снаружи насосно-компрессорной колонны, нагнетательной трубы или обсадной колонны, опущенной в скважину. Кроме того, скважинная система 34 наблюдения может представлять собой множество датчиков, снабженных одним или несколькими дополнительными датчиками 40. Согласно одному примеру осуществления один или несколько датчиков 36, 40 могут находиться снаружи труб 38, в данном примере осуществления снаружи обсадной трубы, чтобы можно было следить за геологической формацией и/или флюидами. Другие датчики могут находиться внутри трубы 38 или в другом требуемом месте внутри скважины.
[0012] Как показано на фигуре, скважинная система 34 наблюдения соединена с электрическим выводом 28 в устье скважины кабелем 42. Кабель 42 представляет собой измерительный кабель, способный передавать информацию в устье 22 скважины на поверхности. Однако кабель 42 можно использовать и для подачи энергии в скважинную систему 34 слежения, чтобы обеспечить питанием скважинные датчики, если они не имеют собственного источника питания, например, в виде скважинной батареи. В приведенном примере кабель 42 представляет собой постоянный кабель, проходящий между электрическим выводом 28 в устье скважины и скважинной системой 34 слежения. Кабель 42 может быть подключен к одному датчику или к нескольким датчикам, например к датчикам 36, 40.
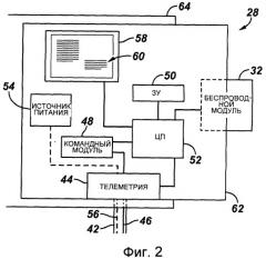
[0013] На фиг.2 показан пример осуществления электрического вывода 28 в устье скважины. В этом примере осуществления электрический вывод 28 в устье скважины обладает значительной способностью обрабатывать данные и интегрирован в устье 22 скважины. Например, электрический вывод 28 в устье скважины может представлять собой скважинную систему 44 телеметрического сбора данных, такую как скважинная система телеметрического сбора данных от датчиков, подключенная к скважинной системе 34 наблюдения. Система 44 телеметрического сбора данных может быть подключена к скважинной системе 34 наблюдения через линию 46 передачи данных, находящуюся в кабеле 42. Данные о скважинных параметрах, переданные из скважинной системы 34 наблюдения, поступают в систему 44 телеметрического сбора данных и распределяются ею.
[0014] Интегрированный электрический вывод 28 в устье скважины может также включать в себя командный модуль 48 скважинной системы наблюдения, чтобы можно было подавать сигналы управления в систему 34 наблюдения. Вывод 28 в устье скважины может также включать в себя модуль 50 для хранения данных, который работает совместно с центральным процессором 52 (ЦП), таким как микропроцессор. Скважинная система 44 телеметрического сбора данных и командный модуль 48 также могут быть связаны с процессором 52, чтобы можно было проводить накопление, обработку, преобразование и/или анализ данных, полученных из скважинной системы 34 наблюдения и направленных в нее. Центральный процессор 32 может быть также связан с беспроводным модулем 32, чтобы можно было облегчить беспроводную передачу данных во внешнюю систему 30, такую как шлюз данных.
[0015] В некоторых случаях электрический вывод 28 в устье скважины может также включать источник 54 питания, используемый для подачи питания в скважинную систему 34 наблюдения. Например, источник 54 питания соединен с одним или несколькими датчиками 36, 40 через линию 56 питания, которая может находиться внутри кабеля 42. В зависимости от назначения источник 54 питания может находиться в другом месте внутри ствола 22 скважины или возле ствола 22 скважины. Например, источник 54 питания может представлять собой аккумулятор или солнечную панель.
[0016] В приведенном примере осуществления вывод 28 в устье скважины включает в себя также панель 58 регистрации показаний датчиков для отображения на экране данных о параметрах скважины и/или для ввода данных, имеющих отношение к наблюдению за параметрами скважины. Например, панель 58 регистрации показаний датчиков использует графический интерфейс 60 пользователя или другой подходящий интерфейс, чтобы облегчить отображение и/или ввод данных. В примере осуществления, изображенном на фиг.2, электрический вывод 28 в устье скважины содержит также взрывобезопасный корпус 62, предназначенный согласно действующим промышленным стандартам для определенных областей использования. Аналогичным образом, между устьем 22 скважины и средой на поверхности может быть надлежащим образом установлен предохранительный барьер 64 в соответствии с действующими промышленными стандартами для определенных областей использования.
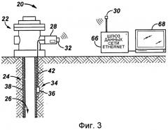
[0017] Устье 22 скважины и его интегрированный электрический вывод 28 можно использовать в сочетании с множеством внешних систем обработки данных. Например, как показано на фиг.3, электрический вывод 28 в устье скважины может быть соединен проводной связью с внешней системой 30, представляющей собой шлюз 66 данных сети Ethernet. В этом примере осуществления комплексная скважинная система 20 представляет собой автономную систему сбора данных, которая позволяет шлюзу 66 данных сети Ethernet накапливать данные из области в пределах радиуса связи интегрированного электрического вывода 28. Шлюз данных сети Ethernet может быть связан с одним или несколькими локальными компьютерами 68 для взаимодействия, архивирования, настройки всей системы в целом и/или иной обработки данных.
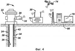
[0018] В другом примере осуществления устье 22 скважины и его интегрированный электрический вывод 28 соединены беспроводной связью с внешней системой 30, включающей шлюз 70 данных глобальной системы мобильной связи (GSM). В этом примере осуществления шлюз 70 данных глобальной системы мобильной связи используется для передачи данных из вывода 28 в устье скважины на потенциально значительные расстояния с помощью системы передачи данных, такой как ретрансляционная система 72 или спутниковая система 74. Данные можно передавать на промежуточный веб-сервер 76, используемый для сбора данных о параметрах скважины и для обеспечения доступности этих данных для одного или нескольких компьютеров 78, например, через интерфейс 80, основанный на интернет-технологии. Беспроводный шлюз может иметь собственный источник питания, например аккумулятор, солнечную панель или другой подходящий источник питания, или может использовать локальный источник питания, если он доступен.
[0019] Конструкция всей скважинной системы 20, в том числе конструкция устья 22 скважины и его интегрированного электрического вывода 28, может меняться в соответствии с использованием скважинного слежения и окружающей среды. Например, в зависимости от телеметрических и операторских требований в скважине 24 можно устанавливать не один датчик. В некоторых случаях можно использовать многоточечную систему. Кроме того, один или несколько датчиков, например датчики 36, 40, могут представлять собой датчики давления, датчики температуры или другие типы датчиков, разработанных для изготовления и диагностики резервуаров. Например, датчики могут представлять собой ультразвуковые датчики, акустические датчики, рН-метры, дельта-манометры, резистивные датчики, емкостные датчики и другие датчики или их сочетания, в случае необходимости, для конкретного применения.
[0020] Во многих случаях желательно использовать датчики, рассчитанные на низкое потребление энергии, чтобы увеличить срок службы аккумулятора. Как было описано выше, некоторые примеры осуществления электрического вывода 28 в устье скважины содержат источник 54 питания, например аккумуляторную батарею, предназначенную для увеличения срока службы скважинной системы 34 наблюдения. Например, показанный источник 54 питания может содержать сменные аккумуляторы и/или солнечную панель, интегрированную с выводом 28 в устье скважины.
[0021] Кроме того, связь между электрическим выводом 28 в устье скважины и внешней системой 30, например шлюзом данных, может осуществляться разными методами. В одном примере осуществления беспроводная связь может представлять собой WI-FI сеть для локальной передачи данных. В другом случае беспроводный модуль 32 электрического вывода 28 в устье скважины может включать модуль GSM, непосредственно связанный с GSM-антенной и не нуждающийся в промежуточном шлюзе данных. Кроме того, беспроводный модуль 32 можно использовать для передачи дополнительных данных во внешнюю систему. Например, один из датчиков 36, 40 может быть расположен на поверхности, чтобы проводить измерения на уровне устья скважины, и эти данные можно передавать в требуемый шлюз данных.
[0022] Скважинная система 20 позволяет создать систему наблюдения, которая не нуждается в поверхностной проводке благодаря использованию очень простой поверхностной архитектуры. Следовательно, снижение стоимости связано как с аппаратным обеспечением, так и с монтажом, который можно проводить быстрее. В некоторых случаях можно обойтись без определенных систем постоянного поверхностного сбора/передачи данных за счет способности электрического вывода 28 в устье скважины собирать данные автономно. В этом примере осуществления данные выгружают из электрического вывода 28 в устье скважины по мере необходимости, например, на периодической основе.
[0023] Соответственно, скважинная система 20 наблюдения может принимать множество конфигураций, предназначенных для использования в скважинных системах разного типа и в разных условиях. Конфигурацию устья скважины, скважинное оборудование, конфигурацию системы наблюдения и оборудование для сбора данных можно регулировать в зависимости от назначения. Кроме того, данные можно собирать и хранить в устье скважины для периодической их выгрузки; или данные о контролируемых параметрах скважины можно избирательно или автоматически подавать во внешнее устройство, например, с использованием беспроводной связи. Кроме того, этот способ можно использовать в скважинах разного типа, в том числе в нефтяных и газовых скважинах, геотермальных скважинах и водозаборных скважинах.
[0024] Хотя подробно было описано лишь несколько примеров осуществления настоящего изобретения, специалистам в данной области будет понятно, какие изменения можно вносить без существенного отклонения от сущности этого изобретения. Подобные изменения считаются не выходящими за рамки этого изобретения, объем которого определен в приведенной формуле.
1. Система наблюдения в скважине, содержащаяскважинную систему наблюдения;кабель, подключенный к скважинной системе наблюдения; иустье скважины, имеющее электрический вывод устья скважины, подключенный к кабелю, причем электрический вывод устья скважины содержитскважинную телеметрическую систему наблюдения и сбора данных; и источник питания для скважинной системы наблюдения.
2. Система по п.1, отличающаяся тем, что электрический вывод устья скважины содержит команду для скважинной системы наблюдения.
3. Система по п.1, отличающаяся тем, что электрический вывод устья скважины содержит ЗУ данных.
4. Система по п.1, отличающаяся тем, что электрический вывод устья скважины содержит модуль беспроводной связи, предназначенный для беспроводной передачи данных во внешнюю систему.
5. Система по п.2, отличающаяся тем, что скважинная система наблюдения содержит датчик.
6. Система по п.2, отличающаяся тем, что скважинная система наблюдения содержит множество датчиков.
7. Система по п.2, отличающаяся тем, что скважинная система наблюдения содержит датчик температуры.
8. Система по п.2, отличающаяся тем, что скважинная система наблюдения содержит датчик давления.
9. Система по п.1, отличающаяся тем, что кабель содержит линию передачи данных и силовую линию.
10. Система по п.1, отличающаяся тем, что электрический вывод устья скважины содержит, по крайней мере, один предохранительный барьер между устьем скважины и внешней средой.
11. Система по п.1, отличающаяся тем, что электрический вывод устья скважины содержит штепсель для соединения с жестким проводом для передачи данных во внешнюю систему.
12. Система по п.1, отличающаяся тем, что электрический вывод устья скважины содержит взрывобезопасный корпус.
13. Способ скважинного наблюдения, содержащийразмещение датчика контроля в стволе скважины, который проходит от устья скважины;протяжку постоянного кабеля от датчика контроля до устья скважины;подсоединение беспроводного вывода устья скважины к постоянному кабелю; и интегрирование скважинного телеметрического сбора данных от датчиков, скважинного датчика команд, ЗУ данных и беспроводного средства связи в беспроводный вывод устья скважины.
14. Способ по п.13, отличающийся тем, что дополнительно содержит беспроводную передачу скважинных данных из беспроводного вывода устья скважины в шлюз данных сети Ethernet.
15. Способ по п.13, отличающийся тем, что дополнительно содержит беспроводную передачу скважинных данных из беспроводного вывода устья скважины в шлюз данных GSM.
16. Способ по п.13, отличающийся тем, что содержит интегрирование, представляющее собой интегрирование источника питания в беспроводный вывод устья скважины, чтобы подавать питание в датчик контроля.
17. Способ по п.13, отличающийся тем, что размещение представляет собой размещение датчика контроля снаружи трубы, используемой для перемещения флюидов вдоль ствола скважины.
18. Способ по п.13, отличающийся тем, что размещение представляет собой размещение датчика вне корпуса, чтобы следить за параметрами геологической формации.
19. Система скважинного наблюдения, содержащаяэлектрический вывод устья скважины, содержащий систему телеметрического сбора данных от скважинных датчиков, систему скважинного датчика команд и систему беспроводной передачи скважинных данных во внешнюю систему данных.
20. Система по п.19, отличающаяся тем, что электрический вывод устья скважины установлен в устье скважины.
21. Способ, содержащийнаблюдение за скважинными параметрами с помощью датчика, расположенного в стволе скважины;передачу данных из датчика в электрический вывод устья скважины, расположенный в устье скважины;обработку данных; ииспользование электрического вывода устья скважины для беспроводной передачи обработанных данных в шлюз данных на поверхности.
22. Способ по п.21, отличающийся тем, что наблюдение представляет собой наблюдение за температурой в скважине.
23. Способ по п.21, отличающийся тем, что дополнительно содержит помещение по меньшей мере одного аккумулятора или солнечной панели в качестве источника питания в электрический вывод устья скважины, чтобы подавать питание в датчик.
24. Способ по п.21, отличающийся тем, что дополнительно содержит помещение ЗУ данных и скважинного датчика команд в электрический вывод устья скважины.
 
                         
                            


