Система, способ и считываемый компьютером носитель для вычисления расходов скважин, создаваемых электропогружными насосами
Иллюстрации
Показать всеГруппа изобретений относится к мониторингу показателей скважин с забойным и устьевым оборудованием. Более конкретно, настоящие изобретения раскрывают систему и способ по определению и вычислению расходов в скважинах, которые создают электропогружные насосы. Обеспечивается повышение эффективности мониторинга. Сущность: способ определения расхода через электропогружной насос содержит этапы, на которых: подводят электроэнергию к электропогружному насосу с наземного распределительного устройства; принимают с помощью процессора давление на приеме с первого манометра внизу по стволу скважины относительно электропогружного насоса и давление на выходе со второго манометра; принимают с помощью процессора напряжение и ток; принимают с помощью процессора по меньшей мере одно статическое значение; вычисляют с помощью процессора расход через электропогружной насос, в соответствии с чем: вычисляют отношение коэффициента полезного действия к расходу, вводя принимаемые напряжения и токи в уравнение равновесия мощностей; получают безразмерный расход, вводя вычисляемое отношение коэффициента полезного действия к расходу в статические данные; вычисляют расход на основании безразмерного расхода; и образуют диаграмму вычисляемых расходов. 3 н. и 17 з.п. ф-лы, 8 ил.
Реферат
ПЕРЕКРЕСТНАЯ ССЫЛКА НА РОДСТВЕННЫЕ ЗАЯВКИ
Эта заявка связана с предварительной заявкой №61/253662 на патент США, поданной 21 октября 2009 года, и предварительной заявкой №61/373129 на патент США, поданной 12 августа 2010 года, по датам подачи которых испрашивается приоритет этой заявки и которые включены в эту заявку путем ссылки.
ОБЛАСТЬ ТЕХНИКИ
Раскрытие относится к мониторингу показателей скважин с забойным и устьевым оборудованием. Более конкретно, настоящее раскрытие относится к системам и способам для определения и вычисления расходов в скважинах, которые создаются электропогружными насосами.
УРОВЕНЬ ТЕХНИКИ
В нефтяной промышленности скважины часто снабжают постоянными измерительными приборами. В настоящее время для получения сниженных производственных расходов и повышенного коэффициента извлечения в скважинах также используют системы диспетчерского контроля и сбора данных. Например, более 11000 электропогружных насосов (ЭПН) от Schlumberger были снабжены измерительными приборами в течение последних шести лет, и можно было осуществлять дистанционный мониторинг свыше 1000 скважин с использованием системы диспетчерского контроля и сбора данных. Несмотря на размещение большого количества приборов и надежность связи начало измерения расходов в реальном времени обычно откладывали, и они остались ручными и эпизодическими по природе. В большинстве случаев скважины испытывают раз в месяц, при этом результаты измерений расходов вводят вручную в базы данных о динамике добычи.
В наиболее распространенном способе измерений расходов используют испытательный сепаратор, который представляет собой резервуар, в который направляют добычу для измерения расхода нефти, воды и газа из скважины. Испытания обычно выполняют на месячной основе, но во многих случаях частота испытаний даже еще меньше по материально-техническим соображениям. Один недостаток использования современных испытательных сепараторов заключается в том, что многие скважины эксплуатируют при расходах ниже порога, необходимого для получения приемлемой точности. Кроме того, способы измерения расходов с использованием испытательных сепараторов не обеспечивают периодичности испытаний, повторяемости или разрешения, необходимых для образования точной диаграммы расходов в динамике во времени.
Предшествующие попытки мониторинга расходов скважин в скважинах с электропогружными насосами при использовании данных скважинных измерительных приборов делались с использованием перепада давления на насосе и напора на выходе насоса в зависимости от кривой расхода. Для этого способа, достоверного при многих применениях, требуется средство NODAL™ анализа (можно получить от Schlumberger) для вычисления средней удельной плотности проходящего через насос флюида для преобразования измеряемого перепада давления в дифференциальный напор. Поэтому способ является достоверным только в случае установившихся условий, что является обязательным требованием для анализа NODAL™. Кроме того, этот способ трудно применять при высоком содержании газовой фракции (ГФ), поскольку она может вызывать перемежающийся поток нефти и газа, и это означает, что скважина больше не будет находиться в установившемся состоянии.
КРАТКОЕ РАСКРЫТИЕ
В этой заявке раскрыт способ определения расходов для скважины, снабженной электропогружным насосом (ЭПН). Электрическая энергия подводится к электропогружному насосу и регулируется наземным распределительным устройством. Процессор принимает давления на приеме и выходе с одного или двух манометров, установленных в скважине. Процессор принимает напряжение и ток. Процессор также принимает по меньшей мере одно статическое значение. Процессор вычисляет отношение коэффициента полезного действия (КПД) к расходу при вводе принимаемых напряжения и тока в уравнение равновесия мощностей. Процессор получает безразмерный расход при вводе вычисляемого отношения КПД к расходу в статические данные. Процессор вычисляет расход на основании безразмерного расхода. Процессор образует диаграмму вычисляемых расходов.
Осуществление системы для мониторинга расхода жидкости в скважине включает в себя электропогружной насос (ЭПН), расположенный в оборудовании для заканчивания скважины. Наземное распределительное устройство электрически соединено с электропогружным насосом, и наземное распределительное устройство предоставляет электроэнергию для приведения в действие электропогружного насоса. Манометр на стороне приема соединен с электропогружным насосом и измеряет давление на приеме электропогружного насоса. Манометр на стороне выхода соединен с электропогружным насосом и измеряет давление на выходе электропогружного насоса. Вольтметр соединен с наземным распределительным устройством и измеряет напряжение, подаваемое на электропогружной насос. Амперметр соединен с наземным распределительным устройством и измеряет ток, потребляемый (или отбираемый) электродвигателем электропогружного насоса. Наземное распределительное устройство регулирует подачу энергии с известной и/или измеряемой частотой. Процессор выполняет считываемую компьютером программу, сохраняемую на считываемом компьютером носителе, которая при выполнении побуждает процессор выполнять задание. Процессор принимает измеряемое давление на приеме, давление на выходе, напряжение, ток и частоту. Процессор вычисляет расход через электропогружной насос при вводе принимаемых значений в уравнение равновесия мощностей, основанное на электропогружном насосе.
Считываемый компьютером носитель, раскрытый в этой заявке, побуждает процессор периодически принимать напряжение, ток, частоту, давление на приеме и давление на выходе. Процессор вычисляет отношение КПД к расходу при вводе принимаемых напряжения, тока, частоты, давления на приеме и давления на выходе в обезразмеренное уравнение равновесия мощностей. Процессор получает безразмерный расход путем связывания отношения КПД к расходу с принимаемой характеристикой насоса. Процессор вычисляет расход на основании безразмерного расхода. Процессор образует диаграмму вычисляемых расходов.
КРАТКОЕ ОПИСАНИЕ ЧЕРТЕЖЕЙ
На чертежах:
фиг. 1 - вид оборудования для заканчивания скважины, снабженного электропогружным насосом;
фиг. 2 - блок-схема последовательности действий, иллюстрирующая способ получения расходов для скважины, снабженной электропогружным насосом;
фиг. 3 - график, иллюстрирующий пример отношения коэффициента полезного действия насоса к расходу в зависимости от расхода, в одномерной форме для конкретного насоса;
фиг. 4 - пример графика вычисленных расходов;
фиг. 5 - пример графика, иллюстрирующего моделирование давления в коллекторе на основании вычисленного расхода, который дает представление о ходе переходного процесса;
фиг. 6 - график, иллюстрирующий примеры измеренных давления и расхода и вычисленного расхода;
фиг. 7 - пример графика, иллюстрирующего измеренные и вычисленные расходы при наличии мгновенной пульсации, вызванной высоким содержанием свободного газа в насосе; и
фиг. 8 - график, иллюстрирующий примеры коэффициента мощности, КПД, частоты вращения и кривых токовых характеристик для электродвигателя с переменной частотой вращения.
ПОДРОБНОЕ РАСКРЫТИЕ
Нижеследующее описание касается ряда осуществлений и предназначено для обеспечения понимания осуществлений. Описание никоим образом не предназначено для ограничения объема любых настоящих или последующих родственных притязаний.
Используемые в этой заявке термины «выше» и «ниже», «верх» и «низ», «верхний» и «нижний», «вверх» и «вниз» и другие подобные термины, указывающие на относительные положения над или под данной точкой или элементом, используются в этом описании для более ясного изложения осуществлений. Однако в случае применения к оборудованию и способам, предназначенным для использования в скважинах, которые являются искривленными или горизонтальными, сообразно обстоятельствам такие термины могут обозначать «слева направо», «справа налево» или положение по диагонали.
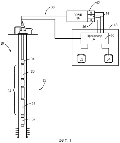
На фиг. 1 изображен один пример оборудования 10 для заканчивания скважины внутри ствола 12 скважины. Оборудование 10 для заканчивания скважины включает в себя электропогружной насос (ЭПН) 24. Имеется много примеров возможных архитектур заканчивания скважины, которые включают в себя различные другие скважинные инструменты, такие как пакеры, байпасная труба, капсула электропогружного насоса, которыми представлено небольшое количество таких инструментов. Раскрываемые в настоящее время системы и способы не зависят от архитектуры заканчивания скважины, используемой в конкретном применении, кроме как от использования электропогружного насоса. Хотя в этой заявке раскрытие системы и способа сосредоточено на нефтегазоносных скважинах, понятно, что осуществления можно использовать для жидкости любого вида, выкачиваемой электропогружным насосом. Не создающие ограничения примеры включают в себя: углеводороды из нефтяной скважины, воду из водяной скважины, воду из геотермальной скважины, воду из газовой скважины или углеводороды из отстойника. В случае нефтяной скважины электропогружной насос 24 может быть размещен в оборудовании 10 для заканчивания скважины для повышения добычи углеводородов.
Электропогружной насос 24 включает в себя электродвигатель 26 и насос 30. Электродвигатель 26 приводит в действие насос 30 для повышения добычи углеводородов на поверхности. Кроме того, электропогружной насос 24 включает в себя манометр 32 на стороне приема, который может быть неотъемлемой частью электропогружного насоса 24 или может быть отдельным прибором. Манометр 32 на стороне приема может быть частью блока многочисленных датчиков, который включает в себя некоторое количество датчиков, известных специалисту в данной области техники. Манометр 32 на стороне приема измеряет давление выше по потоку относительно электропогружного насоса 24. Кроме того, электропогружной насос 24 включает в себя манометр 34 на стороне выхода, который может быть неотъемлемой частью электропогружного насоса 24 или может быть отдельным прибором. Манометр 34 на стороне выхода измеряет давление ниже по потоку относительно электропогружного насоса 24. Хотя в этом описании представлены манометры, которые являются постоянными компонентами колонны труб с электропогружным насосом, должно быть понятно, что в других осуществлениях можно использовать манометр с памятью. В случае манометра с памятью манометр устанавливают временно в оборудование для заканчивания, а измеряемое манометром давление записывается на считываемый компьютером носитель, который находится внутри манометра или на поверхности. Через некоторый промежуток времени, например месяц, манометр с памятью извлекают из скважины и измеренные данные о давлении загружают в компьютерную систему для обработки. В некоторых осуществлениях датчики температуры (не показанные) включены в электропогружной насос 24 или являются частью блока многочисленных датчиков. Датчики температуры измеряют температуру углеводородов на стороне приема электропогружного насоса и также измеряют температуру электродвигателя 26.
Электродвигатель 26 электропогружного насоса 24 получает электрическую энергию с распределительного устройства 36, обычно расположенного на поверхности, вне оборудования для заканчивания скважины. Распределительное устройство 36 регулирует подачу электроэнергии к электродвигателю 26, которая поступает с генератора или из инженерной сети (не показанной), что должно быть понятно специалисту в данной области техники. В показанном осуществлении распределительное устройство представляет собой устройство 36 управления частотой вращения (УУЧВ); однако не предполагается ограничения относительно возможностей использования распределительного устройства в вариантах осуществлений. Электрическая энергия подводится с устройства 36 управления частотой вращения к электропогружному насосу 24 по электрическому проводу 38. Устройство 36 управления частотой вращения подключено к некоторому количеству датчиков или содержит их для мониторинга состояния устройства 36 управления частотой вращения. В одном осуществлении устройство 36 управления частотой вращения включает в себя вольтметр 42, амперметр 44 и датчик 46 частоты. Все эти три прибора измеряют рабочие характеристики устройства 36 управления частотой вращения, а именно напряжение (Н), ток (Т) и частоту (Ч), соответственно. Этими датчиками может осуществляться мониторинг рабочих характеристик устройства 36 управления частотой вращения при любом из ряда доступных периодов обновления данных. Понятно, что в качестве варианта устройство 36 управления частотой вращения может не иметь вольтметра, амперметра и датчика частоты. В этом случае необходимы отдельные наземные датчики 42, 44 и 46. В дальнейшем осуществлении одно или несколько значений напряжения и частоты подводятся к устройству 36 управления частотой вращения техническим специалистом в качестве рабочих входных данных. В таком случае устройство управления частотой вращения работает, снабжая электрической энергией с этими характеристиками.
Контролируемые рабочие данные передаются с устройства 36 управления частотой вращения к интегральной наземной панели 48 для дальнейшей обработки. Интегральная наземная панель 48 также соединена по линии связи с манометром 32 на стороне приема и с манометром 34 на стороне выхода. Интегральная наземная панель принимает контролируемое давление на приеме с манометра 32 на стороне приема и давление на выходе с манометра 34 на стороне выхода. Хотя в некоторых осуществлениях интегральная наземная панель 48 может принимать пять аналоговых сигналов (давление на приеме, давление на выходе, напряжение, ток и частоту) в реальном времени или почти в реальном времени, в вариантах осуществлений процессор может принимать аналоговые данные с манометров с памятью, которые включают в себя буферную или другую временную задержку. Можно применять оба способа, и они не предполагаются ограничивающими объем этого раскрытия. Кроме того, период обновления данных можно изменять в широких пределах с интервалами от секунд до месяцев. В одном осуществлении измеряемое значение принимается интегральной наземной панелью 48 каждый день, час или минуту; однако эти периоды обновления являются только примерными и не предполагаются ограничивающими объем этого раскрытия.
Интегральная наземная панель 48 включает в себя процессор 50, который соединен со считываемым компьютером носителем 52, который программируется считываемой компьютером программой, которая при выполнении ее процессором 50 побуждает процессор 50 выполнять функции, раскрытые более подробно в этой заявке. Интегральная наземная панель 48 также содержит считываемый компьютером носитель, который работает как база 54 данных. Данные, принимаемые и вычисляемые процессором 50, сохраняются процессором 50 в базе 54 данных.
Интегральная наземная панель 48 передает зарегистрированные и обработанные данные на одно или несколько удаленных мест. Передача зарегистрированных и обработанных данных может выполняться с использованием платформ проводной или беспроводной связи, таких как локальная интрасеть, радиочастотная передача, спутниковая передача. Однако в некоторых ситуациях данные не передаются и пользователь загружает данные вручную из запоминающего устройства интегральной наземной панели в портативное устройство хранения данных для ввода в процессор. Кроме того, в других ситуациях процессор может быть расположен на буровой площадке. Передача данных является только примерной и не предполагается ограничивающей объем этого раскрытия.
Специалисту в данной области техники должно быть понятно, что компонентам связи и обработки этой системы можно придавать разнообразные конфигурации в рамках объема настоящего раскрытия. В одной такой конфигурации процессор 50 не встроен в интегральную наземную панель 48, а вместо этого находится в локальной информационной проводной или беспроводной связи с ней. В таком осуществлении процессор 50 может быть портативным компьютером (не показанным), используемым оператором скважины, который устанавливает информационную связь с интегральной наземной панелью 48. Портативный компьютер может включать в себя считываемые компьютером носители 52 и 54. В варианте конфигурации интегральная наземная панель 48 передает измеряемые значения на удаленный компьютер или сервер по проводной, беспроводной или спутниковой информационной линии связи. Таким образом, процессор 50 и считываемые компьютером носители 52 и 54 расположены на расстоянии от интегральной наземной панели 48. В каждом из этих осуществлений интегральная наземная панель 48 выполняет такую же функцию, как маршрутизатор данных, который принимает периодически измеряемые значения и обрабатывает их до степени, необходимой для передачи на процессор 50.
На фиг. 2 представлена блок-схема последовательности действий, иллюстрирующая осуществление способа 100 определения расходов оборудования для заканчивания скважины с электропогружным насосом. Способ 100 может быть изложен в виде считываемой компьютером программы на считываемом компьютером носителе 52, так что когда процессор 50 выполняет считываемую компьютером программу, процессор 50 выполняет способ 100.
В способе 100 принимают данные двух видов: динамические данные, которые представляют собой измеряемые значения, которые изменяются с течением времени, и статические данные, которые представляют собой не зависящие от времени порции информации. На этапе 101 принимают динамические данные. Эти динамические данные включают в себя давление на приеме с манометра 32 на стороне приема и давление на выходе с манометра 34 на стороне выхода. Динамические данные также включают в себя напряжение, ток и частоту, контролируемые соответствующими датчиками наземного распределительного устройства 36. В некоторых случаях они также могут включать в себя коэффициент мощности, если такой датчик установлен на распределительном устройстве. Из динамических данных периодически берут выборки, но частота выборок из разных значений может быть различной.
На этапе 102 принимают статические данные. Статические данные включают в себя отличительные признаки или физические характеристики компонентов скважины. Статические данные включают в себя информацию относительно длины и типа электрического кабеля, используемого в скважине, коэффициента трансформации и типа насоса. Такие данные, как коэффициент трансформации, можно использовать непосредственно при вычислениях. Такие данные, как длина и тип электрического кабеля, можно использовать для получения значения, которое используют при вычислениях. Однако статические данные других видов, такие как тип насоса, обеспечивают возможность выбора некоторого количества значений, представляющих характеристики идентифицируемого компонента. Поэтому на основании блока статических данных, таких как тип насоса, можно получать такие значения, как «расход (QBEP) в точке наивысшего коэффициента полезного действия (КПД)» и «первоначальный КПД (ηp) насоса». Эти значения характеристик сохраняют в просмотровой таблице, поэтому они являются легкодоступными для процессора после идентификации типа насоса.
Затем, как будет подробно раскрыто в этой заявке в дальнейшем, на этапе 103 вычисляют отношение КПД к расходу, используя уравнение (6), и динамические данные, и статические данные.
Получение уравнения (6), которое, как указано выше, используют для вычисления отношения КПД насоса к расходу, будет подробно пояснено в этой заявке в дальнейшем. Этот алгоритм начинается с проектирования самого электропогружного насоса таким образом, чтобы мощность, получаемая насосом 30, была равна мощности, потребляемой электродвигателем 26. Это соотношение может быть выражено в виде равновесия мощностей на валу между насосом и электродвигателем в уравнении (1). Оно основано на принципе, заключающемся в том, что в электропогружном насосе крутящий момент и частота вращения насоса и электродвигателя равны во все моменты времени:
Δ P × Q p 58847 × η p = V m × I × P F × η m × 3 746 . (1)
В приведенном выше уравнении использованы следующие переменные:
ΔР - перепад (P d-P i) давления на электропогружном насосе, в фунтах на квадратный дюйм;
ηp - КПД насоса. При первоначальных вычислениях можно предполагать, что насос является новым и КПД насоса определяют на основании типа насоса. Позднее, по мере износа насоса получение КПД насоса может стать частью калибровки расхода;
I - ток электродвигателя в амперах по амперметру наземного распределительного устройства. Ток следует корректировать коэффициентом трансформации для получения требуемого тока в забое скважины, когда трансформатор расположен между электродвигателем и амперметром;
Vm - напряжение на электродвигателе в вольтах, измеряемое вольтметром наземного распределительного устройства. Напряжение также следует корректировать для учета потери энергии на протяжении силового кабеля от поверхности до электродвигателя. Возможно, что в перспективе будут разработаны измерительные приборы, которые будут непосредственно измерять напряжение на забойном электродвигателе и осуществлять непосредственную корректировку относительно измеряемого без необходимости выполнения корректировки для учета потерь в кабеле;
ηm - как показано на фиг. 8, для большей части современных электродвигателей КПД можно считать постоянным в широком диапазоне коэффициентов нагрузки. Приводимые ниже уравнения основаны на этом предположении; однако при использовании электродвигателей предыдущего поколения можно составлять дополнительный алгоритм для вычисления КПД электродвигателя в зависимости от нагрузки электродвигателя, например тока, частоты и напряжения. Кроме того, если коэффициент нагрузки ниже 50%, можно добавлять алгоритм для вычисления КПД в зависимости от измеряемых напряжения, тока и частоты;
PF - коэффициент мощности электродвигателя. В современных электродвигателях коэффициент мощности является постоянным в широком диапазоне коэффициентов нагрузки; однако по мере износа электродвигателя коэффициент мощности может изменяться и поэтому должен калиброваться с течением времени. Имеются системы, которые позволяют осуществлять точное непосредственное измерение реального значения PF, и в этом случае их следует использовать в противоположность предположению о постоянном PF. Оба способа являются состоятельными и не предполагаются ограничивающими объем этого раскрытия. Кроме того, если коэффициент нагрузки ниже 50%, можно добавлять алгоритм для вычисления КПД в зависимости от измеряемых напряжения, тока и частоты.
Для упрощения уравнений в некоторых осуществлениях предполагается, что КПД электродвигателя и коэффициент мощности являются постоянными значениями, однако раскрытие не должно ограничиваться этим.
На фиг. 8 представлен график, на котором показаны примерные кривые коэффициента мощности, КПД, частоты вращения и амперной нагрузки для электродвигателя с переменной частотой вращения, при этом отображены постоянные значения КПД и коэффициента мощности для коэффициентов нагрузки между 50% и 100%. Более традиционные электродвигатели не имеют постоянных коэффициента мощности и КПД в таком широком диапазоне коэффициентов нагрузки.
Следует осознавать, что хотя постоянные в уравнении (1) определены с использованием неметрических единиц, то же самое уравнение будет работать в случае стандартных или любых других единиц, при условии применения надлежащих преобразований.
При использовании указанных выше измерений и предположений для уравнения (1) можно вычислять расход через насос в скважинных условиях давления. Вычисляемый расход фактически является средним расходом через электропогружной насос. В действительности расход на входе насоса значительно отличается от расхода на выходе вследствие разной сжимаемости газа и нефти. Для получения приведенного к поверхности расхода необходимо использовать данные соотношения давление-объем-температура для флюида, чтобы осуществлять коррекцию за влияние объемных коэффициентов нефти и газа в пласте. Как вариант можно просто выполнять калибровку по известным результатам наземных испытаний скважины и затем использовать уравнение (1) для представления в количественной форме относительных изменений.
Вычисление расхода с использованием только уравнения (1) имеет преимущества и недостатки. Преимущества, вытекающие из вычисления расхода с использованием уравнения (1), заключаются в том, что расход из забойного коллектора в баррелях за день можно вычислять без всякого знания соотношения давление-объем-температура, и при этом обеспечивается идентификация изменений расхода, а также время стабилизации для скважины. Кроме того, когда электропогружной насос имеет небольшую инерцию, расход, вычисляемый таким образом, обеспечивает представление флуктуаций расхода или того, что известно как пульсации или переходные процессы. Они обычно вызываются прокачкой флюидов с высокой газовой фракцией (ГФ) и/или при пуске и остановке скважины. Высокая частота выборок данных манометра требуется для захвата этих переходных процессов. Примерная высокая частота выборок соответствует выполнению одного измерения каждую минуту. Расход, вычисляемый на основании уравнения (1), позволяет получать кривую расхода в зависимости от времени. Примеры применений будут описаны в этой заявке более подробно применительно к различным осуществлениям, включая диагностику электропогружного насоса (фиг. 4), построение имитационной модели коллектора на основании теории суперпозиции (фиг. 5) и диагностику коллектора (фиг. 6), однако они не предполагаются ограничивающими объем применений для осуществлений систем и способов, раскрытых в этой заявке.
Чтобы получать расход в стандартных условиях, необходимо выполнять коррекцию на основании известных значений в соотношении давление-объем-температура или калибровку относительно известного точного испытания скважины.
Кроме того, уравнение (1) не содержит в качестве переменной частоты, однако расход зависит от частоты. В случае применения электропогружного насоса на фиксированной частоте нет необходимости учитывать частоту вращения электродвигателя. Однако в установках, в которых используют устройство управления частотой вращения, необходимо принимать во внимание любое изменение частоты.
После приема динамических данных на этапе 101 статические данные принимают на этапе 102, при этом все значения для уравнения (1) становятся известными, за исключением расхода (Qp). Уравнение (1) можно преобразовать, чтобы получить уравнение (2):
Q p η p = V m × I × P F × η m × 3 746 × 1 Δ P × 58792 (2)
Уравнение (2) можно решать относительно известных значений, чтобы находить решение для среднего расхода через электропогружной насос. Поскольку КПД насоса является функцией расхода, то чтобы найти решение для расхода, отношение расхода к КПД вычисляют как функцию напряжения, тока, КПД электродвигателя, коэффициента мощности и перепада давления, заложенных в уравнение (2). Поскольку отношение расхода (Qp) к КПД (ηp) насоса является известной однозначной функцией для насоса каждого типа, следовательно, можно вычислить расход. Отметим, что для решения уравнения относительно расхода можно использовать отношение расхода к КПД или отношение КПД к расходу. Однако с математической точки зрения обычно более удобно использовать отношение КПД к расходу, которое является обратной величиной уравнения (2).
Однако уравнения (1) и (2) не содержат в качестве переменной частоты вращения электродвигателя. Как отмечалось выше, в случае применения электропогружного насоса на фиксированной частоте ее нет необходимости учитывать за исключением случая, когда имеются изменения частоты вращения, обусловленные процессом выработки электроэнергии. Однако в осуществлениях, в которых используется устройство управления частотой вращения, любые изменения частоты должны приниматься во внимание. Частотной составляющей можно оперировать вручную, задавая семейство кривых (по одной для каждой частоты) для функции Qp/ηp и ηp/Qp и затем выполняя численную интерполяцию для данной частоты.
Как вариант решение можно получать математически путем обезразмеривания отношения расхода к КПД при использовании значений, получаемых на основании принимаемых статических данных. Уравнение (3), приведенное ниже, является примером способа, использованного для обезразмеривания расхода, в котором используют расход (QBEP) в точке наивысшего КПД, который является значением, получаемым на основании типа насоса.
Q p = Q B E P 2 × ( Q n + 1 ) (3)
Следует отметить, что расход QBEP линейно пропорционален частоте, но является постоянным для данной геометрии насоса и частоты вращения насоса. Поэтому после точного определения типа насоса QBEP является известным значением. Другие способы обезразмеривания расхода, которыми вводится зависимость от частоты, также можно использовать, и предложенным способом согласно уравнению (3) объем этого раскрытия не ограничивается.
При подстановке уравнения (3) в уравнение (2) получается версия уравнения (1), которая является обезразмеренной относительно частоты устройства управления частотой вращения:
Q n + 1 η p = 2 × 58847 × 3 746 × P F × η m Δ P × Q B E P × I m × V m (4)
При внесении двух дополнительных поправок в уравнение (1) равновесия мощностей образуются алгоритмы, пригодные для практического использования в системах и способах, раскрытых в этой заявке. При первой модификации учитываются потери энергии в силовом кабеле и трансформаторе. В большей части применений невозможно измерять напряжение электродвигателя непосредственно на электродвигателе, и поэтому на поверхности напряжение (Vs) получают с наземного распределительного устройства или устройства управления частотой вращения. Уравнение (5) представляет собой алгоритм, который обеспечивает коррекцию этого. Уравнение (5) начинается с уравнения (4), приведенного выше, но напряжение (Vm) электродвигателя заменяется напряжением (Vs) на поверхности, а в уравнении осуществляется коррекция потерь напряжения, обусловленных электрическим проводом, протянутым вниз по оборудованию для заканчивания скважины между устройством управления частотой вращения и электродвигателем. Потери линейного напряжения вычитают из напряжения (Vs) на поверхности, при этом значение (а) представляет собой электрические потери в кабеле. Значение (а) вычисляют на основании длины электрического провода и типа провода, которые могут быть принимаемыми статическими данными.
Q n + 1 η p = 2 × 58847 × 3 746 × P F × η m Δ P × Q B E P × I m × ( V s − a × I m ) (5)
Использование уравнения (5) позволяет вычислять расход электропогружного насоса при измерениях напряжения и тока на поверхности, а не на электродвигателе электропогружного насоса.
Наконец, что касается частотной коррекции в уравнении (4), то когда электропогружной насос получает электрическую энергию с устройства управления частотой вращения, между устройством управления частотой вращения и электропогружным насосом может быть расположен повышающий трансформатор. Часто к доступным данным, касающимся повышающего трансформатора, относится только выходное напряжение устройства управления частотой вращения, и в этом случае необходим коэффициент трансформации для учета его в используемом алгоритме. Уравнением (6) вводится поправка в уравнение (5) для учета коэффициента (R) трансформации, и поэтому оно пригодно для вычисления расхода электропогружного насоса при использовании измерений напряжения и тока (Id, Vd) с устройства управления частотой вращения.
η p Q n + 1 = 746 2 × 58847 × 3 × Δ P × Q B E P P F × η m × 1 I d × ( V d − a × R 2 × I d ) (6)
Таким образом, алгоритм, представленный в уравнении (6), является модификацией уравнения (1) равновесия
 
                         
                            


