Электромагнитный узел электромагнитного клапана

Иллюстрации

Показать все

Изобретение относится к электротехнике, к электромагнитным узлам, преимущественно для электромагнитного привода топливной форсунки. Электромагнитный узел (2) имеет корпусную деталь (20) со вставленной в него катушкой (30). На первой стороне (31) катушки (30) расположен якорь (36). С обращенной от первой стороны (31) катушки (30) второй ее стороны (34) расположена крышка (21), закрывающая корпусную деталь (20) и соединенная с ней сварным швом (22). Технический результат состоит в обеспечении возможности согласования разъема (28) на соединенном с корпусной деталью (20) или выполненном с ней за одно целое патрубке (24) с конкретными требованиями. 14 з.п. ф-лы, 3 ил.

Реферат

Уровень техники

Настоящее изобретение относится к электромагнитному узлу электромагнитного клапана, прежде всего для электромагнитного привода топливной форсунки. Изобретение относится прежде всего к топливным форсункам для топливных систем дизельных двигателей.

Из ЕР 1612400 А1 известна топливная форсунка для двигателя внутреннего сгорания (ДВС). Такая известная топливная форсунка имеет электромагнитный привод, который управляет перетеканием топлива через сливной дроссель. Таким путем может осуществляться опосредованное управление срабатыванием топливной форсунки для впрыскивания топлива. Электромагнитный узел электромагнитного привода расположен в привинченных друг к другу корпусных деталях. При этом наиболее важные элементы электромагнитного узла заключены в пластмассу, соответственно пластмассовую оболочку. Пластмасса электрически изолирует элементы электромагнитного узла относительно металлического корпуса топливной форсунки. Помимо этого в различных местах пластмассовой оболочки расположены уплотнительные кольца.

Недостаток известной из EP 1612400 A1 топливной форсунки состоит в относительно высокой сложности и стоимости ее изготовления. Еще один недостаток подобной известной топливной форсунки состоит в том, что место присоединения сливного топливопровода имеет сложное конструктивное исполнение и что его невозможно либо возможно лишь при условии высоких затрат согласовывать с конструктивными особенностями различных систем.

Краткое изложение сущности изобретения

Преимущество предлагаемого в изобретении электромагнитного узла, заявленного в п.1 формулы изобретения, и предлагаемой в изобретении топливной форсунки, заявленной в п.16 формулы изобретения, состоит в упрощении их изготовления и прежде всего в возможности сравнительно простого их согласования с конструктивными особенностями различных систем. При этом прежде всего возможно сравнительно простое согласование разъема (его размеров и/или формы) для присоединения сливного топливопровода.

Различные предпочтительные варианты выполнения заявленного в п.1 формулы изобретения электромагнитного узла и заявленной в п.16 формулы изобретения топливной форсунки представлены в соответствующих зависимых пунктах формулы изобретения.

В одном из таких предпочтительных вариантов крышка соединена с корпусной деталью сварным соединением. Для этого предпочтительно использовать метод лазерной сварки. Предпочтительно далее, чтобы сварное соединение образовывало сварное соединение плотным швом между крышкой и корпусной деталью. Таким путем удается получить не только долговечный благодаря способности выдерживать рабочие нагрузки, но и герметично отделяющий внутреннее пространство корпусной детали от наружного пространства сварной шов. Сварной шов можно располагать либо в радиальном, либо в осевом направлении.

Согласно изобретению между второй стороной катушки и внутренней стороной крышки расположен предварительно сжатый упругий элемент, который усилием своего предварительного сжатия нагружает или поджимает катушку, которая при этом своей первой стороной опирается на уступ корпусной детали. Таким путем обеспечивается неподвижная фиксация катушки в корпусной детали. В этом отношении предпочтителен далее вариант, в котором с якорем соединен якорный стержень, который по меньшей мере частично проходит через центральное отверстие катушки, а на упругом элементе предусмотрен упор для якорного стержня, ограничивающий его ход при перемещении якоря к первой стороне катушки. Подобный вариант предоставляет широкие возможности по конструктивному исполнению крышки. При этом прежде всего возможно также соединение патрубка с крышкой путем сплавления.

При этом предпочтительно далее выполнять упругий элемент с центральной выпуклостью, обращенной к центральному отверстию катушки и образующей упор для якорного стержня. Этот вариант обеспечивает возможность простой регулировки положения упора, ограничивающего ход якорного стержня. Помимо этого для возможности отвода топлива или для выполнения иной аналогичной функции в крышке можно выполнить ориентированное (примерно) в осевом направлении сливное отверстие, благодаря которому якорный стержень или упругий элемент не препятствует сливу или отводу топлива из внутреннего пространства корпусной детали.

В еще одном предпочтительном варианте соединенный с якорем якорный стержень проходит через центральное отверстие катушки, обращенная ко второй стороне которой внутренняя сторона крышки ограничивает при этом ход якорного стержня при перемещении якоря к первой стороне катушки. В этом случае упор для якорного стержня образует внутренняя сторона крышки. При этом регулированием положения крышки в корпусной детали при сборке прежде всего возможно точное задание положения упора, ограничивающего ход якорного стержня, а тем самым и якоря.

В этом отношении предпочтительно выполнять упругий элемент в виде тарельчатого упругого элемента, который имеет центральное отверстие, через которое можно пропустить якорный стержень. Благодаря этому обеспечивается возможность простого конструктивного исполнения упругого элемента, поджимающего катушку усилием своего предварительного сжатия.

В следующем предпочтительном варианте крышка имеет по меньшей мере одно отверстие, через которое проходит электрическая контакт-деталь к катушке и которое уплотнено расположенным в нем уплотнительным кольцом. При этом в отверстии можно, кроме того, предусмотреть опорное кольцо, которое предпочтительно располагать ближе к внутренней стороне крышки заподлицо с этой ее стороной с целью обеспечить, например, наличие опоры для упругого элемента в зоне отверстия в крышке и определенную защиту вставленного в него уплотнительного кольца.

В следующем предпочтительном варианте для возможности отвода топлива из внутреннего пространства корпусной детали в топливный бак или аналогичную емкость предусмотрен патрубок, расположенный на наружной стороне крышки, которая имеет по меньшей мере одно сливное отверстие, соединяющее закрытое крышкой внутреннее пространство корпусной детали, в которой расположена катушка, со сливным каналом в патрубке. При этом предпочтительно далее выполнять сливное отверстие в крышке с раззенкованным углублением, через которое сливное отверстие входит во внутреннее пространство корпусной детали. Благодаря наличию такого раззенкованного углубления обеспечивается надежный слив топлива через сливное отверстие и упрощается изготовление крышки.

Патрубок предпочтительно соединять с крышкой сварным соединением. При этом сварной шов, который предпочтительно выполнять методом лазерной сварки, обладает долговечностью благодаря способности выдерживать рабочие нагрузки и герметично отделяет сливной канал в патрубке от наружного пространства.

В другом варианте патрубок можно также выполнять за одно целое с крышкой.

На патрубке предпочтительно далее предусматривать по меньшей мере одну радиально наружную кольцевую канавку. Такая кольцевая канавка в сочетании с наложенной экструзией пластмассовой облицовкой препятствует проникновению воды, влаги или иных жидкостей к сварному шву. Кольцевую канавку прежде всего можно выполнять в виде своего рода водозаграждающей канавки. Таким путем удается защитить один или несколько сварных швов, прежде всего соединяющий патрубок с крышкой сварной шов, от коррозии.

В еще одном предпочтительном варианте крышка выполнена дисковидной. Подобное выполнение крышки облегчает ее прецизионный монтаж на корпусной детали. Помимо этого обеспечивается определенное прилегание упругого элемента ко внутренней стороне крышки. Кроме того, удешевляется изготовление электромагнитного узла, при этом возможно его согласование с различными требованиями. Так, например, форму и/или размеры патрубка можно практически произвольно варьировать для его согласования с различными разъемами для подсоединения сливного топливопровода, ведущего в топливный бак. При этом не требуется никакого иного согласования или по меньшей мере никакого согласования корпусной детали, благодаря чему электромагнитный узел остается практически неизменным, прежде всего касательно его встроенных деталей, таких, например, как якорь и катушка.

Краткое описание чертежей

Ниже изобретение более подробно рассмотрено на примере некоторых предпочтительных вариантов его осуществления со ссылкой на прилагаемые к описанию чертежи, на которых одинаковые элементы обозначены одними и теми же позициями и на которых, в частности, показано:

на фиг.1 - схематичный фрагментарный вид в разрезе топливной форсунки с электромагнитным узлом в соответствии с первым вариантом осуществления изобретения,

на фиг.2 - вид изображенного на фиг.1 электромагнитного узла в разрезе плоскостью II-II в соответствии со вторым вариантом осуществления изобретения,

на фиг.3 - аналогичный приведенному на фиг.2 вид электромагнитного узла в соответствии с третьим вариантом осуществления изобретения,

на фиг.4 - изображенная на фиг.1 крышка с упругим элементом электромагнитного узла в соответствии с четвертым вариантом осуществления изобретения и

на фиг.5 - увеличенный вид обозначенного на фиг.3 фрагмента V электромагнитного узла в соответствии с пятым вариантом осуществления изобретения.

Описание вариантов осуществления изобретения

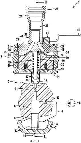
На фиг.1 схематично и фрагментарно в разрезе показана топливная форсунка 1 с электромагнитным узлом 2 в соответствии с первым вариантом осуществления изобретения. Такая топливная форсунка 1 может использоваться прежде всего в качестве топливной форсунки или топливного инжектора в топливных системах дизельных двигателей. Особенно предпочтительно использовать подобную топливную форсунку 1 в топливных системах с общей топливной магистралью высокого давления (называемой также топливным аккумулятором высокого давления или "common rail"), от которой дизельное топливо подводится под высоким давлением к нескольким топливным форсункам 1. Предлагаемый в изобретении электромагнитный узел 2 наиболее пригоден для применения в подобной топливной форсунке 1. При этом электромагнитный узел 2 может служить частью электромагнитного клапана 3, который выполняет функцию электромагнитного привода топливной форсунки 1 для управления ею. Вместе с тем предлагаемая в изобретении топливная форсунка 1 и предлагаемый в изобретении электромагнитный узел 2 пригодны и для применения в иных системах.

Топливная форсунка 1 имеет распылитель 4 с расположенной в нем иглой 5. На иглу 5 при этом действует давление топлива в управляющей полости 6. Помимо этого на иглу 5 действует также давление топлива в топливной полости 7. В топливную полость 7 находящееся под высоким давлением топливо подается по топливному каналу 9 насосом высокого давления, прежде всего из общей топливной магистрали высокого давления. При этом от топливного канала 9 ответвляется входной дроссель 10, ведущий в управляющую полость 6. Из управляющей полости 6 ведет сливной дроссель 11, перетеканием топлива через который из управляющей полости 6 управляет при этом электромагнитный клапан 3. Электромагнитный клапан 3 выполнен при этом в виде конического клапана (клапана с коническим затвором). При срабатывании электромагнитного клапана 3 освобождается управляющее седло 12 для открытия сливного дросселя 11, вследствие чего давление в управляющей полости 6 падает. В результате на иглу 5 начинает действовать стремящееся открыть ее гидравлическое усилие. Под действием такого усилия игла 5 приподнимается от контактной поверхности 13 своего седла, в результате чего образованное между иглой 5 и контактной поверхностью 13 герметичное седло открывается, и топливо, проходя через открытое герметичное седло из топливной камеры 7, распыляется через распылительное отверстие 14.

Электромагнитный узел 2 имеет корпусную деталь 20. В эту корпусную деталь 20 вставлена крышка 21. Крышка 21 соединена с корпусной деталью 20 круговым сварным швом. Такой сварной шов 22 выполнен при этом в виде осевого сварного шва. Сварной шов 22 обеспечивает герметичность внутреннего пространства 23 корпусной детали 20. Электромагнитный узел 2 имеет также патрубок 24. В рассматриваемом варианте патрубок 24 выполнен за одно целое с крышкой 21. Патрубок 24 образует сливной канал 25. Внутреннее пространство 23 корпусной детали сообщается со сливным каналом 25 в патрубке 24 через выполненные в крышке 21 сливные отверстия 26, 27. Тем самым топливо может отводиться из внутреннего пространства 23 корпусной детали через сливной канал 25 в патрубке 24 обратно в топливный бак или аналогичную емкость.

Для подсоединения сливного топливопровода к патрубку 24 на нем предусмотрен разъем 28. Разъем 28 можно сравнительно простым путем согласовывать с конкретными конструктивными особенностями подсоединяемого к нему сливного топливопровода без необходимости внесения конструктивных изменений в другие компоненты электромагнитного узла 2.

Во внутреннем пространстве 23 корпусной детали 20 расположена вставленная в него катушка 30, которая в смонтированном состоянии опирается своей первой стороной 31 на уступ 32 корпусной детали 20. При сборке катушку 30 при этом вставляют в корпусную деталь 20 через его отверстие и затем закрывают его крышкой 21.

Электромагнитный узел 2 имеет тарельчатый упругий элемент 33, расположенный во внутреннем пространстве 23 корпусной детали 20. Такой упругий элемент 33 при этом с одной стороны опирается на вторую сторону 34 катушки 30, а с другой стороны - на внутреннюю сторону 35 крышки 21. В рассматриваемом варианте упругий элемент 33 опирается на внутреннюю сторону 35 крышки 21 в ее центральной части между сливными отверстиями 26, 27. Благодаря этому обеспечивается возможность перетекания топлива через сливные отверстия 26, 27.

Упругий элемент 33 смонтирован с предварительным сжатием, которое обеспечивается при помещении крышки 21 в корпусную деталь 20. Упругий элемент 33 усилием своего предварительного сжатия нагружает катушку 30 и таким путем неподвижно фиксирует ее в корпусной детали 20.

Электромагнитный узел 2 имеет далее якорь 36, который взаимодействует с катушкой 30. Помимо этого предусмотрен якорный стержень 37, соединенный с якорем 36. Якорный стержень 37 проходит через катушку 30. Упругий элемент 33 имеет, кроме того, центральное отверстие 38. В этом центральном отверстии 38 установлена втулка 39. В эту втулку 39 вставлен якорный стержень 37. При срабатывании электромагнитного клапана 3, т.е. при подаче электрического тока на катушку 30, якорный стержень 37 может перемещаться в отверстии 38 в упругом элементе 3 до упора во внутреннюю сторону 35 крышки, при этом при таком перемещении якорного стержня вместе с ним в сторону катушки 30 перемещается и якорь 36. Ход якорного стержня 37, а тем самым и якоря 36 ограничен упором якорного стержня 37 во внутреннюю сторону 35 крышки. Помимо этого предусмотрена пружина 40, которая с одной стороны опирается на якорь 36, а с другой стороны поджимает втулку 39 к внутренней стороне 35 крышки 21.

Катушка 30 снабжена заливочным составом, который защищает ее электрические компоненты от контакта с присутствующим во внутреннем пространстве 23 корпусной детали 20 топливом или иными жидкостями.

Помимо этого на фиг.1 показано электрическое присоединение (электрический контактный вывод) 41 с электропроводкой 42, которые обеспечивают возможность подачи электрического тока на катушку 30 для срабатывания электромагнитного клапана 3, о чем также более детально говорится ниже со ссылкой на фиг.2.

Корпусная деталь 20 с обращенной от первой стороны 31 катушки 30 второй ее стороны 34 закрыта крышкой 21, которая неразъемно соединена с корпусной деталью 20 сваркой вдоль сварного шва 22. Подобная конструкция обеспечивает возможность простого монтажа катушки 30 путем ее помещения в корпусную деталь 20. Помимо этого корпусная деталь 20 имеет уступ 43, который позволяет точно позиционировать крышку 21 при ее помещении в корпусную деталь 20. Благодаря этому внутренняя сторона 35 крышки 21 располагается на строго определенном расстоянии от первой стороны 31 катушки. Кроме того, внутренняя сторона 35 крышки 21 обеспечивает строго определенное ограничение хода якоря 36 с якорным стержнем 37 относительно управляющего седла 12.

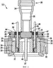
На фиг.2 в разрезе плоскостью II-II показан увеличенный фрагмент изображенного на фиг.1 электромагнитного узла 2 изображенной на фиг.1 топливной форсунки 1 в соответствии со вторым вариантом осуществления изобретения. В этом варианте крышка 21 соединена с корпусной деталью 20 радиальным сварным швом 22. Помимо этого патрубок 24 выполнен в виде отдельной от крышки 21 детали. При этом патрубок 24 соединен с крышкой 21 радиальным сварным швом 22'. Сварной шов 22' выполнен соответственно сварному шву 22. Патрубок 24 расположен на наружной стороне 44 крышки 21 и сваркой неразъемно соединен с ней на этой ее наружной стороне 44. Для упрощения чертежа на нем при этом не показаны соединенный с якорным стержнем 37 якорь 36, а также пружина 40 и втулка 39. Катушка 30 имеет центральное отверстие 45, через которое пропущен якорный стержень 37.

В крышке 21 предусмотрены отверстия 46, 47, через которые пропущены электрические контакт-детали (контактные выводы) 48, 49. Каждая из этих электрических контакт-деталей 48, 49 соединена при этом с одним из концов обмотки катушки 30, благодаря чему вне корпусной детали 20 образуются места электрического соединения катушки 30 с источником тока через электропроводку 42 и электрическое присоединение 41. В отверстиях 46, 47 расположены уплотнительные кольца 50, 51, служащие для уплотнения внутреннего пространства 23 корпусной детали относительно окружающего пространства. Помимо этого в отверстиях 46, 47 предусмотрены опорные кольца 52, 53, которые расположены ближе к внутренней стороне 35 крышки 21 заподлицо с этой ее стороной. Таким путем обеспечивается защита уплотнительных колец 50, 51. Помимо этого использование упругого элемента с отличным от упругого элемента 33 исполнением позволяет улучшить его прилегание в зоне отверстий 46, 47 к сопряженным поверхностям и таким путем прежде всего воспрепятствовать перекосу упругого элемента 33. Такой упругий элемент 33 в альтернативном исполнении предпочтительно использовать прежде всего при опирании на него якорного стержня 37. Подобный вариант описан, например, ниже со ссылкой на фиг.5.

Помимо этого на фиг.2 показано возможное соединение корпусной детали 54 топливной форсунки 1 с электромагнитным узлом 2.

На фиг.3 показан аналогичный изображенному на фиг.2 электромагнитный узел 2 электромагнитного клапана 3 для топливной форсунки 1 в соответствии с третьим вариантом осуществления изобретения. В этом варианте предусмотрено электрическое присоединение 41, служащее для электрического соединения с электрической контакт-деталью 49. Помимо этого предусмотрено также электрическое присоединение 41', служащее для электрического соединения с электрической контакт-деталью 48. Благодаря этому электропроводку 42 можно соединять с электрическими контакт-деталями 48, 49.

В рассматриваемом варианте упругий элемент 33 выполнен цельным или сплошным в своей центральной части. Поэтому втулка 39 опирается непосредственно на упругий элемент 33. Центральная часть упругого элемента 33 образует также упор для ограничения хода якорного стержня 37. Тем самым упругий элемент 33, во-первых, выполняет функцию по неподвижной фиксации катушки 30 путем приложения к ней усилия своего предварительного сжатия. Во-вторых, упругий элемент 33 выполняет функцию по ограничению хода якорного стержня 37, а тем самым и хода якоря 36.

На фиг.4 в разрезе показана изображенная на фиг.3 крышка 21 с упругим элементом 33 электромагнитного узла 2 для электромагнитного клапана 3 топливной форсунки 1 в соответствии с четвертым вариантом осуществления изобретения. В этом варианте упругий элемент 33 выполнен в виде тарельчатого упругого элемента. Упругий элемент 33 имеет далее отверстие 38. Благодаря этому якорный стержень 37 (фиг.1) может упираться во внутреннюю сторону 35 крышки 21. Помимо этого упругий элемент 33 по причине его тарельчатого выполнения несколько отстоит за исключением своей опорной части от внутренней стороны 35 крышки 21, благодаря чему наклонно проходящее через крышку 21 сливное отверстие 26 обеспечивает соединение внутреннего пространства 23 со сливным каналом 25 в патрубке 24 (фиг.1). Патрубок 24 может быть при этом соединен с крышкой 21 сваркой в соответствии с показанным на фиг.2 вторым вариантом.

Сливное отверстие 26 имеет в зоне внутренней стороны 35 крышки 21 раззенкованное углубление 60, через которое сливное отверстие 26 входит во внутреннее пространство 23 корпусной детали 20 (фиг.1). Наличие такого раззенкованного углубления позволяет при определенных условиях улучшить прохождение топлива в сливной канал 25 в патрубке 24. Помимо этого наличие раззенкованного углубления позволяет избежать необходимости в проведении возможно требующегося процесса удаления заусенцев по краям сливного отверстия 26 в зоне внутренней стороны 35 крышки 21, поскольку раззенкованное углубление 60 обеспечивает прилегание упругого элемента 33 к внутренней стороне 35 крышки по плоскости. Раззенковка с получением раззенкованного углубления 60 позволяет прежде всего удалять образующиеся при сверлении заусенцы, в которые при определенных условиях может упереться упругий элемент 33. Помимо этого заусенцы, возможно оставшиеся после сверления сравнительно близко к центру внутренней стороны 35 крышки, в остальном могут при определенных условиях отрицательно повлиять на упор якорного стержня 37 в крышку. В этом случае раззенкованное углубление 60 обеспечивает наличие у крышки оптимальной поверхности прилегания к ней якорного стержня 37. В результате предотвращается приводящий к повышенному износу перекос якорного стержня 37, благодаря чему исключается воздействие на электромагнитный клапан 3 поперечных сил и тем самым обеспечивается надежная работа топливной форсунки 1. Кроме того, крышку 21 можно после закалки подвергать торцовому шлифованию между двумя шлифовальными кругами с целью дополнительно улучшить прилегание к ней якорного стержня.

В этом варианте с обращенной к патрубку 24 стороны крышки 21 также предусмотрено раззенкованное углубление 61. Наличие такого раззенкованного углубления позволяет исключить возможное присутствие заусенцев, которые могут создавать помехи при приваривании патрубка 24 к крышке 21.

На фиг.5 показан обозначенный на фиг.3 позицией V фрагмент электромагнитного узла 2 топливной форсунки 1 в соответствии с пятым вариантом осуществления изобретения. В этом варианте упругий элемент 33 имеет центральную выпуклость 62, обращенную к центральному отверстию 45 катушки 30. При этом упругий элемент 33 в своей центральной части, т.е. в зоне своей центральной выпуклости 62, выполнен сплошным или цельным. Центральная выпуклость 62 образует благодаря этому упор для якорного стержня 37. На центральную выпуклость 62 упругого элемента 33 опирается, кроме того, втулка 39, которая служит направляющей для якорного стержня 37. Помимо этого на центральную выпуклость 62 упругого элемента 33 через втулку 39 опирается пружина 40.

Рассмотренные на примере описанных выше вариантов осуществления изобретения возможности по конструктивному выполнению электромагнитного узла обеспечивают возможность его согласования с конструктивными особенностями различных систем. При этом выполнение электромагнитного узла с двумя или тремя сварными соединениями прежде всего упрощает согласование разъема 28 на патрубке 24 с требуемым ответным присоединением. Помимо этого возможна эффективная сборка электромагнитного узла с расположенного со стороны патрубка конца 24. Путем принятия простых конструктивных мер можно обеспечить защиту сварных швов 22, 22', прежде всего сварного шва 22', соединяющего крышку 21 с патрубком 24. Так, например, на патрубке 24 может быть предусмотрена круговая или кольцевая канавка 63 (фиг.2), которая во взаимодействии с наложенной экструзией пластмассовой облицовкой образует заграждение от проникновения воды. Помимо этого электрические контакт-детали 48, 49 для катушки 30 можно вывести наружу через простые отверстия в крышке 21 и уплотнить уплотнительными кольцами 50, 51.

Кроме того, прикладываемое упругим элементом 33 к катушке 30 усилие его предварительного сжатия можно регулировать при сборке, контролируя величину такого усилия. Таким путем удается исключить механическую перегрузку магнитного материала, прогиб поверхностей полюсов или подъем катушки 30 от уступа 32 корпусной детали 20 в процессе работы вследствие слишком низких или слишком высоких удерживающих, соответственно прижимных усилий, величина которых определяется усилием предварительного сжатия упругого элемента. Особо следует отметить также возможность регулирования усилия предварительного сжатия упругого элемента, прикладываемого им к катушке, с управлением в зависимости от перемещения. В этом случае крышку 21 можно вставлять в корпусную деталь 20 до упора в нее, что можно обеспечить, например, изменением положения уступа 43 на корпусной детали 20 или положения соответствующего уступа 43' на крышке 21. Таким путем обеспечивается сборка деталей с соблюдением заданного размера. В этом случае развиваемое упругим элементом 33 усилие в результате его предварительного сжатия определяется номинальными размерами отдельных деталей, а также погрешностями их размеров, обусловленными производственными допусками.

Для согласования разъема 28 с различными требованиями предпочтительно также изготавливать патрубок 24 глубокой вытяжкой. Кроме того, для создания предварительного поджимающего усилия можно использовать отдельный предварительно сжимаемый упругий элемент 33, что при определенных условиях позволяет отказаться от применения набора или пакета из тарельчатой пружины и соответствующего диска.

Изобретение не ограничено рассмотренными выше вариантами его осуществления.

1. Электромагнитный узел (2) электромагнитного клапана (3) прежде всего для электромагнитного привода топливной форсунки, имеющий корпусную деталь (20) со вставленной в него катушкой (30), якорь (36), который по меньшей мере в основном расположен на первой стороне (31) катушки (30), и крышку (21), закрывающую корпусную деталь (20) с обращенной от первой стороны (31) катушки (30) второй ее стороны (34) и неразъемно соединенную при этом с корпусной деталью (20), отличающийся тем, что между второй стороной (34) катушки (30) и внутренней стороной (35) крышки (21) расположен предварительно сжатый упругий элемент (33), который усилием своего предварительного сжатия нагружает катушку (30), которая при этом своей первой стороной (31) опирается на уступ (32) корпусной детали (20).

2. Электромагнитный узел по п.1, отличающийся тем, что крышка (21) соединена с корпусной деталью (20) по меньшей мере одним сварным соединением.

3. Электромагнитный узел по п.2, отличающийся тем, что сварное соединение образует сварное соединение плотным швом между крышкой (21) и корпусной деталью (20).

4. Электромагнитный узел по п.1, отличающийся тем, что с якорем (36) соединен якорный стержень (37), который по меньшей мере частично проходит через центральное отверстие (45) катушки (30), а на упругом элементе (33) предусмотрен упор для якорного стержня (37), ограничивающий его ход при перемещении якоря (36) к первой стороне (31) катушки (31).

5. Электромагнитный узел по п.4, отличающийся тем, что упругий элемент (33) имеет центральную выпуклость (62), обращенную к центральному отверстию (45) катушки (30) и образующую упор для якорного стержня (37).

6. Электромагнитный узел по п.3, отличающийся тем, что соединенный с якорем (36) якорный стержень (37) проходит через центральное отверстие (45) катушки (30), обращенная ко второй стороне (34) которой внутренняя сторона (35) крышки (21) ограничивает при этом ход якорного стержня (37) при перемещении якоря (36) к первой стороне катушки (31).

7. Электромагнитный узел по п.6, отличающийся тем, что упругий элемент (33) выполнен в виде тарельчатого упругого элемента, который имеет центральное отверстие (38).

8. Электромагнитный узел по п.1, отличающийся тем, что крышка (21) имеет по меньшей мере одно отверстие (46, 47), через которое проходит по меньшей мере одна электрическая контакт-деталь (48, 49) к катушке (30) и которое уплотнено расположенным в нем уплотнительным кольцом (50, 51).

9. Электромагнитный узел по п.8, отличающийся тем, что в указанном отверстии (46, 47) предусмотрено опорное кольцо (52, 53), которое расположено ближе к внутренней стороне (35) крышки (21) заподлицо с этой ее стороной.

10. Электромагнитный узел по п.1, отличающийся тем, что предусмотрен патрубок (24), расположенный на наружной стороне (44) крышки (21), которая имеет по меньшей мере одно сливное отверстие (26, 27), соединяющее закрытое крышкой (21) внутреннее пространство (23) корпусной детали (20), в которой расположена катушка (30), со сливным каналом (25) в патрубке (24).

11. Электромагнитный узел по п.10, отличающийся тем, что сливное отверстие (26, 27) в крышке (21) имеет раззенкованное углубление (60), через которое сливное отверстие (26) входит во внутреннее пространство (23) корпусной детали (20).

12. Электромагнитный узел по п.10 или 11, отличающийся тем, что патрубок (24) соединен с крышкой (21) по меньшей мере одним сварным соединением (22').

13. Электромагнитный узел по п.10 или 11, отличающийся тем, что патрубок (24) выполнен за одно целое с крышкой (21).

14. Электромагнитный узел по п.10, отличающийся тем, что патрубок (24) имеет по меньшей мере одну радиально наружную кольцевую канавку (63).

15. Электромагнитный узел по п.14, отличающийся тем, что крышка (21) выполнена в виде дисковидной крышки (21).

16. Топливная форсунка (1) прежде всего топливная форсунка для топливных систем дизельных двигателей, имеющая электромагнитный привод (3) с электромагнитным узлом (2) по одному из пп.1-15 и приводимую в движение электромагнитным приводом (3) иглу (5), взаимодействующую с контактной поверхностью (13) своего седла с образованием герметичного седла.