Холодильный аппарат со стеклянной дверью

Иллюстрации

Показать все

Холодильный аппарат содержит корпус с охлаждаемой внутренней полостью и теплоизолированную дверь, которая предназначена для открывания и закрывания внутренней полости. Дверь шарнирно соединена с корпусом и содержит внутреннюю пластину, внешнюю стеклянную пластину и раму, ограничивающие заполненную изолирующим материалом полость. Рама содержит две вертикальные рейки и две горизонтальные поперечины. Рама приклеена к внешней пластине двери и/или к внутренней пластине двери с использованием в качестве клея двусторонней клейкой ленты. Использование данного изобретения позволяет изготовить дверь с относительно малыми затратами. 10 з.п. ф-лы, 5 ил.

Реферат

Область техники

Изобретение относится к холодильному аппарату, в частности к бытовому холодильному аппарату со стеклянной дверью.

Уровень техники

Патентная заявка WO 2009/043601 А1 описывает холодильный аппарат, который содержит корпус с охлаждаемой внутренней полостью и теплоизолированную дверь, которая предназначена для открывания и закрывания внутренней полости и шарнирно соединена с корпусом. Дверь содержит раму, выполненную в виде прямоугольного короба, стеклянную пластину, расположенную на передней стороне рамы, и внутреннюю стенку, расположенную на задней стороне рамы. Все эти элементы ограничивают полость, заполненную вспененным материалом. Вспененный материал предназначен для теплоизоляции и непосредственно соприкасается со стеклянной пластиной.

Раскрытие изобретения

Задачей предлагаемого изобретения является усовершенствование холодильного аппарата со стеклянной дверью.

Задача изобретения решается холодильным аппаратом, который содержит корпус с охлаждаемой внутренней полостью и теплоизолированную дверь, которая предназначена для открывания и закрывания внутренней полости, шарнирно соединена с корпусом и содержит внутреннюю пластину, внешнюю стеклянную пластину и раму, ограничивающие заполненную изолирующим материалом полость. Этот холодильный аппарат отличается тем, что рама содержит две вертикальные рейки и две горизонтальные поперечины. Холодильный аппарат согласно изобретению представляет собой, в частности бытовой холодильный аппарат, например бытовой холодильник, морозильник или комбинированный холодильно-морозильный аппарат.

Дверь холодильного аппарата согласно изобретению содержит внешнюю пластину, которая также называется внешней оболочкой и изготовлена из стекла, в результате чего дверь холодильного аппарата относительно легко поддается очистке. Таким образом, внешняя пластина выполнена в виде стеклянной пластины.

Кроме того, дверь холодильного аппарата согласно изобретению содержит раму, которая, согласно изобретению, состоит из двух горизонтальных поперечин и двух вертикальных реек. Наличие таких отдельных деталей позволяет изготовить раму и, тем самым, дверь с относительно малыми затратами.

Чтобы можно было изготовить дверь холодильного аппарата согласно изобретению с относительно малыми затратами, рейки могут быть, предпочтительно, выполнены в виде экструдированного профиля. Под экструдированным профилем подразумевается, в частности, прессованный профиль. Предпочтительным материалом для экструдированного или прессованного профиля является алюминий. Он обеспечивает сравнительно хороший внешний вид, а также позволяет сравнительно просто снизить расходы на изготовление.

Предпочтительно, обе поперечины могут быть изготовлены из пластмассы, в частности, методом литья под давлением, что также делает их изготовление относительно недорогим.

Для повышения теплоизолирующего действия изолирующего материала рейки и поперечины, предпочтительно, могут образовывать раму, которая служит герметизирующим элементом при заполнении полости изолирующим материалом.

В одном из вариантов холодильного аппарата согласно изобретению, рама приклеивается к внешней пластине и/или к внутренней пластине двери, что позволяет изготовить дверь со сравнительно малыми затратами. В качестве клея может использоваться, например, двусторонняя клейкая лента.

В предпочтительном варианте исполнения холодильного аппарата согласно изобретению, по меньшей мере, одна рейка содержит рукоятку для открывания и/или закрывания двери. В этом случае можно отказаться от рукоятки, расположенной на внешней пластине двери, в частности на наружной стороне внешней пластины двери. Это позволит не только снизить стоимость, но и обеспечить более приятный внешний вид холодильного аппарата согласно изобретению. В частности, рукоятка может быть встроена в соответствующую рейку.

Предпочтительно, рукоятка может быть выполнена в виде ниши на той стороне рейки, которая обращена наружу. Такая рукоятка удобна для захвата. Кроме того, экструдированный или прессованный профиль с такой нишей может быть изготовлен сравнительно легко, благодаря чему рукоятка может быть реализована с относительно малыми дополнительными расходами, если они вообще будут.

Дверь может быть шарнирно соединена с корпусом, причем деталь такой опоры может быть расположена на раме, в частности встроена в нее. Предпочтительно, эта часть опоры закреплена на поперечине, в частности встроена в нее. Такой вариант холодильного аппарата согласно изобретению может быть изготовлен с особо малыми затратами, если соответствующая часть опоры выполнена как одно целое с поперечиной, в частности сформирована на поперечине в ходе процесса литья под давлением из того же материала. В частности, каждая из соответствующих частей опоры расположена на верхней или нижней перекладине или встроена в нее. При необходимости, при изготовлении двери применяется вспенивание с помощью верхней и/или нижней кромочной планки для опоры двери.

Между внешней стеклянной пластиной двери и изолирующим материалом может быть помещена, в частности, полимерная пленка. Однако в предпочтительном варианте исполнения холодильного аппарата согласно изобретению изолирующий материал непосредственно прилегает к плоскости внешней пластины двери. В частности, изолирующий материал прилипает к внешней стеклянной пластине двери или к той стороне внешней пластины, которая обращена к внутренней пластине двери или ее полости. Такой вариант двери может быть изготовлен с относительно малыми затратами, так как изолирующий материал требуется впрыскивать только в полость, а внешняя стеклянная пластина двери вместе с рамой и внутренней пластиной обеспечивает необходимую стабильность двери.

Чтобы повысить стабильность двери, дверь может содержать, по меньшей мере, одну горизонтальную распорку, соединяющую обе рейки. Распорка или распорки изготавливаются, например, из пластмассы, в частности, методом литья под давлением.

Краткое описание чертежей

Вариант исполнения изобретения представлен на прилагаемых схематичных фигурах. На фигурах изображено:

Фигура 1: холодильный аппарат с корпусом и дверью, навешенной на корпус.

Фигура 2: перспективный вид двери.

Фигура 3: взрывной вид двери.

Фигура 4: фрагмент двери, горизонтальная проекция.

Фигура 5: фрагмент двери, в разрезе.

Осуществление изобретения

На фигуре 1 в качестве примера холодильного аппарата представлен перспективный вид бытового холодильного аппарата 1.

Бытовой холодильный аппарат 1 содержит корпус 2, который ограничивает охлаждаемую внутреннюю полость. В предлагаемом варианте исполнения внутренняя полость содержит морозильное отделение и холодильное отделение, расположенное над морозильным отделением. Охлаждение этих отделений может выполняться холодильным устройством, которое, в принципе, известно специалистам и не показано в подробностях. Холодильное устройство образовано, например, одним или несколькими холодильными контурами и содержит, например, по меньшей мере, один испаритель и, по меньшей мере, один компрессор.

В морозильном отделении и/или в холодильном отделении могут быть расположены полки и/или выдвижные ящики, предназначенные для хранения замораживаемых или охлаждаемых продуктов.

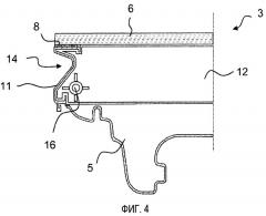
В предлагаемом варианте исполнения на корпус 2 бытового холодильного аппарата 1 навешены двери 3, 4, причем дверь 3 закрывает холодильное отделение, а дверь 4 - морозильное отделение. Перспективный вид двери 3 представлен на фигуре 2, а взрывной вид этой же двери - на фигуре 3. На фигуре 4 представлена горизонтальная проекция фрагмента двери 3, а на фигуре 5 - разрез фрагмента двери 3. Дверь 4 может быть устроена, в принципе, аналогично двери 3.

В предлагаемом варианте исполнения дверь 3 содержит внутреннюю пластину 5, которая также называется внутренней оболочкой, и внешнюю пластину 6, которая также называется внешней оболочкой. Внутренняя пластина 5 двери изготовлена, например, из пластмассы. На той стороне внутренней пластины 5, которая обращена к внутренней полости или холодильному отделению, может быть закреплен, по меньшей мере, один навесной элемент, предназначенный для хранения охлаждаемых продуктов.

В предлагаемом варианте исполнения внешняя пластина 6 двери выполнена в виде стеклянной пластины. Стеклянная пластина изготовлена, в частности, из безосколочного стекла, которое, например, прошло предварительную тепловую обработку.

В предлагаемом варианте исполнения дверь 3 содержит раму 7, которая закреплена на внешней пластине 6, например, клейкой лентой 8. В предлагаемом варианте исполнения рама 7 содержит две вертикальные рейки 11, горизонтальную верхнюю кромочную планку 12 и горизонтальную нижнюю кромочную планку 13. Для усиления двери 3 может быть предусмотрена, по меньшей мере, одна поперечная распорка 15, изготовленная, например, из пластмассы или алюминия и соединяющая обе рейки 11.

Внутренняя пластина 5 двери, рама 7 и внешняя пластина 6 двери ограничивают полость 9, которая заполнена изолирующим материалом 10, в частности, изолирующей пеной. Изолирующий материал 10, в частности, изолирующая пена прилегает к плоскости той стороны внешней стеклянной пластины 6, которая обращена к внутренней пластине 5 двери, и прилипает к этой стороне. Благодаря тому, что изолирующий материал прилипает к внутренней пластине 5 двери и внешней пластине 6 двери, обеспечивается скрепление двери 3. Рейки 11 и обе кромочные планки 12, 13 соединены между собой таким образом, что они образуют раму 11, которая служит герметизирующим элементом при заполнении полости 9 изолирующим материалом 10. Между внешней пластиной 6 двери и изолирующим материалом 10 может быть также помещена пленка, например полимерная пленка.

Рейки 11 изготовлены, например, из металла, в частности из алюминия. Рейки 11 могут представлять собой, например, алюминиевый экструдированный или прессованный профиль. В предлагаемом варианте исполнения, по меньшей мере, на одной рейке 11 находится рукоятка 14, предназначенная для открывания и/или закрывания двери 3, в частности, рукоятка встроена в эту рейку. В двери 3 это реализовано за счет того, что рукоятка 14 выполнена в виде ниши в обращенной наружу стороне соответствующей рейки 11. В предлагаемом варианте исполнения обе рейки 11 имеют ниши, которые могут использоваться в качестве рукоятки 14. Таким образом, дверь 3 может быть навешена на корпус 2 бытового холодильного аппарата 1 с возможностью поворота как с левой, так и с правой стороны.

Обе кромочные планки 12, 13, которые также называются поперечинами, изготовлены, например, из пластмассы и соединяют две рейки 11. В предлагаемом варианте исполнения дверь 3 опирается на корпус 2 с возможностью вращения. Опоры или детали 16 опор, предусмотренные на двери 3, расположены на раме 11, в частности, встроены в обе кромочные планки 12, 13, причем они выполнены, например, как одно целое с обеими кромочными планками 12, 13, в частности, из того же материала, что и эти планки. Чтобы можно было навесить дверь 3 на корпус 2 с возможностью поворота как с левой, так и с правой стороны, обе кромочные планки 12, 13 содержат по две детали 16 опоры, которые сформированы на кромочных планках 12, 13 вблизи соответствующих реек 11.

1. Холодильный аппарат, в частности бытовой холодильный аппарат, который содержит корпус (2) с охлаждаемой внутренней полостью и теплоизолированную дверь (3), которая предназначена для открывания и закрывания внутренней полости, шарнирно соединена с корпусом (3) и содержит внутреннюю пластину (5), внешнюю стеклянную пластину (6) и раму (11), ограничивающие заполненную изолирующим материалом (10) полость (9), причем рама (11) содержит две вертикальные рейки (11) и две горизонтальные поперечины (12, 13), отличающийся тем, что рама (11) приклеена к внешней пластине (6) двери и/или к внутренней пластине (5) двери с использованием в качестве клея двусторонней клейкой ленты.

2. Холодильный аппарат по п.1, отличающийся тем, что рейки (11) выполнены в виде экструдированного или прессованного профиля.

3. Холодильный аппарат по п.2, отличающийся тем, что экструдированный или прессованноый профиль изготовлен из алюминия.

4. Холодильный аппарат по одному из пп.1-3, отличающийся тем, что поперечины (12, 13) изготовлены из пластмассы.

5. Холодильный аппарат по одному из пп.1-3, отличающийся тем, что рейки (11) и поперечины (12, 13) образуют раму (11), которая служит герметизирующим элементом при заполнении полости (9) изолирующим материалом (10).

6. Холодильный аппарат по одному из пп.1-3, отличающийся тем, что, по меньшей мере, одна рейка (11) содержит рукоятку (14) для открывания и/или закрывания двери (3), в частности, рукоятка встроена в рейку.

7. Холодильный аппарат по п.6, отличающийся тем, что рукоятка (14) выполнена в виде ниши на той стороне рейки (11), которая обращена наружу.

8. Холодильный аппарат по одному из пп.1-3, 7, отличающийся тем, что дверь (3) соединена с корпусом (2) с возможностью вращения, а деталь (16) этого соединения закреплена на раме (11), в частности на поперечине (12, 13), в частности встроена в нее.

9. Холодильный аппарат по одному из пп.1-3, 7, отличающийся тем, что между внешней пластиной (6) двери и изолирующим материалом (10) помещена, в частности, полимерная пленка.

10. Холодильный аппарат по одному из пп.1-3, 7, отличающийся тем, что изолирующий материал (10) непосредственно прилегает, в частности прилипает, к плоскости той стороны внешней пластины (6) двери, которая обращена к полости (9).

11. Холодильный аппарат по одному из пп.1-3, 7, отличающийся тем, что дверь (3) содержит, по меньшей мере, одну горизонтальную распорку (15), соединяющую обе рейки (11).