Способ определения плотности подземных пластов, используя измерения нейтронного гамма-каротажа
Иллюстрации
Показать всеИспользование: для определения плотности подземных пластов. Сущность изобретения заключается в том, что определение плотности подземного пласта, окружающего буровую скважину, производят на основании измерения гамма-излучения, возникающего в результате облучения пласта ядерным источником в корпусе прибора, расположенного в буровой скважине, и измерения потока гамма-излучения в корпусе прибора при двух различных расстояниях детекторов от источника, при этом способ содержит определение по существу прямолинейного соотношения между измерениями потоков гамма-излучения при каждом отличающемся расстоянии детекторов применительно к плотности пласта в случае отсутствия отклонения корпуса прибора; определение соотношения, устанавливающего девиацию плотности за счет отклонения прибора, определяемой на основании измерений измеряемого потока гамма-излучения при двух различных расстояниях детекторов, по плотности, вычисляемой на основании прямолинейных соотношений; и для данной пары измерений потока гамма-излучения при различных расстояниях детекторов определение пересечения соотношения, устанавливающего девиацию, с прямолинейным соотношением с тем, чтобы обозначить плотность пласта, окружающего буровую скважину; при этом источник представляет собой нейтронный источник, а гамма-излучение, измеряемое в корпусе прибора, представляет собой наведенное нейтронами гамма-излучение, являющееся результатом нейтронного облучения пласта. Технический результат: повышение точности определения плотности подземных пластов. 2 н. и 23 з.п. ф-лы, 5 ил.
Реферат
Область техники, к которой относится изобретение
Это изобретение относится к определению плотности подземных пластов, используя измерения нейтронного гамма-каротажа. В частности, изобретением предоставляются методики для анализа измерений нейтронного гамма-каротажа, относящихся к подземным пластам, окружающим буровые скважины, типа используемых в нефтегазодобывающей промышленности.
Уровень техники
Известен ряд методик для определения свойств пластов, окружающих буровые скважины. Обычно корпус прибора, содержащий источник сигналов, помещают в буровую скважину, и источник используют для исследования пласта. Сигнал, возвращающийся в корпус прибора, измеряют и вычисляют представляющий интерес параметр. Когда корпус прибора расположен вплотную к стенке буровой скважины, сигнал проходит по существу через пласт, окружающий буровую скважину, и поэтому может быть использованным непосредственно для получения представляющего интерес свойства. Однако, когда имеется пространство между корпусом прибора и стенкой буровой скважины (иногда называемое «отклонением»), могут возникать проблемы, поскольку сигнал проходит через содержимое буровой скважины до прохождения в пласт или до возвращения из пласта в корпус прибора. Поэтому содержимое буровой скважины, обычно флюиды, будет оказывать влияние на сигнал, и для определения представляющего интерес свойства пласта это влияние необходимо исключать или компенсировать.
Один хорошо известный подход компенсации для влияния буровой скважины заключается в выполнении двух измерений возвращающегося сигнала на различных расстояниях от источника. В пределах масштаба типичного измерения влияния отклонения прибора и буровой скважины не изменяются значительно между ближней и дальней измерительными точками, так что значительная разность между двумя измерениями обусловлена только различием путей сигнала в пласте и, следовательно, представляющим интерес свойством пласта.
Измерение плотности пласта является хорошо известным подходом определения характеристик подземных пластов, окружающих газонефтяные скважины и аналогичные. Имеется ряд методик, основанных на ядерных измерениях, которые можно использовать для этого. Наиболее распространенная методика известна как гамма-гамма каротаж плотности, при котором пласт облучается от источника гамма-излучения, например 137Cs, испускающим гамма-излучение с 0,66 МэВ, из корпуса прибора. Гамма-излучение проходит через пласт, претерпевает взаимодействия с компонентами пласта и возвращается в буровую скважину, где поток обнаруживают. Затем это может быть проанализировано для того, чтобы определить плотности пласта. Эту методику используют как к кабельному каротажу, так и к применению каротажа в процессе бурения для хорошего каротожа. Для компенсации влияния буровой скважины часто используют способ с двумя детекторами, описанный выше. В патенте США №4297575 описан способ гамма-гамма каротажа плотности.
Поскольку гамма-гамма каротаж плотности обеспечивает получение объемной плотности пласта, а подземные пласты обычно являются пористыми, было предложено сочетать гамма-гамма каротаж плотности с нейтронным измерением пористости. При нейтронном каротаже плотности пласт облучают высокоэнергетическими нейтронами из химического источника, например 241AmBe, создающего нейтроны 4 МэВ, или источника на основе ускорителя, например импульсного дейтерий-тритиевого ускорителя, создающего нейтроны 14 МэВ. Когда они проходят через пласт, они взаимодействуют с ядрами водорода в поровых флюидах, рассеиваются и теряют энергию. Рассеиваемые обратно нейтроны обнаруживаются в корпусе прибора, и их можно анализировать для определения количества водорода и, следовательно, пористости пласта. Как описано в Международной заявке WO 2007/148869, нейтронные измерения пористости можно сочетать с измерениями плотности при гамма-гамма каротаже для получения возможности определения плотности скелета горной породы. И в этом случае способы компенсации с двумя детекторами применяют для решения проблемы влияния буровой скважины.
Позднее были разработаны способы определения плотности пласта, основанные на облучении высокоэнергетическими нейтронами. Нейтроны рассеиваются пластом в зависимости от его плотности. Поэтому измерение возвращающихся нейтронов можно использовать для получения некоторого показателя плотности пласта (нейтрон-нейтронной плотности). Однако это может быть поводом для возникновения ряда мешающих явлений вследствие влияния пористости пласта. Нейтронное облучение также может приводить к неупругому рассеянию нейтронов с сопутствующей генерацией гамма-излучения. Это гамма-излучение можно использовать в способе определения плотности (нейтронной гамма-плотности). В этом случае пласт эффективно действует как вторичный источник гамма-излучения, по которому можно определять плотность. В Международной заявке WO 96/08733, патенте США №5608215 и заявке US 2009/026359 на патент США раскрыты нейтрон-нейтронные способы и нейтронные гамма-способы для определения плотности.
Имеются два распространенных способа анализа ядерных измерений детекторами на двух расстояниях. В одном простой кросс-плот или отношение сигналов, измеряемых при двух расстояниях детекторов от источника, используют или сравнивают с калиброванными данными от известных пластов. Этот способ обычно используют для нейтрон-нейтронной пористости и плотности и нейтронной гамма-плотности. Другой известен как обработка «хребет и ребро» и используется для гамма-гамма плотности. Этот способ основан на определении кросс-плота измерений при двух расстояниях детекторов от источника и определении девиации для этого кросс-плота, обусловленной отклонением прибора от стенки ствола скважины, при этом пересечение кросс-плота («хребта») и девиации («ребра») используют для определения плотности пласта. Примеры этих способов можно найти в документах, перечисленных выше.
Это изобретение основано на осознании того, что метод «хребта и ребра» можно применять в методиках нейтронного гамма-каротажа плотности, даже если фундаментальный процесс, лежащий в основе измерения (создание гамма-излучения в пласте вследствие облучения нейтронами), значительно отличается от процесса способов гамма-гамма каротажа плотности, основанных на непосредственном облучении гамма-лучами известной энергии.
Раскрытие изобретения
Этим изобретением предоставляется способ определения плотности подземного пласта, окружающего буровую скважину, по измерению гамма-излучения, возникающего от облучения пласта ядерным источником в корпусе прибора, расположенного в буровой скважине, и измерениям потока гамма-излучения в корпусе прибора при двух различных расстояниях детекторов от источника, при этом способ содержит:
- определение по существу прямолинейного соотношения между измерениями потоков гамма-излучения при каждом отличающемся расстоянии детекторов применительно к плотности пласта в случае отсутствия отклонения корпуса прибора;
- определение соотношения, устанавливающего девиацию плотности за счет отклонения прибора, определяемой по измерениям измеряемого потока гамма-излучения при двух различных расстояниях детекторов, по плотности, вычисляемой на основании прямолинейных соотношений; и
- для данной пары измерений потока гамма-излучения при различных расстояниях детекторов определение пересечения соотношения, устанавливающего девиацию, с прямолинейным соотношением с тем, чтобы обозначить плотность пласта, окружающего буровую скважину;
при этом источник представляет собой нейтронный источник, а гамма-излучение, измеряемое в корпусе прибора, представляет собой наведенное нейтронами гамма-излучение, являющееся результатом нейтронного облучения пласта.
Когда поток нейтронов из пласта измерен в корпусе прибора при двух различных расстояниях детекторов от источника, способ может содержать использование измерений потока нейтронов для коррекции измерений потока гамма-излучения за влияние переноса нейтронов в пласте.
Измеряемый поток гамма-излучения может содержать гамма-излучение, являющееся результатом неупругих взаимодействий между нейтронами и компонентами пласта.
Если нейтронный генератор используют для генерации первичных нейтронов, для определения потока нейтронов требуется, чтобы средство, такое как монитор нейтронов, использовалось для определения потока первичных нейтронов из нейтронного генератора. Если используют химический источник, первичный поток можно определять путем калибровки.
Плотность при измерении потока гамма-излучения на расстоянии может быть вычислена в соответствии с соотношением:
ρ=a-b*ln[net-inel/F(n)),
где а и b являются экспериментально получаемыми постоянными, net-inel представляет результирующий поток гамма-излучения при неупругом рассеянии, измеряемый на детекторе гамма-излучения, расположенном на рассматриваемом расстоянии, и F(n) является функцией потока n нейтронов, измеряемого на соответствующем детекторе нейтронов.
Для данной пары измерений потоков плотность можно вычислять при коррекции плотности, определяемой при измерении потока дальше всего от источника, используя измерение потока ближе всего к источнику, в соответствии с соотношением:
ρb =ρLS +Δρ,
где ρb является плотностью пласта, ρLS является плотностью, вычисляемой на основании измерения потока дальше всего от источника, и Δρ является девиацией плотности вследствие отклонения прибора. Δρ можно вычислять в соответствии с соотношением вида:
Δρ=А(ρLS-ρSS)+B(ρLS-ρSS)2+C(ρLS-ρSS)3+…,
где ρSS является плотностью, вычисляемой по измерению потока ближе всего от источника, и А, В, С, … - экспериментально получаемые постоянные.
Вторым аспектом изобретения предоставляется установка для определения плотности пласта, окружающего буровую скважину, при этом установка содержит:
- корпус прибора для расположения в буровой скважине;
- нейтронный источник в корпусе прибора для облучения пласта; и
- первый и второй детекторы, расположенные в корпусе прибора на соответствующих первом и втором расстояниях от нейтронного источника;
в которой первый и второй детекторы выполнены с возможностью обнаружения гамма-излучения, являющегося результатом облучения нейтронами пласта; при этом установка также содержит систему обработки для
- определения по существу прямолинейного соотношения между измерениями потоков гамма-излучения при каждом отличающемся расстоянии детекторов применительно к плотности пласта в случае отсутствия отклонения корпуса прибора;
- определения соотношения, устанавливающего девиацию плотности за счет отклонения прибора, определяемой на основании измерений измеряемого потока гамма-излучения при двух различных расстояниях детекторов, по плотности, вычисляемой на основании прямолинейных соотношений; и
- для данной пары измерений потока гамма-излучения при различных расстояниях детекторов определения пересечения соотношения, устанавливающего девиацию, с прямолинейным соотношением с тем, чтобы обозначить плотность пласта, окружающего буровую скважину.
Предпочтительно, чтобы установка работала в соответствии со способом согласно первому аспекту изобретения.
Дальнейшие аспекты изобретения станут очевидными из нижеследующего описания.
Краткое описание чертежей
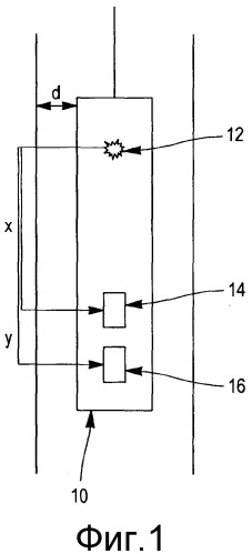
Фигура 1 - показывает схематичное представление системы с двумя детекторами для компенсации за влияние буровой скважины;
фигура 2 - показывает схематичный вид прибора нейтронного гамма-каротажа плотности;
фигура 3 - показывает график измерений гамма-излучения на большом расстоянии в зависимости от плотности;
фигура 4 - показывает график «хребта и ребра», построенный в соответствии с настоящим изобретением; и
фигура 5 - показывает график коррекции «ребра».
Вариант (варианты) осуществления изобретения
На фигуре 1 показано схематичное представление скважинного прибора, содержащего систему с двумя детекторами, предназначенную для компенсации влияния буровой скважины на пластовые измерения. Эта архитектура прибора используется для приборов, относительно которых применяется изобретение. В этой системе корпус 10 прибора (показанного здесь в виде спускаемого на каротажном кабеле прибора, подвешенного в буровой скважине, но он также может быть прибором каротажа в процессе бурения) расположен в буровой скважине при расстоянии d между корпусом и стенкой буровой скважины. Прибор включает в себя источник, например ядерный источник (импульсный высокоэнергетический нейтронный источник в случае настоящего изобретения, например дейтерий-тритиевый источник 14 МэВ, но также возможен источник гамма-излучения), и детекторы 14 и 16 на соответствующих малом и большом расстояниях от источника 12. При использовании сигнал, проходящий от источника 12 к ближнему детектору 14, будет дважды пересекать пространство d между прибором и стенкой буровой скважины и проходить в пласте путь протяженностью X. Соответствующий сигнал, проходящий к дальнему детектору 16, также будет дважды пересекать пространство d между прибором и стенкой буровой скважины и проходить в пласте путь протяженностью Х+Y. Разность хода между двумя сигналами обусловлена только добавочным путем в пласте протяженностью Y, и поэтому вычитание сигнала ближнего детектора из сигнала дальнего детектора должно давать разность, которую можно отнести по существу только на счет свойств пласта без всякого влияния буровой скважины, являющегося результатом отклонения прибора от стенки ствола скважины. Хотя это является упрощенным пояснением методики с двумя детекторами для компенсации влияния буровой скважины, оно дает представление об основных методиках и методах, используемых в настоящем изобретении.
На фигуре 2 показан родовой прибор для измерений при нейтронном гамма-каротаже плотности. Корпус 20 прибора содержит прибор каротажа в процессе бурения, образующий часть бурильной колонны (непоказанной). Корпус 20 прибора расположен в буровой скважине 22 при расстоянии d между корпусом прибора и стенкой ствола буровой скважины/пластом 24. Поскольку этот прибор представляет собой буровой инструмент, перемещение корпуса 20 прибора в буровой скважине может означать, что отклонение прибора от стенки ствола скважины может быть любым между нулевым и максимальным, равным разности между диаметром прибора и диаметром буровой скважины (когда прибор на одной стороне находится в контакте со стенкой ствола буровой скважины). Поэтому любые влияния буровой скважины на измерения вследствие отклонения прибора от стенки ствола скважины будут изменяться. Нейтронный источник (26) 14 МэВ на основе ускорителя установлен в корпусе 20 прибора. Детектор 28 нейтронов установлен в корпусе 22 прибора на расстоянии от источника 26 и выполнен для обнаружения надтепловых нейтронов. Детектор 30 гамма-излучения расположен в корпусе 20 на другом расстоянии.
При использовании источник облучает пласт 24 всплесками высокоэнергетических нейтронов 32. Они взаимодействуют с компонентами пласта 24 двумя основными подходами. При одном нейтроны подвергаются упругому рассеянию, утрачивая энергию в пласте, и возвращаются в буровую скважину с более низкой надтепловой энергией, где они обнаруживаются детектором 28 нейтронов. При другом нейтроны подвергаются неупругому рассеянию, что приводит к образованию гамма-излучения 34 в пласте. Это гамма-излучение распространяется через пласт, взаимодействуя с электронами компонентов пласта, и поэтому находится под влиянием плотности пласта. Гамма-излучение, возвращающееся в буровую скважину, обнаруживается на детекторах 30 гамма-излучения. Выходные сигналы детекторов обрабатываются в приборе, на поверхности или в обоих местах для получения свойств пласта на основании измерений.
Как ясно из приведенного выше описания, измерение плотности при нейтронном гамма-каротаже основано на обнаружении наведенного нейтронами гамма-излучения на детекторе, который помещен на расстоянии от нейтронного источника. Поток гамма-излучения на детекторе находится под влиянием переноса нейтронов к точке взаимодействия нейтронов, создающего гамма-излучение, и последующего переноса гамма-лучей от места возникновения до детектора гамма-излучения. Чтобы исключить влияние тепловых нейтронов на отклик, измеряют только гамма-излучение при неупругом рассеянии, создаваемое высокоэнергетическими нейтронами. Фон вследствие захвата нейтронов вычитают. Выходной сигнал детектора нейтронов используют для учета влияния переноса нейтронов, создающих гамма-излучение при неупругом рассеянии. На практике система с двумя детекторами используется для компенсации влияния буровой скважины. Такая компенсация содержит измерения SS, LS гамма-излучения на ближнем и дальнем детекторах; и ближнее и дальнее измерения Near и Far нейтронов. Влияние буровой скважины вследствие отклонения прибора возникают из-за того, что плотности флюидов в буровой скважине обычно отличаются от плотности пласта. Поэтому, если плотность флюида ниже, чем плотность пласта, измеряемая плотность при наличии отклонения прибора будет соответственно ниже, чем истинная плотность пласта, и наоборот. Характеристику плотности при нейтронном гамма-каротаже можно вычислить для плотности на ближнем детекторе и дальнем детекторе, используя
ρSS=aSS-bSSln(SSnet-inel/F(Near)),
ρLS=aLS-bLSln(LSnet-inel/F(Far)),
где
SSnet-inel = результирующая скорость счета в ближнем детекторе при неупругом рассеянии,
LSnet-inel = результирующая скорость счета в дальнем детекторе при упругом рассеянии,
Near = скорость счета от ближнего детектора нейтронов,
Far = скорость счета от дальнего детектора нейтронов,
а функциональную форму F выбирают из условия получения линейной зависимости от плотности, показанной на фигуре 3, для плотности ρLS от дальнего детектора. Этот график показывает «хребет» (отклонение прибора отсутствует), вычисленный на основании данных дальнего детектора. Аналогичный график можно построить из «хребта» на основании данных ближнего детектора, ρSS. В общем случае функциональная форма F будет различаться в зависимости от выбора детектора нейтронов, используемого для компенсации влияния переноса нейтронов.
Альтернативный вариант осуществления упомянутого выше способа использования ближнего и дальнего детекторов нейтронов заключается в использовании скорости счета от единственного детектора для ρSS и ρLS при использовании двух различных функций F для соответствующих детекторов.
Детекторы нейтронов не ограничены детекторами надтепловых нейтронов. Детекторы быстрых, надтепловых или тепловых нейтронов, или сочетаний нейтронов могут быть использованы.
Подробности относительно соответствующей формы обработки «хребта и ребра», пригодной для этого изобретения, можно найти в докладе Wahl J.S., Tittman J., Johnstone C.W., and Alger R.P., "The dual spacing formation density log", представленном на The Thirty-ninth SPE Annual Meeting, 1964; и в Tittman J., and Wahl J.S., "The physical foundations of formation density logging (Gamma-Gamma)", Geophysics, vol.30, 1965.
В методе «хребта и ребер» плотность ρLS на дальнем детекторе использована для первичного измерения плотности, поскольку влияние буровой скважины, возникающее в результате отклонения прибора от стенки ствола скважины, вносят наименьший вклад в общую характеристику измерения, тогда как плотность ρSS на ближнем детекторе используют для коррекции плотности на дальнем детекторе за влияние отклонения прибора от стенки ствола скважины, поскольку влияние буровой скважины, возникающее вследствие отклонения прибора, вносит более значительный вклад в общую характеристику измерения.
Плотность на дальнем детекторе корректируют, используя выражение
ρ и с т и н н а я = ρ L S + Δ ρ , уравнение (1)
где поправочный член Δρ обычно дается следующей формулой
Δ ρ = A ( ρ L S − ρ S S ) + B ( ρ L S − ρ S S ) 2 + C ( ρ L S − ρ S S ) 3 + … , уравнение (2)
так что
ρ b = ρ L S + A ( ρ L S − ρ S S ) + B ( ρ L S − ρ S S ) 2 + C ( ρ L S − ρ S S ) 3 + … , уравнение (3)
где ρLS и ρSS - плотности на дальнем и ближнем детекторах соответственно, ρb - скорректированная плотность и А, В, С - постоянные, получаемые из описания характеристики в известных условиях.
Фигура 4 показывает график «хребта и ребра». Хребет S содержит кросс-плот плотностей ρSS и ρLS, измеренных на ближнем и дальнем детекторах. «Ребро» R представляет собой девиацию Δρ от этой прямой линии, обусловленное отклонением прибора от стенки ствола скважины. В показанном примере плотность флюида или плотность ρбурового раствора бурового раствора ниже, чем плотность ρb пласта, и это означает, что плотность ρLS на дальнем детекторе и плотность ρSS на ближнем детекторе наблюдаются ниже, чем истинная плотность ρb. Однако на плотность ρSS на ближнем детекторе больше влияет отклонение прибора и поэтому точка измерения на кросс-плоте лежит слева от точки ρb истинной плотности «хребта» (и следовательно, выше линии). Плотность ρLS на дальнем детекторе наблюдается ниже, чем истинная плотность ρb, на величину Δρ. Применив поправку, данную выше, истинная плотность ρb может быть определена.
Если ρбурового раствора выше, чем плотность ρb пласта, плотности ρSS, ρLS на ближнем и дальнем детекторах будут наблюдаться выше, чем истинная плотность ρb (то есть справа от и ниже «хребта»), и поправку применяют в противоположном направлении.
На фигуре 4 «ребро» пересекает «хребет» в двух точках. В нижней точке это означает бесконечное отклонение прибора от стенки ствола скважины и поэтому указывает на ρбурового раствора. Верхнее пересечение представлено в ρb.
Постоянная А в уравнениях (2) и (3) связана с углом между «хребтом» и «ребром», показанными на фигуре 4. Для учета кривизны «ребра» дополнительные члены включают в поправку. Поэтому плотность на дальнем детекторе корректируется за влияние отклонения прибора, используя разность между плотностями на дальнем и ближнем детекторах для определения отклонения прибора.
Фигура 5 иллюстрирует поправочный член Δρ как функцию разности ρLS-ρSS плотностей на дальнем и ближнем детекторах. Отклонение прибора в буровых растворах, имеющих более значительные плотности по сравнению с плотностью пласта, дает положительные значения Δρ (на правой стороне), тогда как в буровых растворах, имеющих меньшие плотности по сравнению с плотностью пласта, дает отрицательные значения Δρ (на левой стороне).
Способ, описанный выше, можно изменять в объеме изобретения.
Имеются несколько преимуществ от использования способа «хребта и ребер» настоящего изобретения для поправки за влияние отклонения прибора от стенки ствола скважины по сравнению с другими способами. Существуют способы, которые пытаются делать коррекцию на отклонения прибора, учитывая отношение потоков на дальнем и ближнем детекторах. Обычно результатом этих методов является только частичная коррекция на отклонения прибора. То есть, при использовании отношения потоков все еще проявляется значительное остаточное влияние отклонения прибора, требующее дальнейшей коррекции другим способом, часто требующее дополнительной и, возможно, недоступной информации относительно условий каротажа.
Методы, которые используют простую зависимость между ответами на ближнем и дальнем детекторах, являются интуитивно привлекательными, но имеют недостатки: а) на практике требуются очень большие базы данных характеристик прибора в известных условиях; b) необходимы точные и часто очень сложные схемы интерполяции, когда условия, встречающиеся во время каротажа, не находятся вблизи точки базы данных; и с) неспособность получать разумный ответ, когда во время каротажа встречается характеристика, которая выпадает из «карты» базы данных характеристик, определенных при известных условиях.
1. Способ определения плотности подземного пласта, окружающего буровую скважину, из измерения гамма-излучения, возникающего от облучения пласта ядерным источником в корпусе прибора, расположенного в буровой скважине, и измерения потока гамма-излучения в корпусе прибора при двух различных расстояниях детекторов от источника, при этом способ содержит:- определение по существу прямолинейного соотношения между измерениями потоков гамма-излучения при каждом отличающемся расстоянии детекторов применительно к плотности пласта в случае отсутствия отклонения корпуса прибора;- определение соотношения, устанавливающего девиацию плотности за счет отклонения прибора, определяемой на основании измерений измеряемого потока гамма-излучения при двух различных расстояниях детекторов, по плотности, вычисляемой на основании прямолинейных соотношений; и- для данной пары измерений потока гамма-излучения при различных расстояниях детекторов определяют пересечение соотношения, устанавливающего девиацию с прямолинейным соотношением с тем, чтобы обозначить плотность пласта, окружающего буровую скважину;при этом источник представляет собой нейтронный источник, а гамма-излучение, измеряемое в корпусе прибора, представляет собой наведенное нейтронами гамма-излучение, являющееся результатом на основании нейтронного облучения пласта.
2. Способ по п.1, дополнительно содержащий измерения потока гамма-излучения в корпусе прибора при двух различных расстояниях детекторов от источника.
3. Способ по п.1 или 2, в котором поток нейтронов из пласта измеряют в корпусе прибора при двух различных расстояниях детекторов от источника, при этом способ содержит использование измерений потока нейтронов для того, чтобы корректировать измерения потока гамма-излучения за влияние переноса нейтронов к точке возникновения наведенного нейтронами гамма-излучения.
4. Способ по п.1 или 2, в котором измеряемый поток гамма-излучения содержит гамма-излучение, являющееся результатом неупругих взаимодействий между нейтронами и компонентами пласта.
5. Способ по п.3, в котором измеряемый поток гамма-излучения содержит гамма-излучение, являющееся результатом неупругих взаимодействий между нейтронами и компонентами пласта.
6. Способ по п.1 или 2, в котором измерение потока гамма-излучения содержит измерение гамма-излучения, являющегося результатом реакций захвата между нейтронами и компонентами пласта.
7. Способ по п.3, в котором измерение потока гамма-излучения содержит измерение гамма-излучения, являющегося результатом реакций захвата между нейтронами и компонентами пласта.
8. Способ по п.4, в котором измерение потока гамма-излучения содержит измерение гамма-излучения, являющегося результатом реакций захвата между нейтронами и компонентами пласта.
9. Способ по п.6, содержащий измерение гамма-излучения, являющегося результатом реакций захвата тепловых нейтронов.
10. Способ по п.1 или 2, дополнительно содержащий измерение потока нейтронов из пласта в корпусе прибора при двух различных расстояниях детектора от источника.
11. Способ по п.3, дополнительно содержащий измерение потока нейтронов из пласта в корпусе прибора при двух различных расстояниях детектора от источника.
12. Способ по п.6, дополнительно содержащий измерение потока нейтронов из пласта в корпусе прибора при двух различных расстояниях детектора от источника.
13. Способ по п.4, в котором плотность вычисляют на основании измерений потока гамма-излучения на расстоянии в соответствии с соотношением:ρ=a-b*ln(net-inel/F(n)),где а и b являются экспериментально получаемыми постоянными, net-inel представляет результирующий поток гамма-излучения при неупругом рассеянии, измеряемый на детекторе гамма-излучения, расположенном на рассматриваемом расстоянии, и F(n) является потоком нейтронов, измеряемым на соответствующем детекторе нейтронов.
14. Способ по п.10, в котором плотность вычисляют на основании измерений потока гамма-излучения на расстоянии в соответствии с соотношением:ρ=a-b*ln(net-inel/F(n)),где а и b являются экспериментально получаемыми постоянными, net-inel представляет результирующий поток гамма-излучения при неупругом рассеянии, измеряемый на детекторе гамма-излучения, расположенном на рассматриваемом расстоянии, и F(n) является потоком нейтронов, измеряемым на соответствующем детекторе нейтронов.
15. Способ по п.1 или 2, в котором для данной пары измерений потоков плотность вычисляют при коррекции плотности, определяемой при измерении потока дальше всего от источника, используя измерение потока ближе всего к источнику, в соответствии с соотношением:ρb=ρLS+Δρ,где ρb является плотностью пласта, ρLS является плотностью, вычисляемой на основании измерения потока дальше всего от источника, и Δρ является девиацией плотности вследствие отклонения.
16. Способ по п.3, в котором для данной пары измерений потоков плотность вычисляют при коррекции плотности, определяемой при измерении потока дальше всего от источника, используя измерение потока ближе всего к источнику, в соответствии с соотношением:ρb=ρLS+Δρ,где ρb является плотностью пласта, ρLS является плотностью, вычисляемой на основании измерения потока дальше всего от источника, и Δρ является девиацией плотности вследствие отклонения.
17. Способ по п.13, в котором для данной пары измерений потоков плотность вычисляют при коррекции плотности, определяемой при измерении потока дальше всего от источника, используя измерение потока ближе всего к источнику, в соответствии с соотношением:ρb=ρLS+Δρ,где ρb является плотностью пласта, ρLS является плотностью, вычисляемой на основании измерения потока дальше всего от источника, и Δρ является девиацией плотности вследствие отклонения.
18. Способ по п.15, в котором Δρ вычисляют в соответствии с соотношением вида:Δρ=A(ρLS-ρSS)+B(ρLS-ρSS)2+C(ρLS-ρSS)3+,где ρSS является плотностью, вычисляемой на основании измерения потока ближе всего к источнику, и А, В, С, - экспериментально получаемые постоянные.
19. Установка для определения плотности пласта, окружающего буровую скважину, при этом установка содержит:- корпус прибора для расположения в буровой скважине;- нейтронный источник в корпусе прибора для облучения пласта; и- первый и второй детекторы, расположенные в корпусе прибора на соответствующих первом и втором расстояниях от нейтронного источника;в которой первый и второй детекторы выполнены с возможностью обнаружения гамма-излучения, являющегося результатом от облучения нейтронами пласта; при этом установка также содержит систему обработки для- определения по существу прямолинейного соотношения между измерениями потоков гамма-излучения при каждом отличающемся расстоянии детекторов применительно к плотности пласта в случае отсутствия отклонения корпуса прибора;- определения соотношения, устанавливающего девиацию плотности за счет отклонения прибора, определяемой на основании измерений измеряемого потока гамма-излучения при двух различных расстояниях детекторов, по плотности, вычисляемой на основании прямолинейных соотношений; и- для данной пары измерений потока гамма-излучения при различных расстояниях детекторов определения пересечения соотношения, устанавливающего девиацию, с прямолинейным соотношением с тем, чтобы обозначить плотность пласта, окружающего буровую скважину.
20. Установка по п.19, в которой система обработки выполнена с возможностью осуществления способа по п.1 или 2.
21. Установка по п.19, в которой система обработки выполнена с возможностью осуществления способа по п.3.
22. Установка по п.19, в которой система обработки выполнена с возможностью осуществления способа по п.4.
23. Установка по п.19, в которой система обработки выполнена с возможностью осуществления способа по п.10.
24. Установка по п.19, в которой система обработки выполнена с возможностью осуществления способа по п.13.
25. Установка по п.19, в которой система обработки выполнена с возможностью осуществления способа по п.15.
 
                         
                            


