Усовершенствованная конструкция рамы конька
Иллюстрации
Показать всеПредложена рама конька, состоящая из нижней части, содержащей средство обеспечения плавного движения для перемещения по поверхности для плавного движения, и верхней части, имеющей одну или более опорных поверхностей, предназначенных для поддерживания ботинка пользователя. Обе указанные части снабжены выступами, которыми они механически сопрягаются между собой. Взаимное замыкание между сопрягаемыми поверхностями указанных выступов предотвращает взаимные смещения частей рамы вдоль заданных направлений. Технический результат заключается в предотвращении взаимных смещений верхней и нижней рам конька. 2 н. и 13 з.п. ф-лы, 18 ил.
Реферат
Область техники, к которой относится изобретение
Изобретение относится к усовершенствованной конструкции рамы коньков, таких как коньки для катания по льду (ледовые коньки) и роликовые коньки-инлайны.
Уровень техники
Общеизвестно, что каждый тип конька отличается от других конструкцией рамы. В коньках для фигурного катания по льду в качестве средства обеспечения плавного движения применяют стальное лезвие, которое сплавлено в единое целое с верхним участком рамы, функционально сопряженным с подошвой ботинка пользователя.
Как показано в патенте США №3537716, в результате образуется монолитная конструкция, обладающая очень высокой прочностью и длительным сроком службы. К сожалению, она обычно отличается весьма большим весом и значительной жесткостью. Поскольку не предусмотрено наличие средства гашения колебаний, возникающих во время катания на коньках, большая часть толчков и вибраций передается фигуристу.
В традиционном коньке для хоккея на льду верхняя часть рамы обычно изготовлена из пластикового материала. Для перманентного или съемного прикрепления к ней нижней части рамы, несущей стальное лезвие, образующее беговую поверхность конька, применяют надлежащие крепежные приспособления. Упомянутую пластиковую верхнюю часть рамы, как правило, выбирают таким образом, чтобы обеспечить возможность замены лезвия конька. Обычно указанную пластиковую часть рамы получают посредством литья под давлением. Это ограничивает ее прочность и жесткость, поскольку волокна пластика короткие и ориентированы случайным образом, т.е. свойства рамы имеют, по существу, изотропный характер.
Поэтому указанная часть рамы конька должна иметь большие размеры и значительный объем в зонах соединения пятки и носка, в результате чего вес рамы превышает необходимый уровень.
Кроме того, термопластичные материалы, обычно используемые в процессах литья под давлением, чувствительны к температуре и влажности и могут изменять свои размеры, а также прочность и жесткость.
Наконец, в такой традиционной конструкции рамы конька в общем случае не предусмотрено гашение толчков, возникающих при приземлении на лед после прыжка, а также в результате соударения с шайбой или с другим твердым предметом.
В патенте США №4336948 приведен пример рамы конька, в которой на участке, содержащем лезвие, выполнены отверстия для введения в них элементов присоединяемой верхней части рамы из пластика.
Патент США №5484148 описывает другой пример, согласно которому лезвие удерживается жестким компонентом с образованием узла, закрепленного внутри пластиковой рамы, присоединенной к ботинку.
В патенте США №6318738 представлена рама фигурного конька, для изготовления которой использован более легкий материал.
Различные примеры ледовых коньков, включая хоккейные, представлены в патенте США №4131288. В них использована легкая алюминиевая часть рамы, к которой с помощью крепежных приспособлений прикреплено сменное стальное лезвие.
Примеры, в которых полимерный участок рамы прикреплен к металлическому лезвию, приведены в патентах США №№3954378, 3967832, 4071938, 4085944, 4093249, 4053168, 4074909 и 4088435.
В патенте США №4826183 описаны ботинок, армированный волокном, и конструкция рамы для ледового конька. Патент США №6523835 описывает раму конька, армированную волокном, а в патенте США №6105975 представлена легкая, но, тем не менее, жесткая рама конька с профилем, имеющим просветы, которую можно изготовить из композитов, армированных волокном.
Примеры использования таких композитов для уменьшения веса и улучшения функциональных свойств роликовых коньков-инлайнов приведены в патентах США №№5904360, 5934692, 6328317, 6345827, 6422577, 6446984, 7214337 и 6851681, а также в патентной заявке США №2004/0195786. Известны многочисленные примеры формирования систем подвески в коньках, в первую очередь в роликовых коньках-инлайнах (см. патенты США №№6871860, 6543792, 6491309, 6478313, 6209889, 6196557, 6053512, 6029984, 5979916, 5951027, 5918889, 5890724, 5842706, 5823543, 5586774, 5551713, 5551712 и 5405156).
Из приведенного обзора очевидно, что существует постоянная потребность в разработке усовершенствованных рам для коньков.
Раскрытие изобретения
Для удовлетворения указанной потребности настоящее изобретение предлагает раму конька, отвечающую п.1 прилагаемой формулы.
Рама конька согласно изобретению существенно отличается от обычных концепций и конструкций, известных из уровня техники. Цель разработки указанной рамы, в первую очередь, заключалась в уменьшении веса, обеспечении заданной жесткости, увеличении прочности, повышении эффективности при гашении вибраций и толчков, а также в улучшении внешнего вида.
Согласно изобретению рама конька имеет нижнюю часть, содержащую средство обеспечения плавного движения для передвижения по поверхности для плавного движения, а также один или более первых выступов, направленных, по существу, вверх относительно средства обеспечения плавного движения и имеющих одну или более первых сопрягаемых поверхностей.
Рама конька согласно изобретению имеет, кроме того, верхнюю часть, содержащую одну или более опорных поверхностей, предназначенных для поддерживания ботинка пользователя, и один или более вторых выступов, направленных, по существу, вниз относительно указанных опорных поверхностей.
Вторым выступам предпочтительно придан профиль, обеспечивающий формирование гнезд (или каналов), по меньшей мере, для частичного введения в них первых выступов нижней части рамы конька.
Вторые выступы имеют одну или более вторых сопрягаемых поверхностей, предпочтительно находящихся внутри указанных гнезд, причем эти поверхности механически сопрягаются с первыми сопрягаемыми поверхностями первых выступов.
За счет взаимного замыкания между первыми и вторыми сопрягаемыми поверхностями предотвращаются взаимные смещения верхней и нижней частей рамы конька, по меньшей мере, вдоль заданных первой и второй осей.
Предпочтительно, чтобы взаимное замыкание первых выступов и соединительных гнезд формировало стабильное соединение, предотвращающее взаимные смещения частей рамы, по меньшей мере, вдоль двух заданных осей, лежащих в горизонтальной плоскости, по существу, параллельно поверхности для плавного движения.
Более конкретно, предотвращаются взаимные смещения частей рамы вдоль первой оси, по существу, соответствующей продольной оси рамы конька, ориентированной по направлению назад-вперед, а также вдоль второй оси, по существу, соответствующей поперечной оси рамы конька, ориентированной по направлению от одной боковой стороны рамы к другой.
Можно получить дополнительное преимущество, предотвратив с помощью склеивающих или адгезивных материалов взаимные смещения частей рамы вдоль третьей (вертикальной) оси, которая, по существу, перпендикулярна поверхности для плавного движения.
Вместе с тем, согласно одному из вариантов осуществления изобретения верхнюю и нижнюю части рамы конька можно сконструировать таким образом, чтобы взаимное замыкание между указанными первой и второй сопрягаемыми поверхностями предотвращало также и взаимные смещения по третьей (вертикальной) оси в ситуации, когда ботинок пользователя функционально сопряжен с рамой конька.
При таком подходе для соединения частей рамы можно полностью исключить традиционные крепежные приспособления типа заклепок и винтов, в результате чего улучшаются весовые и эстетические параметры рамы конька.
Обычно применение только адгезива без механических крепежных приспособлений увеличивает вероятность отсоединения лезвия от рамы во время использования конька.
С рамой согласно изобретению такая вероятность ничтожно мала.
Фактически взаимные смещения частей рамы предотвращаются сами по себе по меньшей мере по двум заданным осям за счет механического сопряжения взаимно замкнутых первой и второй частей рамы, равномерно распределяющих нагрузки на обе эти части.
На практике для дополнительного увеличения зоны сцепления предусмотрена желательная возможность сформировать вторые выступы с гнездами, имеющими U-образное сечение. В таком варианте первые выступы могут иметь относительно вытянутые оконечности или боковые поверхности.
Предпочтительно в раме конька нижнюю часть изготовить из металлического материала, а верхнюю - из композитов. Тем самым улучшаются такие параметры рамы, как вес, жесткость, гашение вибраций и возможность выбора размеров.
Рама по настоящему изобретению способна обеспечить улучшенные характеристики гашения вибраций и наличие специальных зон жесткости, разнесенных по длине рамы. На практике может оказаться желательным расположить первые и вторые выступы под углом в соответствии с требованиями, связанными с изменением свойств пассивной подвески, обеспечиваемой рамой.
Рама по настоящему изобретению представляет собой надежную конструкцию с длительным сроком службы. Ее можно изготовить легко и эффективно, причем при низких материальных и трудовых затратах.
Кроме того, предусмотрена возможность соединять одну и ту же верхнюю часть рамы конька с различными нижними частями рамы, различающимися размером средства обеспечения скольжения.
Таким образом, одну и ту же верхнюю часть можно использовать для коньков, имеющих различные размеры, что позволяет существенно понизить стоимость необходимых запасов и затраты на изготовление.
Наконец, раму по настоящему изобретению можно легко выполнить с индивидуализированным внешним видом и улучшенными эстетическими показателями.
Краткое описание чертежей
Для лучшего понимания настоящего изобретения и его преимуществ
дальнейшее описание содержит ссылки на прилагаемые чертежи, на которых
фиг.1 в перспективном изображении представляет раму конька согласно
первому варианту изобретения,
фиг.2 представляет раму по фиг.1 на виде сбоку,
фиг.3 представляет раму по фиг.1 в перспективном изображении с
пространственным разделением компонентов,
фиг.4 представляет раму по фиг.1 на виде сбоку с пространственным разделением компонентов,
фиг.5 представляет компонент рамы по фиг.1 в перспективном изображении,
фиг.6 представляет компонент по фиг.5 в другом перспективном изображении,
фиг.7 представляет компонент по фиг.5 на виде сбоку,
фиг.8 представляет компонент по фиг.5 на виде спереди,
фиг.9 представляет компонент по фиг.5 в частичном разрезе,
фиг.10 представляет компонент по фиг.5 на другом виде, в частичном разрезе,
фиг.11 представляет другой компонент рамы в перспективном изображении,
фиг.12 представляет компонент по фиг.11 в другом перспективном изображении,
фиг.13 представляет компонент по фиг.11 на виде сбоку,
фиг.14 представляет компонент по фиг.11 на виде спереди,
фиг.15 представляет компонент по фиг.11 в разрезе,
фиг.16 представляет компонент по фиг.11 в другом разрезе,
фиг.17 на виде сбоку представляет раму конька согласно второму варианту изобретения и
фиг.18 на виде сбоку представляет раму конька согласно третьему варианту изобретения.
Осуществление изобретения
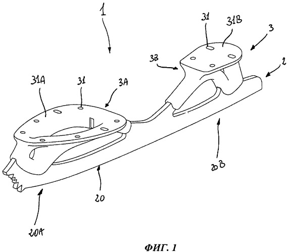
Как видно из прилагаемых чертежей, настоящее изобретение относится к конструкции рамы 1 конька, состоящей из нижней и верхней частей. Нижняя часть 2 содержит средство 20 обеспечения плавного движения, предназначенное для перемещения по поверхности 500 для плавного движения, а верхняя часть 3 имеет одну или более опорных поверхностей 31А, 31В для поддерживания не показанного на чертежах ботинка пользователя.
Средство 20 обеспечения плавного движения может представлять собой стальное лезвие (см. фиг.1-17) для перемещения по поверхности льда или несколько линейно расположенных роликов (см. фиг.18) для перемещения по земле. Возможны также и другие устройства, пригодные для обеспечения плавного движения.
Фактически раму 1 конька можно успешно использовать в коньках различных типов, таких, например, как ледовые коньки (см. фиг.1-17) или роликовые коньки-инлайны (см. фиг.18).
Далее, только для упрощения изложения, рама 1 будет рассматриваться главным образом в варианте ее применения в ледовых коньках.
Нижняя часть 2 рамы содержит один или более первых выступов 211-216, направленных, по существу, вверх относительно средства 20 обеспечения плавного движения, т.е. от поверхности 500 для плавного движения.
Первые выступы имеют одну или более первых сопрягаемых поверхностей 200А, 200В, которые предназначены для обеспечения удобного механического сопряжения и представляют собой зону, пригодную для осуществления соединения.
Предпочтительно выполнить первые выступы консольными. Термин "консольный выступ" относится к выступающим элементам рамы, которые соединены с ней только на одном своем участке.
Однако, если это потребуется, один или более первых выступов могут иметь также форму петли или замкнутой фигуры.
Опорные поверхности 31А, 31В верхней части 3 рамы можно выполнить сплошными, такими как опорная поверхность 31В, или имеющими кольцевую форму, такую как опорная поверхность 31А, или иные формы, согласованные с кривизной подошвы ботинка пользователя.
Для механического присоединения ботинка пользователя к раме конька предпочтительно выполнить в опорных поверхностях 31А, 31В отверстия 31, предназначенные для введения в них известных крепежных средств (не показаны), таких как заклепки или винты.
Верхняя часть 3 рамы содержит один или более вторых выступов 311-314, направленных вниз относительно опорных поверхностей 31А, 31В, т.е. в сторону поверхности 500 для плавного движения.
Вторые выступы также можно выполнить консольными, такими, например, как выступы 312, 313.
Предпочтительно придать вторым выступам такую форму, чтобы они формировали одно или более соединительных гнезд (каналов) 311А, 312А, 313В, 314В. Указанные гнезда имеют одну или более вторых сопрягаемых поверхностей 300А, 300В, которые предназначены для обеспечения удобного механического сопряжения и представляют собой зону, пригодную для осуществления соединения.
Для успешного соединения требуется, чтобы соединительные гнезда 311А, 312А, 313В и 314В, по меньшей мере, частично соответствовали первым выступам 211-215. Тогда вторые сопрягаемые поверхности 300А, 300В указанных гнезд будут иметь возможность образовать механическое сопряжение с первыми сопрягаемыми поверхностями 200А, 200В первых выступов.
Посредством такого механического сопряжения обеспечивается взаимное замыкание между первыми сопрягаемыми поверхностями 200А, 200В и вторыми сопрягаемыми поверхностями 300А, 300В, предотвращающее взаимные смещения верхней и нижней частей 3, 2 рамы 1 конька, по меньшей мере, вдоль первой оси X и второй оси Y.
Согласно предпочтительному варианту осуществления изобретения указанные смещения блокируются по осям, лежащим в горизонтальной плоскости (X, Y), по существу, параллельно поверхности 500 для плавного движения.
Более конкретно, предотвращаются взаимные смещения частей 2, 3 рамы вдоль первой оси X, которая, по существу, соответствует продольной оси рамы конька (она ориентирована по направлению назад-вперед), а также вдоль второй оси Y, по существу, соответствующей поперечной оси рамы конька (она ориентирована по направлению от одной боковой стороны рамы к другой).
Другими словами, посредством описанного взаимного замыкания сопрягаемых поверхностей 200А, 200В с сопрягаемыми поверхностями 300А, 300В предотвращаются взаимные смещения частей 2, 3 рамы, по меньшей мере, в продольных и боковых направлениях от центра рамы назад и вперед и от одной боковой стороны рамы к другой соответственно Предпочтительно, чтобы для связывания частей 2, 3 рамы на первые выступы 212-216 и в соответствующие им соединительные гнезда 311А-314В наносились адгезивы или такие клеящие материалы, как эпоксиды.
Такое техническое решение предотвращает смещения частей 2, 3 рамы и по третьей (вертикальной) оси Z, по существу перпендикулярной указанной поверхности 500, и, кроме того, повышает прочность и стабильность соединения по осям X, Y.
Предпочтительно, чтобы, как показано на приведенных чертежах, соединительные гнезда 311А, 312А, 313В и 314В имели U-образное сечение, а соответствующие им первые выступы 211-216, входящие внутрь ответных U-образных гнезд, имели прямоугольные сечения.
Желательно предусмотреть возможность выполнить первые выступы с оконечностями относительно большого размера (как это показано на примере выступов 213, 214) или со ступенчатым профилем (как это показано на примере выступов 212, 215). В результате образуются протяженные зоны сопряжения, гарантирующие еще более надежное соединение между частями 2, 3 рамы.
Кроме того, чтобы обеспечить увеличение поверхности сопряжения, можно увеличить количество первых выступов.
Поскольку рама конька вытянута вдоль главной продольной оси X, можно выделить в нижней части 2 рамы носковый участок 20А и пяточный участок 20 В (см. фиг.1, 2).
Носковый участок 20А содержит первые носковые выступы 211-213 (см. фиг.3), образующие первые носковые сопрягаемые поверхности 200А.
Аналогичным образом, пяточный участок 20В содержит первые пяточные выступы 214-216, образующие первые пяточные сопрягаемые поверхности 200В.
В предпочтительном варианте осуществления изобретения верхняя часть 3 рамы содержит отделенные друг от друга носковый участок, называемый подошвой 3А конька, и пяточный участок, называемый каблуком 3В конька.
Подошва и каблук 3А и 3В конька удобным образом функционально сопряжены соответственно с носковым и пяточным участками 20А, 20 В нижней части 2 рамы.
Для этого подошва 3А содержит вторые носковые выступы 311, 312, направленные, по существу, вниз относительно опорной поверхности 31А подошвы. Как указывалось выше, предпочтительно придать этим вторым носковым выступам 311, 312 форму, образующую носковые соединительные гнезда 311А, 312А, соответствующие первым носковым выступам 211-213 носкового участка 20А нижней части 2 рамы.
В результате вторые носковые сопрягаемые поверхности 300А носковых соединительных гнезд механически сопрягаются с первыми носковыми сопрягаемыми поверхностями 200А первых носковых выступов.
В предпочтительном варианте указанные вторые пяточные выступы образуют пяточные соединительные гнезда 313В, 314В, соответствующие первым пяточным выступам 214-216, так что одна или более вторых пяточных сопрягаемых поверхностей 300В пяточных соединительных гнезд 313В, 314В механически сопрягаются с первыми пяточными сопрягаемыми поверхностями 200 В первых пяточных выступов 214-216.
Выбор верхней части рамы в виде раздельных деталей (подошвы и каблука 3А, 3В) обеспечивает преимущество в плане эстетики и понижения веса, гарантируя в то же время оптимальное соединение рамы 1 конька с ботинком пользователя.
Согласно изобретению предпочтительно расположить первые выступы 211-216 под углом, чтобы предотвратить взаимные смещения между деталями (подошвой и каблуком) 3А, 3В верхней части 3 рамы и соответствующими (носковым и пяточным) участками 20А, 20 В нижней части 2 рамы также и по третьей (вертикальной) оси Z, когда к указанным деталям 3А, 3В прикреплен ботинок пользователя.
Например, можно расположить под углом друг к другу по меньшей мере два из первых носковых выступов 211-213. Тогда взаимное замыкание между первыми носковыми сопрягаемыми поверхностями 200А и вторыми носковыми сопрягаемыми поверхностями 300А позволит предотвратить любые взаимные смещения подошвы 3А и носкового участка 20А по третьей оси Z, когда к подошве и каблуку 3А, 3В рамы прикреплен ботинок пользователя.
Для этого по меньшей мере два выступа из комплекта первых носковых выступов 211-213 могут быть наклонены под углами противоположного знака, т.е. по меньшей мере по двум непараллельным осям из набора осей А1-А3, которые в предпочтительном варианте лежат в одной и той же вертикальной плоскости (X, Z) и пересекаются в зоне, расположенной выше поверхности 500 для плавного движения.
В частности, на фиг.4 оси А1 и А2, по существу, параллельны и пересекают ось A3 в зоне, расположенной над средством 20 обеспечения плавного движения. Естественно, возможен вариант, в котором все оси А1, А2 и A3 взаимно непараллельны.
В более общем случае первые носковые выступы 211-213 могут располагаться под углом таким образом, чтобы они проходили по непараллельным плоскостям, пересекаясь своими продолжениями в зоне, расположенной выше указанной поверхности 500.
Таким образом, можно легко провести функциональное сопряжение подошвы 3А рамы с носковым участком 20А нижней части 2 рамы во время сборки рамы 1 конька. Однако любые относительные смещения деталей по осям X, Y и Z предотвращаются, как только будет установлен ботинок пользователя. Таким образом, взаимное замыкание между первыми и вторыми носковыми сопрягаемыми поверхностями 200В, 300В предотвращает взаимные смещения также и по третьей оси Z, когда к подошве и каблуку 3А, 3В рамы прикреплен ботинок пользователя.
В этом случае также по меньшей мере два из первых пяточных выступов 214-216 могут располагаться под углами противоположных знаков, т.е. по осям В1-В3, в предпочтительном варианте лежащим в одной плоскости, причем по меньшей мере две из них не параллельны одна другой. Оси В1-В3 пересекаются в зоне, расположенной выше поверхности 500 для плавного движения.
Например, на фиг.4 все оси В1-В3 взаимно непараллельны и пересекаются в зоне, расположенной над средством 20 обеспечения плавного движения.
В более общем случае первые пяточные выступы 214-216 могут располагаться под углом таким образом, чтобы они проходили по непараллельным плоскостям, пересекаясь своими продолжениями в зоне, расположенной выше указанной поверхности 500.
Таким образом, можно легко осуществить функциональное сопряжение каблука 3В с пяточным участком 20В нижней части 2 рамы во время сборки рамы 1 конька. Любые относительные смещения деталей по осям X, Y и Z снова полностью предотвращаются, как только ботинок пользователя будет функционально сопряжен с рамой 1 конька.
Согласно альтернативному варианту осуществления изобретения верхняя часть 3 рамы выполнена в виде цельной детали, образующей подошву 30А и каблук 30В рамы (см. фиг.17).
Подошва 30А содержит вторые носковые выступы 3110, 3120, направленные вниз относительно ее опорной поверхности 31А.
Предпочтительно сформировать указанные выступы 3110, 3120 таким образом, чтобы они образовывали носковые соединительные гнезда (на чертеже не показаны), в предпочтительном варианте подобные гнездам, описанным выше. Данным гнездам отвечают первые носковые выступы носкового участка 20А нижней части 2 рамы (на чертеже не показанные, но в предпочтительном варианте подобные выступам, описанным выше).
В результате появляется возможность механического сопряжения вторых носковых сопрягаемых поверхностей указанных носковых соединительных гнезд с соответствующими первыми носковыми сопрягаемыми поверхностями первых носковых выступов.
Аналогичным образом, каблук 30В содержит вторые пяточные выступы 3130, 3140, направленные вниз относительно опорной поверхности 31В каблука.
В предпочтительном варианте указанные выступы 3130, 3140 сформированы таким образом, чтобы они образовывали пяточные соединительные гнезда (на чертеже не показаны), предпочтительно подобные гнездам, описанным выше. Данным гнездам отвечают первые пяточные выступы (на чертеже не показаны), предпочтительно подобные описанным выше выступам пяточного участка 20 В нижней части 2 рамы.
При этом вторые пяточные сопрягаемые поверхности указанных пяточных гнезд механически сопрягаются с соответствующими им первыми пяточными сопрягаемыми поверхностями первых пяточных выступов.
Предпочтительно спроектировать верхнюю и нижнюю части рамы конька так, чтобы получить для нее конструкцию, содержащую один или более просветов 50А, 50В, 51А, 51В.
Таким образом, формируется конструкция рамы с несплошным контуром (при рассмотрении с боковой стороны конька). Сформированная описанным образом конструкция имеет целостный и обтекаемый контур, что может являться важным фактором для определенных видов спорта, таких как фигурное катание.
По сравнению с традиционными стальными рамами толщина верхней части 3 рамы увеличена, но на виде сбоку этого не видно.
Преимущество увеличенной толщины заключается в том, что для фигуриста обеспечивается повышенная комфортность при захвате рамы конька во время выполнения определенных фигур в процессе спортивного выступления. Например, чтобы было более удобно располагать пальцы на раме, предусмотрена возможность выполнить один или более упомянутых просветов специальным образом, а именно с закругленными углами.
Для погашения толчков, возникающих при прыжках и приземлениях спортсменов, рама по настоящему изобретению способна создавать эффект пассивной подвески. Преимущества указанных эффектов реализуются за счет удлинения первых выступов 213, 214 нижней части 2 рамы и вторых выступов 312, 313 верхней части 3 рамы.
Величину эффекта подвески можно легко регулировать варьированием размера, длины, угла и зоны контакта между указанными выступами. Например, уменьшение углов между выступами 213, 214 и лезвием 20 конька приведет к усилению гашения отклонений и толчков.
Для обеспечения эксплуатационной надежности предпочтительно, чтобы нижняя часть 2 рамы конька, по меньшей мере частично, была изготовлена из металлических материалов, таких как сталь, алюминий или титан. Для этого можно использовать также керамические и/или наноструктурные материалы.
Верхнюю часть 3 рамы предпочтительно изготовить из композитных материалов, таких как эпоксидные материалы, армированные углеродным волокном. Такое техническое решение обеспечивает различные преимущества.
Так, применение композитных материалов, армированных углеродным волокном, по сравнению с традиционной стальной конструкцией может при гораздо более легком весе обеспечить эквивалентные жесткость и прочность.
Далее, можно получить прочную конструкцию рамы конька, в которой длинные ориентированные углеродные волокна позволяют обеспечить жесткость и прочность в любом выбранном направлении. Такая анизотропная система может оказаться предпочтительной, если в конкретных зонах или направлениях нужно уменьшить или увеличить жесткость.
Композитные материалы гасят вибрации лучше, чем металлы. Поэтому такая рама по сравнению с обычными стальными рамами гарантирует более плавное и стабильное катание.
Прочную конструкцию с минимальным объемом обеспечивает использование компрессионного формования. В добавление к сказанному, применение указанного процесса позволяет легко сформировать соединительные гнезда верхней части 3 рамы, имеющие U-образную форму, или просветы (например, просветы 50А, 50В) в раме.
Препрег (полуфабрикат композитного пластика) представляет собой сырьевой материал в листовой форме, в котором армирующие волокна пронизывают термоотверждающуюся вязкую среду, такую как эпоксид. Указанная среда находится в жидкой форме "В Stage", которую можно легко отвердить, используя нагрев и давление. Волокна могут переплетаться, как в ткани, или иметь ненаправленный характер, причем известно множество высокоэффективных армирующих волокон из таких материалов, как углерод, арамид, стекло и другие подобные вещества.
По своей классификации волокна относятся к длинным волокнам, имеющим предпочтительную длину 10 мм или более и ориентированным специальным образом, обеспечивающим требуемые жесткость и прочность.
Материал препрега обычно поступает в продажу в виде непрерывного рулона или намотанным на барабан. Во втором случае сегменты листа имеют меньшую длину.
Чтобы получить правильную ориентацию волокон, препрег разрезают под различными углами или посредством штамповки вырезают куски, имеющие специальные конфигурации.
Такие полоски в типичном варианте помещают в полость пресс-формы, причем вариации количества слоев, ориентации, перекрываний и толщины зависят от размеров полости и требований, предъявляемых к прочности. Затем пресс-форму закрывают и переносят в нагретый плиточный пресс, который закрывает пресс-форму, чтобы подвергнуть слои препрега сжатию.
Когда в пресс-форме поднимается температура, вязкость эпоксидной смолы уменьшается и слои препрега сжимаются и объединяются, надавливая друг на друга до момента, когда спрессовывание будет завершено, а эпоксидная смола образует поперечные сшивки и отвердится.
После этого пресс-форму открывают и удаляют из нее изготовленную деталь.
В другом предпочтительном способе изготовления верхней части рамы из композитных материалов предусмотрена возможность использовать технологию литья под давлением.
В этом случае предпочтительно используют короткие волокна, имеющие обычно длину менее 10 мм и ограниченный уровень ориентации. Однако литье под давлением может оказаться отличной альтернативой в случае изготовления частей рамы, характеризуемых пониженной стоимостью, или в случае, когда для верхней части рамы не требуется особая прочность (например, для рам детских коньков). Использование литья под давлением позволяет также повысить технологическую гибкость производства рам коньков, что может оказаться актуальным для определенных конструкций.
Следующей альтернативой является комбинирование литья под давлением и компрессионного формования с получением частей рамы, обладающих индивидуальными свойствами. Например, верхняя часть рамы может содержать гибкую основу (сердцевину), сформированную литьем под давлением, поверх которой компрессионным формованием образуется жесткая наружная оболочка.
Еще одна альтернатива заключается в применении компрессионного формования, использующего длинные волокна, для носочного участка рамы, и литья под давлением, использующего короткие волокна, для пяточного участка рамы (или наоборот).
При проектировании конструкции рамы 1 конька предусмотрена возможность надлежащим образом обеспечивать ее жесткость и упругость, отвечающие предъявляемым требованиям.
Перечень выбираемых параметров включает размер, количество и ориентацию выступов частей 2, 3 рамы, а также количество эквивалентных соединительных точек между верхней частью 3 и средством 20 обеспечения плавного движения. Указанными параметрами задаются механические свойства рамы 1 во время катания на коньках и воздействие на внешний вид конструкции рамы, отвечающее предъявляемым требованиям.
1. Рама (1) конька, содержащая:- нижнюю часть (2), содержащую средство (20) обеспечения плавного движения для перемещения по поверхности (500) для плавного движения, два или более первых носковых выступов (211, 212, 213) и два или более первых пяточных выступов (211, 212, 213), которые направлены вверх по отношению к средству обеспечения плавного движения, причем первые носковые выступы имеют две или более первых носковых сопрягаемых поверхностей (200А), а первые пяточные выступы имеют две или более первых пяточных сопрягаемых поверхностей (200В), и- верхнюю часть (3), содержащую пространственно разделенные подошву (3А) и каблук (3В) для поддерживания ботинка пользователя, при этомподошва содержит два или более вторых носковых выступов (311, 312), которые направлены вниз по отношению к подошве и имеют одну или более вторых носковых сопрягаемых поверхностей (300А), механически сопрягающихся с первыми носковыми сопрягаемыми поверхностями (200А), а каблук содержит два или более вторых пяточных выступов (313, 314), которые направлены вниз по отношению к каблуку и имеют две или более вторых пяточных сопрягаемых поверхностей (300В), механически сопрягающихся с первыми пяточными сопрягаемыми поверхностями (200В);по меньшей мере два первых носковых выступа (211, 212, 213) наклонены под углами противоположного знака и по меньшей мере два первых пяточных выступа (214, 215, 216) наклонены под углами противоположного знака с предотвращением, в результате взаимного замыкания между первыми носковыми сопрягаемыми поверхностями и вторыми носковыми сопрягаемыми поверхностями и между первыми пяточными сопрягаемыми поверхностями и вторыми пяточными сопрягаемыми поверхностями, взаимных смещений верхней и нижней частей рамы конька, по меньшей мере, вдоль первой оси (X), второй оси (Y) и третьей оси (Z), когда ботинок пользователя прикреплен к подошве и каблуку рамы.
2. Рама по п.1, отличающаяся тем, что первая ось (X) и вторая ось (Y), по существу, параллельны поверхности для плавного движения.
3. Рама по п.2, отличающаяся тем, что первая ось (X), по существу, является продольной осью рамы конька, ориентированной по направлению назад-вперед, а вторая ось (Y), по существу, является поперечной осью рамы конька, ориентированной по направлению от одной боковой стороны рамы к другой.
4. Рама по п.1, отличающаяся тем, что вторым выступам придан профиль, обеспечивающий формирование одного или более соединительных гнезд (311А, 312А, 313В, 314В), которые соответствуют, по меньшей мере частично, первым выступам.
5. Рама по п.4, отличающаяся тем, что соединительные гнезда выполнены, по существу, с U-образным сечением.
6. Рама по п.1, отличающаяся тем, что ее нижняя часть имеет носковый участок (20А) и пяточный участок (20В), при этом носковый участок содержит один или более первых носковых выступов (211, 212, 213), которые направлены вверх по отношению к средству обеспечения плавного движения, первые носковые выступы содержат одну или более первых носковых сопрягаемых поверхностей (200А), а пяточный участок содержит один или более первых пяточных выступов (214, 215, 216), которые направлены вверх по отношению к средству обеспечения плавного движения, причем первые пяточные выступы имеют одну или более первых пяточных сопрягаемых поверхностей (200В).
7. Рама по п.1, отличающаяся тем, что указанные по меньшей мере два первых носковых выступа направлены вдоль непараллельных осей (А1, А2, A3), которые пересекаются в зоне, расположенной над поверхностью для плавного движения.
8. Рама по п.1, отличающаяся тем, что указанные по меньшей мере два первых пяточных выступа направлены вдоль непараллельных осей (В1, В2, В3), которые пересекаются в зоне, расположенной над поверхностью для плавного движения.
9. Рама по п.6, отличающаяся тем, что ее верхняя часть изготовлена в виде цельной детали, которая имеет подошву (30А) и каблук (30В), при этом подошва содержит один или более вторых носковых выступов (3110, 3120), направленных вниз по отношению к опорной поверхности (31А) подошвы и имеющих одну или более вторых носковых сопрягаемых поверхностей, которые механически сопрягаются с первыми носковыми сопрягаемыми поверхностями первых носковых выступов, а каблук содержит один или более вторых пяточных выступов (3130, 3140), направленных вниз по отношению к опорной поверхности (31В) каблука и имеющих одну или более вторых пяточных сопрягаемых поверхностей, которые механически сопрягаются с первыми пяточными сопрягаемыми поверхностями первых пяточных выступов.
10. Рама по п.1, отличающаяся тем, что первые сопрягаемые поверхности (200А, 200В) указанных первых выступов прикреплены ко вторым сопрягаемым поверхностям (300А, 300В) указанных вторых выступов посредством клеящих и/или адгезивных материалов.
11. Рама по п.1, отличающаяся тем, что ее верхняя и нижняя части образуют конструкцию с несплошным контуром, имеющим один или более просветов (50А, 50В, 51А, 51В).
12. Рама по п.1, отличающаяся тем, что ее верхняя часть выполнена из композитных материалов.
13. Рама по п.12, отличающаяся тем, что ее верхняя часть, выполненная из композитных материалов, сформована литьем под давлением и/или компрессионным прессованием.
14. Рама по п.1, отличающаяся тем, что ее нижняя часть выполнена из металлических материалов и/или из керамических материалов, и/или из наноструктурных материалов.
15. Конек, содержащий раму конька, выполненную согласно любому из предыдущих пунктов.



