Система и способ оптимизирования добычи в скважине
Иллюстрации
Показать всеИзобретение относится к способу оптимизирования эксплуатации скважины. Выбирают интервалы в наклонно-направленном стволе скважины и развертывают колонну испытаний и обработки скважины в стволе скважины. Каждый интервал затем изолируют для обеспечения выполнения необходимых испытаний. Полученные данные испытаний оценивают для определения соответствующих восстановительных мероприятий, которые затем реализуют с помощью колонны испытаний и обработки скважины. Технический результат заключается в обеспечении испытания и обработки множества интервалов в горизонтальном стволе скважины во время одного рейса в ствол скважины. 3 н. и 8 з.п. ф-лы, 6 ил.
Реферат
Горизонтальные скважины и скважины с большим отклонением по вертикали широко используются для разработки коллекторов. Теоретически, горизонтальные скважины должны быть способны к добыче, в несколько раз превышающей добычу сравнимых вертикальных скважин. В реальности, продуктивность горизонтальной скважины гораздо меньше ее потенциальных возможностей. Разница между теоретической и фактической производительностью в горизонтальных скважинах может являться результатом ряда факторов. Например, горизонтальные скважины могут иметь неравномерное распределение давления в коллекторе вдоль ствола скважины, поскольку горизонтальные скважины имеют обыкновение бурить на эксплуатирующихся месторождениях, имеющих неравномерно истощенные площади. Горизонтальные скважины также могут сталкиваться с сильной гетерогенностью пласта в коллекторах, проходящих вдоль относительно длинных стволов скважин. Горизонтальные скважины также могут страдать от повреждения пластов, созданных во время бурения и от неадекватных процессов очистки, особенно к концу ствола скважины. Водные подъемы и газовые ловушки также могут возникать вдоль искривленного, горизонтального ствола скважины. Неоднородное распределение давления, сильная гетероенность пласта, неравномерные повреждения, водные подъемы и газовые ловушки приводят к неоднородной добыче вдоль стволов наклонно-направленных и горизонтальных скважин. Для улучшения продуктивности таких скважин, необходимо получение подробной и неоднородно распределенной вдоль ствола скважины информации.
Предпринимались попытки испытаний горизонтальных скважин на ограничения по добыче, связанные со скважиной, с целью устранения проблем и улучшения добычи. Вместе с тем, имеющиеся испытания ограничены и опираются на данные, собранные в верхней точке наклонного участка горизонтальной/наклонной скважины, дающие лишь усредненные данные для секции горизонтального ствола скважины в целом. В результате, все восстановительные обработки горизонтальных скважин обычно выполняют вслепую, без точного знания зон, степени и типа повреждения вдоль горизонтальной скважины. Существующие системы испытаний также не могут дать достаточно информации за короткий период времени. Дополнительно к этому, испытание скважины, в общем, проводят, как предварительную операцию, например, в испытании с переменным давлением или с каротажем в эксплуатационных скважинах. После оценки выполняют восстановительную обработку, как отдельный подземный ремонт скважины во время отдельного рейса в ствол скважины.
СУЩНОСТЬ ИЗОБРЕТЕНИЯ
В общем, настоящим изобретением создана система и способ оптимизирования добычи скважины. Вдоль наклонно-направленного ствола скважины выбирают интервалы и развертывают в стволе скважины колонну испытания и обработки. Каждый из интервалов затем изолируют для получения показателей работы в необходимых испытаниях на каждом интервале. Полученные данные оценивают для определения приемлемого восстановительного мероприятия и исполняют конкретное восстановительное мероприятие с помощью колонны испытаний и обработки скважины. Система и способ обеспечивают испытания и обработку множества интервалов вдоль горизонтальной скважины во время одного спуска на забой скважины.
КРАТКОЕ ОПИСАНИЕ ЧЕРТЕЖЕЙ
Некоторые варианты осуществления изобретения будут описаны ниже со ссылками на прилагаемые чертежи, на которых одинаковые ссылочные позиции соответствуют одинаковым элементам.
На фиг.1 показан вид в вертикальном разрезе скважинной системы с колонной испытаний и обработки скважины, развернутой в наклонно-направленном стволе скважины, согласно варианту осуществления настоящего изобретения.
На фиг.2 схематично показан один вариант осуществления системы управления, использующейся в скважинной системе согласно фиг.1, согласно варианту осуществления настоящего изобретения.
На фиг.3 схематично показана система управления, соединенная с множеством модулей испытаний и обработки скважины, согласно варианту осуществления настоящего изобретения.
На фиг.4 показана блок-схема последовательности операций, иллюстрирующая один пример процесса испытаний и обработки скважины, согласно варианту осуществления настоящего изобретения.
На фиг.5 показан вид в вертикальном разрезе скважинной системы, развернутой в наклонно-направленном стволе скважины, согласно альтернативному варианту осуществления настоящего изобретения.
На фиг.6 схематично показана архитектура скважинной системы оптимизирования добычи, согласно альтернативному варианту осуществления настоящего изобретения.
ПОДРОБНОЕ ОПИСАНИЕ ИЗОБРЕТЕНИЯ
В следующем описании изложены многочисленные детали для обеспечения понимания настоящего изобретения. Вместе с тем, специалистам в данной области техники должно быть понятно, что настоящее изобретение можно практически применять без данных деталей, и что возможны многочисленные изменения и модификации описанных вариантов осуществления.
Настоящее изобретение, в общем, относится к скважинной системе оптимизирования добычи в наклонно-направленных скважинах, например в горизонтальных скважинах. Скважинную систему можно использовать в испытаниях и обработке множества зон для решения проблем продуктивности в наклонно-направленных скважинах и для оптимизирования добычи в данных наклонно-направленных скважинах. Согласно одному варианту осуществления, система и методология дает ответы на основе конкретных интервалов и в режиме реального времени. Информацию используют для проведения восстановительных работ на месте проведения работ, при этом также оценивают улучшения после выполнения конкретных мероприятий обработки. Система в целом обеспечивает интерпретацию информации в режиме реального времени, определение решений и мероприятий обработки, проводимые за один рейс в ствол скважины. В результате, уменьшается стоимость подземного ремонта скважины, не допускается возможность возникновения упущенной выгоды, оптимизируется производительность и увеличивается добыча углеводородов.
В настоящей методике, интервалы выбирают вдоль наклонно-направленной, например горизонтальной, скважины. Данные интервалы избирательно изолируют для обеспечения испытания каждого интервала. Например, испытания могут включать в себя выполнение испытания с переменным давлением, за которым может следовать надлежащая восстановительная обработка, если требуется. Обеспечение данных с привязкой к интервалам, в режиме реального времени, делает возможным одновременное или близкое к одновременным испытание и обработку данных интервалов. Скважинные интервалы можно изолировать последовательно, например, с перемещением поступательно от зоны или интервала, ближайшего к дну забоя, к точке начала наклонно-направленного участка ствола скважины. В других вариантах осуществления можно испытывать и/или обрабатывать несколько интервалов одновременно.
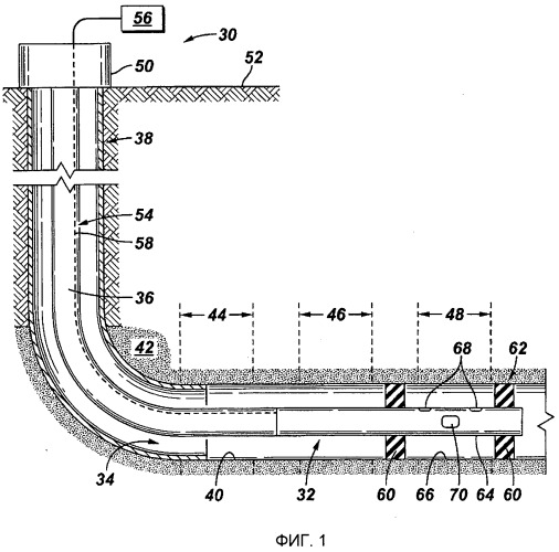
На фиг.1 показан, в общем, один вариант осуществления скважинной системы 30. В данном варианте осуществления скважинная система 30 содержит колонну 32 испытаний и обработки скважины, развернутую в стволе 34 скважины посредством соответствующего средства 36 спускоподъема, таком как насосно-компрессорная труба. Ствол 34 скважины содержит, в общем, вертикальную секцию 38 и наклонно-направленную секцию 40, которая может быть по существу горизонтальной. Наклонно-направленная секция 40 проходит через коллектор 42 и разделена на множество интервалов 44, 46, 48, выбранных для целей испытаний и обработки. Число интервалов может существенно изменяться от одного скважинного мероприятия к другому. Например, колонну 32 испытаний и обработки скважины можно использовать в одной зоне или интервале скважины, но система является особенно подходящей для использования в испытаниях и обработке множества интервалов скважины.
Как показано, вертикальная секция 38 наклонно-направленного ствола 34 скважины проходит, в общем, между наклонно-направленной секцией 40 и оборудованием 50 устья скважины, установленным на поверхности 52, такой как поверхность земли или морское дно. Длина вертикальной секции 38 и длина наклонно-направленной секции 40 может существенно изменяться в зависимости от местоположения коллектора 42. Соответственно, система 54 передачи данных выполнена с возможностью немедленной передачи сигналов данных между колонной 32 испытаний и обработки скважины и системой 56 управления. Хотя систему 56 управления можно установить в различных местах, систему 56 управления обычно устанавливают на площадке на поверхности, как показано. Данные можно передавать между колонной 32 испытаний и обработки скважины и системой 56 управления с помощью различных механизмов, включающих в себя беспроводные системы, проводные системы, электрические системы, оптические системы, гидравлические системы, импульсные системы и другие подходящие системы передачи данных. Во многих вариантах применения система 54 передачи данных содержит проводную линию 58, которая может быть проложена, например, в средстве 36 спускоподъема.
Колонну 32 испытаний и обработки скважины можно конструировать с различными конфигурациями, выбранными для конкретного ствола 34 скважины и коллектора 42. Как показано, колонна 32 испытаний и обработки скважины содержит механизм 60 изоляции, избирательно приводимый в действие для изоляции конкретных скважинных интервалов. Механизм 60 изоляции может содержать пару элементов 62 пакера, расширяющихся между корпусом 64 колонны 32 испытаний и обработки скважины и окружающей стенкой 66 ствола скважины, то есть окружающей обсадной колонной или стенкой необсаженного ствола скважины. Элементы 62 расширяющихся пакеров могут представлять собой надувные элементы пакеров, быстро надувающиеся и сдувающиеся для избирательной изоляции зоны скважины и, соответственно, перемещения к следующей зоне скважины. В качестве примера, элементы 62 пакеров можно надувать, создавая избирательную зону или интервал 48 для обеспечения выполнения как операций испытаний, так и операций обработки в интервале 48. Элементы пакеров можно затем сдувать или уменьшать другим путем для обеспечения перемещения колонны 32 испытаний и обработки скважины на следующий интервал, например интервал 46. Элементы 62 пакеров затем расширяются для изоляции данного следующего интервала для соответствующих операций испытаний и обработки. Данный процесс можно повторять для всех выбранных интервалов скважины.
Во время испытаний данные получают на конкретном испытываемом интервале один или несколько датчиков 68, подключенных для проведения измерений в кольцевом пространстве между колонной 32 инструмента и поверхностью ствола 40 ствола скважины. Используемые типы датчиков 68 зависят от параметров коллектора, представляющих интерес, и могут включать в себя датчики давления, датчики температуры, датчики газового фактора, датчики плотности и различные другие датчики, использующиеся для получения информации на обрабатываемом интервале между двумя механизмами 60 изоляции. В другом варианте осуществления изобретения, датчики 68 снимают информацию не только на интервале ствола скважины между двумя механизмами 60 изоляции, но также слева и справа от интервалов ствола скважины изолированных между двумя механизмами 60 изоляции. Информация от датчиков 68 передается через систему 54 передачи данных на систему 56 управления для обработки и анализа. Данные могут передаваться в режиме реального времени для обеспечения немедленной обработки зоны испытания. Соответствующие текучие среды или другие материалы можно закачивать в каждый интервал в процессе испытания и/или обработки через соответствующее выходное отверстие или отверстия 70. Датчики 68 также можно использовать для выполнения дополнительной оценки интервала после обработки для подтверждения и оценки результатов проведения обработки.
Данные, выдаваемые датчиками 68, направляют в систему 56 управления, которая может содержать автоматизированную систему 72, такую как система обработки данных, схематично показанная на фиг.2. В показанном варианте осуществления, автоматизированная система 72 представляет собой систему на основе компьютера с центральным процессором 74, таким как микропроцессор. Центральный процессор 74 может быть функционально соединен с датчиками 68 через систему 54 передачи данных. Дополнительно, центральный процессор 74 может быть соединен с запоминающим устройством 76, устройством 78 ввода и устройством 80 вывода данных. Устройство 78 ввода может представлять собой различные устройства, такие как клавиатура, компьютерная мышь, блок распознавания голосовых команд, сенсорный экран, другие устройства ввода или комбинации таких устройств. Устройство 80 вывода данных может содержать выходное визуальное и/или аудио средство, такое как монитор с графическим интерфейсом пользователя.
Дополнительно, обработку данных можно выполнять на одном устройстве или нескольких устройствах на площадке скважины, вне площадки скважины, или несколькими устройствами, размещенными на площадке скважины и другими устройствами, размещенными на удалении от площадки. В качестве примера, запоминающее устройство 76 можно использовать для сохранения подходящих действий, исполняющихся в ответ на заданные сценарии, обнаруженные датчиками 68. В некоторых вариантах применения, центральный процессор 74 и запоминающее устройство 76 могут взаимодействовать для применения моделей скважины на основе данных ввода от датчиков 68.
Данные, собранные во время проведения испытаний и возможности, имеющиеся для обработки скважины, зависят, по меньшей мере частично, от оборудования, используемого в колонне 32 испытаний и обработки скважины. Дополнительно, всю скважинную систему 30 можно сконструировать, как модульную систему, как схематично показано на фиг.3. В модульном варианте осуществления показаны различные модули 82, совместно работающие для создания необходимых функциональных возможностей скважинной системы 30. По меньшей мере некоторые из модулей 82 управляются системой 56 управления и/или передают данные в нее. Модули 82 также могут включать в себя основные модули и вспомогательные или поддерживающие модули. Вместе с тем, различные комбинации модулей можно использовать в диагностировании и обработке многочисленных интервалов в наклонно-направленной скважине.
В показанном варианте осуществления дано несколько примеров модулей 82. Основными модулями, например, могут являться модуль 84 зонной изоляции и модуль 86 проведения испытаний. Примеры других основных модулей включают в себя модуль 88 эксплуатационного каротажа, модуль 90 спускоподъема и закачки, модуль 92 бокового входа и модуль 94 восстановления или обработки. Вспомогательные или поддерживающие модули также могут иметь многочисленные типы и комбинации модулей, включающие в себя модуль 96 телеметрии и управления, а также модуль 98 интерпретации и ответа для работы с переданными данными. Конкретные модули выбирают на основе различных факторов, включающих в себя тип скважины, окружающую среду скважины, имеющееся оборудование и требования заказчика.
В эксплуатации скважинную систему 30 и колонну 32 испытаний и обработки скважины можно использовать для выполнения различных испытаниий и процессов обработки. Один вариант осуществления такого технологического процесса показан в блок-схеме последовательности операций на фиг.4. В данном варианте осуществления вначале выбирают зоны или интервалы вдоль секции 40 наклонно-направленного ствола скважины, как показано в блоке 100 блок-схемы. Колонну 32 испытаний и обработки скважины развертывают в наклонно-направленном стволе скважины, как представлено в блоке 102. Затем изолируют интервал механизмом 60 изоляции для испытаний, как представлено в блоке 104. После изоляции можно проводить необходимые операции испытаний на интервале, как показано в блоке 106. В качестве примера, интервал можно испытывать по таким параметрам, как давление, скин-эффект, вертикальная и горизонтальная проницаемость, повреждение коллектора на интервале, и/или другим параметрам, относящимся к скважине.
Данные испытаний передаются в систему 56 управления через систему 54 передачи данных, как показано в блоке 108. В данном варианте осуществления данные испытаний передаются в режиме реального времени для осуществления быстрых испытаний и обработки интервала скважины. После приема данных система 56 управления используется для автоматической обработки и анализа собранных данных от датчиков, как представлено в блоке 110. Систему 56 управления также можно использовать для автоматического определения приемлемых решений, например, обработки на основе анализа данных, как показано в блоке 112. Альтернативно, оценку инженерами, в целом или частично, можно использовать для выбора подходящих по результатам обработки решений и операций на основе результатов испытаний, полученных в блоке 110. Интервал скважины затем обрабатывают посредством колонны 32 испытаний и обработки скважины, как показано в блоке 114. Например, соответствующие текучие среды обработки с различными добавками и химикатами можно закачивать на забой скважины и направлять в окружающий интервал через отверстие 70.
Следом за обработкой интервала в одном варианте используют датчики 68 и систему 56 управления для оценки воздействия обработки, как представлено в блоке 116. На основе результатов испытаний после обработки можно принять решение, обрабатывать ли повторно настоящий интервал или перемещаться на следующий этап технологического процесса, как представлено блоком 117 принятия решения. Если результат обработки не является идеальным, дополнительное улучшение производительности скважины можно проводить с использованием большего количества текучих сред обработки и химикатов или новых текучих сред и химикатов. Операция эффективно возвращается в блок 112. Вместе с тем, если результат обработки является удовлетворительным, принимается решение испытывать следующий интервал и/или обрабатывать, как представлено в блоке 118 принятия решения. Механизм 60 изоляции затем высвобождают для обеспечения перемещения колонны 32 испытаний и обработки скважины на следующий интервал испытаний или колонну 32 можно поднимать из ствола скважины, заканчивая операцию. Если продолжаются испытания и/или обработка интервала, операция возвращается в блок 100. Следующий интервал затем аналогично испытывают и обрабатывают, как описано для блоков 102-116, и данный процесс можно повторять для каждого следующего интервала. Если никакие дополнительные интервалы ствола скважины не требуют испытаний и/или обработки, операция заканчивается, как представлено в блоке 120.
Конкретный вариант выполнения скважинной системы 30, который можно использовать для осуществления методологии, описанной выше, показан на фиг.5. В данном варианте выполнения наклонно-направленная секция 40 ствола 34 скважины является необсаженным стволом 122, и вертикальная секция 38 имеет обсадную колонну 124. Дополнительно, эксплуатационная колонна насосно-компрессорной трубы 126 проходит вниз через вертикальную секцию 38 к пакеру 128 на эксплуатационной насосно-компрессорной трубе.
Спускоподъемное оборудование 36 содержит гибкую насосно-компрессорную трубу 130, проходящую вниз через эксплуатационную насосно-компрессорную трубу 126 для доставки колонны 32 испытаний и обработки скважины в необсаженный ствол 122. Кабельная линия 58 развернута в гибкой насосно-компрессорной трубе 130 для передачи данных между колонной 32 испытаний и обработки скважины и системой 56 управления, установленной на площадке на поверхности. В качестве примера, система 56 управления содержит компьютер 132, расположенный на площадке на поверхности, так что кабельную линию 58 можно использовать для передачи сигналов данных между колонной 32 испытаний и обработки скважины и компьютером 132 в режиме реального времени. Данные можно дополнительно передавать на удаленные площадки и с площадок с использованием различных передающих технических средств. Например, данные можно передавать по беспроводной связи через систему 134 спутниковой связи.
В показанном варианте осуществления колонна 32 испытаний и обработки скважины быстро перемещается на гибкой насосно-компрессорной трубе 130. Это обеспечивает перемещение колонны испытаний и обработки между выбранными интервалами проведения испытаний и обработки. Гибкая насосно-компрессорная труба 130 может соединяться с установкой 136 гибкой насосно-компрессорной трубы, выполненной с возможностью избирательного спуска или подъема насосно-компрессорной трубы 130 через инжектор 138 гибкой насосно-компрессорной трубы. Другое оборудование также можно использовать на площадке на поверхности 52. Например, фазовый испытатель 140 можно использовать для испытания, определяющего фазовое соотношение в текучей среде, доставленной на поверхность по гибкой насосно-компрессорной трубе 130.
Как рассмотрено выше, колонна 32 испытаний и обработки скважины может иметь в составе различные модули для изоляции интервалов, испытаний, обработки, регулирования расхода текучей среды, обработки данных и выполнения других функций для осуществления оптимизации добычи текучей среды из каждого интервала. В показанном примере, механизм 60 изоляции содержит пакер или пакеры с двумя надувными элементами 142. Вместе с тем, можно использовать дополнительные элементы пакеров, если в одно время изолируют несколько интервалов. Дополнительно, показанная система содержит испытательный инструмент 144 для выполнения необходимых испытаний в каждом интервале после изоляции необходимого интервала надувными элементами 142 пакеров. Испытательный инструмент 144 может иметь в составе один или несколько расходных отверстий 70 и один или несколько датчиков 68, выбранных согласно параметрам, подлежашим детектированию и анализу. Дополнительно к этому, различные дополнительные компоненты можно включать в состав колонны 32 испытаний и обработки скважины для использования как между надувными элементами 142, так и за пределами надувных элементов. Например, инструмент 146 определения насыщения коллектора может быть размещен ближе к забою скважины, в стороне от надувных элементов. Дополнительно, расходомер 148 может быть установлен ближе к забою скважины, в стороне от надувных элементов, для определения скорости текучей среды.
На фиг.6 схематично показаны другие элементы варианта выполнения скважинной системы 30. В данном варианте выполнения, в общем, концентрическая секция 150 насосно-компрессорной трубы развернута между колонной 32 испытаний и обработки скважины и эксплуатационной насосно-компрессорной трубой 126 для создания путей прохода текучей среды. Изолирующий элемент, например внутренний пакер или элемент 152 уплотнения, установлен между концентрической секцией насосно-компрессорной трубы 150 и насосно-компрессорной трубой 126 для обеспечения работы идущего вверх канала 153 потока, указанного стрелками 154. Текучая среда, поднимающаяся к устью скважины из колонны 32, проходит по кольцевому пространству между внутренней гибкой насосно-компрессорной трубой 130 и внешней насосно-компрессорной трубой концентрической секции насосно-компрессорной трубы 150, до направления от центральной осевой линии через расходные отверстия 156 в кольцевое пространство 158 между секцией насосно-компрессорной трубой 150 и эксплуатационной насосно-компрессорной трубой 126. Вместе с тем, текучая среда обработки или другая текучая среда может проходить вниз через внутренний канал 159 концентрической секции насосно-компрессорной трубы 150, как указано стрелками 160, в колонну 32 испытаний и обработки скважины. Функционально, концентрическая секция насосно-компрессорной трубы обеспечивает закачку (поток вниз через внутренний канал 159) и добычу (поток вверх через внешний канал 153 потока). Поток вверх отводится в кольцевое пространство между секцией обычной насосно-компрессорной трубы 150 и эксплуатационной насосно-компрессорной трубой 126 над изолирующим пакером 152. В результатате применения такой конструкции, концентрическую секцию насосно-компрессорной трубы 150 нет необходимости использовать по всей длине скважины. Вместе с тем, поток вверх текучей среды помещается в канал 153 потока для предотвращения воздействия на пласт необсаженного ствола в верхней точке наклонного участка ствола скважины или вглубь от нее.
В показанном варианте осуществления согласно фиг.6, используют один или несколько центраторов 162 для центрирования колонны 32 испытаний и обработки скважины в горизонтальной секции ствола 34 скважины. Дополнительно, колонна 32 испытаний и обработки скважины может содержать систему 164 с электрическим погружным насосом, соединенную с гибкой насосно-компрессорной трубой 130 и концентрической секцией насосно-компрессорной трубы 150 соответствующим элементом регулирования расхода, таким как головка 166 гибкой насосно-компрессорной трубы. Головка 166 гибкой насосно-компрессорной трубы выполнена с возможностью надлежащего регулирования расхода текучей среды вверх и вниз, так что обеспечивается прохождение текучей среды вниз из верхней секции гибкой насосно-компрессорной трубы 130 и через нижнюю секцию насосно-компрессорной трубы, то есть гибкой насосно-компрессорной трубы, образующей внутреннюю насосно-компрессорную трубу концентрической секции насосно-компрессорной трубы 150. Поток текучей среды вниз дополнительно регулируется через внутренний канал 167 прохождения потока к забою и через расходные отверстия 70 к интервалу пласта между надувными элементами 142. Головка 166 гибкой насосно-компрессорной трубы также обеспечивает проход потока текучей среды из пласта и затем вверх от пласта через расходные отверстия 70, через внутреннюю полость нижнего канала 167, через концентрическую секцию насосно-компрессорной трубы 150 и через переходник 156 регулирования расхода. Переходник 156 регулирования расхода затем направляет поток текучей среды в кольцевое пространство 158 между верхней секцией насосно-компрессорной трубы 150 и эксплуатационной насосно-компрессорной трубой 126. Элемент 166 регулирования расхода также предотвращает нежелательную гидравлическую связь между каналами 153 и 159 потока концентрической секции насосно-компрессорной трубы 150.
Систему 164 с электрическим погружным насосом можно использовать для прокачки текучей среды вверх вдоль пути 154 потока и/или вниз в необходимый интервал испытания и обработки. В данном варианте осуществления, механизм 60 изоляции содержит сдвоенный пакер с надувными элементами 142. В альтернативном варианте осуществления регулирование расходов потоков текучей среды вверх и вниз можно выполнять регулирующим клапаном 168. В некоторых вариантах применения регулирующий клапан 168 может соединяться с головкой 166 гибкой насосно-компрессорной трубы, и система 164 с электрическим погружным насосом может быть снята.
Прохождение потока в расходные отверстия 70 и из них можно регулировать останавливающим скважину клапаном 168. Дополнительно, можно установить один или несколько датчиков 68 для измерения конкретных параметров текучей среды, проходящей через расходные отверстия 70. Датчики 68 также можно установить в других местах для обнаружения или измерения различных параметров во время проведения испытаний и оценки.
Многие другие компоненты можно включать в состав колонны 32 испытаний и обработки скважины для осуществления различных технологических процессов испытаний, обработки и оценки. Например, колонна 32 может содержать инструмент 170 гамма-каротажа, инструмент 146 определения насыщения коллектора, расходомер 148, каверномер 172 для измерения диаметра ствола скважины и инструмент 174 многоуровневого испытания с переменным давлением для обеспечения входа в правильный боковой ствол скважины. Вместе с тем, различные альтернативные, дополнительные или другие компоненты можно вводить в состав колонны 32 испытаний и обработки скважины для образования различных других модулей для использования в технологических процессах испытаний, обработки и оценки, выполняемых во время одного рейса в ствол скважины.
Различные компоненты, описанные выше, можно использовать индивидуально или в различных комбинациях для образования модулей 82, рассмотренных выше со ссылкой на фиг.3. В качестве примера, модуль 84 зонной изоляции можно создать, сконструировав механизм 60 изоляции в форме сдвоенного пакера, выполненный с возможностью изоляции, например, интервалов 44, 46, 48, для операций испытаний и обработки. Модуль 86 проведения испытаний можно образовать объединением клапана 168 остановки скважины с датчиками 68, например датчиками давления, и соответствующими электронными схемами и элементами управления для управления приведением в действие клапана 168 остановки скважины. Например, клапан 168 может содержать многопозиционный золотник, приводимый в действие линейными исполнительными механизмами и/или электромагнитными клапанами. Дополнительно к этому, модуль 88 эксплуатационного каротажа может содержать комбинации каротажных компонентов, таких как расходомер 148, инструмент 146 оценки насыщения коллектора, инструмент 170 гамма-каротажа и каверномер 172 для измерения диаметра ствола скважины. Модуль каротажа и его различные компоненты можно использовать для локации слабо консолидированных областей вдоль наклонно-направленномого ствола 34 скважин.
Другие компоненты также могут образовывать различные другие модули. Например, модуль 90 спускоподъема и прокачки может быть сконструирован с компонентами, выполненными с возможностью создания необходимых путей потока. В одном варианте выполнения гибкая насосно-компрессорная труба 130, концентрическая секция 150 и соответствующая система клапанов взаимодействуют с механизмом 60 изоляции для управления потоком во время процесса испытаний и обработки. Модуль 92 бокового входа может быть образован инструментом 174 многоуровневого испытания с переменным давлением, использующимся для локации и создания доступа в множество боковых стволов скважины. Модуль 94 восстановления или обработки содержит гибкую насосно-компрессорную трубу 130, объединенную с соответствующей системой клапанов для регулирования расхода материалов обработки в необходимом интервале. Например, данный модуль и его компоненты можно использовать для кислотной обработки под давлением ниже давления гидроразрыва, кислотной обработки, изоляции пластов с водопроявлением и других процессов обработки. Другим модулем, который можно использовать в скважинной системе 30, является модуль лифтовой системы, который может содержать, например, систему 164 с электрическим погружным насосом или другое подходящее оборудование механизированной добычи, такое как газлифт или струйные насосы.
Различные вспосмогательные или поддерживающие модули также можно конструировать с различными компонентами. Например, модуль 96 телеметрии и управления может быть выполнен с соответствующей системой передачи данных, такой как кабельная линия 58. В зависимости от выбранного конкретного типа системы передачи данных, различные другие компоненты можно вводить в состав модуля телеметрии и управления, например, распределительные блоки, управляющие интерфейсы на поверхности и т.д. Модуль 96 и его компоненты обеспечивают в режиме реального времени сбор данных, а также управление скважинными инструментами. Модуль 98 интерпретации и ответа может быть введен в состав системы 56 управления для осуществления различных поддерживающих функций, включающих в себя возможный выбор, планирование работы, интерпретацию, прогнозирование обработки, мониторинг и регулирование. Примерами подходящих программ из системы программного обеспечения, которые можно использовать в модуле 98 интерпретации и ответа для различных вариантов применения в скважине, являются Job Design™, FlexCADE™, StimCADE™, и различное программное обеспечение интерпретирования. Данные и другие модули можно использовать в скважинной системе 30 для осуществления испытаний и обработки многочисленных индивидуальных интервалов скважин во время одного рейса в наклонно-направленный ствол скважины. Дополнительно, модуль телеметрии и управления обеспечивает передачу данных в режиме реального времени, делая возможными немедленные испытания, анализ, обработку и/или оценку на каждом интервале скважины.
Варианты осуществления, описанные выше, дают примеры скважинных систем, обеспечивающих детальное понимание и эффективное улучшение добычи из наклонно-направленных, например горизонтальных, стволов скважин. Даны примеры подходящих колонн испытаний и обработки скважины, а также других модулей, работающих во взаимодействии с колоннами испытаний и обработки скважины. Вместе с тем, функции различных модулей можно приспосабливать к окружающей среде скважины и конкретным процессам испытаний и обработки, принятым для конкретной работы. Дополнительно, размер, форму и конфигурацию различных компонентов можно регулировать согласно конкретному варианту применения и необходимым операциям.
Соответственно, хотя выше подробно описаны только несколько вариантов осуществления настоящего изобретения, специалистам в данной области техники должно быть ясно, что многие модификации являются возможными без существенного отхода от идей данного изобретения. Предполагается, что такие модификации включены в объем данного изобретения, определенный формулой изобретения.
1. Способ оптимизирования эксплуатации скважины, включающий: выбор интервала по длине горизонтального ствола скважины; изоляцию интервала с развертыванием колонны испытаний в горизонтальном стволе скважины; выполнение необходимых испытаний для получения данных в отношении указанного интервала; обработку данных в системе управления в режиме реального времени; реализацию первого действия для улучшения добычи на указанном интервале на основе результатов обработки данных, причем реализацию первого действия выполняют без извлечения какой-либо части испытательной колонны из скважины, и при этом реализация первого действия включает устранение повреждения и улучшение проницаемости указанного интервала; оценку результатов от выполнения первого действия с использованием данных, собранных датчиком в сообщении с системой управления; в ответ на определение, что эти результаты являются неудовлетворительными, реализацию второго действия для улучшения добычи на указанном интервале, причем система управления использует данные, собранные датчиком для оценки результатов от выполнения второго действия; и если результаты от выполнения второго действия указывают, что никакие дополнительные действия не должны предприниматься для указанного первого интервала, освобождение механизма изоляции и перемещение испытательной колонны во второй интервал для выполнения испытания и обработки во втором интервале, при этом выполнение первого действия и второго действия по отношению к первому интервалу включает закачку текучих сред обработки в первый интервал через концентрическую секцию насосно-компрессорной трубы колонны испытаний, при которой текучие среды обработки закачивают через внутренний канал потока концентрической секции насосно-компрессорной трубы в первый интервал, и добычу текучих сред из первого интервала через внешний канал потока концентрической секции насосно-компрессорной трубы в кольцевое пространство, образованное между концентрической секцией насосно-компрессорной трубы и эксплуатационной насосно-компрессорной трубой, расположенной внутри обсадной колонны ствола скважины, причем внешний канал потока расположен концентрично вокруг внутреннего канала потока.
2. Система для оптимизирования эксплуатации скважины, содержащая: колонну испытаний и обработки скважины для разворачивания в горизонтальном стволе скважины, причем колонна испытаний и обработки скважины имеет механизм изоляции для избирательной изоляции зон скважины вдоль горизонтального ствола скважины; систему управления для обработки данных испытаний
 
                         
                            


