Устройство для смешивания почвенных материалов

Иллюстрации

Показать все

Изобретение относится к устройству для смешивания почвенных материалов, в особенности к устройству для смешивания примесей непосредственно с почвенными материалами земли. Устройство содержит по меньшей мере два смешивающих барабана, выполненных с возможностью вращения вокруг своих осей вращения, которые расположены на небольшом расстоянии друг от друга. Между барабанами расположена фиксирующая рама, на которой неподвижно установлен опускной рукав. На верхнем конце опускного рукава расположены средства крепления для крепления к рычагу для установки навесного орудия. Оси вращения смешивающих барабанов наклонены относительно плоскости, перпендикулярной вертикальной оси устройства, таким образом, что когда опускной рукав находится в вертикальном положении, оси вращения смешивающих барабанов наклонены вниз к внешним концам барабанов. Таким образом, концы смешивающих барабанов, расположенные наиболее близко друг к другу, по существу ближе друг к другу своими нижними краями, чем своими верхними краями. Благодаря этому корпус устройства не формирует мертвую зону, которая препятствовала бы рабочему перемещению. 7 з.п. ф-лы, 4 ил.

Реферат

Настоящее изобретение относится к устройствам для смешивания почвенных материалов, в особенности к устройствам для смешивания примесей непосредственно с почвенными материалами земли. Указанное устройство включает по меньшей мере два смешивающих барабана, выполненных с возможностью вращения вокруг своих осей вращения, которые расположены на небольшом расстоянии друг от друга и имеют внутренние концы и внешние концы, причем внешние концы расположены дальше друг от друга, чем внутренние концы, между внутренними концами барабана расположена фиксирующая рама, на которой установлены смешивающие барабаны, и опускной рукав, нижний конец которого прикреплен к фиксирующей раме, а на верхнем конце которого расположены средства крепления, предназначенные для крепления к удлинителю силовой машины.

Устройство такого типа известно из публикации патента FI-107629. Недостаток этого известного устройства состоит в том, что когда устройство погружают в рабочем направлении в массу, подлежащую стабилизации, рама устройства создает мертвую зону, которая либо затрудняет рабочее перемещение устройства, либо делает его вообще невозможным. Этот недостаток особенно остро проявляется при обработке почв с высокой прочностью на срез.

Из публикаций US 4133397 А1 и JP 2007262819 известно устройство для смешивания почвенных материалов, корпус которого разветвлен и прикреплен к тем концам барабанов, которые дальше отстоят друг от друга. Однако корпус выступает за пределы барабанов или по меньшей мере доходит до внешнего края и тормозит работу и процесс смешивания.

Целью настоящего изобретения является преодоление этого недостатка путем улучшения устройства, так чтобы рама не формировала мертвую зону в рабочем направлении и не тормозила рабочее перемещение инструмента при погружении в материал, подлежащий стабилизации, или в землю.

Указанная цель достигается путем создания изобретения на основе характеристик, приведенных в пункте 1 прилагаемой формулы изобретения.

Предпочтительные варианты реализации изобретения описаны в зависимых пунктах.

Один из вариантов реализации проиллюстрирован ниже на прилагаемых чертежах, на которых:

Фиг.1 показывает поперечный разрез по линии А-А, имеющейся на Фиг.2, устройства согласно настоящему изобретению;

Фиг.2 показывает вид сбоку устройства согласно настоящему изобретению;

Фиг.3 показывает вид в перспективе устройства согласно настоящему изобретению; и

Фиг.4 показывает вид спереди устройства согласно настоящему изобретению.

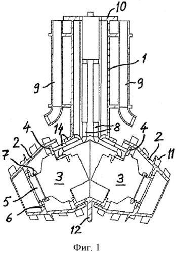
Устройство согласно настоящему варианту реализации включает два смешивающих барабана 2, выполненных с возможностью вращения вокруг своих осей вращения и расположенных на небольшом расстоянии друг от друга. Между барабанами 2 расположена фиксирующая рама 14, состоящая из коротких труб относительно большого диаметра. Нижний конец опускного рукава 1 прикреплен к фиксирующей раме, а на верхнем его конце расположены средства крепления 10 для крепления к рычагу для установки навесного орудия.

Новизна изобретения состоит в том, что оси вращения смешивающих барабанов 2 наклонены относительно плоскости, перпендикулярной вертикальной оси устройства, таким образом, что когда опускной рукав 1 находится в вертикальном положении, оси вращения перемешивающих барабанов 2 наклонены вниз по направлению к внешним концам барабанов. В этом случае концы смешивающих барабанов 2, расположенные наиболее близко друг к другу, по существу ближе друг к другу своими нижними краями, чем своими верхними краями. Расстояние между нижними краями указанных концов барабанов 2 предпочтительно меньше, чем минимальная толщина опускного рукава.

Смешивающие барабаны 2 имеют форму усеченного конуса, а угол наклона осей вращения барабанов относительно горизонтальной плоскости предпочтительно составляет около половины угла конусности барабана. В этом случае нижняя часть барабанов 2 является горизонтальной, что является преимуществом, если материал смешивается в контейнере с плоским дном. На внешней поверхности барабанов 2 находится необходимое число смешивающих лезвий или лопастей 11, имеющих соответствующую форму. Между нижними краями смешивающих барабанов 2 предпочтительно расположена выступающая часть 12, которая проходит до уровня лезвий или лопастей 11 перемешивающих барабанов или ниже их уровня, когда опускной рукав 1 ориентирован в вертикальном положении. В этом случае лезвия или лопасти 11 не соприкасаются с дном контейнера при перемешивании.

Подвешивание и вращение смешивающих барабанов 2 предпочтительно осуществляется посредством гидравлических двигателей 3, расположенных внутри смешивающих барабанов, при этом смешивающие барабаны установлены на подшипниках этих гидравлических двигателей. В этом случае не требуется отдельной кинематической трансмиссии с цепями, зубчатыми колесами или валами. Кроме того, не требуется отдельный кожух для двигателя в раме, который при работе погружался бы в землю и в свою очередь затруднял бы движение устройства. Позициями 8 на чертеже обозначены гидравлические патрубки или трубки, которые ведут к каждому двигателю 3 по отдельности внутри опускного рукава 1.

В предпочтительном варианте реализации настоящего изобретения объемный расход, необходимый для функционирования гидравлических двигателей 3 по меньшей мере двух барабанов 2, распределяется по существу поровну посредством небольших, но высокоскоростных гидравлических насосов, установленных на одном валу. Таким образом, отдельный смешивающий барабан 2 не может вращаться значительно медленнее, чем другие барабаны, даже если он находится под большей нагрузкой. Указанные насосы могут находиться в приводном устройстве, т.е. в силовой машине, или в перемешивающем устройстве согласно настоящему изобретению. Механическое соединение насосов для их вращения по существу с одинаковой скоростью также может быть осуществлено иными средствами, нежели установкой насосов на одном валу.

В соответствии с другим предпочтительным вариантом реализации настоящего изобретения объемный расход не распределяется посредством распределительных насосов или распределительных клапанов, однако двигатели барабанов являются двигателями с переменным рабочим объемом, скорость вращения которых поддерживается по существу одинаковой путем регулировки объема вращающегося рабочего тела при изменении расходов на входе.

Также можно использовать регулируемые двигатели и распределение потока. В этом случае барабаны будут вращаться с постоянной скоростью, однако объем вращающегося рабочего тела всех барабанов может быть отрегулирован с возможностью получения большего вращающего момента. В этом случае скорость вращения очевидно уменьшится, так как установленная мощность является постоянной. Большой вращающий момент может потребоваться, если почва обладает высокой прочностью на срез.

В предпочтительном варианте реализации настоящего изобретения переход между корпусом гидравлического двигателя 3 и вращающейся втулкой 5 герметизирован съемной заглушкой, которая удерживается на месте с помощью ленты 7. Смешивающий барабан 2 прикреплен к фланцу вращающейся втулки 5 гидравлического двигателя 3 с помощью фланцевого соединения. Гидравлический двигатель 3, в свою очередь, прикреплен к монтажному фланцу 4 корпуса 14 с помощью фланцевого соединения.

На внешней стороне опускного рукава 1, над каждым смешивающим барабаном 2, неподвижно установлены трубы питания стабилизатора 9, открытые непосредственно над смешивающими барабанами 2.

Очевидно, что изобретение не ограничивается вышеуказанным вариантом реализации. Количество смешивающих барабанов 2 может быть больше двух. Например, в конструкции с тремя смешивающими барабанами 2, оси вращения этих барабанов на виде сверху будут расположены под углом 120° друг к другу. Одной из альтернативных конструкций может быть конструкция, в которой два из указанных смешивающих барабанов расположены подряд. Такая конструкция может быть актуальной, когда необходима высокая мощность. Ввиду простоты конструкции устройство согласно настоящему изобретению имеет небольшую массу, что требует от экскаватора создания значительной гидравлической мощности.

1. Устройство для смешивания почвенных материалов, в особенности для смешивания примесей непосредственно с почвенными материалами земли, содержащее по меньшей мере два смешивающих барабана (2), выполненных с возможностью вращения вокруг своих осей вращения, которые расположены на небольшом расстоянии друг от друга и имеют внутренние концы и внешние концы, которые расположены дальше друг от друга, чем внутренние, между внутренними концами смешивающих барабанов (2) расположена фиксирующая рама (14), на которой установлены смешивающие барабаны, и опускной рукав (1), нижний конец которого прикреплен к фиксирующей раме (4), а на верхнем конце расположены средства крепления (10), предназначенные для крепления к рычагу для установки навесного орудия, отличающееся тем, что оси вращения смешивающих барабанов (2) наклонены относительно плоскости, перпендикулярной вертикальной оси устройства, таким образом, что когда опускной рукав (1) находится в вертикальном направлении, оси вращения смешивающих барабанов (2) наклонены вниз к внешним концам смешивающих барабанов, вследствие чего внутренние концы смешивающих барабанов, расположенные наиболее близко друг к другу, по существу ближе друг к другу своими нижними краями, чем своими верхними краями, при этом указанные барабаны (2) выполнены с возможностью приведения во вращение посредством гидравлических двигателей (3), которые расположены внутри смешивающих барабанов (2) и на подшипниках которых эти смешивающие барабаны (2) установлены.

2. Устройство по п.1, отличающееся тем, что смешивающие барабаны (2) имеют форму усеченного конуса, а угол наклона осей вращения смешивающих барабанов составляет около половины угла конусности барабана.

3. Устройство по п.1 или 2, отличающееся тем, что между нижними краями смешивающих барабанов (2) расположена выступающая часть (12), которая проходит до уровня смешивающих лопаток (11) смешивающих барабанов или ниже их уровня, когда опускной рукав (1) ориентирован в вертикальном положении.

4. Устройство по п.1, отличающееся тем, что переход между закрепленным корпусом гидравлического двигателя (3) и вращающейся втулкой (5) герметизирован съемной заглушкой.

5. Устройство по любому из пп.1, 2, 4, отличающееся тем, что каждый смешивающий барабан (2) приводится во вращение гидравлическим двигателем (3), который приводится в действие насосом, механически соединенным с другим насосом, вращающим другой смешивающий барабан или другие смешивающие барабаны, с обеспечением вращения по существу с такой же скоростью, с которой вращается этот последний насос, при этом указанные насосы соединены с силовой машиной или смешивающим устройством.

6. Устройство по любому из пп.1, 2, 4, отличающееся тем, что каждый смешивающий барабан (2) приводится во вращение гидравлическим двигателем (3), причем в качестве гидравлических двигателей использованы двигатели с переменным рабочим объемом, скорость вращения которых поддерживается по существу одинаковой путем регулировки объема вращающегося рабочего тела при изменении объемных расходов на входе.

7. Устройство по любому из пп.1, 2, 4, отличающееся тем, что на поверхности смешивающих барабанов (2) имеются выступающие лезвия или лопасти (11).

8. Устройство по любому из пп.1, 2, 4, отличающееся тем, что на опускном рукаве (1) закреплена труба (9) для питания стабилизатора над смешивающим барабаном (2), открытая над каждым из смешивающих барабанов (2).