Осветительный прибор и способ его регулирования

Иллюстрации

Показать все

Изобретение относится к регулированию осветительного прибора. Технический результат - обеспечение постоянной интенсивности осветительного прибора в процессе его старения. Осветительный прибор включающет по крайней мере, один заменяемый модуль, а каждый модуль содержит, по крайней мере, один источник света. Каждый модуль содержит контроллер для компенсации изменения интенсивности света, вызванной старением, по крайней мере, одного источника света посредством регулирования электрической мощности, подаваемой, по крайней мере, к одному источнику света, как заранее заданной функции времени. 2 н. и 27 з.п. ф-лы, 8 ил.

Реферат

ОБЛАСТЬ ИЗОБРЕТЕНИЯ

[0001] Настоящее изобретение относится к устройству осветительного прибора и способу его регулирования.

[0002] Осветительный прибор содержит множество световых элементов, таких как СИДы (светоизлучающие диоды) или светодиодные матрицы, которые могут быть использованы для освещения как внутренних помещений, так и наружного пространства. В качестве примера наружного осветительного прибора могут служить уличные фонари. Когда осветительный элемент или прибор выходит из строя, он может быть заменен на новый работающий прибор.

[0003] Когда вышедший из строя осветительный прибор заменяется новым исправным, обычно этот новый осветительный прибор не совсем идентичен первоначальному осветительному прибору, даже если его тип и модель являются теми же. Также СИДы модернизируются стремительно, а их интенсивность продолжает расти. Соответственно, новый осветительный прибор обычно имеет большую яркость, чем первоначальный, когда он был новым. Кроме того, существуют еще неповрежденные осветительные приборы, которые состарились в течение их использования, и их интенсивность снизилась. Также на старение осветительного прибора влияет температура. Даже если новый осветительный прибор также ярок, как и первоначальный, когда он был новым, новый осветительный прибор обычно имеет большую яркость, чем осветительные приборы, которые уже состарились при их работе.

[0004] Интенсивность нового осветительного прибора может быть выставлена на заданном уровне посредством измерения интенсивности осветительного прибора путем сравнения измеренной интенсивности с заданной интенсивностью и регулирования электрической мощности питания таким образом, чтобы интенсивность осветительного прибора установилась на требуемом уровне.

[0005] Однако при осуществлении этого технического решения возникают трудности. Выполнение технического решения является комплексным. Кроме того, измерению интенсивности осветительного прибора мешает загрязнение оптического измерительного прибора от льда, снега и/или света и от посторонних источников.

КРАТКОЕ ОПИСАНИЕ ИЗОБРЕТЕНИЯ

[0006] Целью настоящего изобретения является создание улучшенного осветительного прибора и способа его регулирования. Это достигается осветительным прибором, содержащим, по крайней мере, один сменный модуль, при этом каждый модуль содержит один осветительный прибор. Каждый модуль содержит контроллер, выполненный с возможностью компенсации изменения интенсивности света, вызванного старением, по крайней мере, одного источника света посредством настройки мощности электропитания указанного, по крайней мере, одного источника света как функции времени, причем мощность электропитания подается в заданном режиме.

[0007] Настоящее изобретение также относится к способу регулирования осветительного прибора. Изменение интенсивности света, вызванного старением, по крайней мере, одного источника света компенсируется посредством настройки мощности электропитания как функции времени, а мощность электропитания подается в заданном режиме.

[0009] Варианты воплощения данного изобретения описаны в зависимых пунктах формулы изобретения.

КРАТКОЕ ОПИСАНИЕ ЧЕРТЕЖЕЙ

[0010] Изобретение более подробно описано ниже со ссылками на приложенные чертежи, где

Фиг.1 - осветительный прибор;

Фиг.2 - осветительный прибор с показанным более детально контроллером;

Фиг.3 - изменение интенсивности как функции времени;

Фиг.4 - мощность электропитания как функция времени;

Фиг.5 - компенсация интенсивности модуля вышедшего из строя;

Фиг.6 - источник переменного электропитания;

Фиг.7 - схема регулирования электропитания; и

Фиг.8 - блок-схема способа.

ПОДРОБНОЕ ОПИСАНИЕ ИЗОБРЕТЕНИЯ

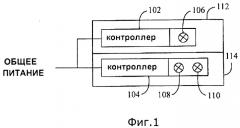
[0011] Перейдем к изучению осветительного прибора, представленного на Фиг.1. Общее электропитание, например, подает электрическую мощность на модули 112 и 114. Модуль 112 содержит один источник света 106. Модуль 114, в свою очередь, содержит два источника света 108 и 110. Эти источники света со 106 по 110 могут быть СИДами. В общем случае может использоваться один или более модулей, а каждый модуль может содержать один или более источников света. Контроллеры 102, 104 модулей могут преобразовывать переменный ток, который поступает от общего электропитания, например, в постоянный ток. Вместо общего электропитания электрическая мощность может поступать от специального источника электропитания системы осветительных приборов, осветительного прибора или источника света. Контроллеры 102, 104 могут также регулировать электрическую мощность, поступающую на модули 112 и 114. Контроллеры 102, 104 могут регулировать подаваемые уровень напряжения и/или силу электрического тока, посредством изменения, например, скважности импульсов (импульсного отношения).

[0012] Каждый модуль 112, 114 может иметь собственный контроллер 102, 104, который компенсирует изменение интенсивности света, вызванное старением модулей 112, 114 и/или, по крайней мере, одного источника света co 106 по 110, посредством регулирования мощности электропитания, подаваемой на каждый источника света со 106 по 110, или модуль 112, 114, как заданной функции времени.

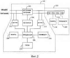
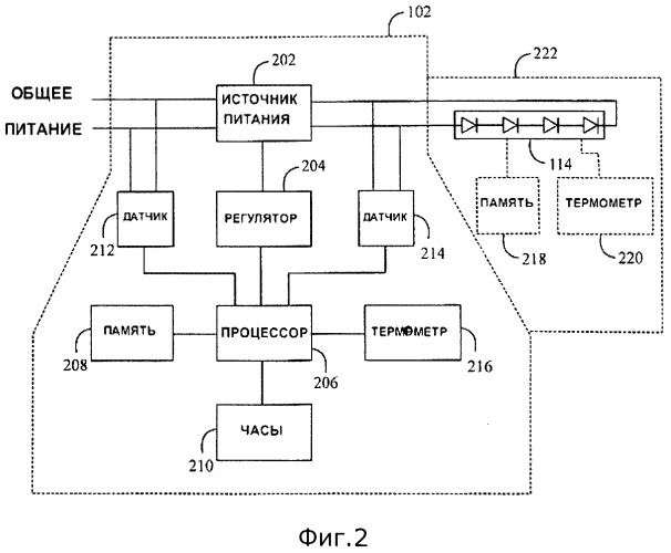
[0013] Перейдем к изучению осветительного прибора, представленного на Фиг.2. Каждый контроллер 102, 104 может содержать источник мощности 202, регулятор 204, процессор 206, память 208 и часы 210. Дополнительно каждый контроллер 102, 104 может содержать датчик 212, датчик 214 и термометр 216. Часы 210 и термометр 216 могут быть общими для всего осветительного прибора. Часы также могут принадлежать отдельному модулю. Термометр 220, в свою очередь, может принадлежать модулю или источнику света. Вместо непосредственно температуры СИД в качестве источника света можно измерять пороговое значение напряжения, которое является функцией температуры. Это позволяет измерять температуру без отдельного термометра.

[0014] Кроме того, память 218, которая может использоваться в качестве оперативной памяти, может принадлежать модулю, благодаря чему данные компенсации и/или данные напряжения, соответствующие данным, записанным в памяти 208, могут храниться в памяти 218 каждого модуля. Данные могут быть записаны в память 218 и данные в памяти 218 могут быть считаны посредством проводников электропитания.

[0015] Память 218 и, по крайней мере, один СИД в качестве источника света со 106 по 110 могут быть встроены в сменный элемент 222 осветительного прибора. Элемент 222 может содержать одну или более электрических цепей, которые могут представлять собой полупроводниковые микросхемы. Элемент 222 может также включать только одну полупроводниковую микросхему, в которую также встроены память 218 и, по крайней мере, один источник света со 106 по 110. Элемент 222 может также включать термометр 220, который измеряет температуру либо непосредственно, либо посредством измерения порогового значения напряжения.

[0016] Часы 210 могут измерять время, в течение которого каждый из источников света со 106 по 110 или модули 112, 114 работали, для регулирования мощности подаваемого электропитания. Часы 210 могут измерять время, в течение которого электрическая мощность или каждый диапазон электрической мощности был соединен, по крайней мере, с одним источником света со 106 по 110 или модулем 112, 114.

[0017] Рассмотрим сначала осветительный прибор, который должен светить с одинаковой интенсивностью. Рассмотрим модуль 114, однако то же в общем случае применимо к любым регулирующим модулям. Процессор 206 может управлять регулятором 204, с тем чтобы изменять подачу электрической мощности от источника мощности 202 на модуль 114 как функции времени, используя данные, сохраненные в памяти 208, 218 в отношении изменения интенсивности освещения источниками света от времени. В большинстве случаев интенсивность источников света уменьшается как функция времени, и, таким образом, микропроцессор 206 может управлять регулятором 204, чтобы подавать больше электрической мощности на модуль 114 для поддержания постоянного уровня интенсивности. В свою очередь, датчик 214 измеряет электрическую мощность, поданную на источник света 106, например величину электрического тока, и вводит эти данные в микропроцессор 206. Таким образом, микропроцессор 206 может произвести сравнение электрической мощности, действительно поданной на модуль 114, и величины, которая вычислена микропроцессором 206.

[0018] Если источники света со 106 по 110 управляются модулями 112, 114, то каждый модуль 112, 114 может иметь заданный уровень интенсивности света, например 600 лм. Если это так, то потребляемый электрический ток может составлять величину, например, 1,5 А. Однако указанный электрический ток (и следовательно мощность) изменяются из-за старения.

[0019] Каждый микропроцессор 206 может регулировать изменение интенсивности света на основе длительности диапазона электрической мощности. Соответственно, если на модули 112, 114 был подан электрический ток величиной около 1,5 А, то по прошествии, например, каждых 6700 часов интенсивность модулей 112, 114 может уменьшаться на 10%. Если снижение интенсивности света на 10% соответствует величине отклонения, изменение размера которого соответствует величине отклонения, изменению величины или превышению, которые не должны происходить, то выполняется корректировка интенсивности света. В этом случае процессор 206 может выдавать ток на 10% больший на модули 112, 114 по прошествии каждых 6700 часов. Наряду со старением указанное изменение может замедляться или ускоряться как функция времени. В этом случае по прошествии первых 6700 часов может потребоваться 10% увеличение, а следующее 10% увеличение может потребоваться после следующих 10000 часов или уже после 5000 часов. Независимо от того, как изменяется интенсивность света, данные об увеличении электрической мощности по прошествии заданного времени могут, однако, сохраняться в памяти 208, 218.

[0020] Диапазон мощности, поступающий от источника мощности 202, также может меняться. В этом случае уровень электрического напряжения или электрического тока может быть адаптивным. Каждый процессор 206 может установить диапазон мощности, который должен подаваться на каждый источник света или модуль и настраивать его как функцию времени на основе заданного диапазона электрической мощности. Если источники света со 106 по 110 управляются модулями 112, 114, то каждый модуль 112, 114 может иметь два уровня интенсивности света, например интенсивность в 400 лм и 600 лм. При нижнем уровне интенсивности требуемая электрическая мощность ниже (например, значение электрического тока составляет около 1А), а при высшем уровне интенсивности требуемая электрическая мощность выше (например, значение электрического тока составляет около 2А). Каждый процессор 206 может регулировать уровень интенсивности и выставлять его желаемый уровень путем задания желаемого диапазона мощности, которая подается на каждый модуль. Старение и снижение интенсивности света обычно происходят быстрее при большем уровне интенсивности из-за большего энергопотребления, более высокой температуры и т.п. Расходуемая мощность может быть измерена датчиком 214 и эти данные записаны в процессоре 206.

[0021] Каждый процессор 206 может компенсировать изменение уровня интенсивности на основе значения длительности воздействия каждого диапазона мощности. Соответственно, при подаче на модуль 112, 114 электрического тока величиной около 1А может так случиться, что по прошествии, например, каждых 10000 часов интенсивность света модуля 112, 114 снижается на 10%. Если 10%-ное (или фиксированное 40 лм) снижение интенсивности света соответствует значению отклонения, изменение размера которого соответствует величине интенсивности света, которая не должна произойти, то выполняется корректировка интенсивности света. В этом случае на модуль 112, 114 подается на 10% больший электрический ток после каждых 10000 часов. Кроме старения изменение может также замедляться или ускоряться. Независимо от того, как изменяется интенсивность света, данные об увеличении электрической мощности по прошествии заданного времени могут, однако, сохраняться в памяти 208, 218 о том, насколько увеличивалось электропотребление каждым модулем после заданного промежутка времени.

[0022] Соответственно, при подаче на модуль 112, 114 электрического тока величиной около 2А может так случиться, что по прошествии, например, каждых 5000 часов интенсивность света модуля 112, 114 снижается на 10%. Если 10%-ное (или фиксированное 80 лм) снижение интенсивности света соответствует значению отклонения, изменение размера которого соответствует величине интенсивности света, которая не должна произойти, то выполняется корректировка интенсивности света. В этом случае на модуль 112, 114 подается на 10% больший электрический ток после каждых 5000 часов. Тем же образом, как было описано выше, наряду со старением указанное изменение может замедляться или ускоряться, но независимо от того, как изменяется величина интенсивности света, эти данные могут быть записаны в память 208, 218, а именно насколько увеличивалось электропотребление каждым модулем после заданного промежутка времени.

[0023] В общем случае контроллер 102, 104 может определить отклонение d интенсивности, по крайней мере, одного источника света со 106 по 110 и/или модуля от желаемой интенсивности как функции использованной электрической мощности р и времени t. Математически это может быть выражено как d=f(p, t). Функция f может быть произведением, например, мощности и времени. В этом случае заданное значение отклонения может составить 10000 А·ч, что соответствует 10%-ному снижению в предыдущих примерах (1А × 10000 ч = 2А × 5000 ч ≈ 1,5А × 6700 ч).

[0024] Если температура Т также учитывается, то отклонение d может быть выражено как функция k≥d=f(p, t, T). В обоих случаях функция f является функцией, которая растет от мощности и времени (и температуры). Функция f может также включать постоянную составляющую ref, так чтобы f(p, t, T)=ref-g(р, t, Т), где ref означает желаемую интенсивность света и g(р, t, Т) определяет действительную интенсивность. Вместо разности можно также применять соотношение f(p, t, Т)=ref/g(p, t, Т). Интенсивность корректируется, если отклонение d равно или больше заранее заданному значению k.

[0025] Интенсивность света модуля 112, 114 или каждый источник света со 106 по 110 может быть настроена, если функция f равна, например, сумме

∑ i = 1 N p i ⋅ t i = d ≥ k ,

где i представляет собой показатель суммы (показатель диапазона мощности),

N - число суммируемых величин (например, число диапазонов мощности),

pi - весовой коэффициент времени,

ti - время в диапазоне мощности i,

k - величина отклонения.

Весовой коэффициент pi может отображать диапазон мощности. Если часы представляют собой счетчик, который считает импульсы, то весовой коэффициент рi можно использовать для умножения числа импульсов или частоты импульсов. Контроллер 102, 104 может определить отклонение d. Заданная величина отклонения k хранится в памяти 208, 218. Процессор 206 может или вычислить значения обеих функций f и g, или извлечь их из памяти 208, 218, где они хранились как заданные величины.

[0026] В дополнение или вместо этого каждый контроллер 102, 104 может измерять температуру каждого источника света со 106 по 110 и регулировать подаваемую на них электрическую мощность, как функции времени на основе измеренной температуры. Иногда модуль 112, 114 может иметь температуру 50°С, а в другое время, например, 80°С. Старение и снижение интенсивности света происходит быстрее при высокой температуре.

[0027] Каждый контроллер 102, 104 может компенсировать изменение интенсивности света на основе длительности по времени каждой измеренной температуры. В этом случае термометр 216 измеряет температуру источника света и/или окружающей среды. Соответственно, если температура модуля 112, 114 была равна 50°С в течение 10000 часов, то интенсивность света модуля 112, 114 может уменьшиться на 10%. Если температура модуля 112, 114 была равна 80°С в течение 5000 часов, то интенсивность света 112, 114 может уменьшиться также на 10%. Если 10%-ное снижение интенсивности света соответствует величине отклонения k, значение которой соответствует величине, которая не должна произойти, то выполняется корректировка интенсивности света. В этом случае на модуль 112, 114 может быть подан электрический ток, например, на 10% больший по прошествии каждых 10000 часов при температуре 50°С. Соответственно при температуре 80°С на модуль 112, 114 может быть подан электрический ток, например, на 10% больший по прошествии каждых 6250 часов. Как было указано ранее, наряду со старением изменение интенсивности света может замедлиться или ускориться, но независимо от характера изменения интенсивности света данные о том, насколько увеличилось электропотребление каждого модуля в течение заданного времени, могут быть записаны, например, в памяти 208, 218.

[0028] В каждом из контроллеров 102, 104 могут быть сохранены одно или более значение заданного отклонения. Контроллер 102, 104 может определить отклонение интенсивности света, по крайней мере, одного указанного источника света со 106 по 110 от желаемой интенсивности как функции электрической мощности, поданной на указанный, по крайней мере, один источник света со 106 по 110, и времени. Каждый контроллер 102, 104 может регулировать изменение электрической мощности, поданной на указанный, по крайней мере, один, когда отклонение превысит заданное значение отклонения k. Данные об изменении интенсивности света могут быть записаны, например, в памяти 208, 218 на стадии изготовления модуля 112, 114. Заданное значение отклонения k может иметь разную величину при различных уровнях интенсивности.

[0029] Действия, связанные с компенсацией снижения интенсивности из-за старения, могут быть выполнены в реальном времени или они могут быть выполнены в заданные моменты времени, например, на интервалах в 1000 часов. При операциях в реальном времени, измерения и требуемые изменения энергопотребления определяются в течение всего времени. При операциях на заданных интервалах контроллер 102, 104 может собирать данные по уровню энергопотребления и/или температуры, например, в течение 1000 часов, а затем определять на интервалах в 1000 часов, имеется ли необходимость изменения энергопотребления для источников света. Вместо 1000 часов можно выбрать в качестве заданного временного интервала любое удобное время для выполнения необходимых действий.

[0030] Данные, сохраненные в памяти 208, 218, могут опираться на похожее изменение интенсивности, определенное посредством измерений, произведенных заранее. Данные, сохраненные в памяти 208, 218, могут опираться на изменение и/или данные, сообщенные производителем источников света, или измерения производителя модуля.

[0031] Сигнал, включающий данные установленного модуля, могут быть переданы по сетям энергоснабжения или другим сетям энергопитания, связанным с источниками света, для обновления данных, записанных в памяти 208, 218. Указанные данные могут быть получены путем замера предварительно отдельно источников света со 106 по 110 и модулей 112, 114, или указанные данные могут быть получены от производителя. Датчик 212 принимает сигнал и передает данные, содержащиеся в сигнале, на процессор 206, который хранит данные, записанные в памяти 208, 218. Сигнал, относящийся к новому осветительному прибору, может содержать полученные данные интерпретации принятого управляющего сигнала и данные о поведении новых осветительных приборов в отношении времени и температуры. Дополнительно эти данные могут определить электрическое регулирование нового осветительного прибора или модуля. Таким же образом процессор 206 может управлять регулятором 204 для регулирования источника мощности 202 с целью подачи правильной величины электрической мощности в желаемом диапазоне, например, на вновь замененный модуль. Электрическая мощность может также управляться процессором 206, регулятором 204 и источником мощности 202 в соответствии с данными, записанными в памяти 208, 218. Когда необходимо данные, записанные в памяти 208, 218, могут быть преобразованы в управляющий сигнал. Кроме того, память 208, 218 может включать, например, подходящую компьютерную программу, принятые данные интерпретации принятого управляющего сигнала и данные о поведении новых осветительных приборов в отношении времени и температуры.

[0032] На Фиг.3 показан процесс регулирования интенсивности света как функции старения. По вертикальной оси отложена интенсивность света I, a по горизонтальной оси время. Обе оси размечены свободно выбранной линейной шкалой. Линия 300 представляет собой первый желаемый уровень I1 интенсивности, а линия 302 представляет собой второй желаемый уровень I2 интенсивности. Когда модуль (может также участвовать отдельный источник света) начинает светить в момент времени 0, то величина подаваемой электрической мощности достаточна для свечения с желаемым уровнем интенсивности 302. Однако старение приводит к снижению фактической интенсивности 304 модуля при постоянстве подаваемой электрической мощности. По истечении времени до момента t1 отклонение фактической интенсивности 304 от желаемой интенсивности 302 увеличивается до величины заданного отклонения k, и интенсивность регулируется, при этом фактическая интенсивность 304 становится (приблизительно) равной желаемой интенсивности 302.

[0033] В момент времени t2 величина фактической интенсивности 304 изменяется до желаемого уровня интенсивности 300. Так как желаемый уровень интенсивности 300 выше желаемого уровня интенсивности 302, потребление электрической мощности также выше при уровне желаемого уровня интенсивности 300. По этой причине старение также происходит быстрее (угловой коэффициент уменьшающейся части фактической интенсивности выше), и регулирование должно проводиться чаще.

[0034] В момент времени t3 величина фактической интенсивности 304 падает, но меньше, чем во время регулирования, при этом величина фактической интенсивности 304 задается снова как желаемый уровень интенсивности 300. Однако фактическая интенсивность 304 может оставаться немного ниже желаемой интенсивности 300, так как регулирование было осуществлено на уровне желаемой интенсивности 302. Однако регулирование следует в момент времени t4. Величина заданного отклонения k может иметь разное значение при разных уровнях интенсивности.

[0035] На Фиг.4 показана мощность, подаваемая на модуль или источник света как функция времени. По вертикальной оси отложена энергия Е (т.е. произведение мощности и времени Е=p·t), а по горизонтальной оси отложено время. Кривая 400 отражает энергию, потребленную модулем или источником света. До момента времени t3 диапазон электрической мощности остается неизменным, хотя регулирование последствий старения производятся в моменты времени t1 и t2. В момент времени t3 диапазон мощности растет выше, после чего регулирование должно производиться чаще в моменты времени t4 и t5, т.к. больший диапазон мощности ускоряет процесс старения.

[0036] На Фиг.3 и 4 показаны процессы регулирования электрической мощности посредством ступенчатых приращений. Однако процессы регулирования проводятся постоянно (т.е. величина заданного отклонения k стремится к нулю), ступенчатый характер кривой на Фиг.3 исчезает и фактическая интенсивность близко следует за желаемой величиной. Кривая на Фиг.4, в свою очередь, превращается в постоянно растущую функцию, показанную штриховой линией 402. В этом случае возможное ступенчатое изменение диапазона мощности происходит в момент времени t2 и t3.

[0037] На Фиг.5 показан вариант воплощения, в котором ослабление интенсивности света, вызванное вышедшим из строя модулем, компенсируется увеличением интенсивности света других модулей. Контроллеры 102, 103 и 104 соединены со светодиодными матрицами 500, 502, 504, каждый из которых включает, по крайней мере, один источник света, такой как СИД. Матрица источника света представляет собой модуль или матрицу, независимую от модуля. Например, когда матрица источника света 500 выходит из строя, контроллер 102 выявит эту поломку. Указанное определение может быть основано, например, на том факте, что матрица источника света 500 больше не потребляет электрическую мощность, что может быть определено, например, измерением электрического тока. Соответственно, если контроллер 102 измеряет силу электрического тока в электрическом контуре матрицы источника света 500, которая меньше, чем заданная величина, то контроллер 102 определяет, что матрица источника света 500 вышла из строя. Контроллер 102 сообщает о поломке другим контроллерам 103, 104, которые регулируют подачу повышенной электрической мощности на матрицу источников света 502, после того как 502 получит информацию о поломке. Увеличение электрической мощности может соответствовать такому увеличению интенсивности света, которая соответствует интенсивности света вышедшей из строя матрицы источника света 500 или близкой к ней интенсивности. Увеличенная электрическая мощность в матрицах источников света 502 и 504 воспроизводит необходимость в компенсации из-за старения более часто.

[0038] На Фиг.6 показан состав контроллеров 102, 103, 104 переключателя источника мощности. В этом случае электрическая мощность, подаваемая на модуль 112, может быть импульсной, т.е. электрический ток может подаваться на модуль 112, например, в форме импульсов. Импульсы могут быть отфильтрованы в постоянный электрический ток перед тем, как он подается на указанный модуль. Импульсный источник мощности 600 может содержать программируемый источник 600 и усилитель 604. Программируемый источник 600 может представлять собой, например, процессор. Программируемый источник 600 может получать эталонные данные, которые определяют наибольшую высоту импульса на выходе усилителя 602. Подаваемая на модуль 112 электрическая мощность может регулироваться путем изменения высоты импульса.

[0039] Программируемый источник 600 может также получать эталонные данные о ширине импульса, связанные с подаваемой электрической мощностью, и определять ширину импульса на выходе усилителя 602.

[0040] Программируемый источник 600 может также получать данные о частоте импульсов, связанные с подаваемой электрической мощностью, и определять ширину импульсов на выходе усилителя 602. Подача электрической мощности на модуль 112 может регулироваться путем изменения частоты импульсов, если ширина импульса остается постоянной. Усилитель 602 подает электрическую мощность, которая снимается с электрического полюса 604, на один или более источников света, регулируемых программируемым источником 600. Электрический полюс 604 может включать импульсный источник электрической мощности или источник постоянного тока, выходная величина которой задается выходным напряжением, которое может быть выработано источником энергии 202 из переменного тока.

[0041] Задаваемые данные, данные о ширине импульса и частоте импульсов могут подаваться на программируемый источник 600 посредством пользовательского интерфейса 606, который может представлять собой клавиатуру, сенсорный экран, микрофон и т.п.

[0042] На Фиг.7 показана, по крайней мере, часть источника света 202 и/или усилитель 602, с помощью которого электрическая мощность подается на регулируемые источники света. Включенные параллельно постоянный резистор 700 и регулируемый резистор 702 могут быть последовательно соединены с электрическим полюсом 604 и, по крайней мере, одним источником света. Регулируемый резистор 702 может представлять собой, например, КТ транзистор (канальный транзистор). Когда сопротивление (проводимость электрического тока) регулируемого резистора 702 меняется, то сопротивление параллельного соединения также изменяется. Когда сопротивление регулируемого резистора 702 мало (меньше величины сопротивления резистора 700), то большая часть электрического тока может течь к источникам света. Когда сопротивление регулируемого резистора 702 велико (значительно больше величины сопротивления резистора 700), то общее сопротивление параллельного соединения становится равным величине сопротивления резистора 700. Величина сопротивления регулируемого резистора 702 может изменяться с помощью запирающего напряжения канального транзистора, чей контроллер 206 и/или 600 может осуществлять регулирование совместно с регулятором 204.

[0043] В отличие от схемы на Фиг.7 постоянный резистор 700 и регулируемый резистор 702 могут быть соединены последовательно, при этом постоянный резистор 700 определяет максимальную электрическую мощность, подаваемую на источники света.

[0044] Кроме того, в отличие от схемы на Фиг.7 постоянный резистор 700 может быть вообще не нужен, а регулируемый резистор 702 может регулировать электрическую мощность, подаваемую на источники света, без верхнего и нижнего ограничения, задаваемого постоянным резистором 700.

[0045] На Фиг.8 показана логическая схема способа. На шаге 800 изменение интенсивности света, вызванное старением, по крайней мере, одного источника света со 106 по 110, компенсируется с помощью контроллеров 102, 104 в каждом модуле 112, 114 путем регулирования электрической мощности, подаваемой на указанный, по крайней мере, один источник света со 106 по 110, как функции времени заранее заданным образом.

[0046] Контроллеры 102, 104 могут изменять электрическую мощность, подаваемую на указанный, по крайней мере, один источник света со 106 по 110, как функцию текущей температуры. Обычно чем выше температура источника света, тем ниже интенсивность излучаемого им света. Соответственно при высокой температуре требуется большая электрическая мощность, подаваемая на источник света, чем при низкой температуре, для поддержания, например, постоянной интенсивности света.

[0047] Хотя настоящее изобретение описано со ссылками на примеры в соответствии с приложенными чертежами, специалисту понятно, что данное изобретение не ограничивается вышеприведенными примерами, а может изменяться различным образом в объеме формулы изобретения.

1. Осветительный прибор, включающий, по крайней мере, один заменяемый модуль (112, 114), при этом каждый модуль (112, 114) содержит, по крайней мере, один источник света (со 106 по 110), отличающийся тем, что каждый модуль (112, 114) содержит контроллер (102, 104), выполненный для регулирования заданным образом электрической мощности, подаваемой, по крайней мере, на один источник света (со 106 по 110), как функции времени, так и функции электрической мощности, подаваемой для изменения интенсивности света, вызванного старением, по крайней мере, одного источника света (со 106 по 110).

2. Осветительный прибор по п.1, отличающийся тем, что одна или более заранее заданных величин отклонений сохранены в каждом контроллере (102, 104), при этом контроллер (102, 104) выполнен с возможностью определения отклонения интенсивности, по крайней мере, одного указанного источника света (со 106 по 110) от желаемой интенсивности как функции электрической мощности, подаваемой, по крайней мере, на указанный один источник света (со 106 по 110), так и функции времени, при этом контроллер (102, 104) выполнен с возможностью регулирования заданным образом электрической мощности, подаваемой, по крайней мере, на один источник света (со 106 по 110), когда отклонение превысит каждую заранее заданную величину отклонения.

3. Осветительный прибор по п.2, отличающийся тем, что сохраненные данные основаны на измерении производителя источника света (со 106 по 110) или на измерении или информации, предоставленной производителем осветительного прибора.

4. Осветительный прибор по п.1, отличающийся тем, что каждый контроллер (102, 104) выполнен с возможностью задавать подаваемую электрическую энергию, по крайней мере, на один источник света (со 106 по 110) в желаемом диапазоне мощности и регулировать подаваемую электрическую мощность, по крайней мере, на одном источнике света (со 106 по 110) на основе длительности заданного диапазона электрической мощности.

5. Осветительный прибор по п.4, отличающийся тем, что каждый контроллер (102, 104) выполнен с возможностью подавать питание, по крайней мере, на один источник света (со 106 по 110) во множестве диапазонов мощности и компенсировать изменение интенсивности света на основе длительности каждого диапазона мощности.

6. Осветительный прибор по п.1, отличающийся тем, что контроллер (102, 104) выполнен с возможностью определения температуры, по крайней мере, одного источника света (со 106 по 110) и регулирования подаваемой электрической мощности, по крайней мере, на один источник света (со 106 по 110) на основе длительности измеренной температуры.

7. Осветительный прибор по п.6, отличающийся тем, что контроллер (102, 104) выполнен с возможностью определения температуры как заданного диапазона температур и компенсации изменения интенсивности света на основе длительности каждого диапазона температуры.

8. Осветительный прибор по п.1, отличающийся тем, что каждый источник света (со 106 по 110) представляет собой СИД (светоизлучающий диод).

9. Осветительный прибор по п.1, отличающийся тем, что осветительный прибор содержит, по крайней мере, одни часы (210), выполненные с возможностью измерения времени подачи регулирующей электрической мощности, по крайней мере, на один указанный источник света (со 106 по 110).

10. Осветительный прибор по п.1, отличающийся тем, что часы (210) выполнены с возможностью измерения времени, в течение которого производится подача электрической энергии, по крайней мере, на один указанный источник света (со 106 по 110).

11. Осветительный прибор по п.1, отличающийся тем, что контроллер (102, 104) выполнен с возможностью изменения электрической мощности, подаваемой, по крайней мере, на один источник света (со 106 по 110), как функции температуры для регулирования интенсивности света.

12. Осветительный прибор по п.1, отличающийся тем, что осветительный прибор содержит, по крайней мере, один встроенный узел (222), содержащий, по крайней мере, один источник света (со 106 по 110) и память (218), в которой хранятся данные для регулирования электрической мощности, подаваемой, по крайней мере, на один источник света (со 106 по 110), как функции заранее заданного времени.

13. Осветительный прибор по п.12, отличающийся тем, что встроенный узел (222) содержит полупроводниковый чип.

14. Осветительный прибор по п.1, отличающийся тем, что контроллер (102, 104), по крайней мере, одного другого модуля (112, 114) выполнен с возможностью увеличения электрической мощности, подаваемой на источники света (со 106 по 110), когда источники света (со 106 по 110) модуля (112, 114) выходят из строя.

15. Осветительный прибор по п.1, отличающийся тем, что контроллер (102, 104) содержит программируемый источник (600) и усилитель (602), при этом программируемый источник (600) выполнен с возможностью приема эталонных данных и управления усилителем (602), который подает электрическую энергию, по крайней мере, на один источник света на основе эталонных данных.

16. Способ регулирования осветительного прибора, отличающийся тем, что компенсация (800) изменения интенсивности света, вызванного старением, по крайней мере, одного источника света (со 106 по 110), осуществляется с помощью контроллера (102, 104) в каждом модуле (112, 114) путем регулирования заранее заданным образом электрической мощности, подаваемой, по крайней мере, на один источник света (со 106 по 110), как функции времени, так и функции подаваемой электрической мощности.

17. Способ по п.16, отличающийся тем, что определяется отклонение величины интенсивности указанного, по крайней мере, одного источника света (со 106 по 110) от желаемой интенсивности с помощью каждого контроллера (102, 104) как функции электрической мощности, подаваемой на указанный, по крайней мере, один источник света (со 106 по 110), так и функции времени, и осуществляется регулирование электрической мощности, подаваемой, по крайней мере, на один указанный источник света (со 106 по 110) в заранее заданном количестве, когда отклонение превысит, по крайней мере, каждую заранее заданную величину отклонения.

18. Способ по п.17, отличающийся тем, что заранее заданная величина отклонения основана на измерении производителем источника света (со 106 по 110) или на измерении или информации, предоставленной произ