Разделение нефти, воды и твердых частиц внутри скважины
Иллюстрации
Показать всеГруппа изобретений относится к скважинным устройствам, способам разделения жидкостей и твердых веществ в скважине, а также к способам подготовки системы разделения скважинных флюидов и твердых веществ. Технический результат заключается в облегчении разделения флюидов и твердых веществ и в обработке отделенных твердых веществ внутри скважины. Скважинное устройство содержит разделительную систему, имеющую сепаратор, содержащий впускное отверстие для скважинного флюида, канал для потока нефти, канал для потока воды и канал для твердых веществ; и съемный ограничитель потока, расположенный в канале для твердых веществ для облегчения разделения компонентов скважинного флюида. 3 н. и 17 з.п. ф-лы, 10 ил.
Реферат
УРОВЕНЬ ТЕХНИКИ
Добыча нефти из скважины может включать перекачивание скважинного флюида, состоящего из части воды и части нефти, то есть нефтеводной смеси. При истощении нефтяной скважины присутствует больший процент воды, которая затем подается на поверхность. Пластовая вода может иногда составлять более 80% общего объема подаваемого скважинного флюида, что приводит к необходимости решения сложных эксплуатационных вопросов. Например, пластовая вода может потребовать обработки и/или обратного нагнетания в подземный пластовый резервуар с целью утилизации воды и для поддержания пластового давления. Обработка и утилизация пластовой воды может потребовать больших затрат.
Один из способов решения этих вопросов - использование скважинного устройства для разделения нефти и воды и обратного нагнетания отделенной воды в пласт, что сводит к минимуму подачу нежелательной воды на поверхность. Уменьшение количества воды, подаваемой на поверхность, может уменьшить требуемую мощность, сократить гидравлические потери и упростить наземное оборудование. Кроме того, уменьшаются или устраняются многие из расходов, связанных с водообработкой.
Однако успешное разделение нефти и воды внутри скважины и затем обратное нагнетание воды является относительно сложным и чувствительным процессом со многими переменными и факторами, которые влияют на эффективность и выполнимость такой операции. Например, соотношение нефти и воды может варьировать от скважины к скважине и оказывать значительное влияние на период эксплуатации скважины. Требуемое давление нагнетания также может влиять на период эксплуатации скважины. Например, требуемое давление нагнетания для отделенной воды имеет тенденцию увеличиваться с течением времени.
Дополнительные проблемы возникают, когда скважинный флюид содержит твердые вещества, такие как песок и другие частицы, которые иногда примешиваются к скважинному флюиду. Твердые вещества, как правило, тяжелее, чем нефть, и склонны отделяться с водой. Однако наличие твердых веществ в потоке воды может вызвать осложнения внутри скважины, такие как закупоривание. В некоторых случаях твердые вещества отделяются от потока нагнетаемой воды и могут закупоривать места обратного нагнетания. Доля твердых веществ в скважинном флюиде или воде также может меняться со временем, что вызывает большие трудности при обращении с твердыми веществами внутри скважины.
СУЩНОСТЬ ИЗОБРЕТЕНИЯ
Для разделения нефти, воды и твердых веществ внутри скважины созданы система и способ для разделения жидкостей и твердых веществ и для обработки отделенных твердых веществ внутри скважины. Для этого используется разделительная система, имеющая сепаратор со впускным отверстием для скважинного флюида, выпускным каналом для потока нефти, выпускным каналом для потока воды и выпускным каналом для твердых веществ. Сепаратор действует для разделения скважинного флюида на, по существу, нефть, воду и твердые вещества и направления этих компонентов в соответствующие каналы. Во взаимодействии с сепаратором может использоваться ограничитель потока, что облегчает разделение компонентов скважинного флюида.
КРАТКОЕ ОПИСАНИЕ ЧЕРТЕЖЕЙ
Некоторые варианты воплощения внутрискважинного разделения на нефть, воду и твердые вещества будут далее описаны со ссылкой на сопроводительные чертежи, на которых аналогичные позиции указывают на аналогичные составные части, при этом на чертежах показано следующее:
на фиг. 1 показан вид спереди скважинной системы, использующей электрическую погружную насосную систему во взаимодействии с разделительной системой согласно варианту воплощения;
на фиг. 2 показано поперечное сечение примера разделительной системы согласно варианту воплощения;
на фиг. 3 показано поперечное сечение части скважинной системы, изображающее один пример ограничителя потока согласно варианту воплощения;
на фиг. 4 показано поперечное сечение, подобное представленному на фиг. 3, но показывающее ограничитель потока, удаленный из части скважинной системы, согласно варианту воплощения;
на фиг. 5 показан вид спереди другого примера скважинной системы в сочетании с разделительной системой согласно другому варианту воплощения;
на фиг. 6 показано поперечное сечение одного примера перенаправителя, который может использоваться со скважинной системой, согласно варианту воплощения;
на фиг. 7 показано поперечное сечение перенаправителя в сочетании с ограничителем потока для использования в скважинной системе согласно варианту воплощения;
на фиг. 8 показано поперечное сечение примера системы ограничения потока, которая может быть использована со скважинной системой, согласно варианту воплощения;
на фиг. 9 показано поперечное сечение системы ограничения потока, содержащей датчик или датчики, согласно варианту воплощения; и
на фиг. 10 показано поперечное сечение другого примера разделительной системы, в которой скважинный флюид разделяется на три компонента, которые в основном содержат, соответственно, нефть, воду и твердые вещества согласно варианту воплощения.
ПОДРОБНОЕ ОПИСАНИЕ ИЗОБРЕТЕНИЯ
В последующем описании приводятся подробности, помогающие понять суть данного изобретения. Однако специалистам в данной области техники понятно, что настоящее изобретение может быть применено на практике без этих подробностей и что возможны многочисленные изменения или видоизменения описанных вариантов воплощения.
В данном описании и прилагаемой формуле изобретения: термины "вверх" и "вниз", "верхний" и "нижний", "в направлении вверх" и "в направлении вниз", "вверх по потоку" и "вниз по потоку", "выше" и "ниже" и другие подобные термины, указывающие на относительные положения выше или ниже данной точки или элемента, используются в данном описании для большей ясности описания некоторых вариантов воплощения данного изобретения. Однако в применении к оборудованию и способам использования в скважинах, которые отклоняются от вертикали или являются горизонтальными, такие термины могут означать "слева направо", "справа налево" или другие отношения в соответствующих случаях.
Описанные варианты воплощения обычно относятся к системам механизированной добычи, например, к системам механизированной добычи применительно к углеводородным скважинам. Варианты воплощения включают в себя системы и способы для разделения компонентов скважинного флюида, таких как нефть, вода и твердые вещества. Например, один вариант воплощения относится к внутрискважинному разделению на нефть, воду и твердые вещества и к регулированию противодавления с целью воздействия на разделение компонентов скважинного флюида. Одним из способов управления разделением нефти и воды, например, является регулирование противодавления, прикладываемого к потоку нефти и/или потоку воды. Противодавлением можно управлять, регулируя ограничение потока, с целью вызвать желаемое изменение потока нефти и/или потока воды, выходящих из сепаратора компонентов скважинного флюида. В дополнение к разделению компонентов скважинного флюида варианты воплощения относятся к оборудованию, предназначенному обеспечивать требуемое регулирование, то есть противодавление, прикладываемое к выходящим потокам. Величина такого регулирования может варьировать от полного закрытия (нет потока) до полного открытия (полный поток), в зависимости от содержания нефти, воды и твердых веществ в скважинном флюиде.
Управление противодавлением и связанным с ним потоком может значительно зависеть от ориентации зоны нагнетания по отношению к продуктивной зоне (зона нагнетания выше по стволу скважины или ниже по стволу скважины от продуктивной зоны). Некоторые из различий между этими двумя ориентациями относятся к нагнетанию выше по стволу скважины, когда устройство может регулировать и отводить поток в затрубное пространство насосно-компрессорной нагнетательной трубы за одну операцию, и к нагнетанию ниже по стволу скважины, когда устройство может нуждаться в регулировании потока «вдоль линии наблюдения», то есть в получении нагнетаемого потока из нагнетательной трубы, регулировании потока и затем возвращении этого потока в другую трубу, направленную в зону нагнетания. В некоторых случаях диаметр регулируемого прохода или отверстия ограничителя потока может варьировать от около 0,125 дюйма до 1,0 дюйма.
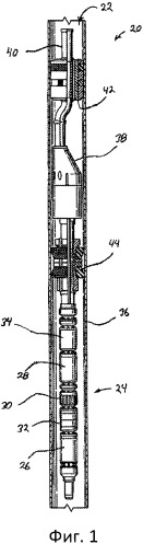
На фиг. 1 показана скважинная система 20, развернутая в стволе скважины 22. В этом варианте воплощения скважинная система 20 включает в себя электрическую погружную насосную систему 24, имеющую погружной электродвигатель 26 и погружной насос 28, приводимый в движение погружным электродвигателем 26. Электрическая погружная насосная система 24 может включать в себя целый ряд других компонентов, таких как впуск 30 насоса и устройство 32 защиты двигателя. Кроме того, показанная скважинная система 20 дополнительно содержит сепаратор 34, например, центробежный сепаратор или циклонный сепаратор, предназначенный для разделения компонентов скважинного флюида. Например, сепаратор 34 может быть предназначен для разделения компонентов, например, нефти и воды, жидких и твердых компонентов, например, воды и частиц, или других сочетаний компонентов, например, нефти, воды и твердых веществ. Сепаратор 34 может быть включен в скважинную систему 20 в различных местах, таких как показанное место выше погружного насоса 28. Однако, для ограничения потока твердых веществ через насос 28 сепаратор 34 может также размещаться выше по потоку от погружного насоса 28.
В показанном примере скважинная система 20 размещена внутри углеводородной скважины, например, внутри обсадной трубы 36 скважины. После размещения системы в требуемом месте внутри скважины на погружной электродвигатель 26 может быть подано питание для привода в движение как погружного насоса 28, так и сепаратора 34. Во время эксплуатации этого варианта воплощения скважинный флюид через впуск 30 поступает в насос 28 и перекачивается в сепаратор 34. Сепаратор 34 ускоряет смесь скважинного флюида и приводит ее в движение по круговой траектории, тем самым используя центробежные силы для размещения более плотных материалов, например, воды и твердых тел, в более отдаленных радиальных положениях, а менее плотных флюидов, например, нефти, - в положениях ближе к центру вращения. В этом примере поток нефти и поток воды выходит из сепаратора 34 и проходит отдельно по различным путям к перенаправителю 38, который перенаправляет поток воды и нагнетает его в окружающий пласт, при этом направляя поток нефти вверх по стволу скважины по, например, трубе 40 к месту сбора на поверхности. Сепаратор 34 может быть предназначен для разделения нефти, воды и твердых частиц (см. фиг. 10), и в этом случае компонент твердых веществ скважинного флюида направляется перенаправителем 38 в требуемое место. Следует отметить, что сепаратор 34 может использоваться в различных местах с перенаправителем 38 или без него. Например, сепаратор 34 может быть использован для разделения нефти, воды и твердых частиц и затем снова объединять твердые частицы с потоком нефти для подачи в нужное место сбора на поверхность, что позволяет избежать закупоривания зоны нагнетания воды.
Ссылки на потоки воды, потоки нефти и/или потоки твердых частиц, выходящие из сепаратора 34, относятся к потокам, имеющим, соответственно, значительные концентрации воды, нефти и твердых веществ. Другими словами, соответствующие потоки могут содержать части других компонентов скважинного флюида и не могут быть чистыми в том смысле, что они содержат исключительно воду, нефть или твердые вещества. В зависимости от конкретного применения, скважинная система 20 может включать различные другие компоненты, такие как пакеры 42 и 44.
На фиг. 2 показан вид с местным разрезом одного примера сепаратора 34, который в данном случае является сепаратором центробежного типа. Смесь скважинного флюида подается через впускное отверстие 45 для скважинного флюида сепаратора 34 в рабочую зону или камеру сепаратора 46, например, циклонную камеру сепаратора 34. Компоненты скважинного флюида разделяются делителем 48, который имеет каналы или проходы для перемещения отделенных компонентов скважинного флюида из рабочей зоны 46 сепаратора. Например, эти проходы могут содержать путь или канал 50 для нефти и путь или канал 52 для воды, которые служат выпускными отверстиями из камеры 46 сепаратора. Также делитель 48 может разделять скважинный флюид на дополнительные компоненты, такие как твердые вещества, которые подаются по отдельному пути или каналу для твердых веществ. Как показано, канал 50 для нефти расположен глубже внутри в радиальном направлении относительно канала 52 для воды. Для влияния на процесс разделения противодавление может выборочно прикладываться к потокам нефти, воды и/или твердых веществ. К примеру, противодавление на поток воды через канал 52 для воды может улучшить результаты разделения при разделении скважинного флюида, имеющего высокий процент нефти. Для скважинного флюида, имеющего более высокий процент воды, более высокое противодавление для потока нефти через канал 50 для нефти может подобным образом улучшить разделение нефти и воды. Как правило, тот же принцип противодавления применяется к циклонным сепараторам или сепараторам центробежного типа.
На фиг. 3 показано поперечное сечение другого типа разделительной системы 54, при этом сепаратор 34 разделяет компоненты скважинного флюида на потоки, протекающие через, например, канал 50 для нефти и канал 52 для воды. Следует отметить, что сепаратор 34 может быть предназначен и для отделения твердых веществ, которые затем направляются по отдельному каналу, как более подробно описано ниже. На фиг. 3 стрелки 56 показывают путь потока нефти, а стрелки 58 показывают путь потока воды. В этом примере ограничитель 60 потока, например, регулирующий компонент, размещается в канале 52 для воды. Однако другой ограничитель 60 потока может быть помещен в канал 50 для нефти или дополнительный ограничитель 60 потока может быть помещен в канал 50 для нефти, так что ограничители потока будут и в канале для воды, и в канале для нефти. В этом варианте воплощения поток 58 воды проходит вверх по стволу скважины в ограничитель 60 потока.
Ограничитель 60 потока может быть выбран из целого ряда различных типов ограничителей потока, один из примеров которого имеет элемент с проходным отверстием 62 потока через это проходное отверстие или канал 64. Размер проходного отверстия 64 может меняться, а конфигурация ограничителя 60 потока и элемента с проходным отверстием 62 позволяет регулировать противодавление в потоке воды 58. Например, ограничитель 60 потока может быть съемным ограничителем потока, что позволяет производить замену другими ограничителями 60 потока, имеющими иную регулируемость, например, иной элемент 62 регулирования потока через проходное отверстие 64, которое имеет другой размер, позволяющий регулировать противодавление. В других вариантах воплощения элемент с проходным отверстием 62 является съемным и может заменяться другими элементами 62, имеющими проходные отверстия 64 иных размеров. Ограничитель 60 потока и/или элемент 62 может заменяться с помощью инструмента 66, который может быть опущен вовнутрь скважины для размещения и/или удаления ограничителя 60 потока и/или элемента 62. Например, инструмент, используемый для замены этого устройства, может содержать инструмент, опускаемый на канате, тросе, гибких насосно-компрессорных трубах малого диаметра или с помощью другого подходящего средства 68 транспортировки. В некоторых случаях тросовый канат может быть наиболее экономичным средством транспортировки для изменения регулирования. В примере, показанном на фиг. 3, канал 50 для нефти может быть размещен или сконфигурирован так, чтобы инструменты, опускаемые с помощью средства 68 транспортировки, не могли непреднамеренно попасть в канал 50 для нефти. Например, канал 50 для нефти может иметь коленчатый участок 70 для предотвращения попадания инструмента 66 в этот канал или канал может быть такого размера, чтобы инструмент 66 не смог войти в канал.
В некоторых случаях ограничитель 60 потока содержит элемент 62, имеющий регулируемое проходное отверстие 64 с изменяемым размером, так, что для изменения размера проходного отверстия 64 не требуется замена ограничителя 60 потока. Например, размер проходного отверстия может регулироваться механически на поверхности или с помощью инструмента 66, опускаемого с использованием средства 68 транспортировки, например, талевого каната, троса, гибких насосно-компрессорных труб малого диаметра. В других случаях элемент 62 может иметь регулируемое проходное отверстие 64, которое регулируется с помощью гидравлического давления, направляемого вниз по стволу скважины по гидравлической линии, или с помощью электродвигателя, управляемого электрическими сигналами с поверхности или находящимся внутри скважины контроллером.
Как далее показано на фиг. 3, запорные клапаны 72 размещены в канале 50 для нефти и/или в канале 52 для воды. Запорные клапаны 72 могут быть использованы для предотвращения обратного движения флюида из канала 50 для нефти и канала 52 для воды в сепаратор 34. Блокирование этого возможного обратного потока запорными клапанами 72 предотвращает повреждение сепаратора 34.
На фиг. 1 показано, что пакеры 42 и 44 могут использоваться для изоляции участков ствола скважины вдоль скважинной системы 20. Например, показанные пакеры 42 и 44 изолируют зону, где вода должна повторно нагнетаться в ближайший перенаправитель 38 пласта, от зоны, куда скважинный флюид поступает из пласта ниже нижнего пакера 44. Конфигурация пакера эффективно изолирует впуск 30 насоса от флюида, обратно нагнетаемого в пласт. Альтернативно пакер 44 может быть расположен ниже погружного насоса 28, чтобы вода обратно нагнеталась в пласт выше пакера 42 или ниже пакера 44, что надлежащим образом изолирует зону добываемых скважинных флюидов от зоны пласта, куда вода нагнетается. Для создания изоляции между пластовыми флюидами и нагнетаемыми флюидами могут использоваться различные конфигурации пакеров.
Кроме того, скважинная система 20 может быть приспособлена для нагнетания в пласт текучей среды для интенсификации притока внутри скважины. Например, в варианте воплощения, показанном на фиг. 4, разделительная система 54 похожа на систему, показанную на фиг. 3, за исключением того, что ограничитель 60 потока удален. В конфигурации на фиг. 4 нагнетание в пласт для интенсификации притока может выполняться по трубе 40 как в канал 50 для нефти, так и в канал 52 для воды. Ограничитель 60 потока может быть заменен устройством регулирования потока, которое не позволяет флюиду, используемому для интенсификации притока, следовать по пути нагнетаемой в пласт воды. Например, стрелка 74 показывает путь нагнетания в пласт для интенсификации притока. Запорные клапаны 72 предотвращают попадание флюида, используемого для интенсификации притока, в сепаратор 34, что позволяет избежать отрицательного воздействия этого флюида на сепаратор.
На фиг. 5 показана другая конфигурация, при которой осуществляется обратное нагнетание потока воды в зону 76 требуемого нагнетания, находящуюся ниже продуктивной зоны 78. Погружной двигатель 26, насос 28 и сепаратор 34 могут быть соединены способом, аналогичным описанному относительно фиг. 1, а перенаправитель 38 подсоединен выше по стволу скважины от сепаратора 34. Перенаправитель 38 подключен к каналу 80, который проходит вниз по стволу скважины, для прохождения перенаправленного флюида через нижний пакер 82. Нижний пакер 82 отделяет продуктивную зону 78 от зоны 76 нагнетания, расположенной ниже пакера 82. В этом варианте воплощения поток воды проходит через канал 80 и через подпакерную трубу 84. Подпакерная труба 84 проходит через нижний пакер 82 в зону 76 нагнетания, что позволяет обратно нагнетать водный компонент.
На фиг. 6 показано более подробное поперечное сечение варианта воплощения перенаправителя 38. Аналогично на фиг. 7 показано более подробное поперечное сечение варианта воплощения перенаправителя 38 в сочетании с ограничителем 60 потока, размещенным в кармане 86 ограничителя потока. Карман 86 ограничителя потока предназначен для размещения ограничителя 60 потока. В этом конкретном примере канал 52 для воды расположен радиально с наружной стороны канала 50 для нефти, исходя из центробежного разделения на нефть и воду. Канал 50 для нефти проходит от внутрискважинного перенаправителя 38 через перенаправитель и вверх по стволу скважины мимо перенаправителя до его соединения с трубой (трубами) 40, например, эксплуатационной насосно-компрессорной трубой/гибкими насосно-компрессорными трубами малого диаметра. Канал 52 для воды проходит снизу перенаправителя 38 в перенаправитель 38. Канал 52 для воды соединяется с каналом 88 для воды, который соединяет канал 52 для воды с карманом 86 ограничителя потока. В показанном варианте воплощения канал 88 для воды простирается в направлении практически перпендикулярном каналу 52 для воды, так, что поток воды проходит через резкий поворот, например, 90° поворот. Однако угол поворота может варьировать и в некоторых случаях может быть менее острым, например, 45°, или более острым, например, 135°. Канал обратного нагнетания в пласт 90 соединяет карман 86 ограничителя потока и соответствующий канал, например, канал 80, для направления водного компонента скважинного флюида в зону 76 требуемого нагнетания.
На фиг. 8 показан вариант воплощения ограничителя 60 потока. В этом варианте воплощения ограничитель 60 потока содержит корпус 92, который имеет верхнюю внутреннюю камеру 94 и нижнюю внутреннюю камеру 96. Верхняя внутренняя камера 94 и нижняя внутренняя камера 96 разделены устройством ограничения потока, таким как элемент 62, имеющий проточный канал/проходное отверстие 64, благодаря которому регулируется поток флюидов. Элемент 62 и корпус ограничителя 92 потока могут быть одной деталью или двумя разными деталями, которые подобраны друг к другу. Весь ограничитель 60 потока и/или элемент потока 62 может быть стационарным или съемным в зависимости от практического применения разделения скважинного флюида.
В показанном варианте воплощения проходное отверстие 64 ограничения потока элемента 62 имеет меньший диаметр, чем диаметр верхней внутренней камеры 94 или нижней внутренней камеры 96, однако, диаметр проходного отверстия 64 может быть практически таким же, как диаметр верхней камеры 94 либо нижней камеры 96. Кроме того, один или более каналов 98 расположены в корпусе 92 ограничителя потока и гидравлически соединяют верхнюю камеру 94 с областью, внешней по отношению к ограничителю 60 потока. Другой канал 100 расположен на скважинном конце ограничителя 60 потока и обеспечивает путь потока, который позволяет осуществлять связь с нижней частью элемента 62 через нижнюю внутреннюю камеру 96.
Когда ограничитель 60 потока размещен внутри кармана 86 ограничителя потока, каналы 98 позволяют флюиду проходить из канала 88 для воды через каналы 98 в верхнюю внутреннюю камеру 94. Затем флюид поступает через проходное отверстие 64 элемента 62 в нижнюю внутреннюю камеру 96. Из нижней внутренней камеры 96 флюид, например, вода, проходит через канал 100 из ограничителя 60 потока для обратного нагнетания в требуемую зону, например, в зону 76 нагнетания. Для образования уплотнения с внутренней поверхностью кармана ограничителя 96 потока несколько уплотнений 102, например, уплотнительных колец, может быть установлено около корпуса 92. В целом ряде случаев ограничитель 60 потока может быть съемным. Дополнительно или альтернативно элемент 62 может быть спроектирован как взаимозаменяемый или регулируемый, что позволяет выполнять регулирование применительно к размеру проточного канала 64. Следует отметить, что ограничитель 60 потока может иметь много внутренних конфигураций, которые позволяют получить требуемое ограничение/регулирование потока флюидов для облегчения разделения компонентов скважинного флюида.
Если ограничитель 60 потока является съемным, то он может содержать элемент 104 крепления, предназначенный для облегчения зацепления с инструментом 66 для размещения и извлечения применительно к карману 86 ограничителя потока. Как отмечалось ранее, инструмент 66 может быть подсоединен к различным средствам 68 транспортировки, например, талевому канату, тросу или гибким насосно-компрессорным трубам малого диаметра.
Во многих случаях применяемые способы разделения и выбираемый ограничитель потока зависят от параметров и характеристик, связанных со скважинным флюидом, например, с составом скважинного флюида. Например, знание состава скважинного флюида может быть полезным для определения надлежащих способов разделения, получения и обратного нагнетания различных компонентов скважинного флюида. В некоторых случаях датчик 106 может быть расположен внутри скважины для определения выбранных параметров скважинного флюида, таких как соотношение нефти, воды и твердых веществ в скважинном флюиде, как показано на фиг. 9. Данные из датчика 106 могут передаваться вверх по стволу скважины многими способами, например, с помощью электрических сигналов по проводу, волоконно-оптических сигналов, радиосигналов, акустических сигналов, технологий беспроводной передачи и других способов передачи соответствующих данных. Как вариант, сигналы могут передаваться внутрискважинному процессору 108. Внутрискважинный процессор 108 может использоваться для подачи команд, например, двигателю, соединенному с элементом 62, для задания определенного размера проходного отверстия или для выполнения других внутрискважинных функций. В зависимости от практического применения, датчик 106 может быть расположен ниже по потоку от впускного отверстия сепаратора 34 для скважинного флюида, внутри сепаратора 34, перенаправителя 38, ограничителя 60 потока, извне сепаратора 34 и ниже по стволу скважины от впуска 30 для скважинного флюида, извне сепаратора 34 и выше по стволу скважины от впуска 30 снаружи сепаратора 34 и на том самом уровне, что и впуск 30 для скважинного флюида, ниже по потоку от впуска 30, выше по потоку от сепаратора или в других подходящих местах.
На фиг. 9 показан пример ограничителя 60 потока, имеющего датчик 106, расположенный в верхней внутренней камере 94. В ином варианте воплощения датчик 106 может находиться в нижней внутренней камере 96; или несколько датчиков 106 могут находиться в верхней внутренней камере, нижней внутренней камере и/или в других требуемых местах. В зависимости от потребности в получении информации о скважинном флюиде датчик 106 может быть предназначен определять различные параметры, такие как температура, скорость потока, давление, вязкость, соотношение нефти и воды или другие требуемые параметры. Дополнительно датчик или датчики 106 могут использоваться во взаимодействии с дистанционным датчиком 110, который встраивается в перенаправитель 38 или в другой подходящий компонент скважинной системы 20. Датчик 106 может передавать информацию внутрискважинному процессору 108 или другой подходящей системе сбора данных через соответствующую телеметрическую систему, например, электроконтактную телеметрическую систему или систему «short-hop». Как описывалось выше, информация, полученная от датчика 106, также может использоваться и для регулирования размера проходного отверстия 64. Например, элемент 62 может содержать механизм 111 регулирования, который регулируется механически, гидравлически, электрически или иным образом. Например, инструмент может опускаться на подходящем средстве 68 транспортировки для механического воздействия на механизм 111 регулирования, что приводит к изменению размера проходного отверстия 64.
На фиг. 10 показан еще один вариант воплощения сепаратора 34 и разделительной системы 54. В этом варианте воплощения сепаратор 34 предназначен для разделения скважинного флюида на дополнительные компоненты. Например, сепаратор 34 может быть предназначен для разделения скважинного флюида на нефть, воду и твердые вещества, например, частицы, для обеспечения положительных результатов разделения и добычи. Важнейшим фактором для успешного применения технологии разделения скважинных флюидов в долгосрочной перспективе является поддержание приемистости в зоне нагнетания, например, в зоне 76. Во время эксплуатации скважины снижения приемистости могут быть вызваны переносом твердых веществ, например, частиц, в зону нагнетания, например, в зону 76, после разделения нефти и воды. Накопление твердых веществ на вскрытой поверхности в песчаном пласте зоны нагнетания может уменьшить приемистость. Поддержание коэффициента приемистости как можно ближе к первоначальному коэффициенту приемистости и настолько долго, насколько это практически осуществимо, может быть целесообразным при непрерывной эксплуатации внутрискважинных систем разделения флюида. Добыча может быть улучшена либо только путем ограничения количества твердых веществ, откладываемых в зоне нагнетания, либо в сочетании с интенсифицирующим воздействием на зону нагнетания.
Вариант воплощения сепаратора 34, показанный на фиг. 10, предназначен обеспечить дополнительный поток отвода твердых веществ. Этот поток может использоваться для направления твердых веществ подальше от зоны 76 нагнетания воды. В некоторых случаях поток отвода твердых веществ можно снова соединить с компонентом нефти, добываемой из скважинного флюида для обеспечения нагнетаемого потока воды относительно свободным от твердых веществ.
Как указывалось выше в отношении сепаратора 34, разделение на компонент нефти, компонент воды и компонент твердых веществ может получаться путем вращения, с помощью динамических сепараторов, например, циклонных или центробежных сепараторов, работающих по принципу разделения плотности с использованием сил, возникающих во время вращения. При вращении скважинного флюида более тяжелая фаза/компонент отделяется ко внешнему радиусу вращения. Например, более тяжелые твердые вещества могут отделяться ко внешним радиальным областям, в то время как более легкая вода отделяется к промежуточной области, а еще более легкая нефть отделяется в область ближе к центру вращения. Этот радиально центричный компонент нефти (возможно, с некоторыми остатками воды и/или твердых веществ) отводится как выходной продуктивный поток.
Как показано на фиг. 10, сепаратор 34 содержит канал 112 для твердых веществ, по которому отводится поток твердых веществ, имеющий высокую концентрацию твердых веществ. Как показано, канал/отвод 112 твердых веществ расположен в положении, которое является радиально отдаленным положением относительно канала 52 для воды и канала 50 для нефти. Каналы 50, 52 и 112 служат в качестве выпускных из рабочей области сепаратора 46, когда потоки поступают в делитель 48. В этом примере твердые вещества являются тяжелыми компонентами и циклонное/центробежное разделение отделяет твердые вещества (с некоторым количеством воды в качестве жидкости-носителя) ко внешнему радиусу рабочей зоны 46 сепаратора. Как описано выше, нефть - самая легкая и отделяется к центру вращения для создания потока нефти. Большее количество воды отделяется в промежуточном месте между компонентом нефти и компонентом твердых веществ и оно относительно свободно от твердых веществ. Этот поток воды, который является относительно свободным от твердых веществ, может быть отведен в требуемую зону нагнетания, например, зону 76 нагнетания, с помощью вышеописанных способов. Обратное нагнетание потока воды в зону 76 нагнетания позволяет избежать вероятности закупоривания зоны 76 нагнетания и, таким образом, предотвращает повреждение в зоне нагнетания. Самый удаленный от центра компонент скважинного флюида - это компонент твердых веществ, который содержит наибольшую долю твердых веществ, и этот компонент твердых веществ может направляться в область 114 обратного объединения и опять объединяться с потоком нефти в качестве продуктивного потока в, например, трубе 40.
При работе смесь скважинного флюида подается в камеру 46 сепаратора, например, циклонную/центробежную камеру сепаратора 34, погружным насосом 28 или другим подходящим насосом насосной системы 24. Скважинный флюид поступает в рабочую зону 46 сепаратора 34 через впуск 116 для скважинного флюида. В рабочей зоне 46 сепаратора компоненты скважинного флюида разделяются на компоненты нефти, воды и твердых веществ, которые главным образом содержат, соответственно, нефть, воду и твердые вещества. Потоки, преимущественно, нефти, воды и твердых веществ затем разделяются на потоки компонентов делителем 48, и соответствующие потоки компонентов распределяются через соответствующий канал 50 для нефти, канал 52 для воды и канал 112 для твердых веществ. Компоненты скважинного флюида могут быть направлены через соответствующее выпускное отверстие 118 для потока нефти, выпускное отверстие 120 для потока воды и выпускное отверстие для твердых веществ делителя 48 к соответствующим путям потоков вниз по потоку. Канал 52 для воды является радиально внешним по отношению к каналу 50 для нефти, а канал 112 для твердых веществ является радиально внешним по отношению к каналу 52 для воды. Например, канал 50 для нефти, канал 52 для воды и канал 112 для твердых веществ могут быть в виде концентрических каналов, которые распределяют компоненты скважинного флюида по требуемым местам ниже по потоку. Например, потоки компонентов могут быть направлены в соответствующий перенаправитель 38 и/или через соответствующие ограничители потока 60.
Как описано выше в отношении различных вариантов воплощения скважинной системы, разделение компонентов скважинного флюида, например, разделение на компоненты нефти, воды и твердых веществ, может быть улучшено путем воздействия противодавлением на различные потоки компонентов скважинной жидкости. Во многих случаях требуемое противодавление может осуществляться съемными ограничителями потока, съемными элементами с проходными отверстиями и/или регулируемыми проходными отверстиями, помещенными в поток нефти и твердых веществ и/или в поток воды. Однако, для достижения требуемых результатов добычи противодавление может быть создано с помощью различных устройств и применительно к различным сочетаниям потоков компонентов скважинного флюида. Ограничитель потока, например, может быть помещен в поток нефти и твердых веществ, поток компонента нефти, поток компонента воды и/или поток компонента твердых веществ.
Хотя выше были описаны подробно только несколько вариантов воплощения настоящего изобретения, специалистам в данной области техники понятно, что без отступления от принципов этого изобретения возможны многие видоизменения. Следовательно, такие видоизменения должны быть включены в объем данного изобретения, как это определено в формуле изобретения.
1. Скважинное устройство, содержащее разделительную систему, имеющую сепаратор, содержащий впускное отверстие для скважинного флюида, канал для потока нефти, канал для потока воды и канал для твердых веществ; и съемный ограничитель потока, расположенный в канале для твердых веществ для облегчения разделения компонентов скважинного флюида.
2. Скважинное устройство по п.1, в котором съемный ограничитель потока имеет стационарно установленный элемент с регулируемым проходным отверстием, имеющий проточный канал, размер которого изменяется заменой ограничителей потока.
3. Скважинное устройство по п.1, в котором съемный ограничитель потока имеет съемно установленный элемент с регулируемым проходным отверстием, имеющий проточный канал, размер которого изменяется заменой съемных элементов с регулируемым проходным отверстием.
4. Скважинное устройство по п.1, которое дополнительно содержит насосную систему, имеющую погружной насос, причем канал для потока воды открывается в ствол скважины в точке, которая расположена глубже в стволе скважины, чем погружной насос.
5. Скважинное устройство по п.1, в котором съемный ограничитель потока приспособлен удаляться скважинным инструментом, помещаемым в скважину с помощью средства транспортировки.
6. Скважинное устройство по п.1, в котором сепаратор являе
 
                         
                            


