Комплект, включающий в себя устройство для нанесения материала, и использование такого комплекта
Иллюстрации
Показать все(57) Изобретение относится к комплектам, содержащим устройство для нанесения, в частности, косметических материалов, и использованию таких комплектов. Задачей изобретения является создание устройства, в котором радиальные язычки не ограничивают конструкцию устройства и, следовательно, не причиняют повреждение пользователю при нанесении материала. Комплект содержит устройство для нанесения материала, содержащее защитную трубку, продолжающуюся в продольном направлении, сменный картридж и регулирующий механизм для перемещения картриджа в защитной трубке. Картридж содержит столбик материала, удерживаемый колпачком, который содержит внутренний выступ. Для извлечения использованного картриджа из устройства для нанесения материала в столбик материала может проникать извлекающий элемент, который содержит наружный выступ, предназначенный для удерживания внутреннего выступа колпачка. Техническим результатом изобретения является создание устройства, в котором радиальные язычки не ограничивают конструкцию устройства и, следовательно, не причиняют повреждение пользователю при нанесении материала. 2 н. и 18 з.п. ф-лы, 25 ил.
Реферат
Область техники
Изобретение относится к комплектам, содержащим устройства для нанесения материалов, в частности косметических материалов, и использованию таких комплектов.
Уровень техники
Известны устройства для нанесения материалов, которые содержат:
- защитную трубку, продолжающуюся в продольном направлении между первым и вторым концами, при этом второй конец является открытым,
- сменный картридж, помещенный в защитную трубку, который содержит колпачок и столбик материала; вышеуказанный столбик материала продолжается в вышеуказанном продольном направлении между ближним концом внутри колпачка и дальним концом на расстоянии от вышеуказанного колпачка,
- регулирующий механизм, предназначенный для перемещения столбика материала в защитной трубке в продольном направлении таким образом, чтобы по меньшей мере часть столбика материала выступала из второго конца защитной трубки; вышеуказанный регулирующий механизм содержит скользящий элемент, к которому съемно прикреплен колпачок.
В документе GB-A-655718 описывается пример такого устройства для нанесения материала, предназначенного, в частности, для помады. В этом известном устройстве колпачок картриджа на своем выступе имеет радиально выступающие язычки, которые входят в зацепление с канавками, расположенными на открытом конце трубки заправочного устройства. Трубка заправочного устройства содержит картридж, который будет помещен в устройство для нанесения материала, и также обеспечивает удаление использованного картриджа из устройства для нанесения материала.
Недостатком этого известного устройства является то, что радиальные язычки колпачка являются выступающими. По этой причине указанные радиальные язычки ограничивают конструкцию устройства для нанесения материала и ее компактность. Кроме того, вышеуказанные радиальные язычки могут причинить повреждение пользователю при нанесении материала, в частности, когда столбик материала почти израсходован.
Раскрытие изобретения
Задача изобретения состоит в том, чтобы устранить вышеуказанные недостатки.
Согласно изобретению предлагается комплект, содержащий:
a) устройство для нанесения материала, включающее в себя:
- защитную трубку, продолжающуюся в продольном направлении между первым и вторым концами, при этом второй конец является открытым,
- сменный картридж, помещенный в защитную трубку; картридж содержит колпачок и столбик материала, при этом вышеуказанный столбик материала продолжается в вышеуказанном продольном направлении между ближним концом, закрепленным внутри колпачка, и дальним концом, расположенным на расстоянии от вышеуказанного колпачка; колпачок имеет внутренний выступ, который закрыт столбиком материала внутри колпачка,
- регулирующий механизм, предназначенный для перемещения столбика материала в защитной трубке в продольном направлении таким образом, чтобы по меньшей мере часть столбика материала выходила из второго конца защитной трубки; вышеуказанный регулирующий механизм содержит скользящий элемент, к которому съемно прикреплен колпачок,
b) извлекающий элемент, предназначенный для проникновения в столбик материала; вышеуказанный извлекающий элемент имеет наружный выступ, который жестко крепится к вышеуказанному внутреннему выступу после проникновения в столбик материала так, чтобы картридж мог быть извлечен из устройства для нанесения материала.
С помощью этих конструкций использованный картридж может быть легко и аккуратно извлечен из устройства для нанесения материала без колпачка картриджа, имеющего наружные радиальные язычки.
В некоторых вариантах выполнения комплекта согласно изобретению могут быть использованы одна или несколько из перечисленных ниже конструкций:
- колпачок содержит дно и боковую стенку, в которую вставлен ближний конец столбика материала, при этом вышеуказанный внутренний выступ выступает радиально внутрь от вышеуказанной боковой стенки;
- вышеуказанный внутренний выступ является кольцевым выступом, имеющим заплечик, обращенный ко дну колпачка;
- вышеуказанный внутренний выступ является резьбой;
- колпачок содержит дно, в котором выполнено отверстие, ограниченное вышеуказанным внутренним выступом;
- столбик материала состоит из пастообразного материала;
- столбик материала состоит из материала, предназначенного для нанесения на губы с целью косметического использования, например, губной помады, или фармацевтического использования;
- комплект дополнительно содержит заправочное устройство, содержащее сменный картридж, съемно установленный в корпусе, который содержит полость для установки картриджа, продолжающуюся в осевом направлении между первым и вторым концами, при этом второй конец является открытым; вышеуказанный картридж содержит колпачок и столбик материала, дно колпачка расположено около второго конца полости заправочного устройства, и оно может быть установлено на скользящий элемент устройства для нанесения материала; вышеуказанный столбик материала заправочного устройства продолжается в продольном направлении между ближним концом, закрепленным внутри колпачка, и дальним концом, расположенным на некотором расстоянии от вышеуказанного колпачка; колпачок заправочного устройства имеет внутренний выступ, который закрыт столбиком материала внутри колпачка, и столбик материала заправочного устройства выполнен с возможностью проникновения в него вышеуказанного извлекающего элемента, который может жестко крепиться к вышеуказанному внутреннему выступу колпачка заправочного устройства для извлечения картриджа заправочного устройства, когда он установлен в устройстве для нанесения материала;
- колпачок заправочного устройства вставляется во второй конец полости для установки картриджа, и вышеуказанная полость для установки картриджа содержит заплечик, который обращен ко второму концу вышеуказанной полости для установки картриджа так, чтобы он мог прижиматься к колпачку в осевом направлении;
- заправочное устройство содержит крышку для закрывания второго конца полости для установки картриджа;
- крышка содержит два плеча, установленные с возможностью поворачивания на двух соответствующих осях с каждой стороны корпуса заправочного устройства; вышеуказанные плечи выполнены с возможностью скольжения относительно корпуса между закрытым положением, в котором крышка закрывает второй конец полости для установки картриджа, и свободным положением, в котором крышка перемещается в сторону от вышеуказанного второго конца полости для установки картриджа; в свободном положении крышка находится на достаточном расстоянии от вышеуказанного второго конца полости для установки картриджа и может поворачиваться и не загораживать вышеуказанный второй конец полости для установки картриджа;
- извлекающий элемент составляет неотъемлемую часть корпуса заправочного устройства и содержит наружный выступ, взаимодействующий с внутренним выступом колпачка для удерживания вышеуказанного колпачка и извлечения картриджа, когда он установлен в устройстве для нанесения материала;
- корпус заправочного устройства дополнительно содержит полость для извлечения картриджа, которая выполнена напротив полости для установки картриджа и по меньшей мере частично содержит вышеуказанный извлекающий элемент; вышеуказанная полость для извлечения картриджа предназначена для размещения картриджа, извлекаемого из устройства для нанесения материала с помощью извлекающего элемента;
- колпачок картриджа содержит дно и боковую стенку, в которой закреплен ближний конец столбика материала, и вышеуказанный внутренний выступ выступает радиально внутрь от вышеуказанной боковой стенки;
- наружный выступ извлекающего элемента выполнен с возможностью зацепления с внутренним выступом картриджа, когда он установлен в устройстве для нанесения материала;
- внутренний выступ колпачка является кольцевым и содержит заплечик, обращенный ко дну колпачка;
- наружный выступ извлекающего элемента является кольцевым и содержит заплечик, обращенный к полости для установки картриджа, и извлекающий элемент имеет форму втулки;
- вышеуказанный внутренний выступ колпачка является резьбой, а наружный выступ извлекающего элемента является ответной резьбой, предназначенной для ввертывания во внутренний выступ колпачка;
- дно колпачка имеет отверстие, ограничиваемое вышеуказанным внутренним выступом, а извлекающий элемент содержит по меньшей мере один стержень, который продолжается к свободному концу, имеющему выступающую головку, которая содержит вышеуказанный наружный выступ, предназначенный для зацепления с внутренним выступом колпачка.
Другим объектом изобретения является применение комплекта, описанного выше, при котором:
- вводят извлекающий элемент в столбик материала в картридже устройства для нанесения материала,
- жестко крепят наружный выступ вышеуказанного извлекающего элемента к вышеуказанному внутреннему выступу колпачка, и
- извлекают картридж с помощью извлекающего элемента.
Краткое описание чертежей
Другие отличительные характеристики и преимущества изобретения станут понятными после изучения представленного ниже описания нескольких вариантов осуществления изобретения, приведенных в качестве неограничивающих примеров, со ссылкой на приложенные чертежи.
На чертежах:
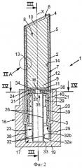
на фиг.1 показано устройство согласно первому варианту осуществления изобретения, общий вид в перспективе с вырывом;
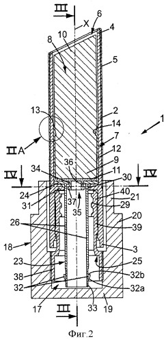
на фиг.2 - то же без крышки, вид в продольном разрезе плоскостью по линии II-II на фиг.3;
на фиг.2А - увеличенный вид места IIА на фиг.2;
на фиг.3 - устройство для нанесения материала с фиг.1 без крышки, вид в продольном разрезе плоскостью по линии III-III на фиг.2;
на фиг.4 - то же, вид в поперечном разрезе по линии IV-IV на фиг.2;
на фиг.5 показано заправочное устройство для устройства для нанесения материала, показанного на фиг.1 и 4, вид в перспективе;
на фиг.6 и 7 - то же, вид в перспективе в разрезе по плоскости VI-VI и вид в разрезе по плоскости VII-VII соответственно;
на фиг.8 - то же, в разобранном состоянии;
на фиг.9 показан использованный картридж с материалом, зацепленный корпусом заправочного устройства, вид в перспективе, частично в разрезе;
на фиг.9А - увеличенный вид места IXA на фиг.9;
на фиг.10 показано извлечение использованного картриджа с помощью корпуса заправочного устройства, вид в перспективе, частично в разрезе;
на фиг.11 и 12 показано поворачивание крышки заправочного устройства для открывания картриджа нового продукта, содержащегося в заправочном устройстве, после извлечения использованного картриджа, вид в перспективе;
на фиг.13 показана установка нового картриджа с помощью заправочного устройства в устройство для нанесения материала, вид в перспективе;
на фиг.14, 15, 16, 16А, 17 показан второй вариант осуществления изобретения, виды, аналогичные соответственно видам на фиг.2, 6, 9, 9А и 13;
на фиг.18, 19, 20, 20А, 21 показан третий вариант осуществления изобретения, виды, аналогичные соответственно видам на фиг.2, 6, 9, 9А и 13.
Осуществление изобретения
На чертежах для обозначения идентичных или схожих элементов используются одни и те же ссылочные номера позиций.
А. Первый вариант осуществления изобретения
а) Устройство для нанесения материала
Как показано на фиг.1-4, устройство 1 для нанесения материала содержит защитную трубку 2, которая продолжается в продольном направлении Х между первым и вторым концами 3, 4. В частности, защитная трубка 2 может иметь, в общем, цилиндрическую форму относительно центральной оси X. Второй конец 4 является открытым.
Защитная трубка 2, к примеру, может быть выполнена из пластика и, возможно, может быть закрыта на ее видимых наружных участках (т.е., участках рядом со вторым концом 4) декоративной металлической втулкой.
Защитная трубка 2 содержит сменный картридж 6, который содержит:
- колпачок 7, выполненный, например, из пластика, и
- столбик 8 материала; на всех фигурах в качестве примера используется столбик губной помады.
Столбик 8 материала, в общем, изготавливается из твердого или пастообразного материала, которому может быть придана форма столбика, остающаяся стабильной в динамике по времени при комнатной температуре. Этот тип твердого или пастообразного материала, в общем, содержит воск или смесь восков и наносится посредством контакта с поверхностью во время использования. Твердый или пастообразный материал также является материалом, который может внедряться с помощью жесткого предмета без потери целостности материала, когда ему придается заданная форма, такая как столбик.
Столбик 8 материала продолжается в продольном направлении Х между ближним концом 9, жестко прикрепленным к колпачку 7, и дальним концом 10, расположенным рядом со вторым концом 4 защитной трубки и предназначенным для выхода из защитной трубки 2 с помощью этого второго конца 4.
В примере, показанном на чертежах, колпачок 7 образует некоторый внутренний объем, в который вставлен ближний конец 9 столбика материала. В частности, в этом примере колпачок 7 может иметь дно 11 и боковую стенку 12, имеющую, например, в общем, цилиндрическую форму, центрированную по оси X. Боковая стенка 12 продолжается от дна 11 до свободного конца 13 в направлении дальнего конца 10 столбика материала.
В изобретении для облегчения извлечения картриджа 6 с материалом, когда столбик 8 материала заканчивается, колпачок 7 снабжен внутренним выступом, который выступает радиально внутрь и который закрывается столбиком 8 материала внутри вышеуказанного колпачка, но может взаимодействовать с наружным извлекающим элементом, который проникает в столбик материала и обеспечивает извлечение использованного картриджа 6 и его замену новым картриджем.
В первом варианте осуществления изобретения вышеуказанный внутренний выступ колпачка состоит из кольцевого ребра 14, расположенного на внутренней стороне боковой стенки 12 рядом со свободным концом 13. Как более детально показано на фиг.2А, ребро 14, если таковое предусмотрено, может иметь наклонную сторону 15 и заплечик 16, при этом наклонная сторона 15 проходит вниз и радиально внутрь к заплечику 16, который обращен ко дну 11, по существу, перпендикулярно центральной оси X.
Как показано на фиг.1 и 2, устройство 1 для нанесения материала дополнительно содержит регулирующий механизм 17 для перемещения столбика материала между:
- убранным положением (фиг.2), в котором вышеуказанный столбик 8 полностью расположен в защитной трубке 2,
- и рабочим положением (фиг.1), в котором столбик 8 выступает из второго конца 4 защитной трубки 2.
В примере, показанном на чертежах, регулирующий механизм 17 включает в себя основание 18, которое образует нижнюю часть устройства для нанесения материала. Основание 18 имеет дно 19, которое позволяет устанавливать устройство 1 для нанесения материала на горизонтальную поверхность, и боковую стенку 20, которая продолжается вдоль центральной оси Х от дна 19 и окружает нижнюю часть защитной трубки 2 рядом с первым концом 3 защитной трубки.
Верхняя часть боковой стенки 20 основания 18 может содержать утоненную часть 21, на которую может устанавливаться защитный колпачок 22 (фиг.1) для закрывания защитной трубки 2, когда столбик 8 материала находится в убранном положении.
Основание 18 может поворачиваться относительно защитной трубки 2 вокруг центральной оси Х и регулировать перемещение столбика 8 материала между убранным положением и рабочим положением. Как показано на фиг.2 и 3, регулирующий механизм 17 может содержать:
- винт 23, расположенный в продольном направлении вдоль оси Х и выполненный за одно целое со скользящим элементом 24, который скользит вдоль оси Х внутри защитной трубки 2,
- и гайку 25, которая навинчивается на винт 23 и крепится к основанию 18 и вращается вместе с ним.
В конкретном примере, показанном на фиг.2 или 3, винт 23 может быть изготовлен из того же куска пластика, что и скользящий элемент 24, и гайка 25 также может быть изготовлена из пластика.
Винт 23 может иметь форму полого штока, имеющего:
- две плоских противолежащих стороны 26 (см. фиг.2 и 4), которые проходят параллельно друг другу и оси X, и
- две стороны 27 в форме цилиндрических участков, сцентрированных относительно оси X, как можно видеть на фиг.3, которые диаметрально противоположны друг другу и которые соединены с плоскими сторонами 26. Стороны 27 в форме цилиндрических участков имеют наружную резьбу 28, которая входит в зацепление с внутренней резьбой 29 гайки 25 (см. фиг.3 и 4).
Винт 23 продолжается от скользящего элемента 24 ко дну 19 основания 18, проходя через отверстие 30 в поперечной стенке 31, которая может быть образована из пластика за одно целое с защитной трубкой 2 и которая проходит радиально внутрь в этой защитной трубке в промежуточном положении между первым и вторым концами 3, 4 вышеуказанной защитной трубки. Как показано на фиг.4, отверстие 30 может иметь форму, которая, по существу, сопрягается с наружной формой винта 23 во избежание поворачивания винта 23 вокруг оси Х (две плоские стороны 26 винта 23 находятся в скользящем контакте с двумя противолежащими кромками отверстия 30), при этом позволяя винту 23 перемещаться поступательно внутри защитной трубки 2 вдоль оси Х со скользящим элементом 24.
Перемещение винта 23 внутри защитной трубки 2 ограничивается:
- в нижнем направлении (т.е. к основанию 18) - скользящим элементом 24, который останавливается поперечной стенкой 31,
- в верхнем направлении (т.е. ко второму концу защитной трубы 2), например, за счет контакта двух упругих язычков 32 с поперечной стенкой 30.
Упругие язычки 32, к примеру, могут быть получены формованием за одно целое с винтом 23 рядом со свободным концом 33 этого винта 23, и они могут проходить через отверстие 30 в поперечной стенке 31 за счет упругого деформирования во время начальной установки винта 23 в защитную трубку 2. С этой целью упругие язычки 32 могут деформироваться радиально внутрь, и каждый из них при необходимости может иметь наклонную поверхность 32а, проходящую вверх под углом и радиально наружу от одной из плоских боковых стенок 26 винта, и верхнюю упорную поверхность 32b, проходящую, по существу, перпендикулярно оси Х (см. фиг.2).
Сам скользящий элемент 24, к примеру, может иметь форму простой пластины, расположенной перпендикулярно оси X, как показано на фигурах, или форму диска, открытого ко второму концу 4 защитной трубки, или любую другую форму. Такой скользящий элемент 24 в рассматриваемом примере имеет центральное отверстие 34, в котором может быть зажата упругая ножка 35, образованная под дном 11 за одно целое с вышеуказанным колпачком 7. Упругая ножка 35, к примеру, может иметь боковую стенку 36, которая, по существу, имеет цилиндрическую симметрию и сцентрирована относительно оси X; боковая стенка имеет на свободном конце выступ 37, выступающий радиально наружу и предназначенный для удерживания колпачка 7 с возможностью разборки на скользящем элементе 24 посредством зажимания выступа 37 в отверстии 34.
И, наконец, вышеупомянутая гайка 25, к примеру, может иметь нижнюю часть 38, которая может быть рифленой или нет и которая с усилием вставляется в ответную внутреннюю часть, выполненную в основании 18. Нижняя часть 38 имеет кольцевую форму и окружает винт 23, не препятствуя перемещению этого винта. Вышеуказанная нижняя часть 38 проходит к поперечной стенке 30 защитной трубки в виде промежуточной кольцевой части 39, которая сама по себе не имеет резьбы, и затем в виде верхней части 40, которая имеет вышеуказанную внутреннюю резьбу 29.
С помощью регулирующего механизма 17 основание 18 поворачивается относительно защитной трубки 2 вокруг оси X, перемещая скользящий элемент 24 и картридж 6 с материалом, в результате чего столбик 8 материала выступает из защитной трубки 2 или втягивается в нее.
Разумеется, описанный выше конкретный регулирующий механизм представлен только в качестве примера. Для регулирования перемещения столбика материала могут использоваться другие регулирующие механизмы, в частности регулирующие механизмы, в которых используются канавки в тех элементах, которые расположены соосно столбику 8 материала, что хорошо известно из существующего уровня техники.
b) Заправочное устройство
На фиг.5-8 показан пример заправочного устройства 41, используемого для замены картриджа с материалом в описанном выше устройстве 1 для нанесения материала.
Заправочное устройство 41 содержит корпус 42, выполненный, к примеру, из пластика, который ограничивает полость 43 для установки картриджа, в которой содержится новый картридж 6 с материалом, идентичный описанному выше картриджу 6 в контексте устройства 1 для нанесения материала (см. фиг.6).
Корпус 42 может иметь снаружи, по существу, форму параллелепипеда, и может быть удлиненным, продолжаясь в продольном направлении вдоль центральной оси X'. Полость 43 для установки картриджа может иметь цилиндрическую форму, сцентрированную относительно оси X'.
Корпус 42 может иметь кольцевую внутреннюю боковую стенку 44, которая ограничивает полость 43 для установки картриджа; вышеуказанная полость 43 для установки картриджа продолжается вдоль центральной оси X' между первым концом 45 и вторым концом 46. Первый конец 45 полости 43 для установки картриджа может быть перекрыт, например, поперечной перегородкой 47, выполненной за одно целое с боковой стенкой 44 корпуса заправочного устройства. Второй конец 46 является открытым и может временно перекрываться съемной защитной мембраной 48, которая, к примеру, может быть приварена или приклеена к торцевой поверхности боковой стенки 44 (см. фиг.6 и 8).
Как показано на фиг.6, новый картридж с материалом устанавливается в полость 43 для установки картриджа таким образом, чтобы дно 11 его колпачка находилось рядом со вторым концом 46 полости для установки картриджа, и дальний конец 10 столбика материала находился рядом с первым концом 45 полости для установки картриджа.
Картридж 6 удерживается на месте в полости для установки картриджа за счет вставления его колпачка 7 во второй конец 46 полости для установки картриджа, при этом вышеуказанная полость для установки картриджа содержит заплечик 49, который обращен к вышеуказанному второму концу 46 таким образом, что он может прижиматься к колпачку в осевом направлении X'. Таким образом, заплечик 49 может оказывать давление на вышеуказанный колпачок 7 в осевом направлении X' во время перемещения нового картриджа 6 вдоль устройства 1 для нанесения материала после извлечения использованного картриджа 6 из вышеуказанного устройства для нанесения материала, как объясняется ниже.
В частности, в рассматриваемом примере полость 43 для установки картриджа содержит средство, удерживающее колпачок, которое является кольцевой внутренней стенкой 50, по существу, цилиндрической формы, сцентрированной относительно центральной оси X', которая может быть получена формованием за одно целое с корпусом 42 и которая может продолжаться вдоль центральной оси X' от поперечной перегородки 47 до свободного конца 51, расположенного рядом со вторым концом 46 полости для установки картриджа.
Кольцевая стенка 50 рядом с ее свободным концом 51 может иметь концевую часть 52, имеющую увеличенный внутренний диаметр, которая ограничивает вышеуказанный заплечик 49. Боковая стенка 12 колпачка нового картриджа 6 вставлена в эту концевую часть 52 таким образом, что свободный конец 13 этой боковой стенки упирается в вышеуказанный заплечик 49.
Кольцевая стенка 50 может содержать рядом с ее свободным концом внутренний кольцевой выступ 53, который находится в контакте с боковой стенкой 12 колпачка и обеспечивает плавное вставление колпачка в кольцевую стенку 50.
Корпус 42 заправочного устройства может дополнительно содержать крышку 54 для временного закрывания второго конца 46 полости для установки картриджа.
Крышка 54 может устанавливаться с возможностью поворачивания на боковой стенке 44 корпуса. С этой целью крышка 54, к примеру, может иметь форму скобы, включая сюда:
- центральный участок 55 для закрывания второго конца 46 полости для установки картриджа,
- и два плеча 56, установленных с возможностью поворачивания на двух соответствующих осях 57 с противоположных сторон боковой стенки 44 корпуса 42.
Плечи 56 могут быть установлены дополнительно с возможностью скольжения относительно боковой стенки 44 корпуса между:
- закрытым положением, в котором центральный участок 55 крышки прижимается к торцевой поверхности корпуса для закрывания второго конца 46 полости 43 для установки картриджа,
- и свободным положением, в котором крышка перемещается от вышеуказанного второго конца 46 полости для установки картриджа, при этом свободное положение является таким положением, в котором крышка достаточно удалена от вышеуказанного второго конца 46 полости 43 для установки картриджа, что позволяет крышке поворачиваться и не заслонять вышеуказанный второй конец 46 полости для установки картриджа.
В показанном частном примере оси 57 соответственно образованы на внутренних сторонах 58 плеч 56 (см. фиг.6-8) и установлены с возможностью скольжения в двух соответствующих пазах 59, которые выполнены на поверхностях боковой стенки 44, обращенных к плечам 56. Каждый из пазов 59 открыт в направлении соответствующего плеча 56 и проходит в продольном направлении параллельно центральной оси X'. Преимущественно, каждый паз 59 может содержать один или несколько суженых участков 61, которые ограничивают по меньшей мере одну удерживающую впадину 60 в конце паза 59, который расположен напротив второго конца 46 полости 43 для установки картриджа. В этой удерживающей впадине 60 размещается соответствующая ось 57, когда крышка 54 находится в закрытом положении, как показано на фиг.6-8, в результате чего удерживающая впадина препятствует случайному скольжению вышеуказанной оси 57.
Каждый паз 59 также может иметь второй суженный участок 61 у противоположного конца, ограничивающий вторую удерживающую впадину 60 для удерживания осей 57 в требуемом положении, когда пользователь перемещает крышку 54 в свободное положение. Суженные участки 61 имеют достаточно неявно выраженную форму и могут упруго деформироваться, обеспечивая прохождение осей 57, когда пользователь желает переместить крышку 54.
Как показано на фиг.6, корпус 42 заправочного устройства может дополнительно содержать полость 62 для извлечения картриджа, которая может иметь цилиндрическую форму и сцентрирована относительно оси X' и может быть выполнена напротив полости 43 для установки картриджа. Эта полость 62 для извлечения картриджа может продолжаться вдоль оси X' от поперечной перегородки 47 до открытого конца 63 и может содержать по меньшей мере один извлекающий элемент 64, который предназначен для проникновения в остаток столбика 8 материала в использованном картридже устройства 1 для нанесения материала. Этот извлекающий элемент 64 имеет наружный выступ 66, предназначенный для взаимодействия с внутренним выступом 14 колпачка использованного картриджа таким образом, что он удерживает вышеуказанный внутренний выступ и обеспечивает извлечение использованного картриджа из устройства для нанесения материала.
Согласно первому варианту осуществления изобретения извлекающий элемент имеет по меньшей мере одну стенку, продолжающуюся вдоль оси X' от поперечной перегородки 47 в направлении открытого конца 63 полости для извлечения картриджа до открытого конца 65, который имеет наружный выступ 66, выполненный для захватывания расположенного ниже внутреннего выступа 14 колпачка использованного картриджа. В частности, наружный выступ 66 извлекающего элемента 64 может содержать заплечик, обращенный к поперечной перегородке 47 и предназначенный для захватывания расположенного ниже внутреннего выступа 14 колпачка использованного картриджа. Преимущественно, наружный выступ 66 также может иметь наклонную поверхность 67, проходящую радиально наружу под углом в направлении поперечной перегородки 47 к заплечику 68, который может быть перпендикулярен оси X'.
В примере, показанном на чертежах, извлекающий элемент 64 имеет форму втулки, которая, по существу, имеет цилиндрическую форму и сцентрирована относительно оси X', но эта втулка может, к примеру, может быть заменена множеством язычков, каждый из которых имеет наружный выступ 66.
Описанное заправочное устройство может использоваться следующим образом.
Когда почти весь столбик 8 материала устройства для нанесения материала будет израсходован, как показано на фиг.9, второй конец 4 защитной трубки 2 этого устройства 1 для нанесения материала вставляется в полость 62 для извлечения картриджа корпуса заправочного устройства 41. Преимущественно, внутренний диаметр полости 62 для извлечения картриджа, по существу, равен наружному диаметру металлической втулки 5 (или наружному диаметру защитной трубки 2, если она не имеет такой втулки 5), так чтобы при вставлении обеспечивалось выравнивание центральной оси X' заправочного устройства 41 с центральной осью Х устройства 1 для нанесения материала.
Во время такого перемещения, когда пользователь прикладывает давление к заправочному устройству 41 в направлении стрелки 69, извлекающий элемент 64 проникает в использованный столбик 8 материала, по его боковым поверхностям, и проходит вдоль боковой стенки 12 колпачка. Продукт, из которого образован столбик 8 материала, является достаточно мягким, что способствует такому проникновению. Наружный диаметр извлекающего элемента 64, по существу, равен внутреннему диаметру боковой стенки 12 или немного меньше этого диаметра, за исключением выступов 14 и 66, поэтому свободный конец 65 извлекающего элемента 64 может без проблем проникать в свободный конец 13 колпачка 7, и наклонная сторона 15 и наклонная поверхность 67 взаимодействуют между собой, подвергая упругой деформации извлекающий элемент 64 и боковую стенку 12 колпачка, в результате чего наружный выступ 66 извлекающего элемента проходит внутренний выступ 14 колпачка, и затем наружный выступ 66 извлекающего элемента зацепляется снизу за внутренний выступ 14 колпачка и зажимается в требуемом положении, как более детально показано на фиг.9А.
Использованный картридж 6 устройства 1 для нанесения материала жестко зажимается на извлекающем элементе 64, и пользователь может отделить этот использованный картридж 6 от скользящего элемента 24 устройства для нанесения материала, вытягивая заправочное устройство 41 в направлении стрелки 70 (см. фиг.10). Таким образом, использованный картридж 6 полностью находится внутри полости 62 для извлечения картриджа заправочного устройства 41, и пользователь может легко выполнить операцию извлечения этого использованного картриджа, не загрязняя рук.
Если пользователь желает вставить новый картридж 6 заправочного устройства 1 в устройство 1 для нанесения материала, следует открыть второй конец 46 полости 43 для установки картриджа, как показано на фиг.11 и 12.
С этой целью пользователь сначала поднимает крышку 54 посредством перемещения осей 57 этой крышки вдоль соответствующих пазов 59 корпуса 42 заправочного устройства в направлении стрелки 71 на фиг.11.
Крышка оказывается в свободном положении, что позволяет ей свободно поворачиваться на корпусе 42, как показано стрелкой 72 на фиг.12. Если второй конец 46 полости 43 для установки картриджа был изначально закрыт вышеупомянутой мембраной 48, пользователь удаляет мембрану 48 во время этой операции, а также ориентирует заправочное устройство 41 таким образом, чтобы полость 43 для установки картриджа была обращена ко второму концу 4 защитной трубки 2 устройства 1 для нанесения материала.
Затем, как показано на фиг.13, пользователь вставляет защитную трубку 2 устройства для нанесения материала в полость 43 для установки картриджа; вышеуказанная полость для установки картриджа имеет внутренний диаметр, который, по существу, равен наружному диаметру втулки 5 защитной трубки 2 (или, по существу, равен, наружному диаметру защитной трубки 2, если втулка 5 не предусмотрена), так чтобы центральная ось X' заправочного устройства выравнивалась с центральной осью Х устройства для нанесения материала, когда заправочное устройство 41 находится в зацеплении с защитной трубкой 2 за счет перемещения в направлении стрелки 73, как показано на фиг.13. Кроме того, наружный диаметр кольцевой стенки 50 полости для установки картриджа может быть, по существу, равен внутреннему диаметру защитной трубки 2, чтобы ее можно было вставлять в защитную трубку 2 во время этого перемещения, что способствует направлению заправочного устройства 41. Особенно предпочтительно предусмотреть средство дополнительного центрирования между нижней частью заправочного устройства 41 и втулкой 5 для подготовки зацепления используемого заправочного устройства.
Далее пользователь нажимает на корпус 42 заправочного устройства 41 в направлении стрелки 73 или на крышку после ее повторной установки вдоль оси XX' до тех пор, пока упругая ножка 35 колпачка 7 нового картриджа 6 не защелкнется в центральном отверстии 34 скользящего элемента 24, который является частью устройства 1 для нанесения материала. Такое защелкивание в требуемом месте может быть подтверждено характерным щелчком, издаваемым упругой ножкой 35, когда она защелкивается на месте. Затем пользователь вытягивает заправочное устройство 41 в направлении, противоположном стрелке 73. После этого устройство 1 для нанесения материала с новым картриджем 6 с материалом имеет вид, показанный на фиг.2 и 3.
Перед каждым этапом заправки, в частности во время установки нового картриджа с материалом, пользователь предпочтительно должен переместить колпачок с использованным столбиком материала в самое нижнее положение для ограничения риска повреждения устройства для нанесения материала во время процесса зацепления. То же самое касается и нового столбика материала во время заключительного этапа удаления заправочного устройства.
Второй и третий варианты осуществления изобретения, представленные на фиг.14-20А, имеют множество общих характеристик с первым вариантом осуществления изобретения, и поэтому не будут описываться полностью. Приводится описание только отличий второго и третьего вариантов осуществления изобретения от первого варианта осуществления, подробно описанного выше; следует понимать, что уже описанные преимущества первого варианта осуществления изобретения относятся и ко второму варианту выполнения.
В. Второй вариант осуществления изобретения
Во втором варианте осуществления изобретения устройство 1 для нанесения материала отличается от первого варианта осуществления изобретения исключительно тем, что внутренний выступ 114 колпачка 7 имеет форму резьбы на внутренней поверхности боковой стенки 12 этого колпачка, как можно видеть на фиг.14 и 15. Кроме того, наружный выступ 166 извлекающего элемента 64 заправочного устройства также может иметь форму наружной резьбы, предназначенной для ввертывания во внутреннюю резьбу колпачка 7 косметического картриджа (см. фиг.15).
Таким образом, как показано на фиг.16 и 16А, во время операции извлечения использованного картриджа 6 из устройства 1 для нанесения материала полость 62 для извлечения картриджа заправочного устройства 41 сначала перемещается в направлении стрелки 69, так чтобы она закрыла защитную трубку 2 устройства для нанесения материала, а затем пользователь поворачивает заправочное устройство 41 по его центральной оси X' в направлении ввертывания резьбы 166 извлекающего элемента 64 во внутреннюю резьбу 114 колпачка 7 использованного картриджа, вынуждая извлекающий элемент проникать в столбик 8 материала, как показано на фиг.16 и 16А.
Далее использованный картридж 6 может быть извлечен из устройства 1 для нанесения материала за счет его вытягивания в направлении, противоположном стрелке 69, с помощью способа, описанного выше для первого варианта осуществления изобретения, и новый картридж 6, находящийся в полости 43 для установки картриджа, может быть установлен в устройство 1 для нанесения материала посредством его простого вставления в направлении стрелки 73 (см. фи



