Накопитель для горячей воды и способ эксплуатации такого накопителя

Иллюстрации

Показать все

Изобретение относится к энергетике и может быть использовано в накопителях горячей воды для определения содержания тепла в накопителе. Для определения содержания энергии в объеме воды накопитель имеет бак с верхней относительно земли оконечностью и противоположную ей нижнюю оконечность, причем для определения содержания энергии в объем воды в воду помещен акустический передатчик и акустический приемник, выполненные с возможностью определения времени прохождения звука в объеме воды, при этом предусмотрен аналитический блок, который выполнен с возможностью вывода доступного содержания энергии на основании времени прохождения звука, имеется индикатор, сигнализирующий о доступном содержании энергии в зависимости от текущего времени прохождения звука, на баке предусмотрена теплоизоляция с целью глушения звукового сигнала. Изобретение позволяет повысить удобство эксплуатации, особенно при использовании накопителей больших объемов. 5 з.п. ф-лы, 3 ил.

Реферат

Область техники

Изобретение относится к накопителю для горячей воды и к способу эксплуатации такого накопителя согласно ограничительным частям независимых пунктов формулы.

Уровень техники

Пользователю накопителей для горячей воды часто сложно оценить содержание тепла в накопителе. Это особенно сложно в том случае, если предварительно была слита часть горячей воды. Длительность подогрева относительно велика, а пользователь хотел бы знать, например, можно ли еще принять душ или наполнить ванну.

Известен способ определения содержания тепла в накопителе для горячей воды с помощью температурных датчиков. При этом точность показаний зависит от количества датчиков. При использовании небольшого числа датчиков определение, соответственно, будет неточным. Чем больше используется датчиков, тем точнее можно определить переход горячо/холодно в накопителе для горячей воды, и тем точнее можно отобразить доступное содержание тепла или количество оставшейся горячей воды. В то же время, однако, увеличиваются затраты на анализирующую электронику и проводку, а также на дополнительные узлы.

Так, в патентной заявке DE 19543761 А1 описан способ использования встроенных температурных датчиков, которые обеспечивают высокую точность.

В патентной заявке US 2,757,869 описан способ определения нужной температуры в накопителе для горячей воды. Согласно этому способу, преобразователь преобразует вибрацию, вызываемую бурлением воды вблизи точки кипения, в переменный ток, который подается на электромагнитный клапан. Клапан управляет подачей топлива в накопитель для горячей воды. Если температура поднимается выше уровня бурления, то есть если вода начинает кипеть, то подача тока на электромагнит и, тем самым, нагрев накопителя для горячей воды прекращается.

Раскрытие изобретения

Задачей изобретения является разработка дешевого и точного способа определения содержания тепла в накопителе для горячей воды. Еще одной задачей является разработка соответствующего накопителя для горячей воды.

Согласно изобретению, задача решается признаками, раскрываемыми в независимых пунктах формулы изобретения.

Прочие пункты относятся к предпочтительным вариантам исполнения изобретения.

Изобретение основывается на накопителе для горячей воды с некоторым объемом воды, помещенной в бак, причем бак имеет верхнюю (относительно земли) оконечность и противоположную ей нижнюю оконечность.

Для определения содержания энергии в объеме воды предлагается поместить в объем воды акустический передатчик и акустический приемник, предназначенные для определения звукового сигнала в объеме воды. Также предлагается предусмотреть аналитический блок, который на основании звукового сигнала будет выводить доступное содержание энергии. Выгодным образом содержание энергии может быть выведено из средней температуры в баке. Измерение производится быстро и точно, благодаря чему можно точно определить состояние бака. Решение экономично, так как можно отказаться от дорогостоящей установки температурных датчиков и прокладки проводки в баке, которые потребовались бы для достижения сравнимой точности определения. Изобретение особенно подходит для накопителей большого объема. Выгодным образом, определения содержания энергии в баке может выполняться независимо от теплового контакта датчиков с водой. В частности, определение содержания энергии может производиться в реальном времени, то есть пользователю может подаваться сигнал о количестве доступной горячей воды.

Согласно выгодному варианту исполнения, передатчик может быть выполнен в виде ультразвукового передатчика. Имеются ультразвуковые передатчики с различной интенсивностью сигнала, предназначенные для различных объемов.

Согласно следующему выгодному варианту исполнения, расстояние между передатчиком и приемником может соответствовать, по меньшей мере, простой длине бака по продольной оси. Большое расстояние позволит повысить точность измерения. Кроме того, в обычных баках для горячей воды холодная вода подается снизу, благодаря чему звуковой сигнал может пройти через все слои воды, и можно будет определить среднюю температуру воды, находящейся в баке для горячей воды.

Согласно выгодному варианту исполнения, передатчик может быть установлен на верхней (относительно земли) оконечности. В альтернативном варианте передатчик и приемник могут быть интегрированы в общий узел, что обеспечивает компактную конструкцию с удвоенным путем прохождения звукового сигнала по сравнению с вариантом, в котором передатчик расположен на одной оконечности бака, а приемник - на другой оконечности бака.

Согласно следующему выгодному варианту исполнения узел может располагаться на верхней (относительно земли) оконечности. На верхней оконечности имеется достаточно монтажного пространства, в то время как на нижней оконечности накопителя для горячей воды, как правило, находятся подводящий и отводящий трубопроводы, и пространство, доступное для монтажа, сужается. Тем не менее, разумеется, узел может быть расположен и на нижней оконечности.

Согласно следующему выгодному варианту исполнения, может быть предусмотрен индикатор, который сигнализирует о содержании энергии (теплоты) в зависимости от полученного звукового сигнала. Индикатор может сообщать о содержании энергии в реальном времени, благодаря чему пользователь в любой момент может получить сведения о текущем ее содержании. Возможен, например, цветной код. Так, например, зеленый индикатор может говорить о том, что количество горячей воды достаточно, по меньшей мере, для наполнения одной ванны или принятия одного душа заданной продолжительности. Кроме того, соответствующие цвета могут быть назначены сигналу о том, что содержание энергии достаточно для принятия душа один или несколько раз, но недостаточно для наполнения ванны, и прочим подобным сигналам. Кроме того, индикатор может сообщать о содержании энергии, достаточном для некоторого количества принятий душа и/или ванны, текстом или цифрами.

Согласно следующему выгодному варианту исполнения, на баке может быть предусмотрена теплоизоляция с целью глушения звукового сигнала. Таким образом, можно предотвратить повреждение слуха пользователя или домашних животных в области вокруг накопителя для горячей воды.

Кроме того, изобретение относится к способу эксплуатации накопителя для горячей воды.

Предлагается вариант, в котором для определения содержания энергии в накопителе для горячей воды акустический передатчик посылает через объем воды звуковые волны, которые принимаются акустическим приемником, причем звуковые волны, по меньшей мере, один раз проходят через объем воды, причем на основании звукового сигнала выводится содержание энергии в объеме воды.

Согласно выгодному варианту способа, содержание энергии может быть выведено из времени прохождения звука. Время прохождения звука легко определяется по фазовому смещению между отправленным и принятым звуковым сигналом.

Согласно следующему выгодному варианту способа, может быть выведено значение, соответствующее рассчитанному содержанию энергии в объеме воды. Выгодным образом, для расчета содержания энергии на основании звукового сигнала используется объем бака. Кроме того, для определения содержания энергии может также использоваться температура подаваемой холодной воды. Если известна температура смеси при заборе воды из накопителя для горячей воды, например, за счет предустановленной температуры забора, то такая температура забираемой смеси может использоваться для расчета доступного количества принятий душа и/или ванны. При расчете количества принятий душа можно также использовать длительность одного принятия душа, например, среднюю длительность, или же можно предложить среднюю продолжительность принятия душа.

Согласно следующему выгодному варианту способа, звуковые волны могут проходить через объем воды между передатчиком и приемником, по меньшей мере, два раза. За счет удлинения пути прохождения звуковых волн можно повысить точность измерения.

Согласно следующему выгодному варианту способа, вывод содержания энергии в объеме воды может производиться в единицах принятия душа и/или наполнения ванны.

Согласно следующему выгодному варианту способа, определение содержания энергии может производиться непрерывно. Пользователь будет всегда получать своевременную информацию о содержании энергии в накопителе для горячей воды.

Согласно следующему выгодному варианту способа, определение содержания энергии может производиться дискретно. Пользователь может получить информацию о содержании энергии в накопителе для горячей воды, например, по запросу.

Краткое описание чертежей

Изобретение подробно описывается ниже на основании варианта исполнения, представленного на фигурах. На фигурах изображено:

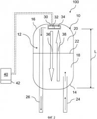
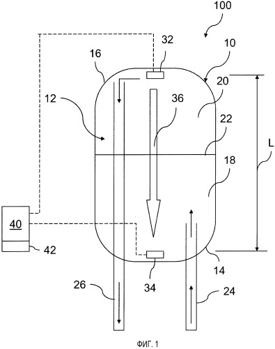
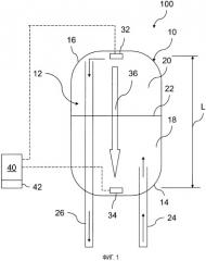
Фигура 1: схема предпочтительного варианта накопителя для горячей воды в первом варианте исполнения с раздельными передатчиком и приемником.

Фигура 2: схема предпочтительного варианта накопителя для горячей воды во втором варианте исполнения с передатчиком и приемником, объединенными в один узел.

Фигура 3: график выполнения предпочтительного варианта способа.

Осуществление изобретения

Одинаковые или по существу одинаковые элементы имеют одинаковые обозначения на фигурах.

На фигуре 1 с целью иллюстрации изобретения показан первый предпочтительный вариант накопителя 100 для горячей воды, выполненного согласно изобретению. Накопитель 100 для горячей воды содержит бак 10, внутри которого находится объем 12 воды. Бак имеет обычную теплоизоляцию (не показанную на фигуре), предназначенную для предотвращения потерь тепла, и нагревательные элементы (не показанные на фигуре), предназначенные для нагрева воды в баке 10.

Холодная вода 18 может подаваться по подводящему трубопроводу 24 в нижнюю (относительно земли) область 14 бака 10. Отводящий трубопровод 26, по которому из бака 10 может забираться горячая вода 20, проходит до верхней (относительно земли) области 16 бака 10. К отводящему трубопроводу 26 может быть присоединен смесительный клапан (не показанный на фигуре), предназначенный для смешивания с холодной водой с целью доведения температуры забранной горячей воды 20 до, возможно, требующегося более низкого значения.

В представленном примере в баке 10 произошло образование слоев воды за счет того, что была забрана примерно половина горячей воды 20, которая была замещена холодной водой 18. Между холодной водой 18 и горячей водой 20 образовалась переходная область 22.

На верхней (относительно земли) оконечности 16 бака 10 находится передатчик 22, а на противоположной нижней оконечности 14 - приемник 34. Передатчик 32 и приемник 34 погружены в объем 12 воды. Передатчик 32 может испускать звуковые волны 36, которые распространяются в воде 20, 18 и могут приниматься приемником 34.

Скорость c_FL звука в жидкости описывается формулой

c_FL=√К/ρ,

где К - это модуль сжатия, а ρ - это плотность жидкости. Модуль сжатия воды равен 2,08*109 при нормальном давлении и незначительно увеличивается при повышении давления.

Плотность ρ воды равномерно снижается в диапазоне от 0°С до 95°С с 1000 кг/м3 примерно до 960 кг/м3, в то время как скорость звука в том же температурном диапазоне повышается примерно с 1442 м/с до примерно 1470 м/с.

Предпочтительно, для определения содержания энергии в объеме 12 воды может быть определено время прохождения звукового сигнала в объеме 12 воды, причем звуковой сигнал проходит через все слои воды в баке 10. На основании времени f_lauf прохождения звука, необходимого звуковым волнам 36 для преодоления расстояния между передатчиком 32 и приемником 34 (предпочтительно, длины L бака 10 по продольной оси), подсоединенный к баку аналитический блок 40 может рассчитать усредненную температуру <Т> воды. Эта усредненная температура <Т> воды служит хорошей мерой содержания энергии в баке 10. Индикатор 42, соединенный с аналитическим блоком 40, подходящим образом отображает доступное содержание энергии в зависимости от текущего времени f_lauf прохождения звука.

На фигуре 2 представлен альтернативный вариант предпочтительного накопителя 100 для горячей воды, выполненного согласно изобретению. Конструкция в целом соответствует конструкции, описанной в связи с фигурой 1. Соответственно, конструкция, представленная на фигуре 2, не описывается в той части, в которой она соответствует конструкции, представленной на фигуре 1.

В отличие от варианта, показанного на фигуре 1, передатчик 32 и приемник 34 интегрированы в компактный узел 30. Узел 30 расположен на верхней (относительно земли) оконечности 16 бака 10. Таким образом, приемник 34 теперь принимает не звуковые волны 36, непосредственно выпущенные передатчиком 32, а отраженный от нижней оконечности бака 10 сигнал 38. То есть, фактически путь прохождения принятого звукового сигнала 38 удваивается. Предпочтительно, путь прохождения соответствует удвоенной длине L бака 10 по продольной оси, благодаря чему повышается точность измерения.

На фигуре 3 представлен график примерного процесса определения - содержания энергии в накопителе 100 для горячей воды, который показан на фигуре 1 или 2.

Измерения начинаются на этапе 200. На этапе 202 выполняется определение времени f_lauf прохождения звуковых волн 36 или 36 и 38 (в зависимости от варианта исполнения накопителя 100 для горячей воды), выпущенных передатчиком 32 и принятых приемником 34.

На этапе 204 на основании времени f_lauf прохождения звука аналитический блок 40 рассчитывает среднюю температуру <Т> воды в баке 12. На основании полученного результата этот блок на этапе 206 определяет содержание энергии. Для этого могут использоваться различные параметры, например объем бака, температура поступающей воды, возможно, предустановленная температура забираемой воды, возможно, предустановленная длительность забора горячей воды и т.п. На этапе 208 может быть получено значение М1 и/или М2, которое соответствует содержанию энергии и может быть впоследствии отображено на индикаторе 42. Процесс оканчивается на этапе 210.

Процесс может выполняться непрерывно (то есть, содержание энергии в накопителе 100 для горячей воды отображается постоянно) и/или он может запускаться, например, вручную пользователем.

Возможен вариант, в котором в зависимости от рассчитанного содержания энергии нагрев накопителя 100 для горячей воды выполняется, например, в зависимости от времени суток. То есть, например, утром и/или вечером и/или в другие заранее известные сроки может происходить подогрев накопителя 100 для горячей воды.

Изобретение позволяет повысить удобство пользования и особенно выгодно для больших накопителей 100 для горячей воды.

СПИСОК ССЫЛОЧНЫХ ОБОЗНАЧЕНИЙ

10 бак

12 объем воды

14 нижняя оконечность

16 верхняя оконечность

18 холодная вода

20 горячая вода

22 переходная область

24 подводящий трубопровод

26 отводящий трубопровод

30 узел

32 передатчик

34 приемник

36 звуковая волна

38 звуковая волна

40 блок

42 индикатор

100 накопитель для горячей воды

L длина по продольной оси.

1. Накопитель (100) для горячей воды с некоторым объемом (12) воды, помещенной в бак (10), причем бак (10) имеет верхнюю относительно земли оконечность (16) и противоположную ей нижнюю оконечность (14), причем для определения содержания энергии в объеме (12) воды в объем (12) воды помещен акустический передатчик (32) и акустический приемник (34), выполненные с возможностью определения времени прохождения звука в объеме (12) воды, при этом предусмотрен аналитический блок (40), который выполнен с возможностью вывода доступного содержания энергии на основании времени прохождения звука, отличающийся тем, что имеется индикатор (42), сигнализирующий о доступном содержании энергии в зависимости от текущего времени прохождения звука, при этом на баке (10) предусмотрена теплоизоляция с целью глушения звукового сигнала.

2. Накопитель для горячей воды по п.1, отличающийся тем, что передатчик (32) выполнен в виде ультразвукового передатчика.

3. Накопитель для горячей воды по п.1 или 2, отличающийся тем, что расстояние между передатчиком (32) и приемником (34) соответствует, по меньшей мере, простой длине (L) бака (10) по продольной оси.

4. Накопитель для горячей воды по п.1 или 2, отличающийся тем, что передатчик (32) установлен на верхней относительно земли оконечности (16).

5. Накопитель для горячей воды по п.1 или 2, отличающийся тем, что передатчик (32) и приемник (34) интегрированы в общий узел (30).

6. Накопитель для горячей воды по п.5, отличающийся тем, что узел (30) установлен на верхней относительно земли оконечности (16).