Электрическая сеть переменного тока
Иллюстрации
Показать всеИспользование: в области электротехники. Технический результат - снижение полуволновой длины электрической сети. Электрическая сеть переменного тока содержит на каждой из сторон трансформатор(ы) с «n» линейными трехфазными обмотками с фазными и нейтральными выводами, где «n» - целое число больше единицы, разъединители, провода и управляемые полупроводниковые вентили, между одноименными фазными выводами линейных трехфазных обмоток сторон включены последовательно разъединитель - провод - разъединитель, а нейтральные выводы смежных фаз линейных трехфазных обмоток на каждой из сторон, в порядке очередности их чередования, коротко замкнуты через полупроводниковые вентили, причем в каждом контуре из двух фаз полупроводниковые вентили включены встречно, а провода каждой фазы связаны между собой распорками из диэлектрического материала. 3 з.п. ф-лы, 1 табл., 5 ил.
Реферат
Изобретение относится к области электротехники, в частности к устройству коммутации переменного тока, преобразования и передачи электроэнергии на дальние и сверхдальние расстояния.
Известна электрическая сеть переменного тока, связывающая обмотки генератора и приемника электрической энергии, см. А.Т. БАШКИН «Общая электротехника», М., Энергия, с.164, рис.6-3.
Недостатком такой электрической сети переменного тока является, в частности, ее большая полуволновая длина.
Результаты испытания такой полуволновой линии электропередачи ВОЛГОГРАД-МОСКВА-КУЙБЫШЕВ-УРАЛ длиной в 2858 км приведены в журнале «ЭЛЕКТРИЧЕСТВО» №8, 1968, с. 10-16.
При длине электрической сети, отличающейся от полуволновой, для придания ей свойств полуволны, на концевом пункте включают устройства реактивной мощности, обеспечивающие искусственную настройку на полуволну.
Наиболее близкой к изобретению является электрическая сеть переменного тока, содержащая две m-фазные цепи линии электропередачи, подключенной на передающей и приемной стороне к одним выводам разъединителей, трансформаторы с обмотками, имеющими фазные и нейтральные выводы на каждой из этих сторон, и коммутационные аппараты, подключенные к нейтральным выводам обмоток трансформаторов, причем фазные выводы обмоток трансформаторов присоединены к другим выводам разъединителей, см. авт.свид. СССР №1112483, кл. H02J 3/00, 1983.
В частном случае, при длине в 1500 км такая сеть работает в режиме полуволны, что является ее недостатком.
Задачей изобретения является снижение полуволновой длины электрической сети до реальной в кратное целому числу раз при сохранении полуволнового режима ее работы.
Поставленная задача решается путем формирования электрической сети переменного тока на каждой из сторон с трансформатором (ами) с «n» линейными синфазными трехфазными обмотками, имеющими фазные и нейтральные выводы, где «n» - целое число больше единицы, разъединителями, проводами и управляемыми полупроводниковыми вентилями.
Причем между одноименными фазными выводами линейных синфазных трехфазных обмоток сторон включены последовательно разъединитель - провод - разъединитель, а нейтральные выводы смежных фаз на каждой из сторон, в порядке очередности их чередования, коротко замкнуты через управляемые полупроводниковые вентили, причем в каждом контуре из двух фаз полупроводниковые вентили включены встречно.
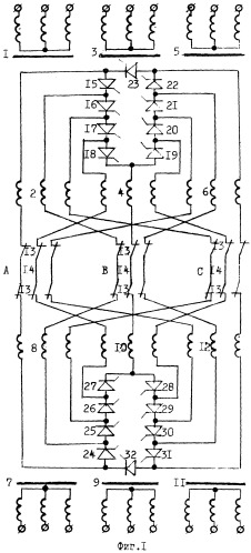
На фиг.1 приведена принципиальная схема электрической сети переменного тока: на фиг. 2 - временная диаграмма относительных мгновенных значений напряжений и токов при передаче электрической энергии с коэффициентом мощности, равным единице: на фиг. 3а, 3в, 3с - мгновенные значения токов в контурах при соответственно 210°, 120°, 180° электрических.
На фиг.1 приняты следующие обозначения: трехфазные двухобмоточные трансформаторы 1, 3, 5, 7, 9, 11 с синфазными линейными трехфазными обмотками 2, 4, 6, 8, 10, 12 соответственно, разъединители 13, провода 14 и полупроводниковые вентили 15-32.
Обмотки трансформаторов 2, 4, 6 пофазно соединены через разъединители 13 проводами 14 с обмотками трансформаторов 8, 10, 12, а их нейтральные выводы в порядке очередности чередования фаз между полупроводниковыми вентилями 15-23 и 24-32 соответственно, причем полупроводниковые вентили в каждом контуре из двух смежных фаз сторон включены встречно.
Полупроводниковые вентили при этом выполнены управляемыми.
Предлагаемая электрическая сеть переменного тока предназначена преимущественно для ЛЭП с n - числом проводов в фазе, которые связаны между собой распорками из диэлектрического материала.
Токовые цепи в электрической сети переменного тока фиг.1, поставленной под напряжение, в соответствии с временной диаграммой фиг.2 отвечают углам 210°, 120°, 180° электрических, фиг.3а, 3в 3с соответственно.
С целью наглядности контуры схемы электрической сети на фиг.3а, 3в, 3с представлены фазами с условным исключением линейных трехфазных обмоток.
На фиг.3а для момента времени, соответствующему углу в 210° электрических диаграммы фиг.2, ток протекает по цепи в контуре: фаза B вентиль 16, фазы A и C вентили 17 и 26, фаза B вентили 27, 19, фазы A и C вентили 20 и 29, фаза B вентили 30, 22, фазы A и C вентили 23, 32, фаза B вентили 24, 16.
На фиг.3в для момента времени, соответствующему углу в 120° электрических диаграмм фиг.2, ток протекает по цепи в контуре: фаза A вентили 15, 16, фаза C вентиль 26, фаза A вентили 18 и 19, фаза C вентиль 29, фаза A вентили 21 и 22, фаза C вентиль 32, фаза A вентиль 15.
На фиг.3с для момента времени, соответствующему углу в 180° электрических диаграмм фиг.2, ток протекает по цепи в контуре: фаза B вентиль 16, фаза C вентили 26 и 27, фаза B вентиль 19, фаза C вентили 29 и 30, фаза B вентиль 22, фаза C вентили 32 и 24, фаза B вентиль 16.
В таблице 1 приведен алгоритм работы полупроводниковых вентилей при поставленной под напряжение электрической сети переменного тока, показанной на фиг.1.
Таблица 1 | ||||||||||||
0 | 30° | 60° | 90° | 120° | 150° | 180° | 210° | 240° | 270° | 300° | 330° | |
15,18,21 | 1/2 | √3/2 | 1 | √3/2 | 1 | √3/2 | 1/2 | |||||
16,19,22 | √3/2 | 1 | √3/2 | 1/2 | 1/2 | √3/2 | 1 | |||||
23,26,29 | 1/2 | √3/2 | 1 | √3/2 | 1 | √3/2 | 1/2 | |||||
24,27,30 | √3/2 | 1 | √3/2 | 1 | √3/2 | 1/2 | 1/2 | |||||
25,28,31 | 1/2 | √3/2 | 1 | √3/2 | 1 | √3/2 | 1/2 | |||||
26,29,32 | √3/2 | 1/2 | 1 | √3/2 | 1 | √3/2 | 1 |
Реальная длина электрической сети переменного тока при работе в режиме полуволны рассчитывается по формуле:
L=C/2nf, где:
L - длина полуволны переменного тока;
f - частота переменного тока;
С - скорость света;
n - число линейных обмоток трансформатора.
По одной точке между полупроводниковыми вентилями на каждой из сторон электрической сети переменного тока могут быть заземлены.
1. Электрическая сеть переменного тока, содержащая на каждой из сторон трансформатор(ы) с «n» линейными трехфазными обмотками с фазными и нейтральными выводами, где «n» - целое число больше единицы, разъединители, провода и полупроводниковые вентили, отличающаяся тем, что между одноименными фазными выводами линейных трехфазных обмоток сторон включены последовательно разъединитель - провод - разъединитель, а нейтральные выводы смежных фаз на каждой из сторон, в порядке очередности их чередования, коротко замкнуты через полупроводниковые вентили, причем в каждом контуре из двух фаз полупроводниковые вентили включены встречно.
2. Электрическая сеть по п.1, отличающаяся тем, что провода одноименных фаз в ней связаны между собой распорками из диэлектрического материала.
3. Электрическая сеть по п.1, отличающаяся тем, что полупроводниковые вентили в ней выполнены управляемыми.
4. Электрическая сеть по п.1, отличающаяся тем, что одна точка между управляемыми полупроводниковыми вентилями на каждой из сторон заземлена.