Анализ фазового поведения с применением микрофлюидной платформы
Иллюстрации
Показать всеИзобретение относится к способу и системе для анализа свойств флюидов в микрофлюидном устройстве. Флюид вводится под давлением в микроканал, и в ряде мест, расположенных вдоль микроканала, оптически детектируются фазовые состояния флюида. Газообразная и жидкая фазы флюида распознаются на основе множества оцифрованных изображений флюида в микроканале. Двухуровневые изображения могут создаваться на основе оцифрованных изображений, и на основе двухуровневых изображений можно оценивать долю жидкости или газа во флюиде в зависимости от давления. На основе детектируемых фазовых состояний флюида можно оценивать свойства, такие как значения в точке начала кипения и/или распределение объемного соотношения фаз флюида в зависимости от давления. 2 н. и 21 з.п. ф-лы, 19 ил.
Реферат
Перекрестная ссылка на родственные заявки
Данная патентная заявка является частичным продолжением международной патентной заявки № PCT/IB09/50500, опубликованной 7 февраля 2009 г., которая включена в настоящий документ путем ссылки.
Уровень техники
Область техники, к которой относится изобретение
Данная патентная заявка относится к устройству и способу измерения термофизических свойств флюида. Более конкретно, данная патентная заявка относится к устройству и способу анализа фазового поведения и свойств пластовой жидкости, текущей в микрофлюидном устройстве.
Описание родственной области (прототипа)
При проектировании и разработке потенциального нефтяного месторождения ключевой стадией является измерение свойств пластовой жидкости. Часто бывает желательно проводить такие измерения на действующей скважине неоднократно, чтобы обеспечить показатель эксплуатационной готовности и режим работы при процессе добычи. Примерами таких измерений являются измерения давления, объема и температуры, часто упоминаемые как "PVT"-измерения, которые играют важную роль в прогнозировании сложного термофизического поведения пластовых жидкостей. Одним из важных применений PVT-измерений является получение уравнения фазового состояния, описывающего состояние нефти в пластовой жидкости. Другие представляющий интерес свойства, которые можно определять с применением PVT-измерений, включают в себя вязкость, плотность, химический состав флюида, процентное соотношение газа-жидкости и т.п. Как только PVT-анализ завершен, уравнение фазового состояния и другие параметры можно вводить в программные средства моделирования нефтеносного пласта, чтобы прогнозировать поведение пласта нефтяного месторождения.
Традиционные PVT-измерения проводят с применением цилиндра, содержащего пластовую жидкость. Поршень, размещенный в цилиндре, поддерживает требуемое давление флюида, в то время как уровни жидкой и газообразной фаз измеряют, например, с помощью катетометра.
Несмотря на широкое применение, традиционные PVT-измерения страдают несколькими важными ограничениями. Прежде всего, для выполнения общепринятого PVT-анализа обычно требуется несколько недель. Кроме того, значительный объем пластовой жидкости, часто до 4 литров, должен поддерживаться при давлениях приблизительно до 1400 кг/кв. см (20000 фунтов/кв. дюйм) при транспортировке от места расположения скважины до испытательной лаборатории. Транспортировка и обработка такого крупного образца при таких высоких давлениях является затратной и связана со значительными проблемами в области техники безопасности.
Несмотря на то что существуют известные в данной области пути исследования свойств пластовой жидкости, упомянутые недостатки (прототипа) в значительной степени сохраняются.
Сущность изобретения
Предлагается система анализа свойств флюидов в микрофлюидном устройстве согласно вариантам осуществления изобретения. Система включает в себя микроканал, адаптированный к переносу флюида и имеющий входной канал и выходной канал. Система введения флюида, гидравлически соединенная с входным каналом, вводит флюид под давлением через входной канал. Система оптического считывания адаптирована и размещена для детектирования фазовых состояний флюида во множестве мест, расположенных вдоль микроканала.
Система оптического считывания предпочтительно включает в себя систему обработки, адаптированную и запрограммированную на распознавание газообразной и жидкой фаз флюида в микроканале во множестве мест, расположенных вдоль микроканала, на основе множества оцифрованных изображений флюида в микроканале. На основе оцифрованных изображений флюида в микроканале предпочтительно создается множество двухуровневых изображений, и на основе, по меньшей мере, части множества двухуровневых изображений предпочтительно оцениваются значения, относящиеся к доле жидкости или газа во флюиде для множества давлений.
Свойства, такие как значения в точке начала кипения и/или распределение объемного соотношения фаз флюида в зависимости от давления предпочтительно оцениваются на основе, по меньшей мере, части детектируемых фазовых состояний флюида.
Кроме того, согласно некоторым вариантам осуществления изобретения обеспечивается способ анализа свойств флюидов в микрофлюидном устройстве. Обеспечивается микроканал, адаптированный к переносу флюида, который содержит входной канал и выходной канал. Флюид вводится под давлением в микроканал через входной канал, и фазовые состояния флюида оптически детектируются во множестве мест, расположенных вдоль микроканала.
Дополнительные признаки и преимущества изобретения станут более очевидными из следующего подробного описания, рассматриваемого во взаимосвязи с прилагаемыми чертежами.
Краткое описание чертежей
Настоящее изобретение дополнительно описано в подробном описании изобретения, которое следует ниже, со ссылкой на указанное множество чертежей посредством неограничивающих примеров типичных вариантов осуществления настоящего изобретения, на которых одинаковые номера позиций на чертежах обозначают аналогичные детали для всех без исключения видов чертежей, и на которых:
На фигуре 1 приведен стилизованный, развернутый вид в перспективе первого иллюстративного варианта осуществления микрофлюидного устройства для измерения термофизических свойств пластовой жидкости;
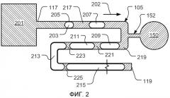
На фигуре 2 приведено стилизованное схематическое изображение превращения пластовой жидкости по мере того, как пластовая жидкость течет через микрофлюидное устройство, показанное на фигуре 1;
На фигуре 3 показан вид сверху микрофлюидного устройства, показанного на фигуре 1, изображающий три режима течения пластовой жидкости;
На фигуре 4 приведена стилизованная вертикальная проекция, вид сбоку системы измерения пластовой жидкости, включающей в себя микрофлюидное устройство, представленное на фигуре 1, и камеру для создания изображений микрофлюидного устройства в действии;
На фигуре 5 показан вид сверху второго иллюстративного варианта осуществления микрофлюидного устройства для измерения термофизических свойств пластовой жидкости;
На фигуре 6 показана вертикальная проекция, вид сбоку микрофлюидного устройства, представленного на фигуре 5;
На фигурах 7-9 изображены типичные сужения в микроканале микрофлюидного устройства, представленного на фигуре 5;
На фигуре 10 приведено стилизованное, схематическое изображение системы для анализа фазового поведения согласно некоторым вариантам осуществления изобретения;
На фигуре 11 представлен пример стоп-кадра, зафиксированного при видеосъемке флюида, текущего через микрофлюидное устройство согласно некоторым вариантам осуществления изобретения;
На фигуре 12A представлен график, показывающий падение давления в микроканале в зависимости от длины канала для смеси углеводородов C1- и C10- согласно некоторым вариантам осуществления изобретения;
На фигуре 12B представлен график, показывающий распределение объемной доли фазы в зависимости от давления для смеси углеводородов C1- и C10- согласно некоторым вариантам осуществления изобретения;
На фигуре 13A представлен график, показывающий падение давления в микроканале в зависимости от длины канала для смеси многокомпонентного газа и углеводорода C10- согласно некоторым вариантам осуществления изобретения;
На фигуре 13B представлен график, показывающий распределение объемной доли фазы в зависимости от давления для смеси многокомпонентного газа и углеводорода C10- согласно некоторым вариантам осуществления изобретения;
На фигуре 14A представлен график, показывающий падение давления в микроканале в зависимости от длины канала для смеси легких фракций нефти и углеводорода C1- согласно некоторым вариантам осуществления изобретения;
На фигуре 14B представлен график, показывающий распределение объемной доли фазы в зависимости от давления для смеси легких фракций нефти и углеводорода C1- согласно некоторым вариантам осуществления изобретения;
На фигуре 15 представлен пример применения способа строчного сканирования для измерения доли жидкости в микрофлюидном устройстве согласно некоторым другим вариантам осуществления изобретения;
На фигуре 16 представлен пример матрицы фазовых состояний согласно некоторым вариантам осуществления изобретения;
На фигурах 17A и 17B представлены графики, показывающие результаты строчного сканирования видеоснимков согласно некоторым вариантам осуществления изобретения;
На фигурах 18A и 18B представлен микроканал согласно альтернативному варианту осуществления изобретения; и
На фигуре 19 показан пример топологического чертежа спирального микроканала, согласно альтернативному варианту осуществления изобретения.
Несмотря на то что изобретение допускает различные модификации и альтернативные формы, в данном документе с помощью примера показаны на чертежах и подробно описаны конкретные варианты осуществления изобретения. Однако следует понимать, что описание в данном документе конкретных вариантов осуществления изобретения не предназначено для ограничения изобретения конкретными описанными формами, наоборот, намерение состоит в том, чтобы охватить все модификации, эквивалентные и альтернативные варианты, попадающие в объем настоящего изобретения, который определен прилагаемой формулой изобретения.
Подробное описание предпочтительных вариантов осуществления изобретения
Ниже описаны иллюстративные варианты осуществления изобретения. Для большей ясности в данном документе описаны не все признаки конкретного воплощения изобретения. Понятно, что при разработке любого такого конкретного варианта осуществления изобретения должны быть осуществлены конкретные решения многочисленных воплощений для достижения конкретных целей разработчика, таких как соответствие ограничениям, связанным с системой, и соответствие ограничениям, связанным с бизнесом, которые будут меняться от одного воплощения к другому. Кроме того, понятно, что такие опытно-конструкторские работы могут быть трудными и отнимающими много времени, но при этом будут представлять собой обычную задачу для специалистов в данной области, имеющих преимущество настоящего описания. Кроме того, одинаковые номера и обозначения на разных чертежах обозначают одинаковые элементы.
Согласно вариантам осуществления изобретения предлагаются способы измерения фазового поведения смесей газ-жидкость. В таких способах применяется чип, изготовленный средствами микротехнологии, состоящий из микроканала, соединенного с тонкими силиконовыми мембранами, которые деформируются под давлением флюида. Давление внутри канала измеряют с применением мембран, как дополнительно описано в находящейся на рассмотрении патентной заявке США № 12/533292, в опубликованной патентной заявке США № 2010/0017135, озаглавленной "Pressure measurement of a reservoir fluid in a microfluidic device" (номер досье патентного поверенного 117.0037 US NP), поданной от того же числа, которая включена в настоящий документ путем ссылки. Согласно некоторым вариантам осуществления изобретения долю жидкости вдоль канала измеряют путем видеосъемки потока и обработки видеоснимков с помощью программы Matlab. Кривую фазового поведения получают путем построения графика зависимости доли жидкости от давления.
Согласно вариантам осуществления изобретения предлагаются системы и способы измерения давления пластовой жидкости в микрофлюидном устройстве. Для целей данного описания термин "пластовая жидкость" означает флюид, запасенный в подземном теле проницаемой горной породы, или поступающий из подземного тела проницаемой горной породы. Такие "пластовые жидкости" могут включать в себя, без ограничения, углеводородные флюиды, соленые жидкости, такие как соленая вода, а также другую пластовую воду и другие флюиды, такие как диоксид углерода в закритической фазе. Кроме того, для целей настоящего описания термин "микрофлюидная" означает "содержащая канал, переносящий флюид", имеющий ширину в диапазоне от нескольких микрометров до сотен микрометров и длину, которая во много раз больше ширины канала. Аналогично термин "микроканал" означает канал, переносящий флюид и имеющий ширину в диапазоне от нескольких микрометров до сотен микрометров. Несмотря на то что многие микроканалы, описанные в данном документе, имеют прямоугольное поперечное сечение, обусловленное целесообразностью способов производства, поперечное сечение микроканала может быть любой формы, включая круглую, овальную, элипсообразную, квадратную и т.д.
На фигуре 1 изображен стилизованный, развернутый вид в перспективе микрофлюидного устройства 101, предназначенного для изучения фазового поведения согласно некоторым вариантам осуществления изобретения. В проиллюстрированном варианте осуществления изобретения микрофлюидное устройство 101 содержит первую подложку 103, определяющую границы микроканала 105, входной канал 107 и выходной канал 109. Микроканал 105 проходит между входным каналом 107 и выходным каналом 109 и гидравлически соединен с ними. Микроканал 105 образует в первой подложке 103 змеевидный контур, позволяющий микроканалу 105 растягиваться на значительную длину, однако занимать при этом относительно небольшую площадь. Согласно одному из вариантов осуществления изобретения микроканал 105 имеет в длину один или более метров, в ширину приблизительно 100 микрометров и в глубину (высоту) приблизительно 50 микрометров, хотя в настоящем изобретении также предполагаются и другие габаритные размеры микроканала 105. Микрофлюидное устройство 101 дополнительно содержит вторую подложку 111, имеющую нижнюю поверхность 113, которая соединяется с верхней поверхностью 115 первой подложки 103. Когда вторая подложка 111 соединяется с первой подложкой 103, микроканал 105 герметически закрывается, за исключением впускного отверстия 117 входного канала 107 и выпускного отверстия 119 выходного канала 109. Таким образом, вторая подложка 111 определяет положение входного канала 121 и выходного канала 123, которые гидравлически соединены соответственно с входным каналом 107 и выходным каналом 109 первой подложки 103. На фигуре 1 также показан ряд полостей, таких как полость 150, каждая из которых соединена с основным микроканалом 105 с помощью небольшого бокового канала. Как подробно дополнительно объясняется ниже, каждая полость, такая как полость 150, частично ограничена деформируемой мембраной, которая позволяет измерять давление. Согласно предпочтительным вариантам осуществления изобретения подложка 103 изготавливается с круглыми отверстиями, и полости с боков ограничиваются стенками отверстий в подложке 103, снизу - деформируемой мембраной и сверху - второй подложкой 111.
На фигуре 1 первая подложка 103 предпочтительно изготовлена из кремния толщиной приблизительно 500 микрометров, а вторая подложка 111 изготовлена из стекла, такого как боросиликатное стекло, хотя в настоящем изобретении подразумеваются и другие материалы для первой подложки 103, как здесь обсуждается более подробно. Согласно некоторым предпочтительным вариантам осуществления изобретения подложка 103 представляет собой традиционную пластину типа "кремний на диэлектрике" (КНД). Типичные боросиликатные стекла производятся компанией Schott North America, Inc., Elmsford, New York, США и компанией Corning Incorporated of Corning, New York, США.
В процессе эксплуатации находящаяся под давлением пластовая жидкость вынуждена проходить через входной канал 121, входной канал 107 и впускное отверстие 117 в микроканал 105. Пластовая жидкость покидает микроканал 105 через выпускное отверстие 119, выходной канал 109 и выходной канал 123. Таким образом, микроканал 105 обеспечивает значительное сопротивление течению пластовой жидкости, поскольку микроканал 105 обладает очень маленьким поперечным сечением по сравнению с длиной микроканала 105. Когда устанавливается поток флюида между впускным отверстием 117 и выпускным отверстием 119 микроканала 105, давление пластовой жидкости в микроканале 105 падает от исходного давления, например давления в нефтеносном пласте, у впускного отверстия 117 до давления на выходе, например, до атмосферного давления у выпускного отверстия 119. Скорость потока является функцией общего перепада давления между впускным отверстием 117 и выпускным отверстием 119 и вязкости. Поток флюида через микроканал 105 является ламинарным, поэтому, когда пластовая жидкость представляет собой однофазный поток, перепад давления между впускным отверстием 117 и выпускным отверстием 119 является линейным. О дополнительных подробностях, касающихся микрофлюидных устройств и способа измерения термофизических свойств пластовой жидкости, см., например, международную патентную заявку № PCT/IB09/50500, поданную 7 февраля 2009 г., которая включена в настоящий документ путем ссылки. Как только поток устанавливается, мембрана в каждой полости, такой как полость 150, деформируется под действием давления флюида, и такую деформацию можно детектировать оптически, как описано более подробно в находящейся на рассмотрении патентной заявке США с серийным № 12/533292, в опубликованной патентной заявке США № 2010/0017135, озаглавленной "Pressure measurement of a reservoir fluid in a microfluidic device" (номер досье патентного поверенного 117.0037 US NP), поданной от того же числа.
На фигуре 2 представлено стилизованное схематическое изображение превращения пластовой жидкости 201, по мере того как пластовая жидкость течет через микроканал 105 в направлении, обычно соответствующем стрелке 202, согласно некоторым вариантам осуществления изобретения. Когда пластовая жидкость входит во впускное отверстие 117 микроканала 105, пластовая жидкость находится при давлении, упомянутом выше, как "давление в точке начала кипения" пластовой жидкости. Давление в точке начала кипения флюида представляет собой давление, при котором или ниже которого флюид начинает кипеть, то есть пузыриться при данной температуре. Когда пластовая жидкость выходит из выпускного отверстия 119 микроканала 105, пластовая жидкость находится под давлением ниже "давления в точке начала кипения" пластовой жидкости. Таким образом "первый" пузырек 203 образуется в пластовой жидкости в некотором месте, например, обозначенном как 205 на фигуре 2, в микроканале 105, где пластовая жидкость находится под давлением, соответствующем точке начала кипения. Ниже по течению от места 205 в микроканале 105 присутствует многофазный поток, например, поток пластовой жидкости 201, состоящий из газа и жидкости. Образовавшиеся ранее пузырьки, например, пузырьки 207, 209, 211, 213, 215 и т.п., увеличиваются в размере по мере того, как пластовая жидкость 201 течет по микроканалу 105 после места, соответствующего образованию первого пузырька, вследствие уменьшения давления на этом участке микроканала 105 и большего испарения более легких компонентов пластовой жидкости 201. Пузырьки отделяются друг от друга пробками жидкости, такими как пробки 217, 219, 221, 223, 225 и т.п. Расширение пузырьков, таких как пузырьки 207, 209, 211, 213, 215, приводит к увеличению скорости течения пузырьков и жидких пробок, таких как пробки 217, 219, 221, 223, 225, в микроканале 105. Массовая скорость потока пластовой жидкости 201, по существу является постоянной вдоль микроканала 105; однако объемная скорость потока пластовой жидкости 201 увеличивается по мере того, как пластовая жидкость течет вдоль микроканала 105. Пластовая жидкость также входит в полость 150 через небольшой канал 152. Согласно некоторым вариантам осуществления изобретения ширина небольшого бокового канала 152 составляет приблизительно 50 микрометров или приблизительно половину ширины микроканала 105, и приблизительно 50 микрометров в глубину.
Путем измерения размера и концентрации пузырьков в микроканале 105 можно определять термофизические свойства пластовой жидкости, такой как пластовая жидкость 201 на фигуре 2, например, можно определять соотношение нефть-газ, диаграмму фазовых состояний и уравнение фазового состояния. На фигуре 3 изображено три режима потока пластовой жидкости через микроканал 105. Первый пузырек, такой как первый пузырек 203 на фигуре 2, образуется в месте 301 микроканала 105. В области от впускного отверстия 117 микроканала 105 до места нахождения 301 первого пузырька, обозначенной на фигуре 3 как первая область 303, давление пластовой жидкости выше давления, соответствующего точке начала кипения. В первой области 303 пузырьков не наблюдается. В первой области 303 поток пластовой жидкости является ламинарным, обусловленным числом Рейнольдса, и давление в этой области падает линейно. После образования пузырьки движутся вдоль по микроканалу 105 в направлении выпускного отверстия 119 и увеличиваются в объеме. Во второй области 305 объемная доля, то есть отношение объема газа к общему объему пластовой жидкости меньше единицы. В третьей области 307 поток пластовой жидкости подавляется высокоскоростным потоком газа. Пузырьки газа отделяются друг от друга небольшими капельками жидкости, такой как вода. Давление пластовой жидкости в третьей области 307 быстро уменьшается. Пузырьки газа текут во второй области 305 с меньшей скоростью, чем в третьей области 307, где за ними часто почти невозможно уследить невооруженным глазом.
Как только в микроканале 105 установится устойчивый поток пластовой жидкости, для получения моментальных снимков потока применяется камера 401, которая показана на фигуре 4. Необходимо отметить, что поток пластовой жидкости через впускное отверстие 117 (показанное на фигурах 1 и 3) представлен стрелкой 403, и что поток пластовой жидкости через выпускное отверстие 119 (показанное на фигурах 1 и 3) представлен стрелкой 405. В одном из вариантов осуществления изобретения камера 401 представляет собой камеру типа устройства с зарядовой связью (CCD). Изображения, создаваемые камерой 401, обрабатываются с применением программного обеспечения для анализа изображений, такого как ImageJ 1.38x, предоставленного институтом United States National Institutes of Health, of Bethesda, Maryland, США, и программного обеспечения ProAnalyst, предоставленного компанией Xcitex, Inc. of Cambridge, Massachusetts, США, для измерения размера и концентрации пузырьков в пластовой жидкости, находящейся в микроканале 105. С помощью такого способа можно определять многие термофизические свойства пластовой жидкости, такие как соотношение нефти-газа, диаграмму фазовых состояний и уравнение фазового состояния.
На фигурах 5 и 6 изображено микрофлюидное устройство 501 согласно некоторым вариантам осуществления изобретения. Как и микрофлюидное устройство 101, показанное на фигуре 1, микрофлюидное устройство 501 содержит первую подложку 503, задающую границы микроканала 505, входной канал 507 и выходной канал 509. Микроканал 505 тянется между входным каналом 507 и выходным каналом 509 и гидравлически соединен с ними. В проиллюстрированном варианте осуществления изобретения первая подложка 503 изготовлена из кремния; однако первая подложка 503 может быть изготовлена из стекла. В одном из вариантов осуществления изобретения микроканал 505, входной канал 507 и выходной канал 509 представляют собой первый контур, наносимый на первую подложку 503 с применением способа фотолитографии и последующего травления первой подложки 503 с применением способа глубокого реактивного ионного травления. Также как в первом варианте осуществления изобретения, показанном на фигуре 1, в предпочтительном варианте осуществления изобретения микроканал 505 составляет в длину один или более метров, в ширину приблизительно 100 микрометров и в глубину приблизительно 50 микрометров, хотя в настоящем изобретении также подразумеваются другие габаритные размеры микроканала 505. Ряд небольших боковых каналов, таких как боковые каналы 552 и 556, ведут от основного микроканала 505 к круглым полостям, таким как полости 550 и 554. Также показан боковой канал 560, который ведет к полости 558. Согласно некоторым вариантам осуществления изобретения двенадцать полостей расположены по длине микроканала 505 на некотором расстоянии друг от друга, и каждая из полостей составляет приблизительно 2 мм в диаметре, хотя в настоящем изобретении также подразумеваются другое количество полостей и другие диаметры каждой полости. Каждая полость частично ограничивается гибкой мембраной на нижней поверхности устройства 501. Мембраны деформируются под действием локального статического давления. Деформацию измеряют с помощью чувствительного датчика давления Confocal Polychromatic Sensor (CCS) и после калибровки получают значение давления внутри канала.
Микрофлюидное устройство 501 дополнительно содержит вторую подложку 511, определяющую местонахождение входного канала 513 и выходного канала 515, гидравлически соединенных с входным каналом 507 и выходным каналом 509. Вторая подложка 511 изготовлена из стекла, как обсуждалось здесь в связи со второй подложкой 111 (показанной на фигуре 1). Делая прозрачной переднюю сторону устройства 501, обеспечивают наблюдение за потоком и видеосъемку потока внутри микроканала 505. В одном из вариантов осуществления изобретения входной канал 513 и выходной канал 515 создают на второй подложке 511 с применением водоструйного способа или абразивного водоструйного способа. Первую подложку 503 и вторую подложку 511 предпочтительно сваривают с применением способа анодной (термодиффузионной) сварки после осторожной очистки соединяемых поверхностей подложек 503 и 511.
В настоящем изобретении рассматривается микрофлюидное устройство 501 любого подходящего размера и/или формы, необходимого для конкретного осуществления изобретения. В одном из вариантов осуществления изобретения микрофлюидное устройство 501 имеет общую длину A приблизительно 80 миллиметров и общую ширину B приблизительно 15 миллиметров. В таком варианте осуществления изобретения каналы 513 и 515 расположены друг от друга на расстоянии C, равном приблизительно 72 миллиметрам; полости 558 и 550 расположены друг от друга на расстоянии D, равном приблизительно 3 миллиметрам; и полости вдоль змеевидной секции микроканала 505, такие как полости 550 и 554, расположены друг от друга на расстоянии E, равном приблизительно 5 миллиметрам. Следует заметить, что микрофлюидное устройство 101 также может иметь габаритные размеры, соответствующие микрофлюидному устройству 501. Однако объем настоящего изобретения этим не ограничивается.
На фигуре 7 один или несколько участков микроканала 505 включают в себя зоны с меньшей площадью поперечного сечения, чтобы вызвать образование центров кипения в пластовой жидкости. Например, как показано на фигурах 7 и 8, во впускное отверстие микроканала 505 здесь включено микросопло 701. Микросопло 701 включает в себя сопловое отверстие 801 шириной W1, которая меньше ширины W2 микроканала 505. Сужение, обеспечиваемое микросоплом 701, вызывает значительный перепад давления в пластовой жидкости у соплового отверстия 801, а также увеличение скорости потока пластовой жидкости. Совокупный эффект от перепада давления и увеличения скорости вызывает образование центров кипения в пластовой жидкости. Предпочтительно микроканал 505 дополнительно включает в себя одно или несколько дополнительных сужений 703, которые показаны на фигурах 7 и 9. Сужения 703 имеют ширины W3, которые меньше ширины W4 микроканала 505. Предпочтительно ширина W1 соплового отверстия 801 и ширина W3 сужений 703 равны приблизительно 20 микрометрам, тогда как предпочтительная ширина W2 и W4 микроканала 505 составляет 100 микрометров. Такие сужения увеличивают скорость пластовой жидкости приблизительно на 500 процентов.
На фигуре 10 приведено стилизованное, схематическое изображение системы анализа фазового поведения согласно некоторым вариантам осуществления изобретения. Высокопроизводительный шприцевой насос 1054 с электронным управлением со стороны компьютерной системы 1030 направляет испытуемый флюид, находящийся под давлением, в емкость для проб 1052. Флюид течет из емкости для проб 1052 через клапан 1050 в змеевидный канал микрофлюидного устройства 501. Постоянное исходное давление поддерживают и измеряют с помощью датчика давления 1056. Прозрачная передняя поверхность 511 микрофлюидного устройства 501 освещается ярким светом 1062, и камера 1060 фиксирует видеоизображение потока внутри микроканала. Когда в канале одновременно присутствуют пузырьки газа и пробки жидкости, между такими двумя фазами наблюдается вполне определенное различие в яркости. Изображения, зафиксированные камерой 1060, затем дают распределение пробок и пузырьков вдоль потока. На высокопрецизионном координатном столе 1014 смонтирован оптический датчик 1010. Оптический датчик 1010 движется вдоль задней поверхности микрофлюидного устройства 501 и измеряет деформацию мембраны в каждой полости устройства 501. Спектрометр 1020 принимает сигналы от оптического датчика 1010 с помощью волоконно-оптической линии связи 1012. Результаты, полученные на спектрометре, подаются в компьютерную систему 1030, при этом получают информацию о давлении внутри канала в местах расположения на устройстве 501 полостей. Компьютерная система 1030 включает в себя один или несколько процессоров, систему архивации 1032 (которая включает в себя одно или несколько сменных устройств для хранения данных, которые принимают информацию с компьютерного носителя), дисплей 1036 и одно или несколько устройств 1034 для ввода данных человеком, таких как клавиатура и/или мышка. Компьютерная система 1030 также включает в себя систему регистрации данных для сбора данных из спектрометра 1020.
Видеоизображение с камеры 1060 хранится в компьютерной системе 1030 с помощью программы для сбора и регистрации видеоданных, такой как программа, поставляемая компанией EPIX, Inc., США. Согласно некоторым вариантам осуществления изобретения видео полного изображения микроканала состоит приблизительно из 300 кадров. Согласно некоторым вариантам осуществления изобретения контроллер насоса 1054, датчик давления 1056, координатный стол 1014 и оптический датчик 1012 сообщаются с управляющим приложением компьютерной системы 1030, таким как программа LabVIEW компании National Instruments Corporation, которое регулирует работу всех устройств и регистрирует измерения.
На фигуре 11 показан пример зафиксированного кадра видеосъемки с изображением флюида, текущего через микрофлюидное устройство, согласно некоторым вариантам осуществления изобретения. Измерение дополнено одним или несколькими видеоизображениями потока плюс к измеренным значениям давления в разных полостях микрофлюидного устройства с применением оптического датчика. Кадр 1102 представляет собой зафиксированный кадр видеосъемки потока, в то время как кадр 1104 представляет собой изображение, полученное в результате его преобразования в бинарное или черно-белое изображение. Применяемые здесь термины "бинарное изображение" или "двухуровневое изображение" означают оцифрованное изображение, в котором каждый пиксель имеет только два возможных значения. В первых сегментах (ближе к левой части кадров), непосредственно после входного отверстия давление все еще высокое, и совсем немного газа вышло из жидкости. Однако дальше по потоку (в правой части кадров), поскольку давление уменьшается, все больше и больше газа выходит из жидкости.
Выполнение стандартной обработки изображений в компьютерной системе 1030, например, запрограммированной под программу Matlab, преобразует исходные полутоновые (со всеми оттенками серого) изображения, такие как 1102, в бинарные изображения, такие как 1104. Способ предполагает разумный выбор некоторых параметров обработки изображений. Затем бинарное изображение как таковое анализируется с помощью общепринятого компьютерного обеспечения, например, также запрограммированного под Matlab. На выходе компьютерного обеспечения получают долю жидкости в каждом из сегментов, формирующих микроканал. Такая доля жидкости затем усредняется по всем зафиксированным кадрам видеосъемки, при этом получают более точное измерение и значение стандартного отклонения. Таким образом, данный способ обеспечивает оценку доли жидкости вдоль канала.
На фигуре 12A представлен график, показывающий перепад давления в микроканале в зависимости от длины канала для углеводородов C1- и C10- согласно некоторым вариантам осуществления изобретения. На фигуре 12B представлен график, показывающий распределение объемной доли фазы в зависимости от давления для смеси углеводородов C1- и C10- согласно некоторым вариантам осуществления изобретения. На фигурах 12A и 12B представлены результаты измерений, проведенных на реальном флюиде в микрофлюидном устройстве, показанном на фигуре 5, и установке, показанной на фигуре 10. Флюид представляет собой смесь метана и декана, насыщенную при избыточном давлении 500 фунт/кв.дюйм. Результаты измерения давления, приведенные на кривой 1210, показывают линейный перепад давления внутри устройства. Комбинированные измерения давления и распределения объемной доли фазы внутри канала обеспечивают распределение объемной доли жидкого флюида при разных давлениях, как показано на фигуре 12B. На фигуре 12B незаштрихованные кружки, такие как точка 1212, относятся к измерениям с применением микрофлюидного устройства в установке, показанной на фигуре 10, в то время как заштрихованные квадраты, такие как точка 1214, показывают измерения, проведенные с помощью традиционного PVT-устройства.
На фигуре 13A приведен график, показывающий перепад давления в микроканале в зависимости от длины канала для многокомпонентной смеси газов и углеводорода C10- согласно некоторым вариантам осуществления изобретения. На фигуре 13B приведен график, показывающий распределение объемной доли фазы в зависимости от давления для многокомпонентной смеси газов и углеводорода C10- согласно некоторым вариантам осуществления изобретения. На фигурах 13A и 13B показаны результаты измерений на многокомпонентной смеси газов, рекомбинированной с деканом при избыточном давлении 600 фунт/кв. дюйм. На фигуре 13A результаты измерения давления, представленные на кривой 1310, показывают линейный перепад давления внутри устройства. На фигуре 13B незаштрихованные кружочки, такие как точка 1312, изображают измерения с применением микрофлюидного устройства в установке, показанной на фигуре 10, в то время как заштрихованные квадраты, такие как точка 1314, показывают измерения, проведенные с помощью традиционного PVT-устройства.
На фигуре 14A представлен график, показывающий перепад давления в микроканале в зависимости от длины канала для смеси легких фракций нефти и углеводорода C1- согласно некоторым вариантам осуществления изобретения. На фигуре 14B представлен график, показывающий распределение объемной доли фазы в зависимости от давления для смеси легких фракций нефти и углеводорода C1- согласно некоторым вариантам осуществления изобретения. На фигурах 14A и 14B показаны результаты измерений для легких фракций нефти, рекомбинированных с метаном при избыточном давлении насыщения 500 фунт/кв.дюйм. На фигуре 14A результаты измерения давления, представленные на кривой 1410, показывают линейный перепад давления внутри устройства. На фигуре 14B незаштрихованные кружочки, такие как точка 1412, изображают измерения с применением микрофлюидного устройства в установке, показанной на фигуре 10, в то время как заштрихованные квадраты, такие как точка 1414, показывают измерения, проведенные с помощью традиционного PVT-устройства. Как можно видеть из фигур 12B, 13B и 14B, существует хорошее совпадение между измерениями, выполненными с помощью микрофлюидного устройства, и традиционными PVT-измерениями.
На фигуре 15 показан пример применения способа строчного сканирования для измерения доли жидкости в микрофлюидном устройстве согласно некоторым другим вариантам осуществления изобретения. Камеру, такую как камера 1060 на фигуре 10, можно отрегулировать для фиксации только выбранной строки изображения канала. В известной мере камера работает аналогично считывателю штрих-кода. Каждый кадр, выделенный с помощью пунктирного прямоугольника, по существу представляет собой строку, в которой происходит перегруппировка фазовых состояний в заданном месте для всех сегментов змеевидного микроканала. Для данного сег
 
                         
                            


