Хвостовая часть самолета

Иллюстрации

Показать все

Изобретение относится к области авиации, в частности к конструкциям самолетов. Хвостовая часть самолета содержит каркас с обшивкой, однокилевое оперение, реактивный двигатель, по меньшей мере одну полую продольно прикрепленную к каркасу консоль с закрепленным на ее конце снизу двигателем. На консоль опирается киль оперения, прикрепленный сверху. Достигается повышение безопасности, упрощение монтажа и обслуживания двигателей. 2 ил.

Реферат

Изобретение относится к области моделирования самолетов гражданского назначения с прямым и стреловидным крылом.

Известна хвостовая часть самолета, содержащая каркас с обшивкой, однокилевое оперение, реактивный двигатель, по меньшей мере одну полую консоль [1].

Задачей изобретения является повышение безопасности самолета, упрощение монтажа и обслуживания реактивного двигателя.

Технический результат решения поставленной задачи достигается тем, что хвостовая часть самолета содержит каркас с обшивкой, однокилевое оперение, реактивный двигатель, по меньшей мере одну полую продольно прикрепленную к каркасу консоль с закрепленным на ее конце снизу двигателем, причем на консоль опирается киль оперения, прикрепленный сверху.

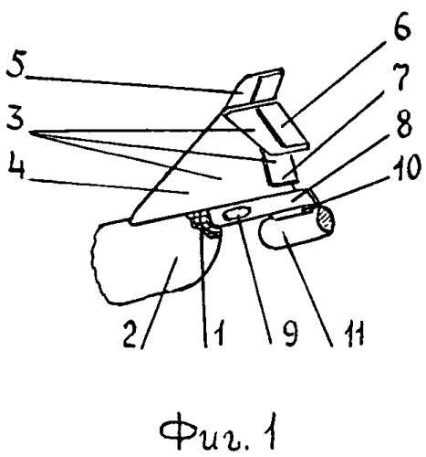
На фиг. 1 изображена хвостовая часть самолета, снабженная консолью с закрепленным на ее конце снизу реактивным двигателем; на фиг. 2 - то же, что на фиг. 1, но с двумя двигателями.

Хвостовая часть самолета (фиг. 1), содержит каркас 1 с обшивкой 2, оперение 3 с одним килем 4, крылом 5, рулями высоты 6 и направления 7. К каркасу прикреплена продольно консоль 8, имеющая полость 9. На конце консоли на полом держателе 10 закреплен (подвешен) реактивный двигатель 11. На держателе может быть закреплено два (фиг. 2) и более двигателей. На консоль опирается киль оперения, прикрепленный сверху.

Пример выполнения модели хвостовой части самолета.

Из самолетной стали, титановых, алюминиевых сплавов изготавливают хвостовую часть самолета (модель, экспериментальный образец) в виде жесткого каркаса 1 с обшивкой 2, оперением 3, содержащим киль 4, крыло 5, рули высоты и направления, соответственно 6 и 7. Изготавливают консоль 8, имеющую полость 9, прикрепляют ее к каркасу вдоль фюзеляжа. В полости консоли прокладывают системы электропитания, смазки, подачи топлива. Сверху к консоли прикрепляют киль оперения, а снизу - держатель для одного (фиг. 1), двух (фиг. 2) и более реактивных (например, турбореактивных) двигателей 11.

Эквивалентным техническим решением является выполнение модели хвостовой части фюзеляжа самолета с числом консолей более одной, например две: одна сверху, другая снизу. В зависимости от числа используемых реактивных двигателей держатель в поперечном сечении может иметь I-, Y-, Τ-, П- или Х-образную форму.

Изобретение повышает безопасность самолета, упрощается монтаж и обслуживание двигателей.

Источники информации

1.WO 0012382 А1, 2000.

Хвостовая часть самолета, содержащая каркас с обшивкой, однокилевое оперение, реактивный двигатель, по меньшей мере одну полую продольно прикрепленную к каркасу консоль с закрепленным на ее конце снизу двигателем, причем на консоль опирается киль оперения, прикрепленный сверху.