Взрывной патрон

Иллюстрации

Показать все

Изобретение относится к взрывным патронам и способам заполнения взрывного патрона взрывчатым веществом. Взрывной патрон содержит загрузочную часть, имеющую загрузочный канал, позволяющий подавать взрывчатое вещество извне скважины, и гибкую трубу, надетую на наружную поверхность загрузочной части в сложенном в продольном направлении состоянии. Гибкая труба выполнена таким образом, что при подаче взрывчатого вещества под давлением извне скважины через загрузочный канал и заполнении внутреннего пространства гибкой трубы последняя расправляется в продольном направлении и гибкая труба сходит с загрузочной части, продвигаясь внутрь скважины. Достигается безопасность и надёжность в эксплуатации взрывного патрона. 2 н. и 27 з.п. ф-лы, 8 ил.

Реферат

Область техники, к которой относится изобретение

Настоящее изобретение относится к взрывному патрону. Изобретение также относится к способу заполнения взрывного патрона взрывчатым веществом.

Уровень техники

Взрывные патроны могут использоваться во многих областях техники для разрушения любых типов горных пород, породных массивов, бетонов и аналогичных материалов. Подрыв взрывного патрона в скважине приводит к образованию вокруг нее трещин и осколков материала во всех направлениях. В случае обычного взрыва, выполняемого в горной выработке, это не создает серьезных проблем, так как борт уступа можно обрушить после взрыва с помощью механического оборудования и таким путем обеспечить безопасность для следующего взрыва.

Тем не менее, в ситуациях, когда взрыв осуществляется вдоль окончательно сформированной породной стенки или когда при подземном взрыве требуется создать (оставить по завершении) как можно более надежную боковую стенку тупиковой выработки, сильное радиальное растрескивание по всей окружности скважины может иметь следствием сложные проблемы. Количество и длина трещин, создаваемых зарядом взрывчатого вещества в скважине, зависят, среди прочих факторов, от давления, возникающего во время детонации.

В публикации WO 2008/148544 описано устройство для размещения взрывчатого вещества, содержащее вместилище для приема взрывчатого вещества и анкерный узел. Вместилище предназначено для его заполнения взрывчатым веществом, подаваемым извне скважины. Анкерный узел предназначен для фиксации гибкого вместилища в скважине. В качестве взрывчатого вещества может, в частности, использоваться бестарное взрывчатое вещество или взрывчатое вещество в форме так называемых взрывных патронов.

Раскрытие изобретения

Задачей настоящего изобретения является создание безопасного и надежного в эксплуатации взрывного патрона, изготовление которого было бы связано с умеренными затратами.

Для решения этой задачи предлагаются взрывной патрон и способ заполнения взрывного патрона взрывчатым веществом в соответствии с независимыми пунктами формулы настоящего изобретения.

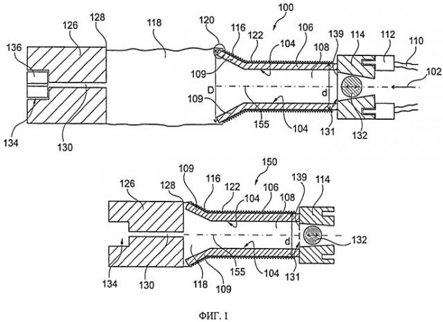
Одним объектом настоящего изобретения является взрывной патрон, предназначенный для приема взрывчатого вещества при нахождении в скважине. Взрывной патрон содержит загрузочную часть, имеющую загрузочный канал, позволяющий подавать взрывчатое вещество извне скважины. На наружную поверхность загрузочной части может быть надета гибкая труба, сложенная в продольном направлении (в частности, с образованием складок таким образом, чтобы складки, или гофры, этой гибкой трубы формировались друг за другом в продольном направлении). Гибкая труба выполнена таким образом, что при подаче взрывчатого вещества под давлением извне скважины через загрузочный канал и заполнении внутреннего пространства гибкой трубы последняя расправляется, или раздвигается, в продольном направлении (в частности, таким образом, что сформированные в продольном направлении складки, или гофры, гибкой трубы исчезают/разглаживаются, образуя гладкую поверхность) и гибкая труба сходит с загрузочной части, продвигаясь внутрь скважины.

Другим объектом настоящего изобретения является способ заполнения взрывного патрона взрывчатым веществом. Способ включает размещение взрывного патрона в скважине и подачу взрывчатого вещества извне скважины в загрузочный канал загрузочной части этого взрывного патрона. Гибкая труба взрывного патрона, первоначально надетая на наружную поверхность загрузочной части в сложенном в продольном направлении состоянии, может быть переведена в расправленное в продольном направлении состояние путем подачи взрывчатого вещества под давлением извне скважины через загрузочный канал для заполнения внутреннего пространства гибкой трубы, сопровождающегося расправлением гибкой трубы в продольном направлении по мере ее схода с загрузочной части и продвижения внутрь скважины.

Термин ″продольное″ может, в частности, относиться к направлению, вдоль которого взрывчатое вещество должно заполнять взрывной патрон, или к направлению, вдоль которого гибкая труба сходит с загрузочной части при подаче взрывчатого вещества. Продольное направление может быть параллельным или по существу параллельным центральной оси скважины или загрузочному каналу загрузочной части.

Термин ″поперечное″ может, в частности, относиться к направлениям, перпендикулярным продольному направлению. Поперечное направление может представлять собой направление от внутренней поверхности загрузочной части к ее наружной поверхности или от внутренней поверхности гибкой трубы к ее наружной поверхности.

Термин ″взрывчатое вещество″ может, в частности, означать материал, способный взрываться в результате восприятия соответствующего инициирующего воздействия. Такими взрывчатыми веществами могут быть жидкость, эмульсия и даже твердый, например гранулированный, материал.

Термин ″гибкая″ может, в частности, означать свойство материала трубы, а именно то, что эта труба поддается обратимой деформации под воздействием внешней силы, имеющей порядок величины усилия нагнетания, создаваемого транспортным средством, загруженным взрывчатым веществом для подачи этого вещества в скважины. Термин ″гибкая″ может, в частности, означать, что труба изготовлена из такого материала и/или имеет такие размеры, что изменение его формы происходит под воздействием давления, величина которого составляет от одного до нескольких бар.

В одном из вариантов осуществления настоящего изобретения предлагается взрывной патрон, предназначенный, в частности, для использования в вертикальных и наклонных скважинах и обеспечивающий подачу взрывчатого вещества извне скважины внутрь компактного приспособления, имеющего структуру с возможностью вытягивания в процессе подачи взрывчатого вещества. Это компактное приспособление является простым в использовании, надежным и не подверженным отказам. Во-первых, взрывной патрон можно вставить в приповерхностный участок скважины, не заполняя его взрывчатым веществом. Во-вторых, загрузочную часть взрывного патрона можно соединить с подающим рукавом или аналогичным приспособлением для подачи взрывчатого вещества извне скважины в загрузочную часть. Из загрузочной части взрывчатое вещество движется в направлении внутреннего пространства гибкой трубы, которая вначале компактным образом надета на наружную поверхность загрузочной части в сложенном в продольном направлении состоянии и с образованием складок. Под давлением взрывчатого вещества гибкая труба распрямляется и сходит с загрузочной части, так что закачка взрывчатого вещества в загрузочную часть автоматически вызывает продвижение взрывного патрона в направлении более глубокого участка скважины и сход гибкой трубы с загрузочной части. Поскольку данная гибкая труба изготовлена из эластичного материала, взрывчатое вещество будет способствовать, главным образом, продольному удлинению, но также и некоторому поперечному расширению гибкой трубы, благодаря чему будет происходить автоматическое центрирование гибкой трубы в скважине. Эта система проста в изготовлении и удобна и надежна в эксплуатации, поскольку заполнение взрывчатым веществом взрывного патрона, установленного в скважине, начинается только после того как будет подтверждено, что взрывной патрон не имеет защемлений, прихватов или смещения в скважине.

Ниже описываются другие примеры выполнения взрывного патрона. Эти примеры, однако, относятся также к способу заполнения взрывного патрона взрывчатым веществом.

В одном варианте осуществления изобретения загрузочная часть имеет расширенный концевой участок, вызывающий поперечное расширение гибкой трубы при ее соскальзывании с загрузочной части. Таким образом, при продвижении к более глубокому участку скважины гибкая труба будет надвигаться на расширенный концевой участок загрузочной части, одновременно с чем будет увеличиваться ее поперечное сечение. Такая геометрия позволяет благоприятным образом предотвратить образование нежелательного обратного потока взрывчатого вещества из загрузочного канала в промежуточное пространство между загрузочной частью и участком гибкой трубы, еще находящимся в складчатом состоянии на наружной поверхности загрузочной части. Предотвращение такого нежелательного обратного потока является очень важным с точки зрения техники безопасности. Расширение концевого участка загрузочной части оказалось простым, но очень эффективным средством для достижения этой цели.

Расширенный концевой участок может, в частности, иметь коническую форму. Так, расширенный участок может иметь форму полого усеченного конуса. В альтернативном варианте можно также придать наружной поверхности расширенного участка форму вогнутого или выпуклого конуса.

В одном варианте осуществления изобретения загрузочная часть может иметь полый цилиндрический участок, соединяющийся, в частности непосредственно, с расширенным концевым участком. Таким образом, концевая часть может, в частности, содержать два участка: цилиндрический участок, вдоль которого гибкая труба собирается складками перед заполнением взрывчатым веществом, и расширенный концевой участок, выполненный как единое целое с этим полым цилиндрическим участком и образующий круглую оправку для расширения гибкой трубы. Это позволяет разместить на полом цилиндрическом участке загрузочной части очень длинную гибкую трубу в сложенном в продольном направлении состоянии вплоть до ее расширения с целью обеспечения надлежащего заполнения скважины взрывчатым веществом. Вместе с тем данная конструкция позволяет предотвратить образование нежелательного обратного потока взрывчатого вещества в зазоре между загрузочной частью и гибкой трубой.

В частности, значение отношения диаметра (в частности, наружного диаметра) расширенного концевого участка (на том конце загрузочной части, с которым гибкая труба сохраняет контакт) к диаметру (в частности, наружному диаметру) гибкой трубы в сложенном состоянии должно быть достаточно большим. В частности, это отношение может превышать приблизительно 1,2, в частности - приблизительно 1,5, преимущественно - приблизительно 2. Установлено, что при достаточно большом значении этого отношения можно предотвратить нежелательный случай неполного заполнения гибкой трубы.

Предотвращение образования обратного потока взрывчатого вещества в промежуточном пространстве между загрузочной частью и гибкой трубой в складчатом состоянии может быть целесообразным по соображениям техники безопасности. Поскольку в таком малом промежуточном пространстве может иметь место высокое локальное давление, то существует риск взрыва, воспламенения или вступления в реакцию взрывчатого вещества. Предлагаемая взаимная конфигурация загрузочной части и гибкой трубы в сочетании с расширенным концевым участком дает возможность надежно предотвратить возникновение этих нежелательных эффектов.

Загрузочная часть может содержать переходник, предназначенный для соединения загрузочной части с рукавом, по которому взрывчатое вещество подается извне скважины. Это соединение может быть выполнено с уплотнением. Например, загрузочное транспортное средство, содержащее контейнер с взрывчатым веществом и насос, может быть расположено снаружи скважины. Взрывчатое вещество может закачиваться насосом из контейнера, проходя через рукав, переходник рукава, соединенный с уплотнением с переходником загрузочной части, затем через загрузочную часть и попадая оттуда во внутреннее пространство гибкой трубы. Соединение переходников может выполняться реверсивным образом, то есть переходник загрузочной части просто вставляется в переходник рукава или наоборот. Это соединение может быть выполнено посредством защелкивающихся соединительных элементов (с фиксацией и без), байонетных соединительных элементов, резьбовых соединительных элементов и т.п. Благодаря наличию уплотнения между переходниками загрузочной части и рукава можно надежно предотвратить нежелательную утечку взрывчатого вещества в области сопряжения рукава и взрывного патрона.

В одном из предпочтительных вариантов осуществления изобретения взрывной патрон может содержать множество кольцеобразных распорных элементов, надетых (например, с возможностью свободного перемещения) на наружную поверхность гибкой трубы на первом расстоянии друг от друга, когда гибкая труба находится в сложенном в продольном направлении состоянии. Кольцеобразные распорные элементы могут находиться на втором расстоянии друг от друга, когда гибкая труба находится в расправленном состоянии. Второе расстояние может быть больше первого расстояния. В одном варианте осуществления изобретения эти элементы могут свободно перемещаться по гибкой трубе. В другом варианте осуществления изобретения эти элементы могут быть прикреплены (например, приклеены) к гибкой трубе. Путем простого размещения некоторого количества кольцеобразных элементов вокруг наружной поверхности гибкой трубы может быть реализован очень эффективный способ фиксации взрывного патрона внутри скважины без использования крепежных средств. Такая фиксация может быть основана исключительно на трении, когда кольцеобразные распорные элементы представляют собой кольца, диски или полые цилиндры. Кольцеобразные распорные элементы могут иметь гладкую наружную поверхность. Кольцеобразные распорные элементы могут иметь наружный контур в форме круга. Если такие кольцеобразные распорные элементы изготовлены из материала с высоким коэффициентом трения, например резины, то они могут упираться своей наружной поверхностью в стенки скважины, обеспечивая усилие для достаточно жесткой фиксации взрывного патрона в скважине. Поскольку между внутренней поверхностью колец и наружной поверхностью гибкой трубы тоже существует некоторое трение, то эти кольца будут следовать за движением гибкой трубы, соскальзывающей с загрузочной части, даже если кольцеобразные распорные элементы не прикреплены к гибкой трубе. Следовательно, при продольном расправлении гибкой трубы также автоматически происходит увеличение расстояния между соседними кольцеобразными распорными элементами.

В описанном выше варианте осуществления изобретения кольцеобразные распорные элементы могут свободно скользить по наружной поверхности гибкой трубы, находящейся в сложенном в продольном направлении состоянии, и оказываются плотно посаженными на этой поверхности при расширении гибкой трубы в результате ее заполнения взрывчатым веществом. Другими словами, может оказаться достаточным просто разместить кольцеобразные распорные элементы на наружной поверхности гибкой трубы, не выполняя их постоянного соединения с последней. Однако в другом варианте осуществления изобретения можно также выполнить такое постоянное соединение кольцеобразных распорных элементов и гибкой трубы, например, с помощью подходящего клеящего вещества. Тем не менее, одного лишь трения между кольцеобразными распорными элементами и гибкой трубой может оказаться достаточно для образования удовлетворительного механического соединения между ними. Если, однако, гибкая труба расширяется в поперечном направлении при заполнении его взрывчатым веществом, то взрывчатое вещество и гибкая труба давят на внутреннюю поверхность колец, обеспечивая достаточно прочное сцепление последних со стенками скважины. Размещение гибкой трубы и кольцеобразных распорных элементов относительно друг друга осуществляется таким путем чрезвычайно просто и эффективно.

Если гибкая труба находится в расширенном состоянии, то кольцеобразные распорные элементы могут служить в качестве ограничителей, расположенных на гибкой трубе, например, через каждые 10 см. В пространственно расширенном состоянии гибкая труба может иметь диметр 3,5-5 см. Пространственное расширение гибкой трубы при заполнении ее взрывчатым веществом обусловливает давление гибкой трубы на кольцеобразные распорные элементы и их фиксацию вследствие трения, что, в свою очередь, определяет уникальный характер заполнения гибкой трубы, распрямляющейся в продольном направлении. Фиксация кольцеобразных распорных элементов на гибкой трубе может быть достигнута путем одной лишь закачки взрывчатого вещества в гибкую трубу.

Тем не менее, взрывной патрон может также содержать по меньшей мере один анкерный распорный элемент (в частности, множество анкерных распорных элементов), расположенный между кольцеобразными распорными элементами и предназначенный для фиксации взрывного патрона в скважине с помощью наружных анкерных средств, таких как когтеобразные элементы, костыли или пружины. С помощью анкерных распорных элементов может быть обеспечена еще более надежная фиксация взрывного патрона относительно стенок скважины. Подобный анкерный распорный элемент может содержать центральную кольцевую часть, выполненную с возможностью размещения в ней гибкой трубы, и упругую (например, пружинообразную) часть, обеспечивающую фиксацию гибкой трубы в скважине за счет растяжения пружин.

Оснащение взрывного патрона одним или более анкерных распорных элементов обеспечивает возможность фиксации взрывного патрона (более конкретно - гибкой трубы, заполненной взрывчатым веществом) на заданном расстоянии относительно стенок скважины. Например, обеспечивается возможность центрирования, то есть расположения взрывчатого вещества по центру скважины. Например, анкерный распорный элемент может быть образован элементом, устанавливаемым/надеваемым на гибкую трубу и крепящимся к ней, например, с помощью склеивания. Кроме того, анкерный распорный элемент может быть приспособлен для разделения взрывчатого вещества и стенок скважины. Это означает, что анкерный распорный элемент может использоваться для обеспечения зазора между стенками скважины и заполненной гибкой трубой, эффективно отделяя их друг от друга. В частности, этим обеспечивается возможность исключения непосредственного контакта стенок гибкой трубы со стенками скважины. Исследования показали, что обеспечение зазора, например кольцеобразного зазора, между гибкой трубой и стенками скважины может существенно снизить степень разрушения и дробления, вызываемого взрывом. Это представляет собой преимущество в подземных применениях, таких как разработка месторождений полезных ископаемых, строительство или проходка туннелей, даже в случае скважин с большим наклоном или вертикальных скважин. В частности, использование взрывного патрона, предлагаемого в настоящем изобретении, может, вероятно, обеспечить преимущества по сравнению с частичным заполнением скважины бестарными взрывчатыми веществами, т.е. взрывчатыми веществами, не находящимися в оболочке или патроне, которое может осуществляться путем вытягивания рукава для заряжания в процессе последнего с большей скоростью, чем скорость заполнения скважины взрывчатым веществом, поскольку это может быть выполнено, в основном, только для горизонтальных либо слабо наклоненных скважин. Использование предлагаемого в изобретении взрывного патрона может быть, вероятно, более эффективным для обеспечения лишь частичного заполнения скважины взрывчатым веществом с целью снижения взрывного давления внутри скважины и, тем самым, возможного уменьшения разрушения породы вокруг скважины.

Далее, использование предлагаемого в изобретении взрывного патрона позволяет добиться более постоянной степени заполнения скважины, даже в тяжелых и изменчивых условиях, благодаря чему достигается более стабильное разделение. Кроме того, при использовании предлагаемого в изобретении взрывного патрона поперечное сечение заряда может быть более постоянным по сравнению с традиционным применением бестарного взрывчатого вещества. Таким образом, изобретение также позволяет достигать большего постоянства условий детонации, так что использование предлагаемого в изобретении взрывного патрона снижает риск прерывания детонации внутри скважины вследствие непостоянства поперечного сечения.

Тем не менее, применение анкерных узлов в горизонтальной скважине может не давать каких-либо преимуществ. Эти преимущества может обеспечивать использование центрирующих колец или анкерных элементов в вертикальных или наклонных скважинах.

В другом варианте осуществления изобретения множество кольцеобразных распорных элементов может включать по меньшей мере две группы таких элементов, имеющих разные наружные диаметры. Например, первая группа кольцеобразных распорных элементов может иметь меньший наружный диаметр, чем вторая группа таких элементов. Элементы, относящиеся соответственно к первой и второй группам, могут быть поочередно расположены на некотором протяжении вдоль загрузочной части. Например, каждый третий распорный элемент может иметь больший наружный диаметр, чем остальные элементы, благодаря чему обеспечивается фиксация в скважине с помощью трения.

Еще в одном варианте осуществления изобретения кольцеобразные распорные элементы могут быть изготовлены из эластомера. Термин ″эластомер″ может означать полимер, обладающий вязкоупругими свойствами и имеющий, как правило, очень низкий модуль упругости и высокую величину деформации при пределе текучести по сравнению с другими материалами.

Примером такого эластомера является резина. Эластомерные материалы являются достаточно недорогими и в то же время обеспечивают надлежащую жесткость и высокую величину трения при контакте со стенками скважины. В то же время эластомерные материалы обеспечивают некоторую гибкость, что предотвращает залипание или прихват взрывчатого вещества в скважине. Кроме того, эластомер может быть достаточно гладким, чем предотвращается повреждение расположенной внутри него гибкой трубы.

Гибкая труба может быть изготовлена из термопластичного полиуретана (ТПУ). Термин ″термопластичные полиуретаны″ может означать класс пластмасс, обладающих многими полезными свойствами, включая упругость, устойчивость к истиранию и механическую жесткость. ТПУ оказался очень подходящим материалом для гибкой трубы благодаря своей прочности и упругости. В частности, использование ТПУ в качестве материала для гибкой трубы в сочетании с эластомером в качестве материала для колец обеспечивает механическую жесткость, достаточную упругость, а также линейное расширение распорных элементов. В другом варианте осуществления изобретения может использоваться гибкая труба, изготовленная из полиэтилена.

Взрывной патрон может содержать концевой элемент, соединяемый (например, с уплотнением) с концевым участком гибкой трубы. Концевой элемент может быть предназначен для закрытия концевого участка гибкой трубы с целью уплотнения полости для приема взрывчатого вещества. Концевой элемент может быть постоянно закрытым или обеспечивать возможность закрывания. Концевой элемент как таковой может представлять собой просто глухой конец гибкой трубы. В альтернативном варианте концевой элемент может представлять собой отдельную конструктивную деталь, прикрепленную к концевому участку гибкой трубы.

Взрывной патрон может содержать обратный клапан (например, как часть переходника для соединения с рукавом), предназначенный для обеспечения подачи взрывчатого вещества под давлением извне скважины в гибкую трубу (в этом рабочем режиме клапан открыт) и предотвращения образования обратного потока взрывчатого вещества из гибкой трубы (в этом рабочем режиме клапан закрыт). Таким образом, пока взрывчатое вещество закачивается извне скважины в загрузочную часть и оттуда в гибкую трубу, клапан остается открытым. Когда гибкая труба заполняется взрывчатым веществом в требуемой степени и, следовательно, находится под действием небольшого давления, рукав можно отсоединить от взрывного патрона. В этом состоянии может возникнуть тенденция к образованию потока взрывчатого вещества из взрывного патрона в направлении, противоположном направлению закачки. Однако образование такого нежелательного обратного потока можно предотвратить, предусмотрев в конструкции обратный клапан, благодаря которому взрывное вещество остается в гибкой трубе при некотором избыточном давлении. Взрывчатое вещество, стремящееся вытечь из взрывного патрона, активирует обратный клапан, который переходит в закрытое состояние.

В описанном выше варианте осуществления изобретения благоприятный эффект достигается за счет того, что обратный клапан содержит подвижный орган, в частности шар, расположенный, например, в отверстии, выполненном в переходнике для соединения с рукавом. Движение этого органа обеспечивает избирательное открывание или закрывание отверстия в зависимости от текущего соотношения давлений. Например, давление закачки, приложенное для заполнения взрывчатым веществом внутреннего пространства гибкой трубы, может прижать шар к одной стороне этого отверстия, где он не производит герметичного закрывания последнего. Следовательно, при приложенном давлении закачки эффекта герметичного закрывания не возникает. Однако в отсутствие внешнего давления упомянутый орган, установленный с возможностью перемещения, может переместиться (под воздействием взрывчатого вещества, находящегося внутри взрывного патрона) в другую часть отверстия и герметично закрыть гибкую трубу, отделив, в случае необходимости, ее внутреннее пространство от окружающей среды.

Вместе с тем, могут быть реализованы и многие другие варианты выполнения обратного клапана, альтернативные варианту с использованием шара или какого-либо иного органа. Например, обратный клапан может быть выполнен в виде пластины с одной (или более) лопастью, которая может открываться под действием давления, приложенного с одного направления, и оставаться закрытой под действием давления, приложенного с противоположного направления. В качестве других альтернативных вариантов исполнения обратного клапана можно использовать пружинное устройство, магнитное устройство и т.д.

В одном варианте осуществления изобретения концевой элемент может содержать пространство для размещения боевика (промежуточного детонатора). Другими словами, в концевом элементе (формирующем боевик) может быть выполнена полость для размещения детонатора, служащего для инициирования взрыва взрывчатого вещества. По соображениям техники безопасности такой боевик вставляют в полость для его размещения непосредственно перед вводом взрывного патрона в скважину.

Гибкая труба в расправленном состоянии может иметь длину в диапазоне приблизительно 0,5-30 м, в частности приблизительно 1,5-10 м. Следовательно, можно подготовить очень длинную гибкую трубу, которая вставляется в приповерхностный участок скважины и затем автоматически выдвигается в скважину под давлением взрывчатого вещества, закачиваемого в эту гибкую трубу извне скважины. Однако в сложенном состоянии гибкая труба может иметь меньшую длину в диапазоне приблизительно 0,1-1 м, в частности приблизительно 0,2-0,5 м. Такая высокая степень продольного сжатия гибкой трубы показывает, что взрывной патрон может быть выполнен как очень компактное устройство и принимает свою вытянутую рабочую конфигурацию только при закачке взрывчатого вещества под определенным давлением в скважину.

В одном варианте осуществления изобретения взрывной патрон может содержать линию инициирования взрыва, проходящую вдоль наружной поверхности гибкой трубы. Подобную линию инициирования называют также бикфордовым, или огнепроводным, шнуром.

В альтернативном варианте осуществления изобретения линия инициирования взрыва может быть также проложена внутри гибкой трубы.

Еще в одном варианте осуществления изобретения взрывной патрон может содержать защитную трубу, установленную с возможностью перемещения таким образом, чтобы избирательно закрывать или открывать по меньшей мере часть гибкой трубы и/или загрузочной части. Защитная труба обеспечивает размещение внутри себя, по существу, всех остальных компонентов взрывного патрона с образованием одного компактного изделия, удобного в транспортировке и переводимого в рабочее положение непосредственно перед вводом его в скважину. Таким образом, защитная труба, которая может представлять собой полый цилиндр, может также выполнять защитные функции при вводе в скважину. Возможно такое выполнение защитной трубы, при котором она автоматически отводится назад в направлении устья скважины в момент начала подачи взрывчатого вещества в загрузочную часть. В альтернативном варианте отвод защитной трубы назад может осуществляться посредством приведения ее в движение извне скважины.

В другом варианте осуществления изобретения гибкая труба может содержать разные участки с разной степенью механической жесткости. Эти участки можно предусмотреть таким образом, чтобы при подаче взрывчатого вещества под давлением менее жесткие участки расширялись в большей степени, чем более жесткие участки. Например, модуль упругости у более жестких участков может иметь более высокое значение, чем у менее жестких участков. Такая конструкция может полностью исключить необходимость в кольцеобразных или анкерных распорных элементах. В этом варианте осуществления изобретения сама конфигурация гибкой трубы обеспечивает фиксацию последней в скважине. При заполнении взрывчатым веществом участки с меньшей степенью жесткости будут демонстрировать более сильную тенденцию к расширению в поперечном направлении, чем более толстые и жесткие участки гибкой трубы. Следовательно, менее жесткие участки будут обеспечивать усилие фиксации в скважине на основе трения. Такая конфигурация позволяет изготовить очень компактный взрывной патрон, поскольку отпадает необходимость в распорных элементах. Еще в одном варианте осуществления изобретения можно также благоприятным образом скомбинировать гибкую трубу, имеющую разные участки с разной степенью механической жесткости, с распорными элементами описанного выше типа.

Гибкие трубы с участками, имеющими различающиеся характеристики материала, можно изготовить методом экструзии с изменяемыми параметрами технологического режима и/или материала во время процесса изготовления.

В описанном выше варианте осуществления изобретения разные участки с разной степенью механической жесткости могут иметь разную толщину. Следовательно, участки гибкой трубы, изготовленные в данном варианте осуществления изобретения из одного материала, но имеющие разную толщину, тоже будут демонстрировать разные характеристики упругости или жесткости. Участки с более тонкими стенками будут в меньшей степени, чем участки с более толстыми стенками, способны противостоять усилию расширения, создаваемому взрывчатым веществом, заполняющим внутреннее пространство гибкой трубы. Следовательно, более тонкие участки имеют более сильную тенденцию к боковому, или поперечному, расширению с упором в стенки скважины с целью фиксации, чем более толстые участки.

В качестве дополнения или альтернативы можно изготовить разные участки, имеющие разную степень механической жесткости, из разных материалов, имеющих разные значения модуля упругости. В этом случае из более эластичных материалов будут выполнены участки, служащие для фиксации, а из более жестких материалов - участки между ними. Например, разные участки гибкой трубы могут быть выполнены из разных видов термопластичного полиуретана или разных видов пластмасс.

Продольная протяженность менее жестких участков может составлять приблизительно менее одной трети, в частности приблизительно менее одной пятой части, продольной протяженности более жестких участков. Таким образом, высокая жесткость может сочетаться с надежной фиксацией гибкой трубы посредством менее жестких участков. В этом варианте тоже можно исключить кольцеобразные и/или анкерные распорные элементы. Например, продольная протяженность менее жестких участков может составлять 1-2 см, тогда как продольная протяженность более жестких участков может находиться в диапазоне 10-15 см.

Еще в одном варианте осуществления изобретения гибкая труба может иметь перфорационные отверстия. Перфорационные отверстия можно выполнить, например, с помощью игольчатого ролика или валика. Эти перфорационные отверстия могут быть небольшими и выполнять функции своего рода фильтра, а именно допускать прохождение через них мелких частиц и препятствовать прохождению крупных. Например, возможно прохождение через эти перфорационные отверстия воды или растворителей с малыми размерами молекул, в результате чего повышается концентрация взрывчатого вещества во внутреннем пространстве гибкой трубы. Следовательно, размеры перфорационных отверстий можно выбрать таким образом, чтобы молекулы взрывчатого вещества, имеющие большие размеры, не могли пройти через эти отверстия. Такое взрывчатое вещество может представлять собой эмульсию, в частности эмульсию, содержащую нитрат аммония и масло.

В варианте осуществления изобретения, альтернативном описанному выше, перфорационные отверстия могут открываться только в случае подачи взрывчатого вещества под давлением. В отсутствие внешнего давления, возникающего при заполнении взрывчатым веществом, эти перфорационные отверстия будут закрыты или будут иметь настолько малый диаметр, что через них не смогут пройти, по существу, никакие молекулы взрывчатого вещества, включая молекулы растворителя или вещества матрицы, например воды. Следовательно, в данной конфигурации гибкая труба является, по существу, непроницаемой или герметично уплотненной. Если, однако, происходит боковое расширение гибкой трубы из-за продольного расправления, то перфорационные отверстия могут открыться, позволяя конкретным веществам (в соответствии с конкретным граничным значением пропускания) пройти сквозь эту стенку.

Размеры перфорационных отверстий могут, в частности, выбираться так, чтобы через них могла проходить вода, но не могло проходить взрывчатое вещество. Специалистам в данной области будет ясно, что подходящие размеры перфорационных отверстий можно определить путем проведения общеизвестных экспериментов.

Гибкая труба может содержать расходные (″жертвенные″) частицы, внедренные в материал матрицы и предназначенные для удаления их из этого материала при подаче взрывчатого вещества под давлением. Например, в пластмассовую мембрану, например изготовленную из термопластичного полиуретана, могут быть внедрены частицы мела. Эти частицы мела могут обладать таким свойством, что под воздействием давления, создаваемого взрывчатым веществом, которым заполняется внутреннее пространство гибкой трубы, они будут вынуждены перемещаться радиально наружу из гибкой трубы, тем самым образуя перфорационные отверстия. В альтернативном варианте частицы могут представлять собой растворимое вещество, например соль. При заполнении взрывчатым веществом гибкой трубы водный растворитель взрывчатого вещества будет растворять соль в пластмассовой матрице, тем самым открывая перфорационные отверстия.

В одном варианте осуществления изобретения расходные частицы (например, частицы соли) могут быть удалены из матрицы, например путем растворения, в процессе закачки взрывчатого вещества в гибкую трубу. Вещество, из которого состоят расходные частицы, может выбираться таким образом, что оно будет вступать в реакцию с взрывчатым веществом и/или флюидом (присутствующим в окружающей среде), например для изменения значения pH и/или инициирования какой-либо химической реакции с этим взрывчатым веществом. Этим может обеспечиваться прецизионное регулирование условий выполняемого взрыва. Например, таким путем можно способствовать образованию пузырьков газа внутри взрывчатого вещества, что может быть желательным при определенных обстоятельствах. Например, такие пузырьки могут быть необходимы для избирательного ослабления силы взрыва. Произве