Погружной электродвигатель с зазором с ферромагнитной жидкостью
Иллюстрации
Показать всеГруппа изобретений направлена на обеспечение возможности уменьшения потерь электроэнергии, подаваемой по длинным силовым кабелям к электрическому погружному насосу во время работы погружного электродвигателя. Система содержит источник питания на поверхности, силовые кабели между погружным насосом и источником питания и предусматривает использование погружного электродвигателя 20. Электродвигатель содержит корпус 28, в котором размещены статор 24 и ротор 22. Ферромагнитная жидкость 30 размещена в корпусе в количестве, достаточном для погружения в нее статора 24 и ротора 22. Упомянутое достаточное количество вычислено относительно омических потерь силовых кабелей для снижения магнитного сопротивления магнитной цепи погружного электродвигателя для уменьшения повышенного напряжения на источнике питания на поверхности до упомянутого напряжения или уменьшения повышенного тока в источнике питания на поверхности до упомянутого тока для работы электрического погружного насоса на упомянутом уровне выходной мощности. Группа изобретений направлена на уменьшение потерь электроэнергии в погружном электродвигателе. 3 н. и 12 з.п. ф-лы, 4 ил.
Реферат
ОБЛАСТЬ ТЕХНИКИ
Настоящая заявка основывается на предварительной заявке на патент США No. 61/141875, поданной 31 декабря 2008.
Настоящее изобретение касается системы и способа уменьшения потребления электроэнергии в электрической погружной насосной системе.
ПРЕДШЕСТВУЮЩИЙ УРОВЕНЬ ТЕХНИКИ
В множестве разных случаев применения, связанных со скважинами, мощность для перекачивания или других рабочих операций обеспечивается погружными электродвигателями. В электрических погружных насосных системах, например, для приведения в действие насосов, которые обеспечивают перемещение флюида в среде скважины используются маслонаполненные двигатели. При заполнении электродвигателей маслом погружные электродвигатели могут быть спроектированы со сравнительно тонкостенными корпусами, которые могут соответствовать скважине и работать под давлением скважины. Однако нежелательным побочным эффектом являются большие вязкостные потери мощности в электродвигателе, при этом подача питания к данному электродвигателю посредством электроэнергии, подаваемой в скважину по длинным электролиниям, является дорогостоящей. Дополнительная электрическая энергия, требуемая для преодоления вязкостного сопротивления, не обеспечивает выполнения никакой полезной работы. Вместо этого дополнительный электрический ток приводит к увеличению количества тепла, рассеиваемого в обмотках электродвигателя и в длинном силовом кабеле. Следовательно, на поверхности требуется более высокое напряжение для преодоления потерь в силовом кабеле. Все данные эффекты приводят к дополнительным рискам, нагрузкам и эксплуатационным затратам, связанным с насосной системой.
Обычные электродвигатели электрических погружных насосных систем, как правило, работают в корпусах, наполненных диэлектрическим маслом, для обеспечения равенства давлений между внутренним пространством электродвигателя и давлением скважинных флюидов снаружи по отношению к электродвигателю. Уравновешивание давления позволяет избежать необходимости в толстостенном резервуаре высокого давления, способном выдерживать большие перепады давлений. Концепция маслонаполненных электродвигателей со сбалансированным давлением была использована Armais Arutunoff в его ранних электрических погружных насосных системах приблизительно в 1916 году. Несмотря на то, что диэлектрическое масло способствует уравновешиванию давления и защите погружного электродвигателя от скважинного флюида, диэлектрическая текучая среда мало способствует улучшению электромагнитных характеристик электродвигателя, поскольку трансформаторное масло имеет приблизительно такие же электромагнитные свойства, как воздух.
К сожалению, подобная характеристика приводит к значительно большему электрическому току, подаваемому в обмотки электродвигателя для преодоления дополнительного вязкостного трения от вращения масла внутри погружного электродвигателя
Дополнительный ток приводит к выделению большего количества тепла и потерям на вихревые токи в электродвигателе. Кроме того, дополнительный ток подается в скважину по длинным силовым кабелям, что приводит к существенным омическим потерям. Конечным результатом являются более высокие эксплуатационные затраты, более низкая надежность и уменьшенная долговечность вследствие большего количества рассеянного тепла и более высоких напряжений, необходимых при подаче достаточного количества энергии к электродвигателю.
Из информационного источника (Фертман В.Е. Магнитные жидкости. Справочное пособие. Минск, Вышэйшая школа, 1988) известно применение магнитной жидкости, помещаемой в пространство зазора в двигателе для охлаждения, герметизации и вращения вокруг железа статора также в целях охлаждения обмотки, снижения радиальных биений и повышения кпд двигателя. Однако в известном решении не учитывается какая-либо связь между количеством ферромагнитной жидкости и омическими потерями силовых кабелей для уменьшения повышенного напряжения на источнике питания на поверхности до заданного напряжения или уменьшения повышенного тока в источнике питания на поверхности до заданного тока для работы электрического погружного насоса на заданном уровне выходной мощности.
Из информационного источника DE 3142819 A1 известно гашение вибрации для многофазных шаговых электродвигателей, которые не имеют коммутатора. Среда, имеющая некоторую удельную вязкость, которая пригодна в качестве жидкого демпфера, размещена непосредственно между ротором и статором шагового двигателя, и вращающийся выходной вал двигателя становится уплотненным с помощью уплотнительного ферромагнитного жидкостного элемента. Ферромагнитная жидкость используется здесь также только лишь в целях обеспечения дополнительной герметизации.
КРАТКОЕ ИЗЛОЖЕНИЕ СУЩЕСТВА ИЗОБРЕТЕНИЯ
Задачей настоящего изобретения является создание технического средства для уменьшения потерь электроэнергии в погружном электродвигателе.
Техническим результатом в соответствии с настоящим изобретением является снижение потерь электроэнергии в погружном электродвигателе.
Согласно одному аспекту настоящего изобретения предоставлена система для уменьшения электроэнергии, подаваемой по длинным силовым кабелям к электрическому погружному насосу, работающему на некотором уровне выходной мощности, содержащая:
источник питания на поверхности для обеспечения электрической мощности для электрического погружного насоса при некотором напряжении и некотором токе для работы электрического погружного насоса на упомянутом уровне выходной мощности;
силовые кабели, подключенные между источником питания на поверхности и электрическим погружным насосом и подверженные омическим потерям мощности по длине силовых кабелей, причем омические потери мощности требуют повышенного напряжения или повышенного тока от источника питания на поверхности для работы электрического погружного насоса на упомянутом уровне выходной мощности;
погружной электродвигатель электрического погружного насоса, содержащий корпус, в котором размещены статор и ротор; и
ферромагнитную жидкость, находящуюся в корпусе в количестве, достаточном для, по существу, погружения в нее статора и ротора, причем упомянутое достаточное количество вычислено относительно омических потерь силовых кабелей для снижения магнитного сопротивления магнитной цепи погружного электродвигателя для уменьшения повышенного напряжения на источнике питания на поверхности до упомянутого напряжения или уменьшения повышенного тока в источнике питания на поверхности до упомянутого тока для работы электрического погружного насоса на упомянутом уровне выходной мощности.
Согласно одному предпочтительному варианту воплощения ротор установлен на валу, который проходит через продольные концы корпуса, статор включает в себя электромагнитные обмотки и пластины из железного сплава, и между статором и ротором имеется зазор; причем ферромагнитная жидкость смешана с диэлектрическим маслом для образования упомянутого достаточного количества ферромагнитной жидкости для заполнения зазора и имеет магнитную проницаемость, достаточную для уменьшения магнитного сопротивления для снижения повышенного напряжения или снижения повышенного тока.
Согласно другому предпочтительному варианту воплощения система дополнительно содержит изолирующее уплотнение для ферромагнитной жидкости, установленное вокруг вала на каждом продольном конце корпуса.
Согласно другому аспекту настоящего изобретения предоставлен способ уменьшения электроэнергии, подаваемой по длинным силовым кабелям к электрическому погружному насосу, работающему на некотором уровне выходной мощности, содержащий этапы, на которых:
определяют электрические омические потери силовых кабелей, обеспечивающих мощность от источника питания на поверхности к электрическому погружному насосу для работы на некотором уровне выходной мощности,
подготавливают электродвигатель электрического погружного насоса с ротором, установленным с возможностью вращения внутри статора так, что между ротором и статором имеется зазор; и
заполняют зазор ферромагнитной жидкостью, обладающей магнитной проницаемостью, достаточной для преодоления электрических омических потерь силовых кабелей для работы электрического погружного насоса на упомянутом уровне выходной мощности.
Согласно одному предпочтительному варианту воплощения на этапе подготовки размещают ротор и статор в корпусе.
Согласно другому предпочтительному варианту воплощения на этапе подготовки устанавливают ротор на валу, который проходит через продольный конец корпуса.
Согласно другому предпочтительному варианту воплощения способ содержит этап, на котором устанавливают изолирующее уплотнение для ферромагнитной жидкости вокруг вала на продольном конце корпуса.
Согласно другому предпочтительному варианту воплощения способ содержит этап, на котором встраивают электродвигатель в электрическую погружную насосную систему.
Согласно другому предпочтительному варианту воплощения способ содержит этап, на котором перемещают электрическую погружную насосную систему вниз в стволе скважины.
Согласно другому предпочтительному варианту воплощения способ содержит этап, на котором подают электроэнергию к электродвигателю посредством силовых кабелей, проходящих через ствол скважины вниз от поверхности.
Согласно другому предпочтительному варианту воплощения способ содержит этап, на котором формируют ферромагнитную жидкость на масляной основе.
Согласно другому аспекту настоящего изобретения предоставлена система электрического погружного насоса, содержащая:
источник питания на поверхности для обеспечения электрической мощности для электрического погружного насоса на некотором заданном уровне выходной мощности электрического погружного насоса;
силовые кабели, подключенные между источником питания на поверхности и электрическим погружным насосом; причем
электрический погружной насос имеет:
погружной электродвигатель для приведения в действие погружного насоса, при этом погружной электродвигатель, по меньшей мере, частично заполнен ферромагнитной жидкостью, обладающей магнитной проницаемостью, достаточной для компенсации омических потерь мощности в силовых кабелях для поддержания упомянутого уровня выходной мощности электрического погружного насоса.
Согласно одному предпочтительному варианту воплощения погружной электродвигатель содержит ротор, установленный с возможностью вращения на валу, при этом ротор расположен внутри статора.
Согласно другому предпочтительному варианту воплощения погружной электродвигатель содержит множество изолирующих уплотнений для ферромагнитной жидкости, расположенных вокруг вала.
Согласно другому предпочтительному варианту воплощения ферромагнитная жидкость сформирована в виде среды на масляной основе.
Техническое средство предусматривает использование погружного электродвигателя, содержащего корпус, в котором размещены статор и ротор. Ферромагнитная жидкость размещена в корпусе в количестве, достаточном для заполнения зазора между ротором и статором. Ферромагнитная жидкость имеет существенно улучшенные свойства, которые способствуют уменьшению количества подаваемой электроэнергии и, таким образом, достижению большего кпд при работе электродвигателя.
КРАТКОЕ ОПИСАНИЕ ЧЕРТЕЖЕЙ
В дальнейшем изобретение поясняется описанием предпочтительных вариантов воплощения со ссылками на сопроводительные чертежи, на которых:
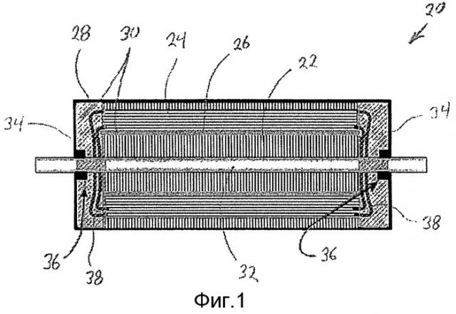
фиг. 1 представляет собой схематическую иллюстрацию одного примера системы с электродвигателем согласно изобретению;
фиг. 2 представляет собой поперечное сечение системы с электродвигателем на фиг. 1, выполненное, по существу, поперек оси электродвигателя, согласно изобретению;
фиг.3 представляет собой схематическую иллюстрацию одного примера скважинного оборудования, в котором используется погружной электродвигатель, согласно изобретению;
фиг.4 представляет собой схему последовательности операций, иллюстрирующую одну методологию подготовки системы с электродвигателем для использования в среде, в которую система будет погружена, согласно изобретению.
ОПИСАНИЕ ПРЕДПОЧТИТЕЛЬНЫХ ВАРИАНТОВ ВОПЛОЩЕНИЯ ИЗОБРЕТЕНИЯ
В нижеприведенном описании приведены многочисленные подробности для обеспечения понимания предпочтительных вариантов осуществления изобретения. Тем не менее, специалистам в данной области техники должно быть понятно, что различные варианты осуществления изобретения могут быть реализованы на практике без данных деталей и что возможны многочисленные отклонения от описанных вариантов осуществления изобретения или модификации описанных вариантов осуществления изобретения.
Предпочтительный вариант осуществления изобретения, по существу, включает в себя систему и способ, связанные с конструкцией и использованием погружных электродвигателей. Система и способ обеспечивают существенное повышение эффективности работы электродвигателя и, таким образом, уменьшение количества электроэнергии, которая должна быть подана к электродвигателю, находящемуся в подземных зонах посредством очень длинного силового кабеля. В некоторых применениях погружной электродвигатель используется в искусственных подъемных системах, таких как электрические погружные насосные системы. Однако электродвигатель также может быть включен в другое оборудование, связанное со скважинами и предназначенное для снабжения энергией множества разных систем и/или компонентов, таких как насосы опробователей пластов, электрогидравлические приводы, приводы для клапанов, управляющих потоком и другие устройства. Данный подход позволяет получить электродвигатель с существенно меньшими эксплуатационными затратами, более продолжительным сроком службы и более высокой надежностью.
В соответствии с одним вариантом осуществления изобретения электродвигатель предназначен для использования внутреннего жидкого магнитного материала, называемого ферромагнитной жидкостью. В зависимости от применения ферромагнитная жидкость может быть использована для заполнения, по существу, всего внутреннего пространства электродвигателя. Например, ферромагнитную жидкость размещают внутри корпуса электродвигателя для заполнения зазоров между вращающимися частями и других зазоров в магнитной цепи электродвигателя. Использование ферромагнитной жидкости позволяет существенно уменьшить магнитное сопротивление электродвигателя. Уменьшенное магнитное сопротивление, в свою очередь, позволяет улучшить эксплуатационные характеристики и повысить надежность электродвигателя за счет значительного уменьшения требуемого тока и электроэнергии, подаваемых для получения необходимого уровня магнитного потока и, следовательно, выходной мощности.
Когда электродвигатель используется, например, в электрических погружных насосных (ESP) системах, специфическая конструкция электродвигателя позволяет существенно уменьшить электрический ток, необходимый для приведения в действие электродвигателя электрической погружной насосной системы с его номинальной частотой вращения и выходной мощностью, по сравнению с обычными электродвигателями электрических погружных насосных систем. В одном варианте осуществления изобретения электродвигателя, пригодного для использования в электрических погружных насосных системах, ферромагнитная жидкость смешана с трансформаторным маслом для улучшения эксплуатационных характеристик магнитной цепи в критическом зазоре между ротором и статором электродвигателя. Данный подход также позволяет существенно уменьшить магнитное сопротивление электродвигателя для получения необходимого магнитного потока при заданной величине тока. Следовательно, имеет место значительное уменьшение величины тока, который должен быть подан в скважину для получения заданного вращающегося магнитного поля.
В применениях электрических погружных насосных систем специфический электродвигатель обеспечивает дополнительное повышение кпд, поскольку меньшее количество энергии должно быть выработано и передано по длинным силовым кабелям, проложенным в скважине до электродвигателя электрической погружной насосной системы. Меньший ток может быть подан к электродвигателю без ухудшения эксплуатационных возможностей насосной системы. Уменьшение тока при заданной выходной мощности позволяет снизить омические потери в силовом кабеле, что также обеспечивает снижение напряжения, необходимого от источника напряжения на поверхности.
В электродвигателях, имеющих конструкцию с ротором и статором, использование ферромагнитной жидкости, включая смеси ферромагнитных жидкостей, в зазоре между ротором и статором в значительной степени способствует уменьшению сопротивления магнитной цепи электродвигателя. В обычных погружных электродвигателях зазор с диэлектрическим маслом очень похож на воздушный зазор между ротором и статором. Зазор с диэлектрическим маслом/воздушный зазор оказывает преобладающее влияние на сопротивление магнитной цепи электродвигателя, в котором магнитный поток B может быть сформирован посредством электрического тока I, поданного с поверхности посредством длинных кабелей электрических погружных насосных систем. Зависимость между током и магнитным потоком может быть выражена так:
NI=B{Lm/µ m +Lg/µ 0 }
где N - число витков, по которым ток протекает через электродвигатель;
L m - эквивалентная длина пути магнитной силовой линии через пластины сердечника электродвигателя и ротор;
L g - длина воздушного зазора, в случае электродвигателя электрической погружной насосной системы - длина зазора с маслом;
µ0 - магнитная проницаемость свободного пространства;
µm - магнитная проницаемость пластин сердечника электродвигателя, выполненных из железного сплава.
Можно сравнить ток, необходимый в электродвигателе электрической погружной насосной системы, заполненном ферромагнитной жидкостью, и ток в стандартном электродвигателе электрической погружной насосной системы, для одной и той же выходной мощности при одинаковом типе электродвигателя электрической погружной насосной системы, в котором используется то же самое число витков и металлических деталей. Следовательно для данных двух электродвигателей значения N, B, L m и L g и µ m одинаковые. Отношение токов, протекающих в электродвигателе с ферромагнитной жидкостью и в стандартном электродвигателе, может быть рассчитано следующим образом:
I ff /I={Lm/(µ m )+Lg/(µ 0 )}/{Lm/µ m +Lg/µ 0 }
µ ff - магнитная проницаемость ферромагнитной жидкости по сравнению с магнитной проницаемостью свободного пространства.
Уменьшение тока можно оценить с приближением первого порядка, предположив, что сопротивление зазора оказывает преобладающее влияние на сопротивление электродвигателя в обоих случаях, следовательно:
I ff /I~1/µ ff
Поскольку магнитная проницаемость µ ff ферромагнитной жидкости, как правило, больше 1, величина тока в электродвигателе, снабженном ферромагнитной жидкостью, составляет часть от величины тока, необходимого в обычном маслонаполненном электродвигателе, имеющем такие же размеры и выполненном из таких же материалов. Точная величина улучшения зависит от конструкции электродвигателя и состава определенной ферромагнитной жидкости.
Ферромагнитные жидкости представляют собой стабильные коллоидные суспензии наноразмерных ферромагнитных частиц или в водных средах, или в средах на масляной основе. Как правило, магнитные частицы представляют собой частицы магнетита (оксида железа), имеющие диаметры, составляющие около 10 нанометров (нм). Данные частицы могут быть получены в виде осадков в простых химических реакциях. Слой поверхностно-активного вещества покрывает поверхность наночастиц и способствует преодолению ван-дер-ваальсовых сил за счет предотвращения слишком сильного сближения частиц и комкования или осаждения под действием силы тяжести. Ферромагнитные жидкости обеспечивают улучшение теплопередачи, служат в качестве хороших смазочных материалов, а также могут быть получены с таким составом, чтобы они могли работать в широком температурном интервале, например до 200ºС. Ферромагнитные жидкости обеспечивают улучшение охлаждения электродвигателя, поскольку магнитные свойства ферромагнитных жидкостей изменяются обратно пропорционально температуре; сильные магнитные поля, создаваемые обмотками электродвигателя (которые выделяют тепло), притягивают холодную ферромагнитную жидкость в большей степени, чем горячую ферромагнитную жидкость, в результате чего обеспечивается отталкивание нагретой ферромагнитной жидкости от обмоток к более холодным поверхностям. Данный эффективный способ охлаждения не требует никакого подвода дополнительной энергии. Ферромагнитные жидкости рассматривались в различных публикациях, таких как R.E. Rosensweig “Ferrohydrodynamics”, Cambridge University Press, Cambridge (1985), и Elmars Blums (1995) “New Applications of Heat and Mass Transfer Processes in Temperature Sensitive Magnetic Fluids” («Новые применения процессов тепло- и массопереноса в термочувствительных магнитных жидкостях»), Brazilian Journal of Physics. Кроме того, некоторые типы ферромагнитных жидкостей поставляются Ferrotec Company, Токио, Япония.
На фиг.1 проиллюстрирован вариант осуществления электродвигателя 20, например погружного электродвигателя. В качестве примера электродвигатель 20 представляет собой погружной электродвигатель, имеющий ротор 22, установленный с возможностью вращения внутри статора 24 так, что зазор 26 образуется вокруг ротора 22 между ротором и статором. Ротор 22 и статор 24 заключены в корпус 28 электродвигателя, и ферромагнитная жидкость 30 размещена в корпусе 28 электродвигателя. Например, ферромагнитная жидкость 30 может быть размещена в зазоре 26 для обеспечения значительного повышения кпд электродвигателя 20. В некоторых вариантах осуществления изобретения внутреннее пространство корпуса 28 электродвигателя, по существу, заполнено ферромагнитной жидкостью с тем, чтобы в основном заполнить зазоры между вращающимися элементами электродвигателя 20 и другие зазоры и пространства в пределах его магнитной цепи. Ферромагнитная жидкость 30 обеспечивает уменьшение магнитного сопротивления электродвигателя 20, улучшение его эксплуатационных характеристик и повышение его надежности за счет существенного уменьшения требуемого тока и электроэнергии, которые должны быть поданы к электродвигателю 20 для получения требуемого уровня магнитного потока и результирующей выходной мощности. В некоторых случаях применения ферромагнитная жидкость 30 может представлять собой смеси ферромагнитных жидкостей, включая ферромагнитную жидкость, смешанную с трансформаторным маслом.
Электродвигатель 20 также может содержать множество других компонентов. Например, ротор 22 может быть установлен на вращающемся валу 32 для обеспечения его вращения внутри статора 24, как дополнительно проиллюстрировано на фиг.2. Вращающийся вал 32 может проходить через один или оба продольных конца 34 корпуса 28 электродвигателя. В проиллюстрированном варианте осуществления изобретения ферромагнитная жидкость 30 изолирована внутри корпуса 28 электродвигателя посредством изолирующих уплотнений 36 для ферромагнитной жидкости, которые могут быть расположены вокруг вала 32 вблизи продольных концов 34 корпуса 28. Кроме того, электродвигатель 20 может содержать обмотки 38 и множество других или альтернативных компонентов в зависимости от оборудования, с которым взаимодействует электродвигатель 20, мощности, потребляемой электродвигателем, среды, в которой работает электродвигатель, и различных соображений, связанных с конструкцией.
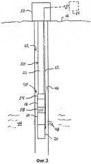
В одном конкретном примере электродвигатель 20 представляет собой погружной электродвигатель, встроенный в электрическую погружную насосную систему 40, подобную проиллюстрированной на фиг.3. Электрическая погружная насосная система 40 может быть сконструирована во множестве разных форм с разными компонентами в зависимости от требований, связанных с окружающей средой и применением. В конкретном варианте применения электрическая погружная насосная система 40 развернута в стволе 42 скважины, пробуренном в геологическом пласте 44. Ствол 42 скважины может быть обсажен обсадной колонной 46, которая перфорирована посредством множества перфорационных отверстий 48 для обеспечения возможности протекания скважинного флюида внутрь обсадной колонны 46.
Электрическую погружную насосную систему 40 развертывают в заданном местоположении в стволе 42 скважины посредством средства 50 перемещения, которое может быть выполнено в виде трубопровода 52, например гибкого трубопровода, или другого подходящего средства перемещения, которое проходит вниз, например, от устья 53 скважины. Насосная система 40 соединена со средством 50 перемещения посредством соединителя 54 и может содержать множество разных компонентов, связанных с перекачиванием. Например, электрическая погружная насосная система 40 может содержать погружной насос 56, соединенный с всасывающим отверстием 58. Всасывающее отверстие 58 обеспечивает возможность всасывания скважинного флюида в погружной насос 56, когда насос 56 приведен в действие посредством погружного электродвигателя 20. Во многих применениях защитное устройство 60 электродвигателя расположено между погружным электродвигателем 20 и насосом 56 для обеспечения возможности выравнивания давления при одновременной изоляции жидкости электродвигателя от скважинного флюида.
В варианте осуществления изобретения, проиллюстрированном на фиг.3, питание подается к погружному электродвигателю 20 посредством силового кабеля 62. Использование ферромагнитной жидкости 30 в погружном электродвигателе 20 обеспечивает возможность протекания существенно меньшего тока по силовому кабелю 62 по сравнению с обычной системой при достижении таких же эксплуатационных характеристик погружного электродвигателя 20 и насосной системы 40. Уменьшение тока, необходимого для достижения заданной выходной мощности электродвигателя 20, также позволяет снизить омические потери в силовом кабеле 62 и уменьшить напряжение, необходимое от источника питания, такого как источник 64 питания, расположенный в некотором месте 66 на поверхности.
На фиг.4 представлена схема последовательности операций, предназначенная для иллюстрации одного подхода для уменьшения потребления электроэнергии во время работы подземного оборудования, например, во время работы электрической погружной насосной системы. В данном примере сначала собирают электродвигатель 20 со статором и ротором, размещенным вдоль внутреннего пространства статора, как проиллюстрировано посредством блока 68. Подходящую ферромагнитную жидкость 30 выбирают в зависимости от конкретного применения, как проиллюстрировано посредством блока 70. Электродвигатель заполняют ферромагнитной жидкостью 30 для обеспечения возможности достижения существенно повышенного кпд во время работы электродвигателя, как проиллюстрировано посредством блока 72.
Заполненный ферромагнитной жидкостью электродвигатель 20 встраивают в заданное скважинное оборудование, как проиллюстрировано посредством блока 74. Электродвигатель 20 может быть встроен в электрическую погружную насосную систему, однако электродвигатель также может быть встроен в насосные системы опробователей пластов, системы электрогидравлических приводов, системы клапанов, управляющих потоком, приводимых в действие электродвигателем, и другие скважинные системы, которые могут приводиться в действие посредством электродвигателя 20. По меньшей мере, в некоторых из данных вариантов осуществления изобретения электродвигатель 20, заполненный ферромагнитной жидкостью, и связанное с ним оборудование размещают в стволе скважины, как проиллюстрировано посредством блока 76. После размещения в стволе скважины сравнительно меньшее количество электроэнергии может быть подано посредством соответствующего силового кабеля или силовых кабелей к электродвигателю 20.
Заполненный ферромагнитной жидкостью электродвигатель 20 обеспечивает значительное увеличение кпд, что предпочтительно в различных окружающих средах. В скважинных применениях специфическая конструкция электродвигателя 20 обеспечивает упрощение передачи электроэнергии и уменьшение затрат на передачу электроэнергии на значительные расстояния в скважине. Тем не менее, электродвигатель 20 может быть использован во множестве разных систем, применений и окружающих сред. Кроме того, могут быть использованы отдельные электродвигатели или комбинации электродвигателей 20. В некоторых электрических погружных насосных системах, например, используется множество электродвигателей 20 для подачи энергии к одному или нескольким погружным насосам. Размер, конфигурация и материалы, используемые для создания электродвигателя 20, могут варьироваться в зависимости от конкретного применения электродвигателя. Ферромагнитная жидкость может удерживаться в электродвигателе 20 посредством изолирующих уплотнений для ферромагнитной жидкости, или другие изолирующие уплотнения или защитные устройства для электродвигателей могут быть использованы для удерживания текучей среды при одновременном обеспечении возможности выравнивания давления.
Несмотря на то, что выше было подробно описано несколько вариантов осуществления изобретения, средние специалисты в данной области техники легко поймут, что возможны множества модификаций без отхода по существу от идей данной заявки. Соответственно, предусмотрено, что подобные модификации включены в объем данного изобретения в том виде, как оно определено в формуле изобретения. Данные варианты осуществления изобретения не предназначены для неоправданного ограничения приведенной здесь формулы изобретения или какой-либо последующей связанной с ней формулы изобретения.
1. Система для уменьшения электроэнергии, подаваемой по длинным силовым кабелям к электрическому погружному насосу, работающему на некотором уровне выходной мощности, содержащая:источник питания на поверхности для обеспечения электрической мощности для электрического погружного насоса при некотором напряжении и некотором токе для работы электрического погружного насоса на упомянутом уровне выходной мощности;силовые кабели, подключенные между источником питания на поверхности и электрическим погружным насосом, и подверженные омическим потерям мощности по длине силовых кабелей, причем омические потери мощности требуют повышенного напряжения или повышенного тока от источника питания на поверхности для работы электрического погружного насоса на упомянутом уровне выходной мощности;погружной электродвигатель электрического погружного насоса, содержащий корпус, в котором размещены статор и ротор; иферромагнитную жидкость, находящуюся в корпусе в количестве, достаточном для, по существу, погружения в нее статора и ротора, причем упомянутое достаточное количество вычислено относительно омических потерь силовых кабелей для снижения магнитного сопротивления магнитной цепи погружного электродвигателя для уменьшения повышенного напряжения на источнике питания на поверхности до упомянутого напряжения или уменьшения повышенного тока в источнике питания на поверхности до упомянутого тока для работы электрического погружного насоса на упомянутом уровне выходной мощности.
2. Система по п.1, в которой ротор установлен на валу, который проходит через продольные концы корпуса, статор включает в себя электромагнитные обмотки и пластины из железного сплава, и между статором и ротором имеется зазор;причем ферромагнитная жидкость смешана с диэлектрическим маслом для образования упомянутого достаточного количества ферромагнитной жидкости для заполнения зазора и имеет магнитную проницаемость, достаточную для уменьшения магнитного сопротивления для снижения повышенного напряжения или снижения повышенного тока.
3. Система по п.2, дополнительно содержащая изолирующее уплотнение для ферромагнитной жидкости, установленное вокруг вала на каждом продольном конце корпуса.
4. Способ уменьшения электроэнергии, подаваемой по длинным силовым кабелям к электрическому погружному насосу, работающему на некотором уровне выходной мощности, содержащий этапы, на которых:определяют электрические омические потери силовых кабелей, обеспечивающих мощность от источника питания на поверхности к электрическому погружному насосу для работы на некотором уровне выходной мощности,подготавливают электродвигатель электрического погружного насоса с ротором, установленным с возможностью вращения внутри статора так, что между ротором и статором имеется зазор; изаполняют зазор ферромагнитной жидкостью, обладающей магнитной проницаемостью, достаточной для преодоления электрических омических потерь силовых кабелей для работы электрического погружного насоса на упомянутом уровне выходной мощности.
5. Способ по п. 4, в котором на этапе подготовки размещают ротор и статор в корпусе.
6. Способ по п.5, в котором на этапе подготовки устанавливают ротор на валу, который проходит через продольный конец корпуса.
7. Способ по п.6, дополнительно содержащий этап, на котором устанавливают изолирующее уплотнение для ферромагнитной жидкости вокруг вала на продольном конце корпуса.
8. Способ по п.4, дополнительно содержащий этап, на котором встраивают электродвигатель в электрическую погружную насосную систему.
9. Способ по п.8, дополнительно содержащий этап, на котором перемещают электрическую погружную насосную систему вниз в стволе скважины.
10. Способ по п.9, дополнительно содержащий этап, на котором подают электроэнергию к электродвигателю посредством силовых кабелей, проходящих через ствол скважины вниз от поверхности.
11. Способ по п.4, дополнительно содержащий этап, на котором формируют ферромагнитную жидкость на масляной основе.
12. Система электрического погружного насоса, содержащая:источник питания на поверхности для обеспечения электрической мощности для электрического погружного насоса на некотором заданном уровне выходной мощности электрического погружного насоса;силовые кабели, подключенные между источником питания на поверхности и электрическим погружным насосом; причемэлектрический погружной насос имеет:погружной электродвигатель для приведения в действие погружного насоса, при этом погружной электродвигатель, по меньшей мере, частично заполнен ферромагнитной жидкостью, обладающей магнитной проницаемостью, достаточной для компенсации омических потерь мощности в силовых кабелях для поддержания упомянутого уровня выходной мощности электрического погружного насоса.
13. Система по п.12, в которой погружной электродвигатель содержит ротор, установленный с возможностью вращения на валу, при этом ротор расположен внутри статора.
14. Система по п.13, в которой погружной электродвигатель содержит множество изолирующих уплотнений для ферромагнитной жидкости, расположенных вокруг вала.
15. Система по п.12, в которой ферромагнитная жидкость сформирована в виде среды на масляной основе.
 
                         
                            


