Циклонный сепаратор для текучих сред

Иллюстрации

Показать все

Изобретение предназначено для сепарации текучих сред. Циклонный сепаратор содержит трубчатый корпус, в котором ускоряется текучая среда, и сообщающие вихревое движение средства, предназначенные для завихрения текучей среды в кольцеобразном пространстве между корпусом и центральным элементом, установленным внутри корпуса, в котором текучая среда низкого давления впрыснута через центральное отверстие центрального элемента. Проход в центральном элементе содержит сообщающие вихревое движение лопасти, вынуждающие текучую среду низкого давления течь в горловину в том же или противоположном направлении относительно вихревого движения текучей среды высокого давления. Способ сепарации смеси текучих сред используется для получения потока очищенного природного газа из потока загрязненного природного газа, содержащего твердые загрязнения, такие как песок, и/или другие частицы грунта, и/или конденсирующиеся загрязнения, такие как вода, конденсаты, углекислый газ, сероводород и/или ртуть. Технический результат: снижение вибрации центрального элемента. 2 н. и 4 з.п. ф-лы, 8 ил.

Реферат

Область техники, к которой относится изобретение

Изобретение относится к циклонным сепараторам текучих сред. Смеси газов могут быть разделены путем расширения и тем самым охлаждения смеси, так что компоненты конденсируются, и дальнейшим отделением газообразных компонентов от сконденсированных жидких компонентов в циклонном сепараторе.

В международной заявке WO 03029739 описан циклонный сепаратор, содержащий горловину, в которой текучая среда может быть ускорена до околозвуковой или сверхзвуковой скорости, и средства, сообщающие вихревое движение, предназначенные для завихрения текучей среды в кольцеобразном пространстве между корпусом и центральным элементом, который расположен, практически, соосно центральной оси корпуса.

Смесь текучих сред, которая движется на высокой скорости в кольцеобразном пространстве между внутренней поверхностью корпуса и внешней поверхностью центрального элемента, может создавать вибрирующие нагрузки на корпус и центральный элемент.

Также желательно придать центральному элементу обтекаемую форму, что может подразумевать такой выбор конструкции центрального элемента, что его передняя часть имеет форму капли, а хвостовая часть - удлиненную тонкую форму. Эта хвостовая часть может быть короткой или длинной и может опираться или не опираться на корпус. Вибрации центрального элемента могут оказывать вредное воздействие на течение текучей среды и эффективность сепарации и могут повредить и даже вызвать сбой в работе центрального элемента.

Цель настоящего изобретения состоит в том, чтобы решить проблему вибрации центрального элемента циклонного сепаратора для текучих сред.

Раскрытие изобретения

Согласно изобретению, предложен циклонный сепаратор для текучих сред, содержащий трубчатый корпус, в котором ускоряется текучая среда, и сообщающие вихревое движение средства, предназначенные для завихрения текучей среды в кольцеобразном пространстве между корпусом и центральным элементом, установленным внутри корпуса, в котором текучая среда низкого давления впрыснута через центральное отверстие центрального элемента, при этом проход в центральном элементе содержит сообщающие вихревое движение лопасти, вынуждающие текучую среду низкого давления течь в горловину или в том же или противоположном направлении относительно вихревого движения текучей среды высокого давления.

В другом варианте осуществления циклонного сепаратора текучих сред, который соответствует изобретению, центральный элемент содержит каплевидную часть с продольной осью симметрии, которая практически соосна с центральной осью трубчатого корпуса, так что между внешней поверхностью центрального элемента и внутренней поверхностью трубчатого корпуса образован кольцеобразный канал для текучей среды, при этом в указанном кольцеобразном канале для текучей среды расположено несколько сообщающих вихревое движение лопастей, расположенных вокруг имеющего больший диаметр среднего участка каплевидной части, и указанный кольцеобразный канал для текучей среды содержит горловину, расположенную вокруг части центрального элемента с меньшим внешним диаметром по сравнению со средней частью центрального элемента.

В следующем варианте осуществления циклонного сепаратора текучих сред, который соответствует изобретению, центральный элемент содержит продольное отверстие с продольной осью, которая практически совпадает с центральной осью, при этом указанное продольное отверстие выполнено в виде прохода, по которому при работе в трубчатый корпус впрыскивают текучую среду низкого давления, при этом текучая среда низкого давления смешивается с текучей средой, текущей по горловине, расположенной в цилиндрической части корпуса, расположенной ниже по потоку относительно горловины, и статическое давление текучей среды низкого давления меньше давления текучей среды, текущей по горловине в цилиндрическую часть корпуса.

В таком случае трубчатый корпус может содержать хвостовую часть, в которой выполнено центральное выпускное отверстие для текучей среды, обогащенной газом, при этом указанное отверстие окружено кольцеобразным выпускным отверстием для текучей среды, обогащенной жидкостью, и в которой между кольцеобразным выпускным отверстием для текучей среды, обогащенной жидкостью, и продольным отверстием в центральном элементе предусмотрен рециркуляционный канал, предназначенный для повторного ввода текучей среды, обогащенной жидкостью, в качестве текучей среды низкого давления из кольцеобразного выпускного отверстия для текучей среды, обогащенной жидкостью, в продольное отверстие в центральном элементе.

Горловина циклонного сепаратора текучих сред, соответствующего изобретению, может быть выполнена так, чтобы при эксплуатации текучую среду ускоряют в горловине до звуковой или сверхзвуковой скорости, и, соответственно, охлаждают так, что один или несколько конденсирующихся компонентов конденсируются в горловине.

Согласно изобретению также предложен способ сепарации смеси текучих сред с помощью заявленного сепаратора, в котором циклонный сепаратор текучих сред содержит текучую среду низкого давления, впрыснутую в центральное отверстие центрального элемента, при этом способ используется для получения потока очищенного природного газа из потока загрязненного природного газа, содержащего твердые загрязнения, такие как песок, и/или другие частицы грунта, и/или конденсирующиеся загрязнения, такие как вода, конденсаты, углекислый газ, сероводород и/или ртуть.

Эти и другие признаки, цели, достоинства и варианты осуществления способа и циклонного сепаратора, которые соответствуют изобретению, описаны в прилагаемой формуле изобретения, реферате и последующем подробном описании предпочтительных вариантов осуществления изобретения, в котором присутствуют ссылки на прилагаемые чертежи.

Краткое описание чертежей

Фиг. 1 - вид, схематически изображающий продольный разрез циклонного сепаратора с центральным элементом, содержащим удлиненную хвостовую часть;

фиг. 2 - трехмерный вид, схематически показывающий в большем масштабе зажимную конструкцию, которая создает осевую нагрузку в расположенном ниже по потоку конце хвостовой части центрального элемента, показанного на фиг. 1;

фиг. 3 - вид, показывающий поперечное сечение разделенной на сегменты трубчатой хвостовой части центрального элемента, показанного на фиг. 1, при этом указанная хвостовая часть заполнена твердыми частицами;

фиг.4 - вид, показывающий продольный разрез разделенной на сегменты трубчатой хвостовой части, показанной на фиг.3;

фиг.5 - вид, показывающий поперечное сечение трубчатой хвостовой части центрального элемента, показанного на фиг.1, при этом указанная хвостовая часть заполнена вязкой жидкостью и расположена вокруг стержня, работающего на растяжение;

фиг.6 - вид, показывающий поперечное сечение снабженной отверстиями удлиненной хвостовой части центрального элемента, показанного на фиг.1;

фиг.7 - вид, показывающий продольный разрез снабженной отверстиями удлиненной хвостовой части, показанной на фиг.6; и

фиг.8 - вид, схематически показывающий продольный разрез циклонного сепаратора текучих сред, в котором центральный элемент содержит центральное отверстие, через которое нагнетают текучую среду низкого давления, что делают для сдерживания вибраций, вызванных текучей средой.

Подробное описание

На приложенных фиг.1-8 в подходящих случаях одинаковые ссылочные позиции используются для обозначения аналогичных компонентов аналогичных вариантов осуществления изображенных циклонных сепараторов текучих сред.

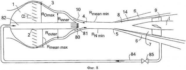
На фиг.1 показан циклонный инерционный сепаратор, который содержит входное устройство для завихрения, включающее в себя обтекаемый каплевидный центральный элемент 1, в котором установлен набор сообщающих вихревое движение лопастей 2 и который расположен соосно центральной оси I сепаратора внутри корпуса 10, причем между центральным элементом 1 и корпусом 10 сепаратора сформирован кольцеобразный путь 3 течения. Сепаратор дополнительно содержит кольцеобразную горловину 4, из которой завихренный поток текучей среды поступает в камеру 5 сепарации расходящейся формы, которая снабжена центральным основным выпускным каналом 7 для газообразных компонентов и внешним вторичным выпускным каналом 6 для компонентов текучей среды, обогащенных конденсирующимися компонентами. Центральный элемент 1 содержит, по существу, цилиндрическую удлиненную хвостовую часть 8, на которой установлен узел из спрямляющих поток лопастей 9. Предпочтительно, чтобы наибольшая ширина или диаметр R0 max центрального элемента 1 был больше наименьшей внутренней ширины или диаметра RN min кольцеобразной горловины 4.

Сообщающие вихревое движение лопасти 2 расположены под углом (α) относительно центральной оси I, что сделано для создания циркуляции (Г) в потоке текучей среды. Предпочтительно, чтобы угол α был равен от 20° до 50°. Далее поток текучей среды принуждают течь в кольцеобразную область 3 течения. Площадь поперечного сечения этой области определяется следующим образом:

A a n n u l u s = π * ( R o u t e r 2 − R i n n e r 2 )

Последние два параметра представляют собой внешний и внутренний радиусы кольца в выбранном месте. Средний радиус кольцеобразного пространства в этом месте определяется следующим образом:

R m e a n = R o u t e r 2 − R i n n e r 2

При максимальном значении среднего радиуса Rmean,max кольцеобразного пространства поток текучей среды течет между узлом из сообщающих вихревое движение лопастей 2 со скоростью (U), при этом указанные лопасти отклоняют направление потока текучей среды пропорционально углу (α) отклонения, так что формируется тангенциальный компонент скорости, равный Uφ=U sin (α), и осевой компонент скорости Ux=U cos (α).

В кольцеобразном пространстве 3, расположенном ниже по потоку от сообщающих вихревое движение лопастей 2, скорость завихренного потока текучей среды увеличивается, при этом средний радиус кольцеобразного пространства постепенно уменьшается от Rmean,max до Rmean,min.

Было замечено, что во время этого увеличения в кольцеобразном пространстве имеют место два процесса:

(1) теплота или теплосодержание в потоке (h) уменьшается на величину Δh=-1/2U2, тем самым конденсируются те компоненты потока, которые первыми достигают фазового равновесия. Это приводит к эмульсионному режиму завихренного потока, который содержит небольшие капли жидкости или твердые частицы.

Тангенциальный компонент Uφ скорости увеличивается обратно пропорционально среднему радиусу кольцеобразного пространства в соответствии со следующим равенством:

U ϕ , к о н е ч н = U ϕ , н а ч а л ь н ( R m e a n , max / R m e a n , min ) .

Это приводит к сильному увеличению центробежного ускорения (ас) частиц текучей среды, которое, в конечном счете, будет иметь следующий порядок:

a c = ( U ϕ , к о н е ч н 2 / R m e a n , max ) .

В трубчатой горловине 4 скорость потока текучей среды дополнительно увеличивается или сохраняется, по существу, постоянной. В первом случае конденсация является непрерывной и масса частиц увеличивается. В последнем случае конденсация останавливается после определенного времени. В обоих случаях центробежное действие относит частицы к внешней периферии области течения, которая прилегает к внутренней стенке корпуса сепаратора и которая называется областью сепарации. Временной период, в течение которого частицы перемещаются к этой внешней периферии области течения, определяет длину трубчатой горловины 4.

Ниже по потоку относительно трубчатой горловины 4 обогащенные конденсирующимися компонентами «влажные» компоненты текучей среды стремятся сосредоточиться рядом с внутренней поверхностью камеры 5 сепарации текучей среды расходящейся формы, а «сухие» газообразные компоненты текучей среды сосредотачиваются у центральной оси I или рядом с ней, после чего обогащенные конденсирующимися компонентами «влажные» компоненты текучей среды выпускают во внешнее выпускное отверстие 6 для влажной текучей среды через одну или несколько прорезей, (микро)пористых частей, при этом «сухие» газообразные компоненты выпускают в центральный выпускной канал 7 для сухой текучей среды.

В расходящемся центральном выпускном канале 7 для сухой текучей среды поток текучей среды дополнительно замедляется, так что оставшаяся кинетическая энергия преобразуется в потенциальную энергию. Расходящийся центральный выпускной канал 7 для сухой текучей среды может быть снабжен узлом из спрямляющих поток лопастей 9, что сделано для восстановления энергии циркуляции.

Газовая смесь слева поступает в сепаратор, показанный на фиг.1. Газ перемещается по центральному элементу 1 по узкому, кольцеобразному проходу для потока, при этом направляющие лопасти 2, расположенные по периметру центрального элемента 1, придают газу угловой момент. Завихренный поток ускоряется вдоль кольцеобразного прохода 4. Завихрение набирает силу во время ускорения и сжатия по направлению к части 4. При ускорении газообразные компоненты с высокой температурой кипения начинают конденсироваться между сообщающими вихревое движение лопастями 2 и горловиной 4, а компоненты с низкой температурой кипения начинают конденсироваться между горловиной 4 и устройством обнаружения завихрения камеры 5 сепарации текучей среды. Получающиеся капли перемещаются к внешнему периметру области течения благодаря действию центробежных сил вихревого движения. В устройстве 5 обнаружения завихрения течение разделяется на влажный поток, расположенный на внешнем периметре течения, и сухой поток, расположенный в центре течения.

Благодаря тому, что центральный элемент 1 продолжается удлиненной хвостовой частью 8, ограничивается резкое увеличение тангенциального момента по направлению к центральной оси завихрения, тем самым исключается нестабильность течения (то есть разрушение завихрения). Наличие центрально расположенного каплевидного центрального элемента 1 с удлиненной хвостовой частью 8 полезно для обеспечения высокой эффективности сепарации сверхзвукового циклонного сепаратора. Высокая эффективность сепарации получается благодаря максимизации момента количества движения. Тем не менее, увеличение момента количества движения ограничено эффектом разрушения завихрения. Последнее сильно уменьшает момент количества движения. Каплевидный центральный элемент 1 позволяет увеличивать момент количества движения в поперечном сечении течения - по сравнению с областью течения без центрального элемента - без возникновения разрушения завихрения. В качестве альтернативы указанное ограничение, обеспечиваемое удлиненной хвостовой концевой частью, может быть получено при закачивании текучей среды низкого давления, через продольное отверстие на конце каплевидного центрального элемента, как показано на фиг.8.

Пусть центральный элемент 1 содержит удлиненную хвостовую концевую часть 8, которая расположена по центру в цилиндрическом проходе, в котором присутствует течение. Бесконечно малое перемещение от начального радиального положения r=(х0,y0) в новое радиальное положение r=(x1,y1) приводит к ускорению течения в части поперечного сечения течения, в которую был перемещен центральный элемент, и приводит к замедлению в части поперечного сечения течения, откуда был перемещен центральный элемент 1. Ясно, что результирующий статический перепад давлений создает подъемную силу, которая по определению перпендикулярна поверхности центрального тела 1. Эта перпендикулярно направленная сила приводит к дальнейшему изгибанию, ведущему в новое радиальное положение r=(x2,y2) и так далее. Величина конечного перемещения является результатом силы течения (то есть силы, направленной перпендикулярно), с одной стороны, и противодействующей ей жесткости на изгиб центрального элемента 1 (то есть силы противодействия на единицу перемещения), с другой стороны. Если жесткость на изгиб центрального элемента 1 достаточно высока, то результирующая сила будет действовать противоположно направлению перемещения, поэтому считается, что конструкция центрального элемента функционирует как система масс и пружин. Если, тем не менее, жесткость на изгиб недостаточно высока, то результирующая сила действует в направлении перемещения и центральный элемент 1 будет перемещаться по направлению к границе корпуса 10 или до разрушения материала из-за нагрузки, превосходящей предел прочности. Жесткость на изгиб зависит только от: моментов инерции (то есть формы центрального элемента), модуля упругости материала (Е) и усилия предварительного растяжения, приложенного к центральному элементу 1.

Силы, приложенные со стороны завихренной текучей среды к центральному элементу 1, могут быть вычислены следующим образом.

Пусть имеется центральный элемент 1, расположенный по центру в цилиндрическом проходе, но при этом отсутствует завихренное течение. Бесконечно малое перемещение от начального радиального и тангенциального положения [r,φ]=(x0,y0) в новое положение [r,φ]=(x1,y1) не только является причиной возникновения силы, перпендикулярной поверхности центрального элемента, но также является причиной возникновения силы, направленной по касательной к поверхности центрального элемента и вызывающей перемещение в направлении по касательной. Это направленное по касательной перемещение центрального элемента не сдерживается его жесткостью на изгиб, - которая работает только в радиальном направлении, - следовательно, приводит к непрерывному вращательному перемещению центрального элемента. Для того чтобы избавиться от увеличивающегося вращательного перемещения, требуется амортизирующий механизм, предназначенный для стабилизации центрального элемента.

Подытоживая сказанное выше, статически стабильный центральный элемент 1 функционирует как система масс и пружин, следовательно, она будет колебаться в гармоническом режиме с частотой свободных колебаний до тех пор, пока течение действует на центральный элемент 1. Соответствующее количество свободной энергии резонанса надо удалить из системы (то есть ее необходимо рассеять). Следовательно, для получения динамической стабильности требуется амортизирующий механизм. В качестве альтернативы можно увеличить жесткость-массу конструкции центрального элемента до точки, когда частота свободных колебаний станет настолько большой, что период колебаний будет мал по сравнению со временем нахождения потока газа. В этом случае течение не будет прикладывать определенную подъемную силу к центральному элементу 1, следовательно, течение не будет приводить к вибрациям центрального элемента 1. Кроме того, подъемные силы, действующие на центральный элемент 1, могут удерживаться с помощью радиально направленных отверстий, выполненных насквозь в поперечном сечении центрального элемента и выравнивающих давление между нижней и верхней сторонами.

Далее описаны подходящие пути поддержки каплевидного центрального элемента 1 с удлиненной хвостовой частью 8, которые направлены на противодействие вибрациям.

В варианте, показанном на фиг.1, сообщающие вихревое движение лопасти 2 и спрямляющие поток лопасти 9 поддерживают центральный элемент 1 с удлиненной хвостовой частью 8 в трубчатом корпусе 10 сепаратора. Так как сообщающие вихревое движение лопасти 2 и спрямляющие поток лопасти 9 установлены в потоке текучей среды, предпочтительно располагать указанные лопасти в областях малой скорости течения (< 200 м/с), что делается для исключения ненужного снижения давления. Треугольники 11, 12 и 13 иллюстрируют, как в сверхзвуковом циклонном сепараторе, показанном на фиг.1, центральный элемент 1 с удлиненной хвостовой частью 8 может быть установлен в трубчатом корпусе 10 сепаратора:

1) неподвижная опора 11, снабженная сообщающими вихревое движение лопастями 2;

2) радиальная поддерживающая опора 12, снабженная разделяющими ребрами 14, расположенными в выпускном канале 7 для сухого газа; и

3) неподвижная опора 13, расположенная в выпускном канале 7 для сухого газа ниже по потоку относительно спрямляющих поток лопастей 9.

Выбирая типы опор и места расположения опор для заданной формы центрального элемента, определяют форму колебания, а также моменты инерции. Количество опорных точек может быть любым, большим или равным 2, в зависимости от конкретной формы сверхзвукового циклонного сепаратора.

Прикладывая к центральному элементу 1 с удлиненной хвостовой частью 8 усилие предварительного растяжения, увеличивают жесткость на изгиб, то есть увеличивают статическую стабильность и, следовательно, увеличивают его частоту свободных колебаний. Ясно, что увеличение частоты свободных колебаний центрального элемента также улучшит фактическое гашение. Поэтому усилие предварительного растяжения может доходить до среднего растягивающего напряжения, равного 5000 МПа в поперечном сечении хвостовой части 8 центрального элемента 1. В случае большого усилия предварительного растяжения, составляющего больше 1000 МПа, предпочтительно исключить резьбовые соединения.

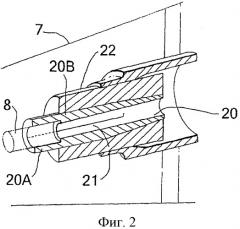
Следовательно, для удерживания положения находящегося ниже по потоку конца 8 центрального элемента 1 и возможно также находящегося выше по потоку конца может быть использована специальная зажимная конструкция, показанная на фиг.2 и воспринимающая растягивающее усилие.

Находящийся ниже по потоку конец хвостовой части 8 центрального элемента 1 зажат в конической трубке 20, в которой могут быть выполнены продольные канавки 21, обеспечивающие наличие конических клиньев 20А, 20В. Когда к центральному элементу 1 приложена осевая нагрузка, эта клинообразная коническая трубка 20 с натягом зажимается между внешней поверхностью хвостовой части 8 центрального элемента 1 и внутренней поверхностью корпуса 22 зажима.

Подходящими материалами для выполнения центрального элемента 1 с удлиненной хвостовой частью 8 являются:

- материалы с большим модулем упругости или Е-модулем, что нужно для получения достаточной жесткости материала;

- материалы с большим пределом текучести, что нужно для того, чтобы большое усилие растяжения увеличивало жесткость;

- ударная нагрузка, что нужно для гарантирования функциональной устойчивости; и

- материалы с высокой сопротивляемостью коррозии и водородной хрупкости, что нужно для исключения водородного растрескивания в низкотемпературном диапазоне, обычно от 0°С до -100°С.

Два типа материалов соответствуют этим требованиям:

1) высококачественные закаленные стальные сплавы; и

2) смолы, армированные однонаправленным углеродным волокном.

Подходящими высококачественными закаленными стальными сплавами (1) являются холоднодеформированные сплавы, содержащие, по меньшей мере, следующие компоненты: хром, никель, молибден и кобальт.

Подходящими смолами (2), армированными однонаправленным углеродным волокном (2), являются высокомодульные углеродные волокна с процентом заполнения, равным, по меньшей мере, 40% по объему. При желании заполнение нанотрубками пустот между волокнами может дополнительно усилить связующее вещество волокна.

Для рассеяния энергии колебаний, вызванных течением, может быть использован гаситель резонанса, предназначенный для исключения динамической нестабильности (то есть увеличения отклонения/перемещения). Вид колебаний определяется первой формой колебаний центрального элемента 1 с удлиненной хвостовой частью 8 и расстояниями между точками 11, 12 и 13 опоры.

Чем больше жесткость на изгиб и ниже удельная масса центрального элемента 1 с удлиненной хвостовой частью 8, тем выше частота свободных колебаний. Для заданного уровня мощности возбуждения, - приложенного к центральному элементу, - большая частота свободных колебаний дает меньшее отклонение центрального элемента. Нижняя граница максимально допустимого отклонения определяется возмущением течения, вызванным отклонением, и обычно составляет от 1% до 5% от наименьшего диаметра центрального элемента. Верхняя граница максимально допустимого отклонения, - обычно составляющая от 5% до 50% от наименьшего диаметра центрального элемента, - определяется пределом текучести материала и моментом инерции формы центрального элемента, так как увеличение отклонения приводит к увеличению напряжения в центральном элементе вблизи точек опоры. В общем можно установить, что чем больше жесткость на изгиб, тем больше уровень напряжения на единицу отклонения, следовательно, меньше верхняя граница допустимого отклонения. Тем не менее, это может быть скомпенсировано, так как чем больше жесткость на изгиб, тем больше частота свободных колебаний и тем меньше фактическое отклонение.

На фиг.3-5 изображены две концепции, которые уменьшают уровни резонанса в центральном элементе 1 с удлиненной хвостовой частью 8, показанном на фиг.1, в границах максимального отклонения:

1) гаситель с частицами, показанный на фиг.3 и 4; и

2) гаситель с вязкой жидкостью, показанный на фиг.5.

Гаситель с частицами, показанный на фиг.3 и 4, содержит одну или несколько цилиндрических полостей 30, расположенных внутри хвостовой части 8 центрального элемента 1, при этом указанные полости 30, по меньшей мере, частично заполнены небольшими частицами 31. Принцип действия гасителя с частицами состоит в том, что большая часть массы частиц перемещается из-за вибрации хвостовой части 8 центрального элемента 1, которую вызывают гидродинамические силы. Большая часть массы частиц должна совершать колебательное движение, не совпадающее по фазе с колебанием хвостовой части 8 самого центрального элемента 1. Следовательно, энергия колебания хвостовой части 8 рассеивается благодаря столкновению частиц и стенки хвостовой части 8 центрального элемента 1 и взаимным столкновениям частиц.

Коэффициент заполнения или упаковки должен составлять, по меньшей мере, 60% (исключая объем пор между частицами, который обычно составляет 25-30% по объему), при этом максимальный коэффициент заполнения равен 95%. Предпочтительный коэффициент заполнения составляет от 75% до 85%. Диаметры частиц могут составлять величину d и могут изменяться от 0,1 до 5 мм, при этом предпочтительно, чтобы диаметры составляли от 0,6 до 2, 2 мм. Тем не менее, лучшей мерой является отношение d/D1 диаметра d частицы и внутреннего диаметра D1 хвостовой части 8, которое может изменяться от 0,04 до 0,25. Предпочтительно, чтобы отношение d/D1 составляло от 0,12 до 0,2. Плотность материала частиц выбирают высокой, по меньшей мере, более 3 кг/м3, предпочтительно более 8 кг/м3. Материал частиц 31 должен быть чрезвычайно износоустойчивым. Подходящим материалом для частиц 31 является карбид вольфрама (WC). Пустоты между частицами 31 могут быть заполнены воздухом или другим подходящим газом. Также возможно для этой цели использовать жидкость, при условии, что ее вязкость не слишком высока.

Предпочтительные размеры цилиндрической полости 30 в хвостовой части 8 составляют от D1min=0,4 D2 и D1max=0,8 D2.

Далее предпочтительно использовать разделение хвостовой части 8 на сегменты в продольном направлении, что делается для недопущения концентрации частиц 31 в одном из внешних концов цилиндрической полости 30, то есть для обеспечения насколько возможно равномерного распределения частиц по длине хвостовой части 8 центрального элемента 1.

На фиг.4 показана хвостовая часть 8, содержащая набор полостей 30A-30D, которые заполнены частицами 31 и которые отделены разделяющими дисками 32A-32D. Предпочтительная длина каждого сегмента 30A-30D составляет от L1=1*D1 и L1=4*D1.

Предпочтительный коэффициент заполнения равен 75-85% по объему частиц 30 на сегмент 30A-30D.

На фиг.5 показана хвостовая часть 8 центрального элемента 1, которая снабжена жидким гасителем. Жидкий гаситель расположен в трубчатой хвостовой части 8 центрального элемента 1, которая заполнена вязкой жидкостью 50 и в которой расположен стержень 51, работающий на растяжение. Кольцеобразный зазор между внешним диаметром стержня, работающего на растяжение, и внутренним диаметром трубчатой хвостовой части центрального элемента 1 заполнен вязкой текучей средой 50.

Стержень 51, работающий на растяжение, подвергается действию большого растягивающего усилия, испытывая среднее растягивающее напряжение от 1000 до 5000 МПа. Хвостовая часть 8 центрального элемента 1 установлена или без предварительного растяжения или с небольшим предварительным растяжением, испытывая среднее растягивающее напряжение от 0 до 500 МПа. Так как частота свободных колебаний стержня 51, работающего на растяжение, гораздо больше частоты свободных колебаний трубчатой хвостовой части 8 самого центрального элемента 1, то относительное перемещение стержня 51 и хвостовой части 8 имеет место, если хвостовая часть 8 подвержена действию течения. В результате вязкая текучая среда 50, присутствующая в зазоре между стержнем 51 и хвостовой частью 8, перемещается попеременным образом. Таким образом, энергия резонанса, накопленная удлиненной хвостовой частью 8 центрального элемента 1, рассеивается силами внутреннего трения в попеременным образом двигающейся текучей средой 50. Вязкая текучая среда 50 может быть любым паром, жидкостью, эмульсией жидкость-жидкость или суспензией твердое-жидкость с динамической вязкостью от 10-4 до 10-2 Па·с при температуре, находящейся в диапазоне от 240 К (-33°С) до 270 К (-3°С). Предпочтительно, чтобы вязкая текучая среда была коррозионно-стойкой и предпочтительно, чтобы ее вязкость лишь немного зависела от температуры. Подходящей вязкой текучей средой является неньютоновская текучая среда. Например, для максимизации гашения в небольшом диапазоне амплитуд, то есть когда относительное перемещение стержня и центрального элемента невелико, может быть применена текучая среда, разжижающаяся при сдвиге.

Материал хвостовой части 8 центрального элемента 1 может быть любым подходящим коррозионно-стойким сплавом (например, AISI316, Inconel, Incolloy, MP35N и так далее) или материал, армированный волокном (смола/сплав). Стержень 51, работающий на растяжение, может быть выполнен из материала с большим пределом прочности на разрыв, например, MP35N, Maraging или эпоксидное связующее вещество, армированное углеродным волокном.

Предпочтительными размерами кольцеобразного зазора между внутренней поверхностью трубчатой хвостовой части 8, внутренний диаметр которой равен D1 и внешний диаметр которой равен D2, стержнем, работающим на растяжение, внешний диаметр которого равен D3, являются следующие:

D1min=0,60*D2; D1max=0,95*D2;

D3min=0,70*D1; D3max=0,95*D1.

На фиг.6 и 7 показан вариант удлиненной хвостовой части 8, причем хвостовая часть снабжена радиальными отверстиями 60, предназначенными для получения, по существу, пористой хвостовой части 8. Отверстия 60 служат для сдерживания действия радиальных сил, вызванных завихренным течением 61 текучей среды, на хвостовую часть 8. Для того чтобы исключить нарушение устойчивости хвостовой части 8 центрального элемента 1, которая подвержена воздействию перпендикулярно направленных сил, вызванных завихренным течением 61, поверхность хвостовой части 8 центрального элемента 1 является частично пористой, что позволяет выровнять отклонения давления вокруг удлиненной хвостовой части 8 центрального элемента 1.

Если удлиненная трубчатая хвостовая часть 8 окружена ограниченным вихревым течением 61, то отклонение хвостовой части 8 в радиальном направлении обычно создает перпендикулярно направленную силу, действующую в том же направлении, что и отклонение. Эта перпендикулярно направленная сила приводит к низкому статическому давлению Plow в вихревом течении 61 текучей среды на верхней поверхности хвостовой части 8, при этом на противоположной нижней поверхности хвостовой части 8 имеет место высокое давление Phigh. Отверстия 60 служат для выравнивания этого перепада давлений Δ(Phigh-Plow) путем соединения противоположных сторон хвостовой части 8 с помощью отверстий, просверленных на всю глубину диаметра.

На фиг.6 показан вариант, в котором три отверстия 60А-С просверлены с постоянным интервалом по окружности, равным 60 градусам, в одной поверхности поперечного сечения хвостовой части 8, что сделано для предотвращения перепадов давления в потоке текучей среды на различных сторонах хвостовой части 8.

Обычно количество (n) отверстий 60 в поперечном сечении хвостовой части 8 может изменяться от минимума, равного 2, до 40 в зависимости от характерного размера отверстия 60. Чем меньше отношение d/D1 между диаметром отверстия 60 и диаметром хвостовой части 8, тем больше может быть n. Предпочтительно, чтобы минимальное значение d/D1 было больше или равно 0,03, а максимальное значение d/D1 было меньше или равно 0,3. Минимальное значение d/D1 определяется риском засорения отверстий мусором или льдом/гидратами, который увеличивается, если значение d становится меньше, а максимум регулируется нарушениями неоднородности поверхности вихревого течения, который становится больше при увеличении d. Когда выбрано отношение d/D1, то сдерживание перпендикулярно направленных сил определяется общим количеством (N) отверстий, которое вычисляется умножением количества (n) отверстий в одном поперечном сечении на количество (i) поперечных сечений с отверстиями вдоль длины. Общая пористость поверхности, определяемая следующим образом:

P=n*(d2/D1)*(i/L),

может находиться в диапазоне от 0,1 до 0,8, хотя предпочтительно, чтобы она составляла от 0,3 до 0,6.

На фиг.8 показан вариант осуществления циклонного сепаратора, соответствующего изобретению, при этом удлиненная хвостовая часть 8 сепараторов, показанных на фиг.1-7, заменена впрыском текучей среды 80 низкого давления через центральное отверстие 82 центрального элемента 1 в середину вихря 81, текущего по трубчатому корпусу 10 сепаратора. Вихревое движение может быть сообщено текучей среде низкого давления до впрыска через центральное отверстие 82. Это вихревое движение может быть однонаправленным или противоположно направленным по отношению к вихревому движению текучей среды высокого давления.

Импульс при входе текучей среды 80 низкого давления будет ниже по сравнению с импульсом потока 81 высокого давления, проходящего вдоль внешней поверхности центрального элемента 1. Большой обмен импульсами происходит в удлиненной трубчатой части 4 сепарации текучей среды устройства, где текучая среда 80 низкого давления продвигается вперед вихревой текучей средой 81 высокого давления. Аналогично центральному элементу 1, тангенциальный импульс вихревой текучей среды 81 высокого давления ограничен наличием потока с малым импульсом в середине трубчатой части 4. При потере тангенциального импульса вихревым потоком 81 текучей среды высокого давления поток 80 текучей среды низкого давления увеличивает тангенциальный импульс. В общем, поток 80 текучей среды низкого давления будет смешиваться с вихревым потоко