Неводные, кислоторастворимые, высокоплотные флюиды для заканчивания скважины и способ
Иллюстрации
Показать всеИзобретение относится к композициям и способам для обработки подземного пласта. Способ включает вытеснение первого флюида на углеводородной основе, присутствующего в необсаженном интервале ствола скважины, вторым флюидом, контактирование второго флюида с кислым природным пластовым флюидом с образованием третьего флюида, где второй флюид содержит водную жидкость, диспергированную как дисперсная фаза в маслянистой жидкости, и поверхностно-активное вещество ПАВ на основе амина, выбранное так, что указанное контактирование протонирует, по меньшей мере, часть ПАВ с образованием третьего флюида, включающего эмульсию, содержащую маслянистую жидкость, обратимо диспергированную как дисперсная фаза в водной жидкости, где по меньшей мере 40 об.% каких-либо твердых веществ, не относящихся к проппанту, присутствующих во флюиде, являются водорастворимыми при рН меньше чем или равном 6,5, а ПАВ имеет указанную структуру. Система для обработки подземной скважины. Флюид, включающий обратимую инвертную эмульсию, содержащую водную жидкость, диспергированную как дисперсная фаза в маслянистой жидкости, и указанное выше ПАВ. Изобретение развито в зависимых пунктах формулы. Технический результат - повышение эффективности разрушения фильтрационной корки. 3 н. и 17 з.п. ф-лы, 6 ил., 3 табл., 2 пр.
Реферат
УРОВЕНЬ ТЕХНИКИ
Обратимый инвертный эмульсионный буровой флюид на основе эмульсии «вода в масле» использовали раньше для бурения буровых скважин, пронизывающих один или более продуктивных пластов сырой нефти. Такие эмульсионные буровые флюиды смазывают буровое долото и снижают общее время, требуемое для бурения буровых скважин. Эти буровые флюиды являются эмульсиями «вода в масле», где вода или водная фаза диспергирована в непрерывной фазе на углеводородной основе или на основе маслянистой жидкости. Такие эмульсии «вода в масле», используемые в качестве буровых флюидов, могут быть стабилизированы неионогенными аминными эмульгаторами и имеют относительно высокое значение рН, которое обеспечивает то, что эмульгатор сохраняет неионный гидрофобный характер во время бурения.
Когда буровая скважина достигла своей полной глубины и смогла пронизать один или более нефтеносных пластов, то затем эмульсионный буровой флюид на основе эмульсии «вода в масле» контактирует с подаваемой извне кислотой, которая протонирует неионогенный аминный эмульгатор, в результате чего он получает катионный заряд, что повышает его растворимость в воде. «Подаваемый извне» означает, что кислоту или другой флюид закачивают или иным образом вводят в ствол скважины с поверхности. Полученный протонированный водорастворимый эмульгатор обладает гидрофильными свойствами и в результате масляная и водная фазы в эмульсии инвертируют, давая эмульсию «масло в воде» в стволе скважины. Эмульсия «масло в воде» обладает более низкой вязкостью, чем эмульсия «вода в масле», из которой она образовалась.
Инвертированная низковязкая эмульсия «масло в воде» смачивает продуктивные пласты, что способствует увеличению добычи нефти. Кроме того, флюид на основе эмульсии «масло в воде» легче удалить промывкой и таким образом облегчить последующие операции.
Кислота, которую используют для контактирования с буровым флюидом на основе эмульсии «вода в масле» и которая вызывает его обращение, обычно находится в форме подаваемого извне водного кислотного раствора, который закачивают в скважину. Однако известно, что такие операции дают эмульсии типа «водный кислотный раствор - сырая нефть» и осадкообразование сырой нефти. Попытки предотвратить образование эмульсий «водный кислотный раствор - сырая нефть» и осадкообразование сырой нефти включают использование анионных сульфонатных поверхностно-активных веществ в кислом растворе. Несмотря на то что анионные сульфонатные поверхностно-активные вещества хорошо работают для предотвращения образования эмульсий «водный кислотный раствор - сырая нефть» и осадкообразования сырой нефти анионные сульфонатные поверхностно-активные вещества могут реагировать с аминным эмульгатором после его протонирования кислотой, что приводит к эмульгатору, который не становится водорастворимым и не обращает эмульсию типа «вода в масле» в эмульсию типа «масло в воде». Это может помешать смачиванию водой и более быстрой очистке, но используемый водный кислотный раствор добавляется к внутренней водной фазе эмульсии, что приводит к повышению вязкости эмульсии. Образованную таким образом высоковязкую эмульсию «вода в масле» может быть трудно удалить и она может вызвать повреждение продуктивных пластов сырой нефти, через которые проходит ствол скважины. Кроме того, намеренное добавление кислоты для обращения эмульсии в стволе скважины приводит к дополнительным затратам и рискам в процессе.
КРАТКОЕ ОПИСАНИЕ НЕСКОЛЬКИХ ВИДОВ ЧЕРТЕЖЕЙ
Варианты воплощения изобретения касающиеся неводного кислоторастворимого, высокоплотного флюида для заканчивания скважины и способ описаны со ссылкой на следующие фигуры. Одни и те же числовые обозначения используются по всем фигурам, где ссылаются на аналогичные элементы и компоненты.
На Фиг. 1 показан ствол скважины после бурения и перед заканчиванием согласно варианту воплощения настоящего изобретения;
На Фиг. 2 показано оборудование колонны для заканчивания скважины, установленное в стволе скважины согласно варианту воплощения настоящего изобретения;
На Фиг. 3 показан обратимый инвертный эмульсионный флюид, заменяющий флюид на углеводородной основе в стволе скважины согласно варианту воплощения настоящего изобретения;
На Фиг. 4 показано установление оборудования колонны для заканчивания в стволе скважины согласно варианту воплощения настоящего изобретения;
На Фиг. 5 показано контактирование обратимого инвертного флюида на основе эмульсии «вода в масле» с природным пластовым флюидом с получением эмульсии «масло в воде» согласно варианту воплощения настоящего изобретения; и
На Фиг. 6 показана блок-схема способа согласно варианту воплощения настоящего изобретения.
СУЩНОСТЬ ИЗОБРЕТЕНИЯ
Настоящая заявка относится в одном варианте воплощения изобретения к способу, включающему вытеснение первого флюида на углеводородной основе, присутствующего в необсаженном интервале ствола скважины, вторым флюидом и контактирование второго флюида с природным пластовым флюидом в течение периода времени, достаточного для образования третьего флюида, по меньшей мере, из части второго флюида, где второй флюид включает обратимую инвертную эмульсию, содержащую водную жидкость, обратимо диспергированную как дисперсная фаза в маслянистой жидкости, и поверхностно-активное вещество на основе амина, где поверхностно-активное вещество на основе амина выбрано так, что контактирование второго флюида с природным пластовым флюидом в течение достаточного периода времени протонирует, по меньшей мере, часть поверхностно-активного вещества на основе амина во втором флюиде с образованием третьего флюида, включающего эмульсию, содержащую маслянистую жидкость, диспергированную как дисперсная фаза в водной жидкости, где по меньшей мере 40 объемн.% твердых веществ, не относящихся к проппанту, которые присутствуют во втором флюиде, являются водорастворимыми при кислом рН или при рН менее чем или равном 6,5.
Настоящая заявка, кроме того, относится в другом варианте воплощения изобретения к флюиду, включающему обратимую инвертную эмульсию, содержащую водную жидкость, обратимо диспергированную как дисперсная фаза в маслянистой жидкости и поверхностно-активное вещество на основе амина, где поверхностно-активное вещество на основе амина выбрано так, что контактирование флюида с природным пластовым флюидом в течение достаточного периода времени протонирует, по меньшей мере, часть поверхностно-активного вещества на основе амина во флюиде с образованием второго флюида, включающего эмульсию, содержащую маслянистую жидкость, диспергированную как дисперсная фаза в водной жидкости, где по меньшей мере 40 объемн.% твердых веществ, не относящихся к проппанту, которые присутствуют во флюиде, являются водорастворимыми при кислом рН или при рН меньше чем или равном 6,5, где поверхностно-активное вещество на основе амина имеет структуру:
где R1 является C8-C24 углеводородным радикалом;
где R2 и R3 являются независимо выбранными из C2-C10 замещенного или незамещенного углеводородного радикала, этиленоксида, пропиленоксида или их комбинации; и
где a+b больше чем или равно 2.
В следующем варианте воплощения изобретения изобретение предлагает флюид для обработки приствольной зоны, включающий обратимую инвертную эмульсию, содержащую водную жидкость, обратимо диспергированную как дисперсная фаза в маслянистой жидкости, и поверхностно-активное вещество на основе амина, где поверхностно-активное вещество на основе амина выбрано так, что контактирование флюида для обработки приствольной зоны с кислотой, подаваемой, по меньшей мере, частично природным пластовым флюидом в течение достаточного периода времени, протонирует, по меньшей мере, часть поверхностно-активного вещества на основе амина с образованием эмульсии, содержащей маслянистую жидкость, диспергированную как дисперсная фаза в водной жидкости, где флюид для обработки приствольной зоны имеет плотность по меньшей мере 1617,3 кг/м3 и по меньшей мере 40 объемн.% каких-либо твердых веществ, присутствующих во флюиде для обработки приствольной зоны, являются водорастворимыми при кислом рН или при рН меньше чем или равном 6,5.
В другом варианте воплощения изобретения предлагается способ, включающий бурение необсаженного интервала ствола скважины с обратимым инвертным эмульсионным буровым флюидом и контактирование инвертного эмульсионного бурового флюида с природным пластовым флюидом в течение периода времени, достаточного, чтобы образовать эмульсию с непрерывной водной фазой, по меньшей мере, из части бурового флюида, где буровой флюид включает инвертную эмульсию, содержащую водную жидкость, обратимо диспергированную как дисперсная фаза в маслянистой жидкости и поверхностно-активное вещество на основе амина, где поверхностно-активное вещество на основе амина выбрано так, что контактирование бурового флюида с природным пластовым флюидом в течение достаточного периода времени протонирует, по меньшей мере, часть поверхностно-активного вещества на основе амина, чтобы образовать эмульсию с непрерывной водной фазой, содержащую маслянистую жидкость, диспергированную как дисперсная фаза в водной жидкости, где буровой флюид имеет плотность по меньшей мере 1617,3 кг/м3 и по меньшей мере 40 объемн.% каких-либо твердых веществ, присутствующих в буровом флюиде, являются водорастворимыми при кислом рН или при рН меньше чем или равном 6,5.
Этот раздел сущности изобретения представлен для того, чтобы ввести ряд концепций, которые будут дополнительно описаны ниже в подробном описании. Этот раздел сущности изобретения не предназначен для идентификации ключевых или значимых особенностей и не предназначен для использования как средство ограничения объема заявляемого предмета изобретения.
ПОДРОБНОЕ ОПИСАНИЕ
Вначале следует заметить, что при разработке какого-либо такого фактического варианта воплощения изобретения принимают много конкретных решений по его реализации, чтобы достичь конкретных целей, поставленных разработчиком, например согласованность с соответствующей системой и связанными с ними ограничениями бизнеса, которые будут меняться от одной реализации к другой. Кроме того, следует понимать, что такая опытно-конструкторская разработка может быть сложной и затратной по времени, но, тем не менее, обычной для специалистов в этой области техники благодаря этому описанию. В дополнение, используемая/раскрытая здесь композиция также может включать некоторые компоненты, отличные от указанных. В разделе сущности изобретения и в этом подробном описании каждое числовое значение следует читать один раз как изменяемое термином «приблизительно» (если оно уже не выражено как измененное) и затем читать снова как не измененное, если иное не указано в контексте. Также в разделе сущности изобретения и в этом подробном описании следует понимать, что концентрационный диапазон, описанный как используемый, подходящий или тому подобное, подразумевает, что любая и каждая концентрация в диапазоне, включая конечные точки, должна считаться как указанная. Например, «диапазон от 1 до 10» следует читать как указывающий на все без исключения возможные числа из непрерывного множества между приблизительно 1 и приблизительно 10. Таким образом, даже если есть конкретные точки данных в диапазоне или даже если нет точек данных в диапазоне, которые четко определены или относятся только к нескольким конкретным числам, то должно быть понятно, что изобретатели осознают и понимают, что любая и все точки данных в диапазоне должны рассматриваться как указанные и что изобретатели обладают знаниями всего диапазона и всех точек в пределах диапазона.
Как указано в описании и формуле изобретения, «около» означает в том числе и «при».
Следующие определения предоставлены для того, чтобы помочь специалистам в данной области техники понять подробное описание.
Термин «обработка» или «обрабатывание» относится к подземной операции, в которой используют флюид с желаемой функцией и/или для желательной цели. Термин «обработка» или «обрабатывание» не подразумевает какое-либо конкретное действие посредством флюида.
Термин «гидравлический разрыв» относится к процессу и способам разрыва геологической формации и создания трещины, то есть скальных пород вокруг ствола скважины путем закачивания флюида под очень высоким давлением (давление выше определяемого давления смыкания трещины), для того чтобы повысить темпы добычи из нефтеносного пласта. Способы гидроразрыва в других отношениях используют обычные техники, известные в этой области техники.
Используемая здесь новая схема нумерации для групп Периодической системы взята из Chemical and Engineering News, 63(5), 27 (1985).
Используемый здесь термин «жидкая композиция» или «жидкая среда» относится к материалу, который является жидкостью в используемых здесь условиях. Например, жидкая среда может относиться к воде и/или органическому растворителю, который находится выше точки замерзания и ниже точки кипения материала при конкретном давлении. Жидкая среда также может относиться к сверхкритическому флюиду.
Термин «твердые вещества, не относящиеся к проппанту», используемый здесь, относится к твердым веществам, которые могут включать различные утяжеляющие агенты, но которые не включают проппанты, которые остаются нерастворимыми для совершения своих функций. Примеры твердых веществ проппанта включают твердые вещества для гравийной набивки, песок и тому подобное.
Стволы скважины, которые ранее пробуривали с получением одного или нескольких продуктивных пластов сырой нефти, используя обратимые буровые флюиды на основе эмульсии «вода в масле», стабилизировали неионогенными эмульгаторами с высоким значением рН. Когда буровая скважина достигает своей полной глубины, эмульсия «вода в масле» контактирует с водным кислотным раствором, чтобы инвертировать эмульсию, то есть для того, чтобы образовать более низковязкую эмульсию «масло в воде», в которой вода смачивает поверхности пласта в стволе скважины и облегчает очистку ствола скважины. В варианте воплощения изобретения способ включает вытеснение первого флюида на углеводородной основе, присутствующего в необсаженном интервале ствола скважины, вторым флюидом и контактирование второго флюида с природным пластовым флюидом в течение периода времени, достаточного, чтобы образовать третий флюид, по меньшей мере, из части второго флюида, где второй флюид включает обратимую инвертную эмульсию, содержащую водную жидкость, диспергированную как дисперсная фаза в маслянистой жидкости, и поверхностно-активное вещество на основе амина, выбранное так, что контактирование второго флюида с природным пластовым флюидом в течение достаточного периода времени протонирует, по меньшей мере, часть поверхностно-активного вещества на основе амина во втором флюиде, чтобы образовать третий флюид, включающий эмульсию, содержащую маслянистую жидкость, диспергированную как дисперсная фаза в водной жидкости, где по меньшей мере 40 объемн.% твердых веществ, не относящихся к проппанту, которые присутствуют во втором флюиде, являются водорастворимыми при кислом рН или при рН меньше чем или равном 6,5.
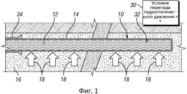
На Фиг. 1 показана скважина с необсаженным стволом 10 после бурения и перед заканчиванием согласно варианту воплощения настоящего изобретения. Как показано на Фиг. 1, необсаженный интервал ствола скважины 10 находится ниже верхнего обсаженного интервала 34 ствола скважины 10, но также может быть расположен в верхнем необсаженном интервале ствола скважины или их комбинации. Скважина с необсаженным стволом 10 содержит флюид на углеводородной основе 12. Фильтрационная корка 14 осаждена на передней поверхности скважины с необсаженным стволом 10. В варианте воплощения изобретения первый флюид на углеводородной основе 12 может циркулировать в течение периода времени, достаточного для удаления, по меньшей мере, части каких-либо обломков выбуренной породы 32, присутствующих в стволе скважины, перед вытеснением первого флюида на углеводородной основе 12.
Пласт 16 включает природный флюид 18, содержащий диоксид углерода, сероводород и/или похожие вещества, так что рН природного флюида меньше чем или равен приблизительно 6,5. Перепад гидростатического давления 30 может быть положительным (представленным значком «+» на фигуре), чтобы предотвратить втекание природного флюида 18 в скважину с необсаженным стволом 10.
В варианте воплощения изобретения, показанном на Фигуре 2, оборудование колонны для заканчивания скважины 20 устанавливают и/или размещают в скважине с необсаженным стволом 10 в присутствии бурового флюида на углеводородной основе 12. В альтернативном варианте воплощения изобретения оборудование колонны для заканчивания скважины 20 может быть установлено и/или размещено в скважине с необсаженным стволом 10 после вытеснения бурового флюида на углеводородной основе 12, также называемого здесь первым флюидом, вторым флюидом, включающим обратимую инвертную эмульсию, содержащую водную жидкость, обратимо диспергированную как дисперсная фаза в маслянистой жидкости, и поверхностно-активное вещество на основе амина, где поверхностно-активное вещество на основе амина выбрано так, что контактирование второго флюида с природным пластовым флюидом 18 в течение достаточного периода времени протонирует, по меньшей мере, часть поверхностно-активного вещества на основе амина во втором флюиде с образованием третьего флюида, включающего, эмульсию, содержащую маслянистую жидкость, диспергированную как дисперсная фаза в водной жидкости, где по меньшей мере 40 объемн.% твердых веществ, не относящихся к проппанту, которые присутствуют во втором флюиде, являются водорастворимыми при кислом рН или при рН меньше чем или равном 6,5. Перепад гидростатического давления 30 может быть положительным (представленным значком «+» на фигуре), чтобы предотвратить втекание природного флюида 18 в скважину с необсаженным стволом 10.
Как показано на Фиг. 3, первый флюид на углеводородной основе 12 заменяют вторым флюидом 22, включающим обратимую инвертную эмульсию, содержащую водную жидкость, обратимо диспергированную как дисперсная фаза в маслянистой жидкости, и поверхностно-активное вещество на основе амина, где поверхностно-активное вещество на основе амина выбрано так, что контактирование второго флюида с природным пластовым флюидом 18 в течение достаточного периода времени приводит к протонированию, по меньшей мере, части поверхностно-активного вещества на основе амина во втором флюиде 22 с образованием третьего флюида (см. Фигуру 5), включающего эмульсию, содержащую маслянистую жидкость, диспергированную как дисперсная фаза в водном флюиде, где по меньшей мере 40 объемн.% твердых веществ, не относящихся к проппанту, которые находятся во втором флюиде 22, являются водорастворимыми при рН меньше чем или равном 6,5. Фильтрационная корка 14 все еще может присутствовать на поверхности пласта 16. В альтернативном варианте воплощения изобретения фильтрационная корка 14 может быть результатом осаждения веществ из второго флюида 22. Перепад гидростатического давления 30 может быть положительным (представленным значком «+» на фигуре), чтобы предотвратить втекание природного флюида 18 в скважину с необсаженным стволом 10.
На Фиг. 4 показана установка оборудования колонны для заканчивания скважины 20 в интервале скважины с необсаженным стволом 10 согласно варианту воплощения изобретения настоящего описания. Как показано на Фиг. 4, пакеры для заканчивания скважины 24 могут быть размещены так, чтобы улавливать второй флюид 22 в кольцевое пространство в контакт с фильтрационной коркой 14. Как также показано на Фиг. 4, пакеры для заканчивания скважины 24 могут быть размещены в пласте с низкой проницаемостью и/или в разделяющем отсеке 26, который может быть в скважине с необсаженным стволом 10. Перепад гидростатического давления 30 может быть нейтральным или сбалансированным (представленным значком «0» на фигуре), чтобы предотвратить втекание природного флюида 18 в скважину с необсаженным стволом 10 и чтобы предотвратить дальнейшее проникновение фильтрационной корки 14 в пласт 16.
На Фиг. 5 показано контактирование второго флюида 22 - инвертной эмульсии «вода в масле» - с кислым природным пластовым флюидом 18 путем диффузии с образованием эмульсии «масло в воде», называемой здесь третьим флюидом 28, в скважине с необсаженным стволом 10 согласно варианту воплощения изобретения настоящего описания. Обращение фазы осуществляется путем диффузии кислых флюидов из пласта (природного пластового флюида 18) во второй флюид 22 с получением эмульсии «масло в воде». При этом третий флюид 28 становится гидрофильным и поэтому облегчает удаление фильтрационной корки 14, формально находящейся на поверхности пласта 16. Затем скважина может быть дополнительно стимулирована действием кислоты или тому подобное. Перепад гидростатического давления 30 может быть нейтральным или сбалансированным до отрицательного (представленным значком «0/-» на фигуре), чтобы позволить природному флюиду 18 втекать в скважину с необсаженным стволом 10 за счет диффузии и/или перепада давления.
Как показано на Фиг. 6 согласно варианту воплощения изобретения, способ (100) может включать вытеснение первого флюида на углеводородной основе, находящегося в необсаженном интервале ствола скважины, вторым флюидом (102). Способ может в некоторых случаях включать циркуляцию первого флюида на углеводородной основе в течение периода времени, достаточного, чтобы удалить, по меньшей мере, часть каких-либо обломков выбуренной породы или фильтрационную корку, присутствующие в стволе скважины перед вытеснением первого флюида на углеводородной основе (101). Способ может в некоторых случаях включать позиционирование узла заканчивания в необсаженном интервале ствола скважины в присутствии первого флюида (105). Способ может дополнительно включать установление пакеров узла заканчивания в стволе скважины, чтобы удерживать второй флюид в кольцевом пространстве в контакте с фильтрационной коркой (106). Способ может дополнительно включать контактирование второго флюида с кислым природным пластовым флюидом в течение периода времени, достаточного, чтобы образовать третий флюид, по меньшей мере, из части второго флюида (103). Способ может в некоторых случаях включать вытеснение третьего флюида флюидом для заканчивания скважины (104) и/или другими средствами для заканчивания скважины, известными в этой области техники.
В варианте воплощения изобретения интервал может быть сначала пробурен с обычным буровым раствором на углеводородной основе, например буровым раствором на углеводородной основе с утяжеляющими частицами барита, буровым раствором на углеводородной основе или тому подобное как первым флюидом. Перед позиционированием нижнего узла заканчивания в скважине обычный первый флюид может быть закачан циркуляцией при скорости, эффективной для удаления, по меньшей мере, части присутствующих обломков выбуренной породы, например, путем вымывания или размыва всей или части фильтрационной корки в зоне заканчивания, например, чтобы обеспечить уменьшение толщины обычной фильтрационной корки от бурового раствора, такое как, например, максимальное утончение, достижимое путем циркуляции бурового раствора. Соответственно, в варианте воплощения изобретения способ может дополнительно включать циркуляцию первого флюида на углеводородной основе в течение периода времени, достаточного, чтобы удалить, по меньшей мере, часть каких либо обломков выбуренной породы и/или фильтрационной корки, присутствующих в стволе скважины перед вытеснением первого флюида на углеводородной основе.
В варианте воплощения изобретения необсаженный интервал ствола скважины может быть расположен ниже верхнего обсаженного интервала ствола скважины, верхнего необсаженного интервала ствола скважины или их комбинации.
В варианте воплощения изобретения обычный первый буровой флюид на углеводородной основе, присутствующий в необсаженном интервале, затем может быть, по меньшей мере, частично заменен вторым флюидом на углеводородной основе, включающим эмульсионную систему «вода в масле», которая может быть обратимой эмульсионной системой «вода в масле», которая ингибирует повторное накопление нерастворимой в кислоте фильтрационной корки и способствует условию, при котором кольцевые пространства, расположенные здесь, содержат пониженное количество нерастворимых в кислоте материалов. В варианте воплощения изобретения второй флюид является совместимым с существующим первым флюидом и/или каким-либо флюидом для заканчивания скважины или другими флюидами, которые добавляют последовательно. В варианте воплощения изобретения второй флюид на углеводородной основе включает меньше чем или равно приблизительно 60 объемн.%, или меньше чем или равно приблизительно 50 объемн.%, или меньше чем или равно приблизительно 40 объемн.%, или меньше чем или равно приблизительно 30 объемн.%, или меньше чем или равно приблизительно 20 объемн.%, или меньше чем или равно приблизительно 10 объемн.%, или меньше чем или равно приблизительно 5 объемн.%, или меньше чем или равно приблизительно 1 объемн.%, или меньше чем или равно приблизительно 0,1 объемн.% твердых веществ, не относящихся к проппанту, которые являются нерастворимыми в кислоте. Для целей этого изобретения твердое вещество, которое является нерастворимым в кислоте, относят к твердому веществу, которое является на 99,9 масс.% или более нерастворимым в кислом водном растворе, или твердое вещество, в котором меньше чем приблизительно 0,1 масс.% является растворимым в кислом водном растворе, имеющем значение рН меньше чем или равное приблизительно 6,5, или имеющем значение рН меньше чем или равное приблизительно 6. В варианте воплощения изобретения второй флюид на углеводородной основе содержит меньше чем или равно приблизительно 0,1 масс.% сульфата бария, также называемого в этой области техники баритом.
В варианте воплощения изобретения, когда ствол скважины обрабатывают так, что первый флюид вытесняется, по меньшей мере, частично вторым флюидом, обработка интервала ствола скважины может включать единственную цель создать кислоторастворимую обратимую эмульсионную неводную систему флюида в необсаженном интервале и в некоторых случаях обычный неводный флюид в другой части ствола скважины, например в обсаженной части ствола скважины, расположенной выше рассматриваемого интервала.
В варианте воплощения изобретения второй флюид, находящийся в рассматриваемом интервале, имеет эквивалентную или повышенную плотность по сравнению с первым флюидом, предварительно вытесненным вторым флюидом и/или химически, и/или физически совместимым с первым флюидом. В варианте воплощения изобретения второй флюид является толерантным к условиям давления и температуры и наличию H2S и/или CO2, присутствующим в стволе скважины ограниченный период времени. В варианте воплощения изобретения меньше чем 50 масс.% второго флюида, присутствующего в стволе скважины, в присутствии природного флюида не инвертирует в эмульсию «масло в воде», также называемую здесь третьим флюидом, в течение периода времени меньше, чем достаточный период времени, требуемый для протонирования, по меньшей мере, части поверхностно-активного вещества на основе амина во второй флюид, чтобы образовать третий флюид, включающий эмульсию, содержащую маслянистую жидкость, обратимо диспергированную как дисперсная фаза в водной жидкости. В варианте воплощения изобретения поверхностно-активное вещество на основе амина, концентрацию поверхностно-активного вещества на основе амина, буферную систему, присутствующие во втором флюиде, или их комбинацию выбирают так, что меньше чем 50 масс.% второго флюида, присутствующего в стволе скважины в контакте с кислым природным флюидом, обращается в эмульсию «масло в воде» в течение 12 часов или меньше, или в течение 24 часов, или меньше или в течение 48 часов или меньше.
В варианте воплощения изобретения узел заканчивания скважины может быть позиционирован в необсаженном интервале в присутствии первого флюида, второго флюида или третьего флюида. В варианте воплощения изобретения узел заканчивания позиционируют в необсаженном интервале в присутствии первого флюида или в присутствии второго флюида, когда второй флюид используется для бурения скважины, а первый флюид не используется. В варианте воплощения изобретения, когда второй флюид будет на месте, затем можно предпринять начальные операции заканчивания скважины, включая установление одного или более первичных нижних изолирующих пакера для заканчивания, которые включают механически изолирующие пакеры и тому подобное, захват или иным образом удержание второго флюида в кольцевом пространстве в контакте с фильтрационной коркой.
В варианте воплощения изобретения способ включает вытеснение первого флюида вторым флюидом, расположенным в горизонтальной скважине или скважине с большим наклоном ствола, которая затем может быть набита гравием согласно способам, известным в этой области техники. В варианте воплощения изобретения первый флюид не используется, а второй флюид согласно настоящему описанию используется для образования фильтрационной корки и также используется в комбинации с флюидом на основе гравийного пакера, где второй флюид включает обратимую инвертную эмульсию, содержащую водную жидкость, диспергированную как дисперсная фаза в маслянистой жидкости и поверхностно-активное вещество на основе амина, где поверхностно-активное вещество на основе амина выбрано так, что контактирование второго флюида с кислым природным пластовым флюидом в течение достаточного периода времени протонирует, по меньшей мере, часть поверхностно-активного вещества на основе амина во втором флюиде, чтобы образовать третий флюид, включающий эмульсию, содержащую маслянистую жидкость, обратимо диспергированную как дисперсная фаза в водном флюиде, где по меньшей мере 40 объемн.% каких-либо твердых вещества, не относящихся к проппанту, присутствующих во втором флюиде, является водорастворимыми при рН меньше чем или равным 6,5.
В варианте воплощения изобретения второй флюид может быть оставлен затем на месте в кольцевом пространстве между каким-либо установленным оборудованием для заканчивания и необсаженной скважиной. В варианте воплощения изобретения второй флюид может быть на месте, когда песочный фильтр или другую форму оборудования для заканчивания позиционируют в стволе скважины перед или после гравийной набивки. В варианте воплощения изобретения гравийную набивку можно выполнять в присутствии второго флюида, используя совместимый флюид-носитель, включающий набивочный материал, известный в этой области техники. В варианте воплощения изобретения гравийную набивку можно выполнять после того, как второй флюид вступит в контакт с природным пластовым флюидом в течение периода времени, достаточного, чтобы образовать третий флюид, по меньшей мере, из части второго флюида, где второй флюид включает обратимую инвертную эмульсию, содержащую водный флюид, обратимо диспергированный как дисперсная фаза в маслянистой жидкости, и поверхностно-активное вещество на основе амина, где поверхностно-активное вещество на основе амина выбрано так, что контактирование второго флюида с природным пластовым флюидом в течение достаточного периода времени протонирует, по меньшей мере, часть поверхностно-активного вещества на основе амина во втором флюиде с образованием третьего флюида, включающего эмульсию, содержащую маслянистую жидкость, обратимо диспергированную как дисперсная фаза в водной жидкости, где по меньшей мере 40 объемн.% твердых веществ, не относящихся к проппанту, которые присутствуют во втором флюиде, являются водорастворимыми при кислом рН или при рН меньше чем или равном 6,5.
В варианте воплощения изобретения, по меньшей мере, часть второго флюида может быть заменена в нижнем кольцевом пространстве при заканчивании скважины другим вторым флюидом, имеющим даже меньшее содержание твердых веществ и/или более низкую плотность, чем начальный второй флюид до или после какой-либо формы оборудования заканчивания, позиционированной в стволе скважины. Такой альтернативный второй флюид можно использовать в зависимости от условий, определяемых получаемым допустимым перепадом давления, создаваемого столбами флюида во время операций закачивания и/или в других ситуациях, как хорошо понимают специалисты в этой области техники.
В варианте воплощения изобретения верхний обсаженный интервал в стволе скважины затем может быть перемещен от обычного неводного флюида к флюиду для заканчивания на основе чистого рассола требуемой плотности, используя техники, хорошо известные специалистам в этой области техники.
В варианте воплощения изобретения после установки оборудования для заканчивания различные интервалы буровой скважины, содержащие второй флюид, затем можно стимулировать путем контактирования второго флюида с природным пластовым флюидом, присутствующим в стволе скважины в течение достаточного периода времени, чтобы образовать третий флюид, включающий эмульсию, содержащую маслянистую жидкость второго флюида, обратимо диспергированную как дисперсная фаза в водной жидкости второго флюида в комбинации с природным флюидом.
Соответственно в варианте воплощения изобретения, по меньшей мере, часть второго флюида подкисляют посредством природного флюида, присутствующего в стволе скважины, чтобы превратить эмульсию «вода в масле» в третий флюид, содержащий эмульсию «масло в воде». В варианте воплощения изобретения третий флюид имеет более низкую вязкость, чем второй флюид. В варианте воплощения изобретения вязкость второго флюида выше, чем вязкость третьего флюида.
В варианте воплощения изобретения второй флюид включает обратимую инвертную эмульсию, содержащую водную жидкость, обратимо диспергированную как дисперсная фаза в маслянистой жидкости, и поверхностно-активное вещество на основе амина, где поверхностно-активное вещество на основе амина выбрано так, что контактирование второго флюида с природным пластовым флюидом, присутствующим в стволе скважины, в течение достаточного периода времени протонирует, по меньшей мере, часть поверхностно-активного вещества на основе амина во втором флюиде, чтобы образовать третий флюид, включающий эмульсию, содержащую маслянистую жидкость, обратимо диспергированную как дисперсная фаза в водном флюиде. В варианте воплощения изобретения по меньшей мере 40 объемн.% твердых веществ, не относящихся к проппанту, которые присутствуют во втором флюиде, являются водорастворимыми при кислом рН или при рН меньше чем или равном 6,5. В варианте воплощения изобретения второй флюид включает буферную систему, выбранную так, что она обладает такой буферной емкостью, что контактирование второго флюида с природным пластовым флюидом, присутствующим в стволе скважины, в течение достаточного периода времени протонирует, по меньшей мере, часть поверхностно-активного вещества на основе амина во втором флюиде с образованием третьего флюида. В варианте воплощения изобретения поверхностно-активное вещество на основе амина является компонентом буферной системы. В варианте воплощения изобретения поверхностно-активное вещество на основе амина является основанием и протонированная форма поверхностно-активного вещества на основе амина является сопряженной кислотой буферной системы. В варианте воплощения изобретения буферная система содержит дополнительную кислоту с соответствующим сопряженным основанием и/или дополнительное основание с соответствующей сопряженной кислотой, отличной от и (в дополнение) выбранного поверхностно-активного вещества на основе амина.
В варианте воплощения изобретения интервал может быть химич
 
                         
                            


