Улучшенные способ управления и устройство для кислородных насосных ячеек датчиков в двигателях внутреннего сгорания или системах дополнительной очистки выхлопного газа таких двигателей
Иллюстрации
Показать всеИзобретение относится к управлению элементами двигателей внутреннего сгорания. Предложены способ и устройство управления кислородной насосной ячейкой датчика в двигателе внутреннего сгорания или в системе дополнительной очистки выхлопного газа такого двигателя. При этом к этапу управления с обратной связью током в насосной ячейке добавлен дополнительный этап управления с упреждением, на котором оценивается ожидаемый ток кислородного насоса на основе характеристик состава выхлопного газа, вычисленных по данным о работе двигателя. В результате достигается улучшение и повышение точности работы кислородной насосной ячейки. 3 н. и 4 з.п. ф-лы, 6 ил.
Реферат
ОБЛАСТЬ ТЕХНИКИ
Настоящее изобретение относится к улучшенным способу управления и устройству для кислородных насосных ячеек датчиков в двигателях внутреннего сгорания или в системах дополнительной очистки выхлопного газа таких двигателей.
УРОВНЯ ТЕХНИКИ
Двигатели внутреннего сгорания, которые должны соответствовать текущему и будущему законодательству о выбросах загрязнителей, используют систему дополнительной очистки и/или систему рециркуляции выхлопного газа (EGR) для того, чтобы уменьшить выброс окислов азота ниже пределов, обусловленных законом. Оба типа систем основываются на твердотельных датчиках кислорода, окислов азота и лямбда-зондах. Эти датчики содержат электрохимические насосы, в которых ионы кислорода прокачиваются через ячейку с твердым электролитом.
Как показано на фиг.1, лямбда-зонд содержит эталонную камеру 1 с воздухом и измерительную камеру 2 с выхлопным газом. Выхлопной газ поступает в измерительную камеру через диффузионную перегородку 3. Насосная ячейка 4, использующая твердый электролит, находится между камерой 2 и стороной выхлопного газа. Кислород электрохимически прокачивается через насосную ячейку 4 из камеры или, в случае бензиновых систем, в камеру.
Ячейка 5 потенциометрического лямбда-зонда находится между эталонной камерой 1 и измерительной камерой 2. Ток насоса насосной ячейки 4, который эквивалентен току ионов кислорода, регулируется таким образом, что электрохимический потенциал 6, полученный на ячейке 5 потенциометрического лямбда-зонда между измерительной камерой и эталонной камерой, поддерживается на постоянном уровне. Обычно этот уровень соответствует близкой к нулю концентрации кислорода в измерительной камере. Ток насоса насосной ячейки сильно коррелирует с концентрацией кислорода в выхлопном газе. Поэтому концентрация кислорода может быть определена по току насоса.
Как показано на фиг.2, структура датчика кислорода подобна структуре лямбда-зонда на фиг.1. Датчик кислорода не поддерживает постоянный электрохимический потенциал 6 между измерительной (2) и эталонной (1) камерами, и, наоборот, электрохимический потенциал 6 постепенно повышается и понижается между двумя четко определенными уровнями за счет постоянных токов насоса в насосной ячейке 4. Концентрация кислорода тогда может быть определена по времени изменения между двумя уровнями потенциала.
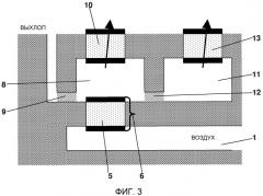
Как показано на фиг.3, датчик окислов азота имеет эталонную камеру 1 с воздухом и, по меньшей мере, две последовательных измерительных камеры со связанными электрохимическими насосами. Выхлопной газ поступает в первую измерительную камеру 8 через диффузионную перегородку 9. Первая насосная ячейка 10 первой измерительной камеры имеет селективность по кислороду так, что окислы азота не оказывают на нее влияния. Используя этот насос, кислород почти полностью удаляется из газа в первой камере 8. Остающийся газ, содержащий небольшие количества кислорода и окислов азота, поступает во вторую измерительную камеру 11 через вторую диффузионную перегородку 12. Вторая насосная ячейка 13 спроектирована таким образом, что ток насоса коррелирует с токам ионов кислорода как из газа, так и от диссоциированных окислов азота. Следовательно, ток насоса второй ячейки 13 сильно коррелирует с концентрацией окислов азота и поэтому может использоваться для их определения.
Все принципы обнаружения, описанные выше, основываются на системе управления с обратными связями при установившемся токе насоса. Во время работы двигателя в неустановившемся режиме содержание кислорода может изменяться очень сильно и очень быстро, что вызывает сильные возмущения в цепях управления и, вследствие этого, нестабильные сигналы с датчика. Как правило, сигналы датчика недостоверны во время работы в неустановившемся режиме, особенно при эксплуатации дизелей, поскольку ожидаемые изменения концентраций кислорода являются очень существенными. В двигателях на бензине и природном газе, которые, как правило, эксплуатируются при постоянном отношении воздух/топливо, такие изменения происходят только во время фаз отсечки подачи топлива.
Поэтому в известных датчиках сниженная надежность во время переходных фаз вынуждает использовать методы нелинейной фильтрации, которые, однако, могут значительно замедлить, а также исказить ответ датчика и, поэтому, полосу пропускания системы управления с обратными связями в двигателях.
СУЩНОСТЬ ИЗОБРЕТЕНИЯ
Поэтому главной задачей настоящего изобретения является обеспечение улучшенных способа управления и устройства для кислородных насосных ячеек датчиков в двигателях внутреннего сгорания или в системах дополнительной очистки выхлопного газа таких двигателей.
Основная идея настоящего изобретения состоит в том, чтобы улучшить контроллер тока кислородного насоса в устройстве датчика с твердым электролитом цепью упреждения с использованием обработки данных двигателя.
Предпочтительно, будут использоваться отношение воздух/топливо, концентрация кислорода, концентрация окислов азота или другие характеристики выхлопного газа, вычисленные по данным о работе двигателя, чтобы оценить ожидаемый ток кислородного насоса.
Предпочтительно будут использоваться физические величины, характеризующие состояние выхлопного газа, такие как температуры, давление, влажность, частота вращения двигателя, количество топлива, пульсации давления для того, чтобы прогнозировать и компенсировать предполагаемые возмущения и отклонения ожидаемого тока кислородного насоса.
Эти и дополнительные задачи были успешно решены посредством создания улучшенных способа управления и устройства для кислородных насосных ячеек датчиков в двигателях внутреннего сгорания или в системах дополнительной очистки выхлопного газа таких двигателей, как описано в приложенной формуле изобретения, которая составляет неотъемлемую часть настоящего описания.
КРАТКОЕ ОПИСАНИЕ ЧЕРТЕЖЕЙ
Изобретение станет полностью понятным из следующего подробного описания, данного посредством простого иллюстрирования и не ограниченного примером, которое должно истолковываться с учетом приложенных чертежей, на которых:
Фиг.1 - схема лямбда-зонда известного типа;
Фиг.2 - схема датчика кислорода известного типа;
Фиг.3 - схема датчика окислов азота известного типа;
Фиг.4 - схема контроллера тока насоса, включающего в себя дополнительную цепь упреждения согласно изобретению;
Фиг.5 - возможная качественная зависимость выходного напряжения потенциометрического лямбда-зонда от величины лямбда; и
Фиг.6 - более подробная схема дополнительной цепи упреждения согласно данному изобретению.
Одинаковые цифры и буквы на чертежах обозначают одинаковые или функционально эквивалентные части.
ПОДРОБНОЕ ОПИСАНИЕ ПРЕДПОЧТИТЕЛЬНЫХ ВАРИАНТОВ ВОПЛОЩЕНИЯ ИЗОБРЕТЕНИЯ
Согласно изобретению, для того, чтобы улучшить эксплуатационные качества контроллера кислородного насоса используются данные о работе двигателя. Это позволяет значительно ускорить ответ датчика, что, в свою очередь, повышает точность датчика во время переходных фаз и, таким образом, позволяет расширить полосу пропускания управляющей цепи.
Приблизительное парциальное давление кислорода и/или отношение воздух/топливо (лямбда) являются критическими величинами как для обычного управления работой двигателя, так и для систем дополнительной очистки выхлопных газов. Поэтому эта информация всегда доступна в блоке управления двигателем. Так как эти значения могут быть непосредственно вычислены из количества введенного топлива и текущего количества кислорода в цилиндре, то они всегда доступны прежде, чем повлияют на датчик, установленный после выпуска цилиндра двигателя. Поэтому эта информация может быть использована для предварительной настройки тока кислородного насоса посредством контроллера упреждения.
При такой установке контроллер с обратной связью должен только выровнять локальные возмущения. Это, в свою очередь, позволяет использовать простые фильтрующие алгоритмы и, к тому же, существенно расширить полосу пропускания управляющей цепи.
Согласно фиг.4, известный контроллер тока насоса содержит определение, посредством сумматора 42, напряжения 41, заданного разностью между выходным напряжением потенциометрической ячейки (5 на фиг.1, 2, 3) и эталонным напряжением 43 от регулируемого источника эталонного напряжения. Последнее задается способом, по существу известным. Например, в лямбда-зондах (λ-зондах) и датчиках окислов азота это напряжение обычно составляет приблизительно 450 мВ, что соответствует стехиометрии, то есть условию, когда не присутствуют ни избыточный кислород, ни избыточные восстановители (CO, H2, HC и т.д.).
На фиг.5, показана типичная качественная зависимость лямбды λ (отношение воздух/топливо) от выходного напряжения в потенциометрическом лямбда-зонде: в центральной точке мы имеем (450 мВ), λ=1 (стехиометрия, когда присутствуют только N2, H2O, CO2 и т.д....); для λ<1 (избыток H2, CO, HC и т.д....) выходное напряжение увеличивается; для λ>1 (избыток O2, окислов азота и т.д....) выходное напряжение уменьшается.
Напряжение 41 подводится к входу контроллера 44 тока насоса для тока в насосной ячейке (4 на фиг.1, 2 и 13 на фиг.3). Устройство контроллера 44 тока насоса известно. В известных контроллерах выдача контроллера 44 тока является единственным составляющим, подаваемым на насосную ячейку. Ток на выходе насосной ячейки (4, 13 на фиг.1, 2, 3) измеряется в измерительном блоке 45 известного типа, как уже описано выше, давая на выходе напряжение, накладываемое на насосную ячейку.
Согласно изобретению, оцениваемый параметр лямбда 46, поступающий от электронного управляющего блока транспортного средства, подводится к входу устройства 47 оценки тока насоса, выдача 48 которого используется в качестве управления с упреждением в дополнение к выдаче контроллера 44 тока насоса, способствуя определению целевого тока и, поэтому, напряжения в насосной ячейке.
Согласно фиг.6, параметр лямбда 46 оценивается известным способом в блоке 61, например, по введенным измеренным значениям массы свежего воздуха, входящего в цилиндр, массы впрыснутого топлива и массы рециркулирующего выхлопного газа на выпусках цилиндров.
Устройство 47 оценки тока насоса содержит блок 62, который оценивает временную задержку при транспортировке от цилиндров до датчика на основе входных данных, а именно, оцененного параметра лямбда 46 отношения воздух/топливо, а также других введенных измеренных значений, уже доступных: массового расхода газа, например, концентраций кислорода и окислов азота, объема трубопровода, давления газа, температуры газа, влажности, частоты вращения двигателя, количества топлива, пульсаций давления. Временная задержка может, например, быть определена по массе газа в объеме между выпуском цилиндра и местоположением датчика и по массовому расходу газа, деля первую величину на вторую. Масса накопленного газа в свою очередь может быть вычислена, используя известное уравнение состояния идеального газа, из давлений, температур и объемов труб.
Кроме того, в устройстве 47 оценки тока насоса есть также доступные таблицы соотношений между параметром лямбда и концентрацией кислорода в анализируемом газе (блок 63), а также между концентрацией кислорода и током насоса (блок 64). Эти соотношения загружены заранее и зависят от конкретной конфигурации системы, то есть как от двигателя, так и от используемого датчика. Примеры этих таблиц могут быть найдены, например, в Bosch Automotive Handbook, 7th edition, ISBN 978-0-470-51936-3.
Принимая во внимание оцениваемую временную задержку при транспортировке, две кривые дают на выходе 48 ожидаемые значения соответствующих параметров в блоках 63 и 64 и, в конечном счете, ток насоса в то время, когда прогнозирование необходимо для устойчивого поддержания уровня напряжения потенциометрической ячейки 5 (см. фиг.4).
Устройство оценки тока насоса является одним и тем же для трех видов датчиков, описанных выше. То, что может отличаться, - это условия, наложенные датчиком, то есть, сопротивление диффузионной перегородки. Количество кислорода, поступающего в камеру, должно откачиваться. Следовательно, установившийся поток молекул кислорода через барьер равняется току ионов кислорода.
Согласно изобретению, улучшенный способ управления включает улучшение контроллера тока кислородного насоса в аппаратуре датчика с твердым электролитом этапом упреждения с использованием обработки данных двигателя.
Предпочтительно, будут использоваться отношение воздух/топливо, концентрация кислорода, концентрация окислов азота или другие характеристики выхлопного газа, вычисленные по данным о работе двигателя, чтобы оценить ожидаемый ток кислородного насоса.
Предпочтительно, будут использоваться физические величины, характеризующие состояние выхлопного газа, такие как температуры, давление, влажность, частота вращения двигателя, количество топлива, пульсации давления для того, чтобы прогнозировать и компенсировать предполагаемые возмущения и отклонения ожидаемого тока кислородного насоса.
Способ настоящего изобретения может быть предпочтительно осуществлен посредством программы для компьютера, содержащей средства программного кода для выполнения одного или более этапов способа, когда эта программа запущена на компьютере. Поэтому подразумевается, что объем охраны расширен на такую программу для компьютера и в дополнение на машиночитаемые средства, имеющие записанную на них информацию, упомянутые машиночитаемые средства содержат средства программного кода для выполнения одного или более этапов способа, когда эта программа запущена на компьютере.
Ряд преимуществ достигнут посредством настоящего изобретения:
- расширена полоса пропускания контроллера тока насоса в датчиках с твердым электролитом, таких как датчики кислорода, лямбда-зонды или датчики окислов азота;
- более быстрый ответ датчиков кислорода, лямбда-зондов или датчиков окислов азота;
- улучшена точность датчиков кислорода, лямбда-зондов или датчиков окислов азота, особенно во время работы в неустановившемся режиме и при отсечке подачи топлива;
- улучшено управление состоянием выхлопного газа (лямбда, концентрация окислов азота);
- улучшено управление системами дополнительной очистки выхлопных газов (например, SCR) и EGR и, таким образом, улучшено управление выбросами.
Множество изменений, модификаций, вариаций и прочего использования и применения рассматриваемого изобретения станут очевидными для специалистов в данной области техники после рассмотрения описания и сопровождающих чертежей, которые раскрывают предпочтительные варианты воплощения изобретения. Все такие изменения, модификации, вариации и прочие использования и применения, которые не отступают от духа и контекста настоящего изобретения, как считают, охватываются этим изобретением.
Дополнительные подробности реализации не будут описаны, поскольку специалист в данной области техники в состоянии осуществить изобретение, начинающееся с изучения вышеупомянутого описания.
1. Способ управления кислородной насосной ячейкой датчика в двигателе внутреннего сгорания или в системе дополнительной очистки выхлопного газа такого двигателя, включающий добавление к этапу управления с обратной связью током в насосной ячейке дополнительного этапа управления с упреждением, оценивающего ожидаемый ток кислородного насоса на основе характеристик выхлопного газа, вычисленных по данным о работе двигателя.
2. Способ по п.1, при котором на упомянутом этапе управления с упреждением:оценивают временную задержку при транспортировке потока газа от цилиндров до датчика на основе характеристик выхлопного газа; ииспользуют временную задержку при транспортировке для того, чтобы идентифицировать ожидаемый ток кислородного насоса в таблицах, дающих соотношения между параметром отношения воздух/топливо (лямбда) и концентрацией кислорода, а также концентрацией кислорода и ожидаемым током кислородного насоса.
3. Способ по п.1 или 2, при котором характеристики выхлопного газа включают вычисленные значения отношения воздух/топливо (лямбда) и доступные значения массового расхода выхлопного газа, включающего в себя одно или более составляющих кислорода и окислов азота, объем трубопровода, давление газа, температуру газа, влажность, частоту вращения двигателя, количество топлива, пульсации давления.
4. Система управления кислородной насосной ячейкой датчика в двигателе внутреннего сгорания или в системе дополнительной очистки выхлопного газа такого двигателя, содержащая:цепь (44) управления с обратной связью током в насосной ячейке,оценивающую цепь (47) управления с упреждением ожидаемого тока кислородного насоса на основе характеристик выхлопного газа, вычисленных по данным о работе двигателя.
5. Система по п.4, в которой оценивающая цепь (47) управления с упреждением содержит:цепь (62) для оценки временной задержки при транспортировке потока газа от цилиндров к датчику на основе характеристик выхлопного газа; ицепь (63, 64), определяющую ожидаемый ток кислородного насоса на основе временной задержки при транспортировке и идентифицирующую ожидаемый ток кислородного насоса в таблицах, дающих соотношения между параметром отношения воздух/топливо (лямбда) и концентрацией кислорода, а также концентрацией кислорода и ожидаемым током кислородного насоса.
6. Система по п.4 или 5, в которой характеристики выхлопного газа включают вычисленные значения отношения воздух/топливо (лямбда) и доступные значения массового расхода выхлопного газа, включающего в себя один или более составляющих кислорода и окислов азота, объем трубопровода, давление газа, температуру газа, влажность, частоту вращения двигателя, количество топлива, пульсации давления.
7. Машиночитаемый носитель с записанной на нем программой, содержащий средства компьютерного программного кода, приспособленные для выполнения этапов способа по любому из пп.1-3, когда программа запущена на компьютере.



