Вращающийся волокнообразующий электрод

Иллюстрации

Показать все

Изобретение касается производства нановолокон электростатическим методом. Вращающийся волокнообразующий электрод, служащий для вынесения полимерного раствора из резервуара полимерного раствора или расплава в электрическое поле для формования волокна в устройствах для производства нановолокон электростатическим методом формования волокна из полимерных растворов или расплавов, имеет продолговатую форму, содержит пару торцевых деталей, которые расположены на несущем средстве и между которыми уложены волокнообразующие элементы, выполненные из струны или проволочного прутка. Согласно изобретению волокнообразующие элементы расположены под наклоном к оси вращения вращающегося волокнообразующего электрода. Данная конструкция направлена на предотвращение разбрызгивания полимерного раствора или расплава в момент выхода волокнообразующего элемента из резервуара.7 з.п. ф-лы, 4 ил.

Реферат

Область техники

Изобретение касается вращающегося волокнообразующего электорода продолговатой формы, служащего для вынесения раствора или расплава полимерной матрицы из резервуара в электрическое поле для формования волокна в устройствах для производства нановолокон электростатическим методом формования волокна из растворов или расплавов полимерных матриц, содержащего пару торцевых деталей, расположенных на несущем средстве, между которыми уложены волокнообразующие струны или проволочные прутки.

Уровень техники

Известные устройства для производства нановолокон из полимерного раствора электростатическим методом формования волокна, содержащие поворотно расположенный волокнообразующий электрод продолговатой формы, показаны, например, в WO 2005/024101 А1. Устройство содержит волокнообразующий электрод в форме цилиндра, который вращается вокруг своей главной оси и нижней частью поверхности смачивается погружением в полимерный раствор. Полимерный раствор выносится по поверхности цилиндра в электрическое поле между волокнообразующим и осадительным электродами, где происходит формование нановолокон, которые уносятся в направлении к осадительному электроду и перед ним укладываются на подкладочный материал. Это устройство способно очень хорошо формовать нановолокна из водных растворов полимеров, но слой нановолокон, нанесенный на подкладочный материал, оказывается неравномерным по всей длине.

Из DE 10136255 В4 известно устройство для производства волокон из раствора или расплава полимера, содержащее по крайней мере два волокнообразующих электродных устройства, каждое из которых состоит из системы параллельных проволочных прутков, расположенных на паре бесконечных лент, опоясывающих два направляющих цилиндра, которые расположены один над другим, при этом нижний направляющий цилиндр частично погружается в раствор или расплав полимера. Между вышеупомянутыми двумя волокнообразующими электродными устройствами направляется текстильный материал, служащий в качестве противоположного электрода, при этом волокнообразующие электродные устройства одновременно наносят слой волокон на лицевую и изнаночную стороны текстильного материала.

Волокнообразующий электрод присоединен к источнику высокого напряжения вместе с противоположным электродом, который представляет собой электропроводную движущуюся ленту. Раствор или расплав полимера выносится при помощи проволочных прутков в электрическое поле между волокнообразующим и противоположным электродом, где из раствора или расплава полимера формуются волокна, которые уносятся к противоположному электроду и укладываются на текстильный материал, уложенный на противоположном электроде. Недостатком этого решения является длительное время нахождения раствора или расплава полимера в электрическом поле, а вследствие этого раствор и расплав полимера сравнительно быстро стареют и, следовательно, их свойства в процессе формования волокна изменяются, что в результате приводит к изменениям параметров сформованных волокон и, в частности, их диаметра. Следующим недостатком является расположение проволочных прутков волокнообразующего электрода на паре бесконечных лент, которые или обладают электропроводностью и весьма отрицательно воздействуют на электрическое поле, создаваемое между волокнообразующим и противоположным электродами, или не обладают электропроводностью, а высокое напряжение подается на проволочные прутки волокнообразующих электродов при помощи скользящих контактов, преимущественно на один - три прутка, что излишне усложняет устройство для формования волокна.

Из WO 2008/028428 известен вращающийся волокнообразующий электрод продолговатой формы, примененный в устройстве для производства нановолокон электростатическим методом формования волокон из полимерных растворов, содержащий пару торцевых деталей, между которыми расположены волокнообразующие проволочные элементы, равномерно расположенные по окружности и параллельные оси вращения вращающегося волокнообразующего электрода. Торцевые детали выполнены из неэлектропроводного материала, а все волокнообразующие элементы соединены электропроводным способом.

Волокнообразующие элементы, расположенные параллельно оси вращения вращающегося волокнообразующего электрода, хотя и обеспечивают хорошие условия формования волокна в электрическом поле, но при их выхождении из раствора или расплава полимера, вследствие поверхностного натяжения раствора или расплава полимера, особенно при длине электродов больше 0,5 м, происходит разбрызгивание раствора или расплава полимера, так как волокнообразующий элемент по всей длине оказывается выше уровня в один момент.

Целью изобретения является сохранение хороших условий для формования волокна и устранение разбрызгивания при выходе волокнообразующего элемента из раствора или расплава полимера.

Сущность изобретения

Цель изобретения достигается вращающимся волокнообразующим электродом согласно изобретению, сущность которого заключается в том, что волокнообразующие струны или проволочные прутки расположены под углом к оси вращения вращающегося волокнообразующего электрода. Вследствие расположения под углом осей волокнообразующая струна или проволочный пруток выходит из раствора или расплава полимерной матрицы постепенно и, следовательно, предотвращается разбрызгивание даже при длинах волокнообразующего электрода свыше 1 м.

Для достижения оптимальных условий при формовании волокна целесообразно, когда концы волокнообразующих струн или проволочных прутков на обеих торцевых деталях расположены на одинаковом расстоянии от оси вращения.

Для обеспечения простой подачи электрического напряжения на волокнообразующие струны или проволочные прутки целесообразно, если торцевые детали выполнены из электропроводного материала. При таком решении достаточно, когда электрическое напряжение подается в раствор или расплав полимерной матрицы, а ввиду электропроводности торцевых деталей, часть которых постоянно находится в растворе или расплаве полимерной матрицы, все волокнообразующие струны или проволочные прутки находятся под напряжением.

Особенно это важно при длине вращающегося волокнообразующего электрода свыше 1 м важно, чтобы все волокнообразующие струны или проволочные прутки были тщательно натянуты. Это достигается при помощи натяжных средств.

Волокнообразующие струны или проволочные прутки вращающегося волокнообразующего электрода могут быть выполнены как одна непрерывная струна или как один непрерывный проволочнй пруток, причем по крайней мере одна торцевая деталь имеет возможность перемещения в направлении оси вращения вращающегося волокнообразующего электрода и соединена с натяжным средством.

Натяжное средство состоит из упора, закрепленного между торцевыми деталями и пружиной сжатия, расположенной между упором и перемещаемой торцевой деталью.

При этом упор в преимущественном исполнении имеет форму и размеры торцевой детали и снабжен отверстиями для прохождения волокнообразующих струн или проволочных прутков к перемещаемой торцевой детали, на которой они закреплены.

Волокнообразующие струны или проволочные прутки на торцевых деталях могут быть расположены отдельно, а каждой волокнообразующей струне или каждому проволочному прутку соответствует по крайней мере одно индивидуальное натяжное средство.

При этом индивидуальное натяжное средство преимущественно состоит из пружины сжатия, расположенной между соответствующей торцевой деталью и концевым элементом, закрепленным на конце волокнокнообразующей струны или проволочного прутка.

Краткое описание чертежей

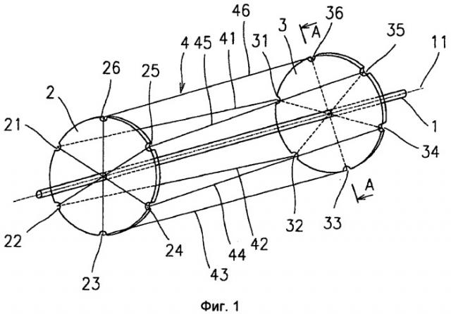
Вращающийся волокнообразующий электрод согласно изобретению схематически изображен на приложенном чертеже, где фиг.1 - аксонометрический вид вращающегося волокнообразующего электрода; фиг. 2 - исполнение с натяжными элементами, состоящими из одной струны или одного проволочного прутка с натяжным средством; фиг. 3 - исполнение с отдельными натяжными элементами и центральным натяжным средством; фиг. 4 - исполнение с отдельными натяжными элементами и индивидуальными натяжными средствами.

Подробное описание изобретения

Вращающийся волокнообразующий электрод содержит несущее средство 1, которое в показанном исполнении состоит из вала, на котором перпендикулярно к его продольной оси 11, одновременно являющейся осью вращения вращающегося волокнообразующего электрода, расположены торцевые детали 2, 3. Несущее средство 1 может быть выполнено, например, как трубка или другое соответствующее тело. В примере исполнения, показанном на фиг.1, обе торцевые детали имеют одинаковый диаметр, а по их окружностям равномерно выполнены пазы 21, 22, 23, 24, 25, 26; 31., 32, 33, 34, 35 и 36, в которых расположена струна или проволочный пруток 4, при этом участки струны или проволочного прутка 4, натянутые между торцевыми деталями 2, 3, образуют волокнообразующие элементы 41, 42, 43, 44, 45, 46. Торцевая деталь 3 повернута по отношению к торцевой детали 2, следовательно, оси волокнообразующих элементов 41, 42, 43, 44, 45, 46 расположены под углом к оси 11 вращения волокнообразующего электрода. Концы

волокнообразующих элементов 41, 42, 43, 44, 45, 46 на обеих торцевых деталях 2, 3 расположены на одинаковом расстоянии от оси вращения. Торцевые детали 2, 3 выполнены из электропроводного материала. В примерах исполнения, показанных на фиг.1 а 2, волокнообразующие элементы 41, 42, 43, 44, 45, 46 образованы одной непрерывной струной или одним непрерывным проволочным прутком 4. В исполнении по фиг.1 струна или проволочный пруток 4 закреплена в неподвижных торцевых деталях 2, 3.

Как показано на фиг.2, одна торцевая деталь 2 закреплена неподвижно, а вторая торцевая деталь 3 расположена на несущем средстве 1 с возможностью осевого перемещения. Между торцевыми деталями 2, 3 на несущем средстве 1 неподвижно установлен упор 5, между которым и перемещаемой торцевой деталью 3 расположена пружина сжатия 6. В показанном примере исполнения упор имеет форму и размеры торцевой детали и снабжен отверстиями или пазами для прохождения струны или проволочного прутка 4, являющихся волокнообразующими элементами 41, 42, 43, 44, 45, 46.

В примерах исполнения, показанных на фиг.3 и 4, волокнообразующие элементы 41, 42, 43, 44, 45, 46 созданы как отдельные струны или проволочные прутки 4. В исполнении по фиг.3 так же, как в исполнении по фиг.2, одна торцевая деталь 2 установлена неподвижно, а вторая торцевая деталь 3 установлена на несущем средстве 1 с возможностью осевого перемещения. Между торцевыми деталями 2, 3 на несущем средстве 1 неподвижно установлен упор 5, между которым и перемещаемой торцевой деталью 3 расположена пружина сжатия 6. В показанном примере исполнения упор имеет форму и размеры торцевой детали и снабжен отверстиями или пазами для прохождения струн или проволочных прутков 4, являющихся волокнообразующими элементами 41, 42, 43, 44, 45, 46. В непоказанном исполнении диаметр упора 5 меньше диаметра торцевой детали 3. В этом исполнении натяжение всех отдельных волокнообразующих элементов 41, 42, 43, 44, 45, 46 осуществляется одной перемещаемой торцевой деталью 3 и пружиной сжатия 6, что требует точного соблюдения одинаковой длины отдельных волокнообразующих элементов 41, 42, 43, 44, 45, 46.

Эта проблема устраняется за счет исполнения, показанного на фиг.4, где каждому волокнообразующему элементу 41, 42, 43, 44, 45, 46 соответствует индивидуальное натяжное средство, состоящее из пружины сжатия 6 и концевого элемента 7, закрепленного на конце волокнообразующего элемента 41, 42, 43, 44, 45, 46.

В случае необходимости изменить длину вращающегося волокнообразующего электрода можно простым способом переставить торцевые детали 2, 3 на несущем средстве 1. Например, можно выполнить в несущем средстве 1 закрепительные отверстия с постоянными шагами. Следовательно, в таком случае пользователь имеет возможность изменять расстояние между торцевыми деталями в зависимости от ширины обрабатываемого материала.

1. Вращающийся волокнообразующий электрод, служащий для вынесения полимерного раствора из резервуара полимерного раствора или расплава в электрическое поле для формования волокна в устройствах для производства нановолокон электростатическим методом формования волокна из полимерных растворов или расплавов и имеющий продолговатую форму, содержащий пару торцевых деталей (2, 3), которые расположены на несущем средстве (1) и между которыми уложены волокнообразующие элементы (41, 42, 43, 44, 45, 46), выполненные из струны или проволочного прутка (4), отличающийся тем, что волокнообразующие элементы (41, 42, 43, 44, 45, 46) расположены под наклоном к оси (11) вращения вращающегося волокнообразующего электрода.

2. Вращающийся волокнообразующий электрод по п.1, отличающийся тем, что концы волокнообразующих элементов (41, 42, 43, 44, 45, 46) на обеих торцевых деталях (2, 3) расположены на одинаковом расстоянии от оси (11) вращения.

3. Вращающийся волокнообразующий электрод по п.2, отличающийся тем, что торцевые детали (2, 3) выполнены из электропроводного материала.

4. Вращающийся волокнообразующий электрод по любому из пп.1-3, отличающийся тем, что волокнообразующие элементы (41, 42, 43, 44, 45, 46) состоят из одной непрерывной струны или одного непрерывного проволочного прутка (4), при этом по крайней мере одна торцевая деталь (3) установлена с возможностью перемещения в направлении оси (11) вращения вращающегося волокнообразующего электрода и соединена с натяжным средством.

5. Вращающийся волокнообразующий электрод по п.4, отличающийся тем, что натяжное средство состоит из упора (5), закрепленного между торцевыми деталями (2, 3) и пружины сжатия (6), расположенной между упором (5) и перемещаемой торцевой деталью (3).

6. Вращающийся волокнообразующий электрод по п.5, отличающийся тем, что упор (5) имеет форму и размеры торцевых деталей (2, 3) и снабжен отверстиями для прохождения волокнообразующих элементов (41, 42, 43, 44, 45, 46) к перемещаемой торцевой детали (3), на которой закреплены волокнообразующие элементы (41, 42, 43, 44, 45, 46).

7. Вращающийся волокнообразующий электрод по любому из пп.1-3, отличающийся тем, что волокнообразующие элементы (41, 42, 43, 44, 45, 46) установлены на торцевых деталях (2, 3) в отдельности, а каждому из них соответствует по крайней мере одно индивидуальное натяжное средство.

8. Вращающийся волокнообразующий электрод по п.7, отличающийся тем, что индивидуальное натяжное средство состоит из пружины сжатия (6), расположенной между соответствующей торцевой деталью (3) и концевым элементом (7), закрепленным на конце волокнообразующего элемента (41, 42, 43, 44, 45, 46).