Способ получения губчатого титана и устройство для его осуществления
Иллюстрации
Показать всеГруппа изобретений относится к получению губчатого титана термическим восстановлением тетрахлорида титана жидким магнием. Устройство содержит реторту с ложным днищем, оснащенную крышкой с центральным патрубком и патрубком для подачи аргона, сливным устройством, и реакционную камеру. Реакционная камера размещена в реторте ниже уровня заливки магния, жестко прикреплена снизу к трубе, установленной в центральном патрубке и снабженной патрубками для подачи тетрахлорида титана и аргона в реакционную камеру. Реакционная камера состоит из верхней цилиндрической части с боковыми прорезями и прикрепленной к ней нижней части, выполненной в виде открытых снизу желобов с суженными книзу стенками и с поперечными перегородками, жестко связывающими стенки желобов. Согласно способу реторту вакуумируют, заполняют аргоном и одновременно прогревают, в реакционную камеру заливают жидкий магний, подают аргон до давления, превышающего давление в реторте на 20-40 гПа, и тетрахлорид титана и проводят восстановление с накоплением губчатого титана на ложном днище при скорости реакции восстановления выше скорости подачи тетрахлорида титана в реакционную камеру с образованием собственных колебаний давления в газовом объеме реакционной камеры. Обеспечивается повышение качества реакционной массы. 2 н. и 2 з.п. ф-лы, 2 ил.
Реферат
Изобретение относится к цветной металлургии, в частности к получению губчатого титана термическим восстановлением тетрахлорида титана магнием.
Известны способ и устройство для получения губчатого титана (см. кн. «Титан» Гармата В.А. и др. М.: «Металлургия», 1983 г., с. 372-373; 407-409). Способ получения губчатого титана включает герметизацию аппарата восстановления, разогрев аппарата, заполнение аппарата аргоном, заливку жидкого магния, подачу жидкого тетрахлорида титана на поверхность магния, периодический слив соли - хлорида магния и последующую термовакуумную очистку губчатого титана от магния и хлорида магния.
Для осуществления данного способа получения губчатого титана известен аппарат восстановления, включающий реторту, герметичную крышку с центральным патрубком для заливки магния и с патрубками для подачи аргона и тетрахлорида титана, ложное днище и сливное устройство.
При подаче жидкого тетрахлорида титана на поверхность жидкого магния в аппарате восстановления, температура которого 800-850°C, тетрахлорид титана, температура кипения которого 136,4°C, испаряется. Областью реакции восстановления на первом этапе является газовый объем внутри аппарата восстановления. В результате реакции в газовом объеме на поверхности жидкого магния образуется расплав, включающий жидкие и твердые продукты реакции промежуточной стадии восстановлении. На втором этапе реакция протекает в расплаве с образованием конечных продуктов реакции восстановления. Зоной реакции является часть газового объема и расплава, прилегающего к поверхности магния в аппарате восстановления.
При температуре 850°C в аппарате восстановления и скорости подачи тетрахлорида титана более 60÷70 грамм в час на квадратный сантиметр поверхности магния давление паров тетрахлорида титана в аппарате начинает расти, это свидетельствует о том, что удельная скорость реакции восстановления тетрахлорида титана магнием при температуре 850°C в аппарате восстановления колеблется между 60 и 70 г/(см2*ч). Удельная скорость реакции восстановления с ростом температуры растет. Температура в зоне реакции в газовом объеме аппарата восстановления достигает 1100-1300°C, в расплаве у поверхности на 100-200°C меньше (см. кн. «Титан» Гармата В.А. и др. М.: Металлургия, 1983, с. 360-363). Скорость процесса восстановления определяется скоростью подачи тетрахлорида титана в аппарат и ограничивается удельной скоростью реакции и площадью свободной поверхности магния.
Продуктом восстановления является губчатый титан, который в современных промышленных аппаратах восстановления накапливается, в основном, в виде компактного блока, лежащего на ложном днище в объеме реторты. Другим продуктом реакции восстановления является жидкий хлорид магния, которого образуется в 10,4 раза больше по объему, чем титана. Губчатый титан, насыщенный жидкими компонентами реакции восстановления, называется титановой реакционной массой. Губчатый титан является твердым скелетом реакционной массы, насыщен, в основном, жидким магнием и жидким хлоридом магния. Когда в составе жидкой компоненты реакционной массы преобладает магний, хлорид магния собирается в капли. Основная часть соли по ходу процесса восстановления отделяется от реакционной массы, накапливается в нижней части аппарата восстановления и периодически сливается из аппарата восстановления. Титановая реакционная масса в промышленных аппаратах восстановления к концу процесса восстановления состоит из 60% титана, 20-30% магния, 10-20% хлорида магния. На следующем переделе, процессе сепарации, из реакционной массы термовакуумной возгонкой удаляют магний и хлорид магния и получают чистый губчатый титан. Основную трудность представляет очистка губчатого титана от соли, поскольку давление насыщенных паров хлорида магния при температурах сепарации меньше, более чем в 14 раз, давления насыщенных паров магния («Металлургия титана» Сергеев В.В и др. М.: «Металлургия», 1971, с. 191).
Недостатком данного способа и устройства является высокое остаточное содержание хлорида магния в реакционной массе, полученной в процессе восстановления, что является причиной низкой производительности последующего, самого затратного передела магниетермии титана - процесса вакуумной сепарации. Опыт промышленной эксплуатации современных большегрузных аппаратов сепарации показывает, что последний период процесса сепарации, удаление остатков хлорида магния, занимает 75% общего времени сепарации.
Известны способ получения губчатого титана восстановлением тетрахлорида титана магнием и устройство для его осуществления (Авт. свид. СССР №1256427, опубл. 22.05.1999, бюлл. №15), по количеству общих признаков принятые за ближайшие аналоги-прототипы.
Предложен способ получения титана магниетермическим восстановлением тетрахлорида титана жидким магнием с периодическим сливом хлористых солей и последующей термовакуумной очисткой, при этом восстановление проводят при сообщении реакционной массе колебательного движения с ускорением 4-100 м/с2.
Для осуществления данного способа предложено устройство для получения титана магниетермическим восстановлением, включающее реторту, крышку, патрубки для подачи аргона и тетрахлорида титана, центральный патрубок для заливки магния, сливное устройство, вибратор и реакционную камеру с отверстиями сбоку и снизу, нижняя часть которой выполнена в виде усеченного конуса, а верхняя часть приварена к трубе.
Зоной реакции восстановления тетрахлорида титана магнием является поверхность жидкого магния и газовая фаза внутри реакционной камеры. Газовая фаза состоит из паров продуктов реакции восстановления. Боковые отверстия реакционной камеры назовем прорезями.
Способ и устройство позволяют повысить качество титановой реакционной массы за счет снижения содержания в нем хлорида магния.
Недостатками данных способа и устройства являются усложнение конструкции и обслуживания аппарата восстановления в сравнении с первым аналогом и низкая скорость процесса восстановления из-за сокращения площади поверхности магния, используемой в реакции восстановления, до площади, ограниченной стенками реакционной камеры. Увеличение размера реакционной камеры для увеличения скорости реакции восстановления приводит к увеличению силы сопротивления жидкого магния колебательному движению реакционной камеры, что вызывает необходимость увеличивать мощность вибратора и прочность реакционной камеры, а также приводит к увеличению вибрационной нагрузки на реторту.
Технический результат направлен на устранение недостатков прототипа, он позволяет облегчить обслуживание устройства для получения губчатого титана термическим восстановлением тетрахлорида титана жидким магнием, повысить производительность процесса восстановления и повысить качество титановой реакционной массы.
Технический результат достигается тем, что заявлено устройство для получения губчатого титана термическим восстановлением тетрахлорида титана жидким магнием, содержащее реторту с ложным днищем, оснащенную крышкой с центральным патрубком и патрубком для подачи аргона, сливным устройством, и установленную в реторте реакционную камеру, в котором реакционная камера размещена в реторте ниже уровня заливки магния, жестко прикреплена снизу к трубе, установленной в центральном патрубке и снабженной патрубками для подачи тетрахлорида титана и аргона в реакционную камеру, и состоит из верхней части, выполненной в виде полого цилиндра с боковыми прорезями, и прикрепленной к ней нижней части, выполненной в виде открытых снизу желобов с суженными книзу стенками и с поперечными перегородками, жестко связывающими стенки желобов, при этом соотношение диаметра реторты D к диаметру цилиндрической части реакционной камеры d равно D:d=1:(0,6÷0,8).
Кроме того, соотношение площади поперечного сечения отверстий S на входе в нижнюю часть реакционной камеры, образованных стенками желобов и перегородками, к площади поперечного сечения отверстий s на выходе в месте наибольшего сужения стенок желобов реакционной камеры равно S:s=1:(0,7÷0,25).
Кроме того, патрубок для подачи аргона в реакционную камеру размещен на трубе, выше патрубка для подачи тетрахлорида титана.
Заявлен способ получения губчатого титана термическим восстановлением тетрахлорида титана жидким магнием в устройстве, характеризующийся тем, что реторту герметизируют, вакуумируют и заполняют аргоном с одновременным его прогревом до 800°C, заливают в него жидкий магний через трубу и реакционную камеру и подают аргон в реакционную камеру до давления, превышающего давление в реторте на 20-40 гПа, прогревают реторту до 820°C, подают в реакционную камеру тетрахлорид титана и проводят восстановление тетрахлорида титана магнием с формированием титановой реакционной массы в реакционной камере и с накоплением губчатого титана на ложном днище, при этом обеспечивают скорость реакции восстановления выше скорости подачи тетрахлорида титана в реакционную камеру с возбуждением собственных колебаний давления газового объема реакционной камеры, оказывающих переменное давление на формирующуюся реакционную массу и вынуждающих колебаться с разными ускорениями жидкие компоненты реакционной массы и твердый губчатый титан внутри реакционной камеры.
Существенное отличие предложенного способа и устройства от прототипа заключается в том, что колебательное воздействие на реакционную массу в реакционной камере осуществляется не за счет внешней силы, создаваемой вибратором, а за счет внутренней силы, созданной колебаниями давления газового объема в реакционной камере. Это упрощает устройство аппарата восстановления и его обслуживание за счет исключения вибратора из конструкции аппарата восстановления.
В технике хорошо известны случаи, когда энергия химической реакции вызывает колебательные, волновые процессы в объеме реакции (см. кн. Б.В. Раушенбах «Вибрационное горение», ФМ, М., 1961; или статью В.Ф. Беккер, Ю.П. Кирин. «Собственные колебания в реакторе восстановления губчатого титана», в сб. 15 Международная научная конференция «Математические методы в технике и технологиях», Тамбов: Издание ТГТУ, 2002, с. 84-86). При подаче тетрахлорида титана в реакционную камеру, погруженную в жидкий магний, основная часть тетрахлорида титана испаряется внутри реакционной камеры. Пары тетрахлорида титана вступают в реакцию с парами магния, в результате образуются твердые и жидкие продукты промежуточной реакции, которые имеют в сотни раз меньший объем на единицу массы, чем газообразные вещества. Химическая реакция уменьшает давление паров реагентов, а испарение реагентов увеличивает давление в газовом объеме реакционной камеры. Если внутри реакционной камеры скорость поступления тетрахлорида титана меньше скорости процесса восстановления, разгон процесса восстановления перемежается спадом этого процесса из-за нехватки реагентов и, как следствие, возникают собственные колебания давления и волновые процессы в газовом объеме внутри реакционной камеры. Собственные колебания давления газового объема вызывают колебания реакционной камеры и реакционной массы внутри камеры. Поскольку волновые процессы в газовом объеме реакционной камеры являются внутренними процессами, следовательно, чем массивней реакционная камера, тем меньше волновое воздействие будет передаваться на окружающее оборудование, что позволяет увеличивать диаметр и массу реакционной камеры, по сравнению с реакционной камерой, колеблющейся под воздействием внешнего вибратора. Для реторты диаметром 1500 мм диаметр реакционной камеры берется (1500*0,6÷1500*0,8)=(900÷1200) мм. Скорость реакции тетрахлорида титана при температуре 850°C в реакционной камере превышает 60*(3,14*452÷3,14*602)=(381704÷678584) г/ч или округленно 380 кг/ч для диаметра реакционной камеры 900 мм и 680 кг/ч для диаметра реакционной камеры 1200 мм, что позволяет подавать тетрахлорид титана со скоростью выше 240 кг/ч. Поскольку в реакционной камере выделяется тепло химической реакции, температура внутри реакционной камеры выше температуры остальной части аппарата восстановления более чем на 30°C, поэтому оценки, проведенные выше, и вывод применимы для случая, когда температура аппарата восстановления поддерживается около 820°C.
В прототипе, при вибрационном воздействии твердой стенки реакционной камеры на титановую реакционную массу, твердые и жидкие компоненты реакционной массы получают одинаковое ускорение. При воздействии газа на границу раздела с реакционной массой жидкие компоненты реакционной массы получают большее ускорение, чем твердый губчатый титан, поскольку жидкие компоненты реакционной массы имеют гибкую границу и оказывают меньшее сопротивление давлению газа. Колебания давления газа в реакционной камере вызывают интенсивное движение жидких компонентов титановой реакционной массы относительно твердого губчатого титана в реакционной камере, что приводит к более полному освобождению реакционной массы от включений хлорида магния, что в конечном итоге повышает качество реакционной массы.
Предложенные способ получения губчатого титана и устройство для его осуществления не нарушают условия единства изобретения, так как служат единому замыслу и полученному техническому результату. Это повышает производительность процесса восстановления титана, качество титановой реакционной массы, упрощает конструкцию и обслуживание аппарата восстановления.
Проведенный заявителем поиск не обнаружил источники информации с признаками, соответствующими отличительным признакам изобретения, что соответствует условию «новизна». Проведение дополнительного поиска для установления соответствия заявленной группы изобретения условию «изобретательский уровень» не выявило источники, совпадающие по техническому результату с отличительными признаками заявленного изобретения, что соответствует условию «изобретательский уровень».
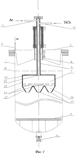
На фиг. 1 показан аппарат восстановления для получения губчатого титана, на фиг. 2 - вид реакционной камеры.
Устройство для получения губчатого титана в виде аппарата восстановления включает реторту 1, ложное днище 2, крышку 3 с центральным патрубком 4 и патрубком 5 для подачи аргона в реторту, сливное устройство 6, реакционную камеру 7, расположенную ниже уровня магния 8, трубу 9, снабженную патрубком 10 для подачи тетрахлорида титана и патрубком 11 для подачи аргона в реакционную камеру. Реакционная камера состоит из полого цилиндра 12 с боковыми прорезями 13, прикрепленного к нему сверху колпаком 14 с отверстием в центре 15, для сопряжения с трубой 9, прикрепленных к нему снизу открытых внизу желобов 16 с сужающимися к низу стенками 17 и с поперечными перегородками 18, жестко связывающими стенки желобов и образующими отверстия 19 в нижней части реакционной камеры
Осуществление способа и работы устройства для получения губчатого титана приведено в примере. Предварительно осуществляют монтаж устройства - аппарата восстановления для получения губчатого титана. Для этого в реторту 1 диаметром 1500 мм устанавливают ложное днище 2, снизу приваривают сливное устройство 6, сверху устанавливают герметично крышку 3. Перед сборкой крышку 3 подготавливают следующим образом: устанавливают на крышку 3 патрубок 5 для подачи аргона в реторту 1, свободным концом пропускают трубу 9 диаметром 108×4 сверху вниз через центральный патрубок 4 крышки 3 и крепят ее к центральному патрубку 4 герметичным и эластичным соединением, сверху на трубу 9 ставят фланцевую заглушку, к нижнему концу трубы 9 приваривают подготовленную реакционную камеру 7. Реакционную камеру 7 готовят следующим образом: книзу подготовленного полого цилиндра 12 диаметром 1000 мм приваривают полосы стальных листов под углом 45 градусов к оси цилиндра 12 так, чтобы листы придавали дну форму открытых снизу желобов 16, стенки 17 желобов скрепляют между собой вертикальными поперечными перегородками 18 в виде листов в форме трапеции, сверху к цилиндру 12 приваривают колпак 14 в виде круглого стального листа с отверстием 15 в центре диаметром 100 мм, через отверстие 15 сопрягают и приваривают реакционную камеру 7 к трубе 9.
Собранное герметично устройство (аппарат восстановления) устанавливают в печь восстановления. С одновременным разогревом реторты 1 через патрубок 5 вакуумируют устройство и задают аргон до давления 1250 гПа. После разогрева реторты 1 до 800°C убирают верхнюю фланцевую заглушку на трубе 9 и через верхний конец трубы 9 заливают жидкий магний в количестве 2300 кг. Указанного количества магния достаточно для того, чтобы реакционная камера 7 была полностью погружена в магний ниже уровня 8 на 50 мм. После этого заглушают верхний фланец трубы 9 и подают внутрь реакционной камеры 7 порцию аргона через патрубок 11 и трубу 9 до давления, превышающего давление под крышкой 2 на 40 гПа. Под давлением аргона внутри реакционной камеры 7 образуется газовый объем. Затем продолжают разогрев реторты 1 до 820°C и при достижении заданной температуры через патрубок 10 начинают подавать тетрахлорид титана в реакционную камеру 7 со скоростью 350 кг/час. Поскольку скорость реакции восстановления для диаметра реакционной камеры 7, равного 1000 мм, составляет не менее 60*3,14*502=471239 г/ч или округлено 470 кг/час и она выше скорости поступления тетрахлорида титана в реакционную камеру 7, внутри реакционной камеры 7 в газовом объеме возникают собственные колебания давления. Возникшие колебания давления в газовом объеме оказывают переменное давление на титановую реакционную массу, образующуюся в реакционной камере 7. Губчатый титан в реакционной массе насыщен жидким магнием и жидким хлоридом магния. Магний смачивает титан и обволакивает кристаллы титана, хлорид магния не смачивает титан в присутствии магния и собирается в капли. От колебательного воздействия и собственного веса реакционная масса опускается вниз, попадает в суживающиеся отверстия реакционной камеры 7, уплотняется, капли хлорида магния, из-за интенсивного перемещения относительно твердого губчатого титана, объединяются, растут и покидают поры губчатого титана. Далее очищенная от хлорида магния и уплотненная реакционная масса падает на ложное днище 2, хлорид магния покидает реакционную камеру 7 через прорези 13. В дальнейшем хлорид магния не может внедриться в уплотненную титановую реакционную массу. Губчатый титан в составе обессоленной реакционной массы накапливается на ложном днище 2 реторты 1. Хлорид магния опускается под ложное днище 2, где его периодически сливают через сливное устройство 6. При накоплении губчатого титана в реторте 1 до реакционной камеры 7 прерывают процесс восстановления, аппарат восстановления направляют на монтаж аппарата сепарации и далее на процесс вакуумной сепарации для термовакуумной очистки губчатого титана.
Предложенные способ получения губчатого титана и устройство для его осуществления позволяют упростить конструкцию и облегчить обслуживание аппарата восстановления, повысить производительность процесса восстановления титана и качество реакционной массы.
1. Устройство для получения губчатого титана термическим восстановлением тетрахлорида титана жидким магнием, содержащее реторту с ложным днищем, оснащенную крышкой с центральным патрубком и патрубком для подачи аргона, сливным устройством, и установленную в реторте реакционную камеру, отличающееся тем, что реакционная камера размещена в реторте ниже уровня заливки магния, жестко прикреплена снизу к трубе, установленной в центральном патрубке и снабженной патрубками для подачи тетрахлорида титана и аргона в реакционную камеру, и состоит из верхней цилиндрической части с боковыми прорезями и прикрепленной к ней нижней части, выполненной в виде открытых снизу желобов с суженными книзу стенками и с поперечными перегородками, жестко связывающими стенки желобов, при этом соотношение диаметра реторты D к диаметру цилиндрической части реакционной камеры d равно D:d=1:(0,6÷0,8).
2. Устройство по п. 1, отличающееся тем, что соотношение площади поперечного сечения отверстий S на входе в нижнюю часть реакционной камеры, образованных стенками желобов и перегородками, к площади поперечного сечения отверстий s на выходе в месте наибольшего сужения стенок желобов реакционной камеры равно S:s=1:(0,7÷0,25).
3. Устройство по п. 1, отличающееся тем, что патрубок для подачи аргона в реакционную камеру размещен на трубе выше патрубка для подачи тетрахлорида титана.
4. Способ получения губчатого титана термическим восстановлением тетрахлорида титана жидким магнием с использованием устройства по п. 1, характеризующийся тем, что реторту вакуумируют и заполняют аргоном с одновременным ее прогревом до 800°C, заливают жидкий магний через трубу в реакционную камеру и подают аргон в реакционную камеру до давления, превышающего давление в реторте на 20-40 гПа, прогревают реторту до 820°C, подают в реакционную камеру тетрахлорид титана и проводят восстановление тетрахлорида титана магнием с образованием реакционной массы в реакционной камере и с накоплением губчатого титана на ложном днище, при этом обеспечивают скорость реакции восстановления выше скорости подачи тетрахлорида титана в реакционную камеру с образованием собственных колебаний давления в газовом объеме реакционной камеры, оказывающих переменное давление газов на реакционную массу и обеспечивающих колебания жидких и твердых компонентов реакционной массы с разными ускорениями в реакционной камере.

