Растворимая мостовая пробка
Иллюстрации
Показать всеИзобретение относится к мостовой пробке для размещения в скважине, ограниченной обсадной колонной. Мостовая пробка включает в себя компонент целостности для поддержания якорной целостности или структурной целостности в скважине во время создающего давления использования в ее верхней части, причем упомянутый компонент выполнен с возможностью по существу растворения в скважине и из материала, содержащего химически активный металл, выбранный из группы, состоящей из алюминия, кальция и магния, и легирующий элемент. Изобретение позволяет облегчить процесс разбуривания мостовой пробки. 4 н. и 19 з.п. ф-лы, 5 ил.
Реферат
ПРИТЯЗАНИЕ НА ПРИОРИТЕТ/ПЕРЕКРЕСТНАЯ ССЫЛКА НА РОДСТВЕННЫЕ ЗАЯВКИ
[0001] Настоящий документ заявляет приоритет в соответствии с патентной заявкой США № 12/855503, поданной 12 августа 2010 года под заголовком «Растворимая мостовая пробка» (“Dissolvable Bridge Plug”), которая является продолжением в части притязания на приоритет в соответствии с разделом 35 Свода законов США § 120 патентной заявки США под серийным номером 11/427233, поданной 28 июня 2006 года под заголовком «Разлагаемые композиции, установки, включающие их, и способ использования» ("Degradable Compositions, Apparatus Comprising Same and Method of Use"). Патентная заявка США под серийным номером 11/427233, в свою очередь, заявляет приоритет в соответствии с разделом 35 Свода законов США § 119(e) предварительных патентных заявок США под серийными номерами 60/771627 и 60/746097, поданных 9 февраля 2006 года и 1 мая 2006 года, соответственно. Описания каждой из этих заявок включены сюда путем ссылок в полном объеме.
ОБЛАСТЬ ТЕХНИКИ
[0002] Описанные здесь варианты воплощения изобретения относятся к мостовой пробке, созданной для использования в операциях обсаженной скважины. Конкретнее, описаны варианты воплощения пробки, в которых металлические якорные и опорные элементы могут быть растворимыми во внешней среде скважины, особенно после операций гидроразрыва.
УРОВЕНЬ ТЕХНИКИ
[0003] Исследование, бурение и заканчивание нефтегазоносных и других скважин обычно является сложным, отнимающим много времени и, в конечном итоге, очень дорогим мероприятием. С учетом этих расходов дополнительный акцент был поставлен на эффективности, связанной с заканчиванием и обслуживанием скважины в период ее эксплуатации. Постоянно увеличивающиеся с годами глубины скважин и усложнение их архитектуры привели к тому, что сокращению времени и усилий, затрачиваемых на операции заканчивания и обслуживания, уделяется еще больше внимания.
[0004] Операции перфорирования и гидроразрыва в обсаженной скважине, обычно во время заканчивания скважины, составляют одну такую область, где имеют место значительные затраты времени и усилий, особенно с увеличением глубины и сложности архитектуры скважины. Эти операции включают позиционирование мостовой пробки в нижней части участка скважины, где будут проводиться операции перфорирования и гидроразрыва. Позиционирование мостовой пробки можно облегчить путем прокачивания рабочей жидкости через скважину. Это может быть особенно полезно там, где пробка должна перемещаться через горизонтальный участок скважины.
[0005] На месте наземное оборудование нефтяного промысла можно соединить с пробковым узлом посредством обычного талевого каната так, чтобы управлять настройкой пробки. Такая настройка может включать расширение шлипсов и уплотнителя узла для заякоривания и герметизации пробки соответственно. После закрепления и герметизации операция перфорирования может иметь место выше мостовой пробки так, чтобы обеспечить перфорации через обсадную колонну на участке скважины. Аналогично, затем можно осуществить гидроразрыв, направляя жидкость для гидроразрыва через перфорации обсадной колонны и в смежный пласт. Этот процесс можно повторять, обычно, начиная с терминального конца скважины и двигаясь вверх по стволу скважины участок за участком, пока обсадная колонна и пласт не будут скомпонованы и обработаны, как это необходимо.
[0006] Наличие установленной мостовой пробки внизу скважинного участка, как указано выше, предотвращает воздействие высокого давления в операциях перфорирования и гидроразрыва на участки скважины ниже пробки. Действительно, даже хотя указанные операции, вероятно, создают в скважине давление свыше 5000 фунт/кв. дюйм, участок скважины ниже пробки остается изолированным от выше расположенного участка. Такая степень изоляции достигается, главным образом, благодаря использованию износоустойчивых металлических деталей пробки, включая вышеуказанные шлипсы, а также центральную оправку.
[0007] К сожалению, в отличие от настройки мостовой пробки, связь посредством талевого каната является не пригодной для освобождения пробки. Более того, из-за высокого давления в операциях и степени якорности, требуемой для пробки, после установки ее обычно конфигурируют для почти постоянного размещения. В результате удаление мостовой пробки требует в дальнейшем разбуривания пробки. Кроме того, где пробка установлена в горизонтальном участке скважины, удаление пробки может быть особенно сложным. В отличие от первоначального позиционирования мостовой пробки, которое может быть облегчено путем прокачивания флюида через скважину, не существует подходящего инструмента или технологии, способствующей разбуриваемому удалению пробки. Действительно, благодаря физической ориентации пробки относительно наземного оборудования нефтепромысла, каждое разбуривание пробки в горизонтальном участке скважины может потребовать часы работы специально обученного рабочего и бурового оборудования.
[0008] В зависимости от конкретной архитектуры скважины несколько горизонтальных разбуриваний мостовых пробок, а также десятки вертикальных разбуриваний могут иметь место в процессе обычных операций перфорирования и гидроразрыва для данной обсаженной скважины. В итоге это может добавить несколько дней и несколько сотен тысяч долларов к расходам на специально обученного рабочего и на оборудование, предназначенных только для разбуривания мостовой пробки. Кроме того, даже с такими понесенными издержками самые терминальные или расположенные в горизонтальном забое пробки часто оставляют на месте, поскольку операцией разбуривания невозможно достичь полного удаления пробки, которая таким образом перекрывает доступ к последним нескольким сотням футов скважины.
[0009] Предпринимались усилия по снижению расходов, связанных со временем, рабочей силой и оборудованием, необходимыми для разбуривания мостовой пробки, как описано выше. Например, в настоящее время многие мостовые пробки включают части, которые изготавливают из стекловолоконных материалов, которые легко разрушаются во время разбуривания. Однако при использовании таких материалов для вышеуказанных шлипсов и/или оправки существует риск повреждения пробки во время перфорирования или гидроразрыва в условиях высокого давления. Такое повреждение могло бы, вероятно, потребовать, дополнительной операции очистки и последующего размещения и установки полностью новой мостовой пробки, все это при значительных затратах времени и средств. Таким образом, чтобы избежать таких рисков, традиционные мостовые пробки в целом по-прежнему требуют много времени и труда для удаления их разбуриванием, особенно в случае горизонтально расположенных пробок.
СУЩНОСТЬ ИЗОБРЕТЕНИЯ
[0010] Предлагается мостовая пробка для использования в обсаженной скважине во время операций, создающих высокое давление. Пробка обеспечивает эффективную изоляцию во время операции. Однако пробка изготовлена также из плотной структуры, которая является растворимой в скважине.
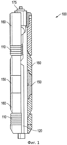
КРАТКОЕ ОПИСАНИЕ ЧЕРТЕЖЕЙ
[0011] На фиг.1 изображен вид сбоку частичного разреза варианта воплощения растворимой мостовой пробки.
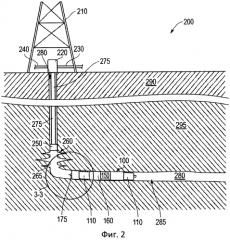
[0012] На фиг.2 показан общий вид нефтепромысла, вмещающего скважину с мостовой пробкой фиг.1, используемой здесь.
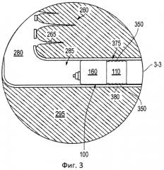
[0013] На фиг.3 изображен увеличенный вид забойной зоны, взятый из сечения 3-3 фиг.2, показывающий поверхность контакта мостовой пробки с обсадной колонной скважины.
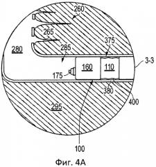
[0014] На фиг.4A изображен увеличенный вид фиг.3, теперь показывающий растворимую природу шлипсов мостовой пробки и изменение поверхности раздела, как результат.
[0015] На фиг.4В изображен увеличенный вид фиг.4A, теперь отображающий операцию разбуривания, применяемую к практически растворенной мостовой пробке.
[0016] На фиг.5 приведена блок-схема, подытоживающая вариант воплощения изобретения, использующий растворимую мостовую пробку в скважине.
ПОДРОБНОЕ ОПИСАНИЕ
[0017] Варианты воплощения изобретения описаны здесь со ссылкой на определенные забойные операции, где используется мостовая пробка для изоляции скважины. Например, эти варианты воплощения изобретения уделяют главное внимание операциям перфорирования и разрыва. Однако можно использовать много операций, в которых выгодно применять варианты воплощения растворимой мостовой пробки, как описано здесь. Например, при любом количестве временных изоляций, например, чтобы выполнить изолированную очистку или другую операцию, можно воспользоваться вариантами воплощения мостовой пробки, описанными ниже. В любом случае, варианты воплощения изобретения, описанные здесь, включают мостовую пробку, изготовленную для безопасного крепления в обсаженной скважине для выполнения операции высокого давления. Это может сопровождаться существенным растворением металлических частей пробки так, что возможно более эффективное ее удаление.
[0018] Обратимся сейчас к фиг.1, где показан вид сбоку частичного разреза варианта воплощения растворимой мостовой пробки 100 настоящего изобретения. Мостовая пробка 100 называется «растворимой» в том смысле, что определенные ее характеристики могут быть сконфигурированы для пассивного разложения или растворения под действием скважинных условий, как подробно описано ниже. При использовании здесь, термин «пассивное разложение» относится к разложению, происходящему под действием скважинных условий, в независимости от того, являются ли такие условия уже существующими или вызванными.
[0019] В варианте воплощения фиг.1 пробка 100 включает шлипсы 110 и оправку 120, которые, несмотря на то, что в конечном итоге являются растворимыми, первоначально обладают высокой прочностью и твердостью (например, группа прочности L80, P110). Таким образом, можно обеспечить поддержание изоляции и якорности в отношении обсадной колонны 380 во время операций высокого давления (см. фиг.3A). В одном варианте воплощения изобретения шлипсы 110 и оправка 120 скомпонованы так, чтобы выдерживать перепад давления больше, чем приблизительно 8000 фунт/кв. дюйм для обеспечения структурной целостности пробки 100. Таким образом, операция стандартного перфорирования или гидроразрыва, которая вызывает перепад давления приблизительно 5000 фунт/кв. дюйм, не является большой проблемой. Благодаря якорности и структурной целостности, которые они обеспечивают пробке 100, шлипсы 110 и оправку 120 можно отнести здесь к элементам целостности.
[0020] Несмотря на характеристики высокой прочности и твердости шлипсов 110 и оправки 120, их способность к разложению или растворению позволяет проводить последующее разбуривание или другие способы удаления пробки эффективным и экономным по времени способом (см. фиг.3B). Введение разлагаемого или растворимого компонента в шлипсы 110 и оправку 120 можно достичь путем использования в конструкции химически активного металла. А именно, как подробнее описано ниже, шлипсы 110 и оправка 120 могут быть изготовлены из химически активного металла, такого как алюминий с введенным в него легирующим элементом. Например, как подробно описано в заявке США № 11/427233, включенной сюда легирующий элемент может быть элементом, таким как литий, галлий, индий, цинк и/или висмут. Таким образом, со временем, особенно при прямом действии воды, жидкости для гидроразрыва, при воздействии высоких температур и других условий призабойной зоны скважины, материал шлипсов 110 и оправки 120 может начать разлагаться или растворяться.
[0021] Продолжаем ссылаться на фиг.1 с добавлением ссылки на фиг.2, где показано, что пробка 100 также может включать уплотнение 150 для изоляции при размещении в скважине 280. Уплотнение 150 может быть из обычного полимерного герметизирующего материала. Кроме того, в показанном варианте воплощения пробка 100 сконфигурирована для размещения посредством талевого каната и снабжена муфтой 175 для крепления к талевому канату. Пробка 100 также включает другие детали корпуса 160, которые могут иметь собственные соответствующие компоненты и/или служить в качестве структурных поверхностей контакта между шлипсами 110, уплотнением 150, муфтой 175 и другими деталями пробки.
[0022] В отличие от шлипсов 110 и оправки 120, ни одна из деталей корпуса 160, уплотнения 150 или муфты 175 не отвечает за якорность или сохранение структурной целостности пробки 100 во время перфорирования, разрыва или других операций высокого давления в скважине 280. Таким образом, в самом начале варианты материала для этих деталей 150, 160, 175 могут быть выбраны на основе других эксплуатационных параметров. Например, полимерный герметизирующий материал уплотнителя 150 может быть эластомером, выбранным, исходя из таких факторов, как радиальная расширяемость и, вероятно, скважинных условий. Аналогично детали корпуса 160 пробки 100 могут быть из обычного полимера или стекловолоконного композита, выбранных исходя из их легкости к удалению разбуриванием после операции в условиях высокого давления (см. фиг.4В).
[0023] На фиг.2 показан общий вид нефтепромысла 200, вмещающего скважину 280 с мостовой пробкой 100 из фиг.1, используемой здесь. Конкретнее, мостовая пробка 100 используется для изоляции в терминальном боковом стволе 285 скважины 280. Тем не менее несмотря на сложную архитектуру и потенциально существенную глубину, последующее разбуривание пробки 100 может быть достигнуто, причем способом, экономным по времени, как подробно описано ниже.
[0024] В показанном варианте воплощения изобретения предусмотрен буровой станок 210 в наземной части нефтепромысла выше устья скважины 220 с различными трубопроводами 230, 240, присоединенными к нему для гидравлического доступа к скважине 280. Конкретнее, трубопровод высокого давления 230 изображен вместе с эксплуатационным трубопроводом 240. Эксплуатационный трубопровод 240 может быть предусмотрен для добычи углеводородов после заканчивания скважины 280. Однако в более близкой перспективе этот трубопровод 240 можно использовать при извлечении жидкостей гидроразрыва. То есть, трубопровод высокого давления 230 может быть присоединен к габаритному наземному оборудованию, включающему насосы для жидкостей гидроразрыва для создания давления, по меньшей мере, приблизительно 5000 фунт/кв. дюйм для операции гидроразрыва. Таким образом, жидкость для гидроразрыва, в основном, воду, можно закачивать в забой для стимуляции зоны добычи 260.
[0025] В варианте воплощения изобретения на фиг.2 скважина 280 вместе с насосно-компрессорной колонной 275 показана пересекающей различные слои пласта 290, 295 и потенциально тысячи футов прежде, чем достичь указанной зоны добычи 260. Перфорации 265, проникающие в пласт 295, могут быть созданы заранее путем обычной операции гидроразрыва. Кроме того, насосно-компрессорная колонна 275 может быть закреплена на месте в верхней части зоны 260 с помощью обычного пакера 250. Таким образом, операция гидроразрыва в условиях высокого давления, направляемая через насосно-компрессорную колонну 275, может быть эффективно направлена в зону 260.
[0026] Что касается размещения и настройки мостовой пробки 100, то можно использовать много способов. Например, как указано выше, талевый канат, присоединенный к муфте 175, можно использовать для спуска мостовой пробки 100 вниз в вертикальную часть скважины 280. При достижении бокового ствола 285 гидравлическое давление можно использовать для установки там пробки 100. После размещения пробки шлипсы 110 можно привести в действие посредством талевого каната для заякоривания пробки, как описано ниже. Аналогично, уплотнитель 150 можно привести в действие путем сжатия, для герметизации. В других вариантах воплощения изобретения тросовый канат, составную трубу или колтюбинг можно использовать при размещении пробки 100. В таких вариантах воплощения изобретения настройку можно привести в действие гидравлическим путем или путем использования отдельного инструмента для настройки, который компрессионно действует на пробку 100, радиально расширяя шлипсы 110 и уплотнитель 150.
[0027] Продолжим ссылаться на фиг.2, на которой мостовая пробка 100 может быть размещена, как указано, так, чтобы изолировать более нижнюю часть скважины, вероятней всего, необсаженную, части бокового ствола 285, от остальной части скважины 280. Действительно, если мостовая пробка 100 расположена, как показано, то операция гидроразрыва может быть сосредоточена в зоне скважины 280 между пробкой 100 и пакером 250. Таким образом, можно добиться высокого давления для создания перфораций 265 в зоне добычи 260. Как показано выше, последующее извлечение жидкости для гидроразрыва можно выполнять через насосно-компрессорную колонну 275 и трубопровод 240.
[0028] Продолжим со ссылкой на фиг.3, на которой показан увеличенный вид забойной зоны, взятый из сечения 3-3 фиг.2. Скважина 280 ограничена обычной обсадной колонной 380, которая протянута, по меньшей мере частично, в более верхние части бокового ствола 285. С этой перспективы изображена поверхность контакта 375 пробки 100 с обсадной колонной 380, ограничивающей скважину 280. Именно на этой поверхности контакта 375 показаны зубцы 350 видимого шлипса 110, которые внедряются в обсадную колонну 380, таким образом заякоривая пробку 100 на месте. Фактически, несмотря на перепад давления, потенциально превышающий приблизительно 5000 фунт/кв. дюйм во время указанной операции гидроразрыва или во время предшествующего перфорирования, шлипсы 110 помогают поддерживать пробку 100 неподвижной, как показано. Аналогично, обратимся дополнительно к фиг.1, где внутренняя оправка 120 помогает обеспечивать структурную целостность пробки 100 в периоды таких высоких давлений. Фактически, как показано выше, оправка 120, может быть рассчитана на поддержание структурной целостности при перепаде давления 8000-10000 фунт/кв. дюйм или больше.
[0029] Обратимся теперь к фиг.4A, где изображен увеличенный вид фиг.3, после периода растворения мостовой пробки 100 в скважине 280. Заметно, что за период растворения видимый шлипс 110 подвергся степени разложения или растворения. Фактически, соответствующая опорная структура для зубцов 350 шлипса 110, как показано на фиг.3, была разрушена. Таким образом, зубцы 350 больше не удерживаются в обсадной колонне 380. Остается только эродированная поверхность 400 на поверхности контакта 375. В результате пробка 100 больше не является закрепленной шлипсами 110, как описано выше. Внутренняя опорная структура оправки 120 на фиг.1 аналогичным образом разрушилась за период растворения. В результате последующая операция разбуривания, как изображено на фиг.4В, может происходить в течение менее чем приблизительно 30 минут, предпочтительно, менее чем приблизительно 15 минут. Это является существенным снижением времени разбуривания по сравнению с несколькими часами или по сравнению с полным отсутствием возможности разбуривания в отсутствие такого растворения.
[0030] Скорость растворения пробки 100 может быть подобрана посредством вариантов конкретного материала, выбранных для химически активных металлов и легирующих элементов, описанных выше. Таким образом, варианты материала, выбранные при создании шлипсов 110 и оправки 120 фиг.1, могут быть основаны на скважинных условиях, которые определяют скорость растворения. Например, при использовании комбинаций химически активных металлов и легирующих элементов, описанных здесь и в заявке '233, включенной сюда путем ссылки, как подробно описано выше, чем выше скважинная температура и/или концентрация воды, тем быстрее растворение.
[0031] Продолжим ссылку на фиг.4А с дополнением ссылки на фиг.1, на которой скважинные условия, влияющие на скорость растворения, могут быть присущи или существовать ранее в скважине 280. Однако на такие условия также могут влиять или их вызывать операции, проводимые в скважине 280, такие как вышеуказанная операция гидроразрыва. То есть, большое количество жидкости для гидроразрыва, в основном, воды, закачивается в скважину 280 при высоком давлении во время операции гидроразрыва. Таким образом, действие воды на шлипсы 110 и оправка 120 гарантируется в таких операциях. Однако, если скважина 280 является иным образом относительно свободной от воды или не находится при конкретной высокой температуре, то продолжительность операции гидроразрыва может составлять основную часть скважинных условий, которые вызывают растворение. Альтернативно, скважина 280 уже может давать воду или находиться при относительно высокой температуре (например, выше приблизительно 75°C). В целом, шлипсы 110 и оправка 120 изготовлены из материалов, выбранных, исходя из желательной скорости растворения в рамках скважинных условий, которые существуют или вызываются, как в случае операций гидроразрыва. Кроме того, если эти условия вызываются, то ожидаемую продолжительность вызванного условия (например, операции гидроразрыва) также можно учитывать при выборе вариантов материала для шлипсов 110 и оправки 120.
[0032] В то время как варианты материала можно выбрать, исходя из вызванных скважинных условий, таких как операции гидроразрыва, такие операции также можно создать, исходя из характеристик выбранных материалов. Итак, например, если длительность операции гидроразрыва должна быть продолжительной, то эффективная изоляция с помощью пробки 100 аналогично может быть продолжительной посредством использования жидкости гидроразрыва низкой температуры (например, ниже чем приблизительно 25°C на входе в устье скважины 220 на фиг.2). Альтернативно, если периоды гидроразрыва и растворения должны поддерживаться на минимуме, то можно использовать жидкость для гидроразрыва высокой температуры.
[0033] Варианты композиций или материала для шлипсов 110 и оправки 120 подробно описаны в упомянутой заявке '233. Как описано, они могут включать химически активный металл, который сам может быть сплавом с кристаллической, аморфной структурой или с обеими. Металл также может иметь структуру, как у металлов, полученных порошковой металлургией, или даже гибридную структуру из одного или более химически активных металлов в тканой матрице. Обычно, химически активный металл является выбранным из элементов в колонках I и II Периодической таблицы и комбинированным с легирующим элементом. Таким образом, может быть образована высокопрочная структура, которая, тем не менее, является разлагаемой.
[0034] В большинстве случаев химически активный металл является одним из следующих: кальций, магний и алюминий, предпочтительно, алюминием. Кроме того, легирующий элемент обычно является одним из следующего: литий, галлий, индий, цинк или висмут. Также кальций, магний и/или алюминий может служить как легирующий элемент, если он уже не выбран в качестве химически активного металла. Например, химически активный металл алюминий можно эффективно комбинировать с легирующим элементом магнием при изготовлении шлипса 110 или оправки 120.
[0035] В других вариантах воплощения материалы, выбранные для изготовления шлипсов 110 и оправки 120, могут быть усилены керамическими частицами или волокнами, которые могут влиять на скорость разложения. Альтернативно, шлипсы 110 и оправка 120 могут быть покрыты разными композициями, которые могут быть металлическими, керамическими или полимерными по своей природе. Такие покрытия могут быть выбраны так, чтобы влиять или задерживать начало растворения. Например, в одном варианте воплощения выбирается покрытие, которое сконфигурировано так, что оно разлагается только при действии жидкости для гидроразрыва, имеющей высокую температуру. То есть, период растворения для соответствующей структуры шлипсов 110 и оправки 120 отсрочен до фактического начала гидроразрыва.
[0036] Конкретные комбинации химически активного металла и легирующих элементов, которые можно использовать, исходя из желательной скорости растворения и скважинных условий, подробно описаны в упомянутой заявке '233. Факторы, такие как точки плавления материалов, коррозионный потенциал и/или растворимость в присутствии воды, солевого раствора или водорода, все это может быть учтено при определении состава шлипсов 110 и оправки 120.
[0037] В одном варианте воплощения растворение, очевидное на фиг.4А, может иметь место в период между приблизительно 5 и 10 часами. В течение этого времени операцию перфорирования можно проводить посредством образуемых перфораций 265. Кроме того, также можно проводить операцию гидроразрыва, чтобы стимулировать добычу из пласта 295 через перфорации 265, как подробно описано выше. В дополнение, чтобы гарантировать, что пробка 100 сохраняет изоляцию на протяжении всей операции гидроразрыва, скорость растворения можно намеренно сделать такой, чтобы эффективное время эксплуатации пробки 100 существенно продлить свыше времени операции гидроразрыва. Таким образом, в одном варианте воплощения, где добыча углеводородов возможна ниже пробки 100, пробку 100 можно привести в действие с помощью обычных способов, чтобы позволить потоку проходить через нее. Это обычно может иметь место в случае, когда пробку 100 используют на вертикальном участке скважины 280.
[0038] Обратимся теперь к фиг.4B, где дано увеличенное изображение фиг.4А, показывающее сейчас операцию разбуривания, которую применяют к практически растворенной мостовой пробке 100. Таким образом, как только произойдет достаточное растворение в период растворения, то можно использовать обычный буровой инструмент 410 вместе с долотом 425, чтобы измельчить пробку 100, как показано. Действительно, несмотря на возможную чрезмерную глубину скважины 280 или ориентацию пробки в боковом стволе 285, разбуривание, как показано, можно завершить меньше, чем за приблизительно 15 минут (в отличие от, в лучшем случае, нескольких часов). Это, несмотря на износостойкость, твердость и другие исходные структурные характеристики шлипсов 110 и оправки 120, которые позволяют эффективно применять операции высокого давления в верхней части скважины (см. фиг.1 и 2).
[0039] Обратимся теперь к фиг.5, где приведена блок-схема, подытоживающая вариант воплощения применения растворимой мостовой пробки изобретения в скважине. Мостовую пробку доставляют и устанавливают на участке размещения в нижней части скважины, как указано на 515 и описано в настоящем документе выше. Таким образом, как показано на 535, операцию высокого давления можно осуществить в верхней части скважины, в то время как изоляция будет поддерживаться с помощью пробки (см. 555). Однако, подобным же образом, как указано на 575, условия в нижней части скважины, независимо от того, создаются ли они операцией высокого давления или иным способом, можно использовать для того, чтобы эффективно растворять металлические компоненты пробки. В результате пробка может быть эффективно удалена из скважины, как указано на 595. Этого можно достичь путем операции вылавливания, разбуривания, как описано здесь выше, или даже прямо выталкивая остатки пробки к непродуктивному терминальному концу скважины. Независимо от способа, теперь удаление пробки может занимать минуты в отличие от часов (или вообще невозможности удалить пробку).
[0040] Варианты воплощения, описанные выше в настоящем документе, предлагают мостовую пробку и способы, позволяющие осуществлять эффективную изоляцию и затем удаление пробки, независимо от конкретной архитектуры скважины. То есть, несмотря на используемые глубины или боковую ориентацию пробки, разбуривание или другие способы удаления можно эффективно и выгодно выполнять после изолированных операций выше по стволу от установленной пробки. Степень получаемой экономии времени может быть значительной при учете того факта, что заканчивания в данной скважине могут включать несколько установок и последующих удалений мостовых пробок. Это может составить несколько дней экономии времени и экономии сотен тысяч долларов, особенно в случаях, когда такие установки и удаления включают целый ряд горизонтально ориентированных пробок.
[0041] Предшествующее описание было представлено со ссылкой на настоящие предпочтительные варианты воплощения. Специалистам в данной области техники и технологии, к которым эти варианты воплощения имеют отношение, поймут, что можно вносить модификации и изменения в описанные структуры и способы выполнения операций без существенного отклонения от сути и сферы действия этих вариантов воплощения изобретения. Кроме того, приведенное выше описание не следует рассматривать, как относящееся только к точным структурам, описанным и показанным на прилагаемых чертежах, а, скорее, его следует рассматривать как согласующееся с и поддерживающее пункты формулы изобретения, которые представлены в их самом полном и разумном объеме.
1. Мостовая пробка для размещения в скважине, ограниченной обсадной колонной, включающая в себя компонент целостности для поддержания якорной целостности или структурной целостности в скважине во время создающего давления использования в ее верхней части, причем упомянутый компонент выполнен с возможностью по существу растворения в скважине и из материала, содержащего химически активный металл, выбранный из группы, состоящей из алюминия, кальция и магния, и легирующий элемент.
2. Мостовая пробка по п. 1, в которой создающее давление использование создает избыточное давление, равное приблизительно 5000 фунт/кв. дюйм.
3. Мостовая пробка по п. 1, в которой указанным компонентом целостности является оправка для структурной целостности.
4. Мостовая пробка по п. 1, в которой указанным компонентом целостности является шлипс для якорной целостности.
5. Мостовая пробка по п. 4, в которой шлипс содержит зубцы для стыковки с обсадной трубой при радиальном расширении шлипса.
6. Мостовая пробка по п. 1, которая дополнительно содержит: радиально расширяемое уплотнение и часть корпуса из композитного материала, смежную с указанным уплотнителем и указанным компонентом целостности.
7. Мостовая пробка по п. 6, в которой указанным уплотнением является разбуриваемый эластомер и указанной частью корпуса является разбуриваемое стекловолокно.
8. Способ осуществления операции в забойной скважине, согласно которому размещают мостовую пробку для изоляции на участке размещения в нижней части обсадной колонны скважины;осуществляют создающее давление использование в скважине вверх по стволу от участка размещения;поддерживают изоляцию с помощью компонента целостности из химически активного металла пробки во время осуществления;по существу растворяют компонент целостности из химически активного металла под действием скважинных условий; иудаляют пробку из участка размещения через менее чем приблизительно 30 минут.
9. Способ по п. 8, согласно которому использованием является перфорирование и гидроразрыв.
10. Способ по п. 8, согласно которому скважинные условия включают одно из температуры и концентрации воды.
11. Способ по п. 8, согласно которому дополнительно приспосабливают параметры использования, которые влияют на скважинные условия для указанного растворения.
12. Способ по п. 8, согласно которому компонентом целостности является шлипс для заякоривания; причем при указанном размещении доставляют пробку к участку размещения посредством одного из талевого каната, тросового каната, составной трубы и колтюбинга, и заякоривают пробку на участке размещения посредством радиального расширения шлипса.
13. Способ по п. 12, согласно которому дополнительно радиально расширяют уплотнение пробки, чтобы обеспечить гидравлическую изоляцию скважины на участке размещения.
14. Способ по п. 13, согласно которому дополнительно используют инструмент настройки для компрессионного воздействия на пробку, чтобы активировать указанное заякоривание и указанное расширение.
15. Способ по п. 8, согласно которому дополнительно восстанавливают поток углеводородов через пробку перед указанным удалением.
16. Способ по п. 8, согласно которому при указанном удалении осуществляют одно из вылавливания пробки, разбуривания пробки и выталкивания пробки в необсаженную часть скважины.
17. Компонент для введения в мостовую пробку, предназначенную для изоляции в обсаженной скважине, причем компонент из растворимого материала, содержит: химически активный металл, выбранный из группы, состоящей из алюминия, кальция и магния, и легирующий элемент.
18. Компонент по п. 17, выполненный с возможностью обеспечения якорной целостности или структурной целостности пробки во время создающего давление использования в скважине.
19. Компонент по п. 17, в котором указанным легирующим элементом является один из лития, галлия, индия, цинка, висмута, алюминия, причем алюминий не является указанным химически активным металлом, кальция, причем кальций не является указанным химически активным металлом, и магния, причем магний не является указанным химически активным металлом.
20. Компонент по п. 17, в котором растворимый материал дополнительно содержит волокно или мелкие частицы.
21. Компонент по п. 17, который дополнительно содержит на себе покрытие для того, чтобы влиять на начало растворения соответствующего растворимого материала, когда пробка находится в скважине.
22. Узел скважины, включающий:обсаженную скважину;инструмент для создания давления, размещенный в указанной скважине для использования в ней; имостовую пробку, находящуюся на участке размещения в указанной скважине ниже указанного инструмента и имеющую растворимый шлипс для якорной целостности указанной пробки и растворимую оправку для структурной целостности указанной пробки во время использования, причем оправка представляет собой химически активный металл с легирующим элементом.
23. Узел скважины по п. 22, в котором указанная скважина дополнительно содержит частично обсаженный боковой ствол, ограничивающий терминальный конец указанной скважины, причем участок размещения находится в боковом стволе.
 
                         
                            


