Ванна с нагнетанием воздуха

Иллюстрации

Показать все

Настоящее изобретение относится к ванне с нагнетанием воздуха, включающей корпусную часть, имеющую соединительную выемку, вогнуто выполненную на ее донной поверхности, пластинчатую часть, установленную вокруг соединительной выемки корпусной части, и имеющую соединительную канавку на одной стороне ее нижней поверхности, по меньшей мере одну или более воздухопропускающих канавок на ее нижней поверхности для сообщения с соединительной канавкой и для пропускания через них воздуха, подаваемого из соединительной канавки, и по меньшей мере одно или более сквозных воздухонагнетающих отверстий на верхней поверхности пластинчатой части. Ванна содержит также клапанную часть, расположенную под соединительной канавкой таким образом, чтобы обеспечить открывание и закрывание клапана за счет давления воздуха, подаваемого снаружи, и подачу воздуха к соединительной канавке. 4 н. и 2 з.п. ф-лы, 18 ил.

Реферат

Область изобретения

Настоящее изобретение относится к ванне с нагнетанием воздуха, в частности к ванне с нагнетанием воздуха, которая имеет усовершенствованную конструкцию для предотвращения скапливания посторонних веществ типа накипи внутри устройства с нагнетанием воздуха.

Известный уровень техники

В основном, в массажной ванне предусмотрено нагнетание воздуха или воды из воды, заполняющей ванну, для сталкивания нагнетаемого воздуха или воды с телом человека, принимающего ванну, осуществляя тем самым массаж его тела и снимая тем самым боль в мышцах или усталость.

Массажные ванны в основном подразделяются на ванны «влажного типа», приспособленные для циркуляции и нагнетания воды, заполняющей ванну, через несколько впрыскивающих сопел, выполненных на боковых поверхностях ванны, путем приведения в действие насоса, а также на ванны «сухого типа», приспособленные для нагнетания сжатого воздуха, поступающего из воздушного компрессора через несколько нагнетающих сопел, выполненных на донной части ванны.

Однако для ванн «влажного типа» требуется отдельная труба для циркуляции воды, заполняющей ванну, что усложняет установку и ремонт ванны, и при этом стоимость установки ванны является относительно высокой. Вследствие этого ванны «сухого типа» получили широкое применение в последнее время за счет того, что в ванне этого типа осуществляется нагнетание воздуха в виде мельчайших пузырьков в воду, заполняющую ванну, без необходимости применения трубы для циркуляции воды.

С другой стороны, в полезной модели Южной Кореи, регистрационный №0349584 приведен пример ванны сухого типа (под названием «ванна с нагнетанием воздуха»).

Согласно вышеупомянутому известному уровню техники известна ванна с нагнетанием воздуха с открытой ее верхней частью, при этом ванна включает в себя корпусную часть, содержащую несколько воздухонагнетающих отверстий, проделанных на донной поверхности ванны; крышку, расположенную с герметичным уплотнением на нижней поверхности корпусной части для закрывания нескольких воздухонагнетающих отверстий; воздуходувку, расположенную внутри кожуха, размещенного на одной стороне снаружи корпусной части, для подачи воздуха к внутренней части крышки; нагреватель, расположенный у выпускного отверстия воздуходувки внутри кожуха, для нагрева воздуха; шланг, подсоединенный между выпускной стороной кожуха и одной стороной крышки, для подачи воздуха, проходящего через нагреватель; обратный клапан, расположенный в центре шланга для перекрытия обратного потока воды в шланге; устройство дистанционного управления, приспособленное для управления воздуходувкой и нагнетанием; и клапан, расположенный на другой стороне крышки для выпуска воды, скопившейся в крышке.

Однако согласно известному уровню техники в том случае, если происходит прекращение нагнетания воздуха в воздухонагнетающие отверстия, вода, заполняющая ванну, поступает в пространство между воздухонагнетающими отверстиями, и при этом даже в том случае, если происходит нагнетание воздуха посредством приведения в действие насоса, изредка осуществляется выпуск воды наружу, и при этом продолжается ее скапливание. Вследствие этого происходит превращение воды в посторонние вещества типа накипи, и эти посторонние вещества снова попадают во внутреннюю часть ванны через воздухонагнетающие отверстия, приводя тем самым к загрязнению воды или возникновению неприятных запахов.

Раскрытие сущности изобретения

Техническая проблема

Таким образом, исходя из вышеуказанных проблем, имеющих место согласно известному уровню техники предлагается настоящее изобретение, целью которого является создание ванны с нагнетанием воздуха, позволяющей предотвратить скапливание посторонних веществ в виде накипи внутри устройства с нагнетанием воздуха, позволяя тем самым сохранять ее в чистом состоянии.

Другой целью настоящего изобретения является создание ванны с нагнетанием воздуха, позволяющей осуществлять естественным путем всасывание воды, находящейся в воздухопропускающих канавках, в сток через впускные канавки для стока.

Техническое решение

Для достижения вышеуказанных целей согласно первому варианту осуществления настоящего изобретения предлагается ванна с нагнетанием воздуха, включающая корпусную часть, имеющую соединительную выемку, вогнуто выполненную на ее донной поверхности, пластинчатую часть, приспособленную для пригонки к соединительной выемке корпусной части, и имеющую соединительную канавку, вогнуто выполненную на одной стороне нижней поверхности ванны, по меньшей мере одну или более воздухопропускающих канавок, вогнуто выполненных на нижней поверхности ванны для сообщения с соединительной канавкой и для пропускания через них воздуха, поступающего из соединительной канавки, и по меньшей мере одно или более сквозных воздухонагнетающих отверстий, выполненных на верхней поверхности пластинчатой части, для нагнетания воздуха, пропускаемого через воздухопропускающие канавки в корпусную часть, а также клапанную часть, расположенную под соединительной канавкой таким образом, чтобы происходило открывание и закрывание за счет давления воздуха, подаваемого снаружи, и подача воздуха к соединительной канавке.

Для достижения вышеуказанных целей согласно второму варианту осуществления настоящего изобретения предлагается ванна с нагнетанием воздуха, включающая корпусную часть, имеющую соединительную канавку, вогнуто выполненную на одной стороне ее донной поверхности, и по меньшей мере одну или более воздухопропускающих канавок, вогнуто выполненных на ее донной поверхности для сообщения с соединительной канавкой и для пропускания через них воздуха, подаваемого из соединительной канавки, пластинчатую часть, расположенную на донной поверхности корпусной части и имеющую по меньшей мере одно или более воздухонагнетающих сквозных отверстий, выполненных на ее верхней поверхности, для нагнетания воздуха, пропускаемого через воздухопропускающие канавки, в корпусную часть, а также клапанную часть, расположенную под соединительной канавкой таким образом, чтобы происходило открывание и закрывание за счет давления воздуха, подаваемого снаружи, и подача воздуха к соединительной канавке.

Для достижения вышеуказанных целей согласно третьему варианту осуществления настоящего изобретения предлагается ванна с нагнетанием воздуха, включающая корпусную часть, имеющую по меньшей мере одно или более воздухонагнетающих сквозных отверстий, выполненных на ее донной части для нагнетания в корпусную часть воздуха, пропускаемого через по меньшей мере одну или более воздухопропускающих канавок, выполненных на пластинчатой части, пластинчатую часть, расположенную на нижней поверхности корпусной части и имеющую соединительную канавку, вогнуто выполненную на одной стороне ее верхней поверхности, и по меньшей мере одну или более воздухопропускающих канавок, выполненных на ее верхней поверхности таким образом, чтобы осуществлялось сообщение с соединительной канавкой и происходило пропускание через них воздуха, подаваемого из соединительной канавки, а также клапанную часть, расположенную под соединительной канавкой таким образом, чтобы происходило открывание и закрывание за счет давления воздуха, подаваемого снаружи, и подача воздуха к соединительной канавке.

Для достижения вышеуказанных целей согласно четвертому варианту осуществления настоящего изобретения предлагается ванна с нагнетанием воздуха, включающая корпусную часть, имеющую соединительную канавку, вогнуто выполненную на одной стороне ее донной поверхности, по меньшей мере одну или более воздухопропускающих канавок, выполненных на ее нижней поверхности таким образом, чтобы осуществлялось сообщение с соединительной канавкой и пропускание через них воздуха, подаваемого из соединительной канавки, и по меньшей мере одно или более сквозных отверстий для нагнетания воздуха, выполненных в ее донной поверхности для нагнетания воздуха, пропускаемого через воздухопропускающие канавки, в корпусную часть, пластинчатую часть, покрывающую нижнюю поверхность корпусной части, а также клапанную часть, расположенную под соединительной канавкой таким образом, чтобы происходило открывание и закрывание за счет давления воздуха, подаваемого снаружи, и подача воздуха к соединительной канавке.

Согласно настоящему изобретению предпочтительным является, чтобы корпусная часть имела сток, выполненный на ее нижней поверхности, и по меньшей мере одну или более впускных канавок для стока, вогнуто выполненных по внешней периферии одной стороны стока, при этом впускные канавки для стока имеют первые концы, соединенные с воздухопропускающими канавками, а также вторые концы, соединенные со стоком для впуска в сток воды, содержащейся в воздухопропускающих канавках.

Согласно настоящему изобретению предпочтительным является, чтобы клапанная часть включала корпус в форме полого цилиндра, открытого на его верхней части для расположения под соединительной канавкой, при этом корпус имеет воздухопропускающее сквозное отверстие, выполненное по периферии его донной поверхности, через которое происходит пропускание воздуха, подаваемого снаружи, крышку, приспособленную для установки на открытой верхней поверхности корпуса таким образом, чтобы она могла перемещаться вверх за счет давления воздуха, поступающего в корпус через воздухопропускающее сквозное отверстие, и тем самым открывать верхнюю поверхность корпуса, направляющий стержень, соединенный на одном его конце с центром нижней поверхности крышки и соединенный с пригонкой на другом его конце со сквозным отверстием, выполненным в центре донной поверхности корпуса, таким образом, чтобы направлять движения вверх и вниз крышки за счет давления воздуха.

Преимущественный эффект изобретения

Согласно настоящему изобретению удлиненные воздухопропускающие канавки выполнены на нижней поверхности пластинчатой части, с образованием устройства с нагнетанием воздуха, а воздухонагнетающие сквозные отверстия, выполненные на пластинчатой части, сообщены с воздухопропускающими канавками, так чтобы даже в случае впуска воды в воздухопропускающие канавки, вода, впускаемая за счет давления выпуска воздуха, не скапливалась в воздухопропускающих канавках, и сливалась снова через воздухонагнетающие сквозные отверстия, предотвращая тем самым образование посторонних веществ типа накипи в воздухопропускающих канавках, что позволяет всегда содержать ванну в чистоте.

Описание чертежей

На Фиг.1 изображена в разрезе ванна с нагнетанием воздуха в полной конфигурации согласно первому варианту осуществления настоящего изобретения;

на Фиг.2 - вид донной поверхности ванны с нагнетанием воздуха, показанной на Фиг.1, в перспективе;

на Фиг.3 - вид в разрезе основных частей, показанных на Фиг.1;

на Фиг.4 - вид в разрезе по линии A-A на Фиг.2;

на Фиг.5 - вид сверху ванны, показанной на Фиг.1;

на Фиг.6 - вид в разрезе стока ванны, показанной на Фиг.5;

на Фиг.7 - вид в перспективе с пространственным разделением деталей клапанной части, показанной на Фиг.1;

на Фиг.8 - вид в разрезе ванны с нагнетанием воздуха в полной конфигурации согласно второму варианту осуществления настоящего изобретения;

на Фиг.9 - вид в разрезе некоторых основных частей, показанных на Фиг.8;

на Фиг.10 - вид в разрезе по линии B-B Фиг.9;

на Фиг.11 - вид в разрезе стока ванны, показанной на Фиг.8;

на Фиг.12 - вид в разрезе ванны с нагнетанием воздуха в полной конфигурации согласно третьему варианту осуществления настоящего изобретения;

на Фиг.13 - вид в разрезе некоторых основных частей, показанных на Фиг.12;

на Фиг.14 - вид в разрезе по линии C-C на Фиг.13;

на Фиг.15 - вид в разрезе ванны с нагнетанием воздуха в полной конфигурации согласно четвертому варианту осуществления настоящего изобретения;

на Фиг.16 - вид в разрезе некоторых основных частей, показанных на Фиг.15;

на Фиг.17 - вид в разрезе стока ванны, показанной на Фиг.15;

на Фиг.18 - вид в разрезе по линии D-D на Фиг.16. Наилучший вариант осуществления изобретения

Ниже приводится описание ванны с нагнетанием воздуха согласно предпочтительным вариантам осуществления настоящего изобретения со ссылками на прилагаемые чертежи.

Согласно настоящему изобретению удлиненные воздухопропускающие канавки выполнены на нижней поверхности пластинчатой части, образующей устройство с нагнетанием воздуха, при этом сквозные воздухонагнетающие отверстия, выполненные на пластинчатой части, сообщаются с воздухопропускающими канавками так, чтобы даже в случае впуска воды в воздухопропускающие канавки, вода, впускаемая за счет давления выпуска воздуха, не скапливалась в воздухопропускающих канавках и сливалась снова через воздухонагнетающие сквозные отверстия, предотвращая тем самым образование посторонних веществ типа накипи в воздухопропускающих канавках, что позволяет содержать ванну в чистоте.

Далее будет приведено описание ванны с нагнетанием воздуха согласно первому, второму, третьему и четвертому вариантам осуществления настоящего изобретения. Хотя настоящее изобретение описано со ссылками на конкретные варианты осуществления настоящего изобретения, приведенные в иллюстративных целях, оно не ограничивается этими вариантами. Специалистам в данной области техники должно быть понятно, что настоящие варианты осуществления настоящего изобретения могут иметь изменения и модификации в пределах сущности и объема настоящего изобретения.

Первый вариант осуществления изобретения

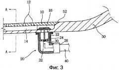
Фиг.1 представляет собой вид в разрезе ванны с нагнетанием воздуха в полной конфигурации согласно первому варианту осуществления настоящего изобретения, Фиг.2 представляет собой вид в перспективе донной поверхности ванны с нагнетанием воздуха, показанной на Фиг.1, Фиг.3 представляет собой вид в разрезе основных частей, показанных на Фиг.1, и Фиг.4 представляет собой вид в разрезе по линии A-A на Фиг.2.

Как показано на Фиг.1-Фиг.4, устройство 100, т.е. ванна с нагнетанием воздуха согласно первому варианту осуществления настоящего изобретения, в основном включает в себя корпусную часть 50, а также пластинчатую часть 10 и клапанную часть 20, которые образуют устройство 100, т.е. ванну с нагнетанием воздуха.

Пластинчатая часть 10 образует внешний контур устройства 100 с нагнетанием воздуха и имеет заданную длину для полного прилегания к соединительной выемке 52, выполненной на донной поверхности корпусной части 50 ванны.

Пластинчатая часть 10 имеет несколько воздухонагнетающих сквозных отверстий 12, выполненных на ее верхней поверхности, через которые воздух, подаваемый из клапанной части 20 посредством приведения в действие воздуходувки (не показана), расположенной снаружи ванны, нагнетается во внутреннее пространство корпусной части 50 ванны, образуя тем самым пузырьки воздуха в воде, заполняющей ванну.

Пластинчатая часть 10 имеет также несколько удлиненных воздухопропускающих канавок 14, расположенных на одинаковом расстоянии друг от друга на ее нижней поверхности. Воздухопропускающие канавки 14 сообщаются с воздухопропускающими сквозными отверстиями 12, выполненными на верхней поверхности пластинчатой части 10, позволяя тем самым пропускать подаваемый снаружи воздух через воздухонагнетающие сквозные отверстия 12.

Пластинчатая часть 10 имеет также кольцевую соединительную канавку 16, вогнуто выполненную на одной стороне ее нижней поверхности. Соединительная канавка 16 сообщается с воздухопропускающими канавками 14, позволяя тем самым пропускать через воздухопропускающие канавки 14, воздух, подаваемый при открывании клапанной части 20.

С другой стороны, как показано на Фиг.5 и 6, корпусная часть 50 имеет сток 54, выполненный на ее нижней части, а также по меньшей мере одну или более впускных канавок 56 для стока, вогнуто выполненных вдоль по внешней периферии одной стороны стока 54. Впускные канавки 56 для стока на одних своих концах соединены с воздухопропускающими канавками 14 пластинчатой части 10, а на других концах соединены со стоком 54 корпусной части 50 ванны, позволяя тем самым осуществлять аккуратный впуск и слив воды, имеющейся в воздухопропускающих канавках 14, в сток 54, а также предотвращать скапливание воды в воздухопропускающих канавках 14, чтобы не происходило образования посторонних веществ типа накипи в воздухопропускающих канавках 14 при использовании ванны, сохраняя тем самым ванну в чистоте.

Клапанная часть 20 соединена с соединительной канавкой 16 пластинчатой части 10. Клапанная часть 20 соединена с воздуходувкой, расположенной снаружи ванны, при помощи соединительного патрубка 40, и открывается и закрывается за счет давления воздуха, подаваемого из соединительного патрубка 40 при приведении в действие воздуходувки, позволяя тем самым осуществлять выпуск воздуха в воздухопропускающие канавки 14.

Фиг.7 представляет собой вид в перспективе с пространственным разделением деталей клапанной части, показанной на Фиг.1.

Как показано на Фиг.7, клапанная часть 20 включает корпус 22, имеющий форму полого цилиндра, открытого на верхней его части таким образом, чтобы он мог быть расположен под соединительной канавкой 16 пластинчатой части 10, при этом корпус 22 имеет крепежную деталь 26, выполненную за одно целое с другой ее одной стороной, и в которую вставлен с пригонкой соединительный патрубок 40, а также воздухопропускающее сквозное отверстие 24, выполненное по периферии его донной поверхности и через которое пропускается воздух, подаваемый через соединительный патрубок 40. Клапанная часть 20 включает также крышку 28, приспособленную для установки на открытой верхней поверхности корпуса 22 таким образом, чтобы она могла перемещаться вверх за счет давления воздуха, поступающего в корпус 22 через воздухопропускающее сквозное отверстие 24, и тем самым открывать верхнюю поверхность корпуса 22, а также направляющий стержень 30, соединенный на одном его конце с центром нижней поверхности крышки 28 и соединенный с пригонкой на другом его конце со сквозным отверстием 32, выполненным в центре донной поверхности корпуса 22, при этом направляющий стержень 30 служит для направления движения вверх и вниз крышки 28 за счет давления воздуха.

Ниже приводятся пояснения, касающиеся работы ванны с нагнетанием воздуха согласно первому варианту осуществления настоящего изобретения со ссылкой на Фиг.1-7.

Во-первых, если происходит подача воздуха к корпусу 22 клапанной части 20 через соединительный патрубок 40 за счет приведения в действие воздуходувки, осуществляется впуск подаваемого воздуха в корпус 22 клапанной части 20 через воздухопропускающее сквозное отверстие 24, выполненное по периферии донной поверхности корпуса 22, и таким образом крышка 28, помещенная на верхней поверхности корпуса 22, перемещается вверх за счет давления воздуха, впускаемого в корпус 22, для открывания верхней поверхности корпуса 22. В результате происходит впуск воздуха в соединительную канавку 16, выполненную на одной стороне нижней поверхности пластинчатой части 10.

Затем воздух, впускаемый в соединительную канавку 16, пропускается через воздухопропускающие канавки 14, расположенные на одинаковом расстоянии друг от друга на нижней поверхности пластинчатой части 10, соединенной с соединительной канавкой 16, и затем нагнетается в ванну через воздухонагнетающие сквозные отверстия 12, сообщающиеся с воздухопропускающими канавками 14 и выполненные на верхней поверхности пластинчатой части 10. В результате происходит образование пузырьков воздуха в воде, заполняющей корпусную часть 50 ванны.

С другой стороны, если больше не происходит воздействия давления воздуха на крышку 28 клапанной части 20, вследствие прекращения действия воздуходувки, крышка 28 под собственным весом перемещается вниз для закрывания верхней поверхности корпуса 22. После закрывания крышки 28, вода, заполняющая ванну, пропускается через воздухонагнетающие сквозные отверстия 12 пластинчатой части 10, и затем впускается в воздухопропускающие канавки 14, выполненные на нижней поверхности пластинчатой части 10. В это время, если воздуходувка вновь приводится в действие для подачи воздуха к воздухопропускающим канавкам 14, вода, впускаемая в воздухопропускающие канавки 14, нагнетается в корпусную часть 50 ванны через воздухонагнетающие сквозные отверстия 12, предотвращая тем самым скапливание воды в устройстве 100 с нагнетанием воздуха. В результате может быть заранее предотвращено образование посторонних веществ типа накипи, вызываемое скапливанием воды в воздухопропускающих канавках 14, позволяя тем самым сохранить ванну в чистом состоянии.

Второй вариант осуществления изобретения

Фиг.8 представляет собой вид в разрезе ванны с нагнетанием воздуха в полной конфигурации согласно второму варианту осуществления настоящего изобретения, Фиг.9 представляет собой вид в разрезе некоторой части основных частей, ванны, показанной на Фиг.8, Фиг.10, представляет собой вид в разрезе по линии B-B на Фиг.9, а Фиг.11 представляет собой вид в разрезе стока ванны, показанной на Фиг.8.

Как показано на Фиг.8-Фиг.11, ванна с нагнетанием воздуха согласно второму варианту осуществления настоящего изобретения в основном включает в себя корпусную часть 150, а также пластинчатую часть 110 и клапанную часть 120, которые образуют устройство с нагнетанием воздуха.

Пластинчатая часть 110 образует внешний контур устройства с нагнетанием воздуха и имеет заданную длину, позволяющую расположить ее на донной поверхности корпусной части 150 ванны.

Пластинчатая часть 110 имеет несколько воздухонагнетающих сквозных отверстий 112, выполненных на ее верхней поверхности, через которые воздух, подаваемый из клапанной части 120 посредством приведения в действие воздуходувки (не показана), расположенной снаружи ванны, нагнетается во внутреннее пространство корпусной части 150 ванны, образуя тем самым пузырьки воздуха в воде, заполняющей ванну.

С другой стороны, корпусная часть 150 имеет несколько удлиненных воздухопропускающих канавок 114, находящихся на одинаковом расстоянии друг от друга на донной поверхности, на которой расположена пластинчатая часть 110. Воздухопропускающие канавки 114 сообщаются с воздухонагнетающими сквозными отверстиями 112, выполненными на верхней поверхности пластинчатой части 110, выполняя тем самым функцию проходов, позволяющих пропускать через воздухонагнетающие сквозные отверстия 112 воздух, подаваемый снаружи.

Корпусная часть 150 ванны имеет кольцевую соединительную канавку 116, вогнуто выполненную на одной стороне ее донной поверхности. Соединительная канавка 116 сообщается с воздухопропускающими канавками 114, позволяя тем самым пропускать через воздухопропускающие канавки 114 воздух, подаваемый при открывании клапанной части 120.

С другой стороны, как показано на Фиг.8, корпусная часть 150 имеет сток 154, выполненный на ее нижней поверхности, и по меньшей мере одну или более впускных канавок 156 для стока, вогнуто выполненных по внешней периферии одной стороны стока 154. Впускные канавки 156 для стока соединены на одних своих концах с воздухопропускающими канавками 114 корпусной части 150 и соединены на других своих концах со стоком 154 корпусной части 150 ванны, позволяя тем самым осторожно осуществлять впуск и слив воды, имеющейся в воздухопропускающих канавках 114, в сток 154 и предотвращать скапливание воды в воздухопропускающих канавках 114, чтобы не происходило образования посторонних веществ типа накипи в этих канавках 114 при использовании ванны.

Клапанная часть 120 соединена с соединительной канавкой 116 корпусной части 150 ванны. Клапанная часть 120 соединена с воздуходувкой, расположенной снаружи ванны, при помощи соединительного патрубка 140, и открывается и закрывается за счет давления воздуха, подаваемого из соединительного патрубка 140 при приведении в действие воздуходувки, осуществляя тем самым выпуск воздуха в воздухопропускающие канавки 114 корпусной часть 150 ванны. Клапанная часть 120 сконструирована так же, как клапанная часть 20 согласно первому варианту осуществления настоящего изобретения, и в связи с этим ее подробное описание не приводится.

Если в ванне с нагнетанием воздуха согласно второму варианту осуществления настоящего изобретения, воздух, впускаемый в соединительную канавку 116, выполненную на одной стороне донной поверхности корпусной части 150 ванны, при срабатывании клапанной части 120, то воздух, впускаемый в соединительную канавку 116, пропускается через воздухопропускающие канавки 114, выполненные на корпусной части 150, соединенной с соединительной канавкой 116, и затем нагнетается внутрь корпусной части 150 ванны через воздухонагнетающие сквозные отверстия 112, сообщающиеся с воздухопропускающими канавками 114 и выполненные на верхней поверхности пластинчатой части 110. В результате происходит образование пузырьков воздуха в воде, заполняющей корпусную часть 150 ванны.

С другой стороны, часть воды, заполняющей ванну, пропускается через воздухонагнетающие сквозные отверстия 112 пластинчатой части 110 и затем впускается в воздухопропускающие канавки 114. В это время вода, впускаемая в воздухопропускающие канавки 114, нагнетается снова в корпусную часть 150 ванны через воздухонагнетающие сквозные отверстия 112 за счет давления воздуха, подаваемого из воздухопропускающих канавок 114. В результате не происходит скапливания воды в воздухопропускающих канавках 114, и тем самым предотвращается образование в них посторонних веществ типа накипи.

К тому же, даже если не происходит нагнетания воды за счет давления воздуха, вода, скапливающаяся в воздухопропускающих канавках 114, пропускается через впускные канавки 156 для стока и естественным образом сливается через сток 154 корпусной части 150 ванны, позволяя тем самым поддерживать ванну в большей чистоте.

Третий вариант осуществления изобретения

Фиг.12 представляет собой вид в разрезе ванны с нагнетанием воздуха в полной конфигурации согласно третьему варианту осуществления настоящего изобретения, Фиг.13 представляет собой вид в разрезе некоторой части основных частей, показанных на Фиг.12, и Фиг.14 представляет собой вид в разрезе по линии С-С на Фиг.13.

Как показано на Фиг.12-14, ванна с нагнетанием воздуха согласно третьему варианту осуществления настоящего изобретения, в основном, включает в себя корпусную часть 250, имеющую несколько воздухонагнетающих сквозных отверстий 212, выполненных на ее донной поверхности, и пластинчатую часть 210, прикрепленную на нижней поверхности корпусной части 250.

Несколько воздухонагнетающих сквозных отверстий 212, выполненных на донной поверхности корпусной части 250 ванны, приспособлены для нагнетания воздуха, подаваемого из клапанной части 220 посредством приведения в действие воздуходувки (не показана), расположенной снаружи, во внутреннее пространство корпусной части 250 ванны, образуя тем самым пузырьки воздуха в воде, заполняющей ванну.

Пластинчатая часть 210 имеет несколько удлиненных воздухопропускающих канавок 214, расположенных на одинаковом расстоянии друг от друга на ее нижней поверхности. Воздухопропускающие канавки 214 сообщаются с воздухонагнетающими сквозными отверстиями 212, выполненными на верхней поверхности корпусной части 250 ванны, выполняя тем самым функцию проходов, позволяющих пропускать через воздухонагнетающие сквозные отверстия 212 воздух, подаваемый снаружи.

Пластинчатая часть 210 имеет кольцевую соединительную канавку 216, вогнуто выполненную на одной стороне ее верхней поверхности. Соединительная канавка 216 сообщается с воздухопропускающими канавками 214, позволяя тем самым пропускать через воздухопропускающие канавки 214 воздух, подаваемый при открывании клапанной части 220.

Клапанная часть 220 соединена с соединительной канавкой 216 пластинчатой части 210. Клапанная часть 220 подсоединена к воздуходувке, расположенной снаружи ванны, при помощи соединительного патрубка 240 и открывается и закрывается за счет давления воздуха, подаваемого из соединительного патрубка 240 при приведении в действие воздуходувки, позволяя тем самым осуществлять выпуск воздуха в воздухопропускающие канавки 214 пластинчатой части 210. Клапанная часть 220 выполнена таким же образом, как клапанная часть 20 согласно первому варианту осуществления настоящего изобретения, и поэтому ее подробное описание не приводится.

Если в ванне с нагнетанием воздуха согласно второму варианту осуществления настоящего изобретения воздух впускается в соединительную канавку 216, выполненную на одной стороне верхней поверхности пластинчатой части 210 при срабатывании клапанной части 220, то этот воздух, впускаемый в соединительную канавку 216, пропускается через воздухопропускающие канавки 214 пластинчатой части 210, соединенные с соединительной канавкой 216, и затем нагнетается внутрь корпусной части 250 ванны через воздухонагнетающие сквозные отверстия 212, сообщающиеся с воздухопропускающими канавками 214 и выполненные на донной поверхности корпусной части 250 ванны. В результате происходит образование пузырьков воздуха в воде, заполняющей корпусную часть 250 ванны.

С другой стороны, часть воды, заполняющая корпусную часть 250 ванны, пропускается через воздухонагнетающие сквозные отверстия 212 и затем впускается в воздухопропускающие канавки 214. В это время вода, поступающая в воздухопропускающие канавки 214, нагнетается снова в корпусную часть 250 ванны через воздухонагнетающие сквозные отверстия 212 за счет давления воздуха, подаваемого из воздухопропускающих канавок 214. В результате вода не скапливается в воздухопропускающих канавках 214, препятствуя тем самым образованию в этих канавках посторонних веществ типа накипи.

Четвертый вариант осуществления изобретения

Фиг.15 представляет собой вид в разрезе ванны с нагнетанием воздуха в полной конфигурации, согласно четвертому варианту осуществления настоящего изобретения, Фиг.16 представляет собой вид в разрезе некоторых основных частей ванны, показанной на Фиг.15, Фиг.17 представляет собой вид в разрезе стока ванной, показанной на Фиг.15, и Фиг.18 представляет собой вид в разрезе по линии D-D на Фиг.16.

Как показано на Фиг.15-18, ванна с нагнетанием воздуха согласно четвертому варианту осуществления настоящего изобретения, в основном, включает в себя корпусную часть 350, имеющую несколько воздухопропускающих сквозных отверстий 312, выполненных на ее донной поверхности, и несколько воздухопропускающих канавок 314, выполненных на нижней ее поверхности, а также пластинчатую часть 310, герметично закрепленную на нижней поверхности корпусной части 250.

Корпусная часть 350 ванны имеет кольцевую соединительную канавку 316, вогнуто выполненную на одной стороне ее донной поверхности. Соединительная канавка 316 сообщается с воздухопропускающими канавками 314 корпусной части 350 ванны, позволяя тем самым пропускать через воздухопропускающие канавки 314 воздух, который подается при открывании клапанной части 320.

Клапанная часть 320 подсоединена к соединительной канавке 316 корпусной части 350. Клапанная часть 320 соединена с воздуходувкой, расположенной снаружи ванны, при помощи соединительного патрубка 340, и открывается и закрывается за счет давления воздуха, подаваемого в патрубок 340, при приведении в действие воздуходувки, осуществляя тем самым выпуск воздуха в воздухопропускающие канавки 314 корпусной части 350. Клапанная часть 320 выполнена таким же самым образом, как и клапанная часть 20 согласно первому варианту осуществления настоящего изобретения, и поэтому ее подробное описание не приводится.

С другой стороны корпусная часть 350 имеет сток 354, выполненный на ее нижней поверхности, и по меньшей мере одну или более выпускных канавок 356 для стока, вогнуто выполненных по внешней периферии одной стороны стока 354. Выпускные канавки 356 для стока соединены на одних своих концах с воздухопропускающими канавками 314 корпусной части 350 и соединены на других своих концах со стоком 354 корпусной части 350 ванны, позволяя тем самым аккуратно осуществлять впуск и слив воды, имеющейся в воздухопропускающих канавках 314, чтобы не происходило образования посторонних веществ типа накипи в воздухопропускающих канавках 314 при использовании ванны.

Что касается ванны с нагнетанием воздуха согласно четвертому варианту осуществления настоящего изобретения, то в том случае, если при срабатывании клапанной части 320 воздух впускается в соединительную канавку 316, выполненную на одной стороне нижней поверхности корпусной части 350, то этот воздух, впускаемый в соединительную канавку 316, пропускается через воздухопропускающие канавки 314 корпусной части 350, соединенные с соединительной канавкой 316, и затем нагнетается внутрь корпусной части 350 ванны через воздухонагнетающие сквозные отверстия 312, сообщающиеся с воздухопропускающими канавками 314 и выполненными на донной поверхности корпусной части 350 ванны. В результате происходит образование пузырьков воздуха в воде, заполняющей корпусную часть 350 ванны, а также не происходит скапливания воды в воздухопропускающих канавках 314, препятствуя тем самым образованию в них посторонних веществ типа накипи.

Хотя не происходит нагнетания воды за счет давления воздуха, вода, скапливающаяся в воздухопропускающих канавках 314, затем пропускается через впускные канавки 356 для стока корпусной части 350 и естественным образом сливается через сток 354 корпусной части 350 ванны, позволяя тем самым поддерживать ванну в большей чистоте.

1. Ванна с нагнетанием воздуха, содержащаякорпусную часть, имеющую соединительную выемку, вогнуто выполненную на ее донной поверхности,пластинчатую часть, выполненную с возможностью пригонки к соединительной выемке корпусной части и имеющую соединительную канавку, вогнуто выполненную на одной стороне ее нижней поверхности, по меньшей мере одну или более воздухопропускающих канавок, вогнуто выполненных на ее нижней поверхности, для сообщения с соединительной канавкой и пропускания через них воздуха, подаваемого из соединительной канавки, а также по меньшей мере одно или более воздухонагнетающих сквозных отверстий, выполненных на верхней поверхности пластинчатой части для нагнетания воздуха, проходящего через воздухопропускающие канавки в корпусную часть, иклапанную часть, расположенную под соединительной канавкой с обеспечением возможности открывания и закрывания за счет давления воздуха, подаваемого снаружи, и подачи воздуха к соединительной канавке.

2. Ванна с нагнетанием воздуха, содержащаякорпусную часть, имеющую соединительную канавку, вогнуто выполненную на одной стороне ее донной поверхности, и по меньшей мере одну или более воздухопропускающих канавок, вогнуто выполненных на ее донной поверхности и сообщающихся с соединительной канавкой с обеспечением возможности пропускания воздуха, подаваемого из соединительной канавки,пластинчатую часть, расположенную на донной поверхности корпусной части и имеющую по меньшей мере одно или более воздухонагнетающих сквозных отверстий, выполненных на ее верхней поверхности, для нагнетания воздуха, пропускаемого через воздухопропускающие канавки в корпусную часть, иклапанную часть, расположенную под соединительной канавкой с обеспечением возможности открывания и закрывания за счет давления воздуха, подаваемого снаружи, и подачи воздуха к соединительной канавке.

3. Ванна с нагнетанием воздуха, содержащаякорпусную часть, имеющую по меньшей мере одно или более воздухонагнетающих сквозных отверстий, выполненных на ее донной поверхности, для нагнетания воздуха, пропускаемого в корпусную часть через по меньшей мере одно или более воздухопропускающих канавок, выполненных на пластинчатой части,пластинчатую часть, расположенную на нижней поверхности корпусной части и имеющую соединительную канавку, вогнуто выполненную на одной стороне ее верхней поверхности, и по меньшей мере одну или более воздухопропускающих канавок, выполненных на ее верхней поверхности для сообщения с соединительной канавкой и пропускания воздуха, подаваемого из соединительной канавки, иклапанную часть, расположе