Способ очистки грязного газа или воздуха от пыли в циклонном рукавном фильтре с помощью гибкой сетчатой мембраны и рукавов циклонного рукавного фильтра

Иллюстрации

Показать все

Изобретение может быть использовано на предприятиях черной и цветной металлургии, на предприятиях химической промышленности, на предприятиях пищевой промышленности и предприятиях по изготовлению строительных материалов, а также на других производствах, где нужна очистка воздуха или газов от пыли. Способ очистки грязного газа или воздуха от пыли включает подачу грязного газа или воздуха внутрь корпуса циклонного рукавного фильтра, в верхнюю часть корпуса циклонного рукавного фильтра, причем поток, который подают в верхнюю часть корпуса, направляют в его нижнюю часть по спиральной траектории и осуществляют грубую очистку грязного газа или воздуха, после чего поток подают к рукавам циклонного рукавного фильтра и осуществляют тонкую очистку грязного газа или воздуха, после чего очищенный газ или воздух удаляют из циклонного рукавного фильтра, а рукава циклонного рукавного фильтра периодически продувают. Поток грязного газа или воздуха подают внутрь корпуса, в пространство между внешней поверхностью гибкой сетчатой мембраны и внутренней поверхностью стенки верхней части корпуса, при этом создают вихревые потоки газа. Больший объем газа или воздуха подают к рукавам циклонного рукавного фильтра через ячейки сетки гибкой сетчатой мембраны и потом осуществляют тонкую очистку предварительно очищенного газа или воздуха от пыли с помощью рукавов циклонного рукавного фильтра. Продувку рукавов циклонного рукавного фильтра осуществляют всех одновременно или одновременно осуществляют продувку части рукавов циклонного рукавного фильтра. Пыль с гибкой сетчатой мембраны удаляют, приводя в вибрационное движение гибкую сетчатую мембрану потоком газа или воздуха. Удаляют пыль из внутренней поверхности стенки верхней части корпуса циклонного рукавного фильтра потоком газа или воздуха. Технический результат: увеличение ресурса работы ткани рукавов циклонного рукавного фильтра, уменьшение энергозатрат на импульсную продувку рукавов циклонного рукавного фильтра. 1 з.п. ф-лы, 3 ил.

Реферат

Изобретение может быть использовано на предприятиях черной и цветной металлургии, на предприятиях химической промышленности, на предприятиях пищевой промышленности и предприятиях по изготовлению строительных материалов, а также на других производствах, где нужна очистка воздуха или газов от пыли. В частности, изобретение может быть использовано в рукавных циклонных фильтрах с импульсной продувкой рукавов сжатым воздухом или газом.

Известен способ работы центробежного пылеотделителя, который включает создание движения грязного газа или воздуха по спиральной траектории, используя при этом спиральную конструкцию газопровода или воздухопровода, и распределение пыли по фракциям, в потоке грязного газа или воздуха, где установленная единица массы пыли с меньшей средней фракцией, имеет более длинный путь движения по спиральной траектории, чем установленная единица массы пыли с большей средней фракцией, и установленная единица массы пыли с большей средней фракцией имеет больший радиус закругление спиральной траектории движения, чем установленная единица массы пыли с меньшей средней фракцией, а дальнейшее удаление пыли, распределенной по фракциям, с центробежного пылеотделителя, осуществляют в рукавные фильтры или в любые другие устройства, приспособленные для удаления и накопления пыли [1].

Недостатком этого способа есть, прежде всего, то, что его используют не в рукавном фильтре, а в отдельном пылеотделителе, что значительно увеличивает материалоемкость всей системы очистки газа или воздуха от пыли.

Очистка газа или воздух от пыли до 99% нуждается в использовании многовиткового газопровода или воздухопровода спиральной конструкции, которая дополнительно значительно увеличит материалоемкость системы очистки газа или воздуха от пыли.

Уменьшение числа витков газопровода или воздухопровода спиральной конструкции уменьшит процент очистки газа или воздуха от пыли, и как следствие, уменьшит ресурс работы ткани рукавов рукавного фильтра, а также увеличит энергозатраты на импульсную продувку рукавов рукавного фильтра сжатым воздухом или газом, поскольку будет увеличено количество продувки рукавов рукавного фильтра сжатым воздухом или газом в установленную единицу времени.

Недостатком этого образа есть также то, что к ткани рукавов рукавных фильтров, к которым попадает пыль с центробежного пылеотделителя, могут попадать искры, то есть горючая пыль, которая поступает из металлургических печей. Искры способны прожигать ткань рукавов рукавных фильтров. Это дополнительно уменьшает ресурс работы ткани рукавов рукавных фильтров.

Наиболее близким есть способ работы циклонного рукавного фильтра, который включает подачу грязного газа или воздуха внутрь корпуса циклонного рукавного фильтра, в верхнюю часть корпуса циклонного рукавного фильтра, причем поток грязного газа или воздуха, которые подают в верхнюю часть корпуса циклонного рукавного фильтра, направляют в нижнюю часть корпуса циклонного рукавного фильтра, по спиральной траектории движения, и осуществляют грубую очистку грязного газа или воздуха от пыли, после чего предварительно очищенный поток газа или воздуха подают к рукавам циклонного рукавного фильтра и осуществляют тонкую очистку грязного газа или воздуха от пыли, после чего очищенный газ или воздух удаляют из циклонного рукавного фильтра, а рукава циклонного рукавного фильтра периодически продувают чистым сжатым газом или воздухом, при этом измеряют разницу давления между грязным газом или воздухом и очищенным газом или воздухом, и продувку рукавов циклонного рукавного фильтра осуществляют при наличия установленной разницы давления между грязным газом или воздухом, и очищенным газом или воздухом, и/или продувку рукавов циклонного рукавного фильтра осуществляют через установленный промежуток времени, при этом всю пыль накапливают в нижней части корпуса циклонного рукавного фильтра, после чего удаляют пыль из циклонного рукавного фильтра, при перекрывании подачи грязного газа или воздуха, внутрь корпуса циклонного рукавного фильтра, используя при этом устройство, приспособленное для удаления пыли из циклонного рукавного фильтра [2].

Использование этого способа также не позволяет увеличить ресурс работы ткани рукавов циклонного рукавного фильтра, поскольку значительная часть пыли напрямую попадает к рукавам циклонного рукавного фильтра, и как следствие, уменьшает ресурс работы ткани рукавов циклонного рукавного фильтра. То есть рукава циклонного рукавного фильтра имеют большую пылевую нагрузку. При этом также увеличиваются энергозатраты на импульсную продувку рукавов циклонного рукавного фильтра сжатым воздухом или газом, поскольку будет увеличено количество продувок рукавов циклонного рукавного фильтра сжатым воздухом или газом, в установленную единицу времени.

Также, к ткани рукавов циклонного рукавного фильтра, к которым попадает пыль, могут попадать искры, то есть горючая пыль, которая поступает из металлургических печей. Искры способны прожигать ткань рукавов рукавных фильтров. Это дополнительно уменьшит ресурс работы ткани рукавов циклонного рукавного фильтра.

В основу изобретения поставлена задача путем усовершенствования способа очистки грязного газа или воздуха от пыли, в циклонном рукавном фильтре, с помощью гибкой сетчатой мембраны и рукавов циклонного рукавного фильтра, увеличить ресурс работы ткани рукавов циклонного рукавного фильтра и уменьшить энергозатраты на импульсную продувку рукавов циклонного рукавного фильтра сжатым воздухом или газом.

1. Поставленная задача решается тем, что в способе очистки грязного газа или воздуха от пыли в циклонном рукавном фильтре с помощью гибкой сетчатой мембраны и рукавов циклонного рукавного фильтра, который включает подачу грязного газа или воздуха внутрь корпуса циклонного рукавного фильтра, в верхнюю часть корпуса циклонного рукавного фильтра, причем поток грязного газа или воздуха, которые подают в верхнюю часть корпуса циклонного рукавного фильтра, направляют в нижнюю часть корпуса циклонного рукавного фильтра по спиральной траектории движения и осуществляют грубую очистку грязного газа или воздуха от пыли, после чего предварительно очищенный поток газа или воздуха от пыли подают к рукавам циклонного рукавного фильтра, и осуществляют тонкую очистку грязного газа или воздуха, после чего очищенный газ или воздух удаляют из циклонного рукавного фильтра, а рукава циклонного рукавного фильтра периодически продувают чистым сжатым газом или воздухом, при этом измеряют разницу давления между грязным газом или воздухом, и очищенным газом или воздухом и продувку рукавов циклонного рукавного фильтра осуществляют, при наличии, установленной разницы давления между грязным газом или воздухом и очищенным газом или воздухом, и/или продувку рукавов циклонного рукавного фильтра осуществляют через установленный промежуток времени, при этом всю пыль накапливают в нижней части корпуса циклонного рукавного фильтра, после чего удаляют пыль из циклонного рукавного фильтра при перекрывании подачи грязного газа или воздуха внутрь корпуса циклонного рукавного фильтра, используя при этом устройство, приспособленное для удаления пыли из циклонного рукавного фильтра, новым является то, что поток грязного газа или воздуха подают внутрь корпуса циклонного рукавного фильтра, в пространство между внешней поверхностью гибкой сетчатой мембраны и внутренней поверхностью стенки верхней части корпуса циклонного рукавного фильтра, при этом создают вихревые потоки грязного газа или воздуха между внешней поверхностью гибкой сетчатой мембраны и внутренней поверхностью стенки верхней части корпуса циклонного рукавного фильтра, где среднее расстояние между внешней поверхностью гибкой сетчатой мембраны и внутренней поверхностью стенки верхней части корпуса циклонного рукавного фильтра Р лежит в пределах от 50 миллиметров до 150 миллиметров, причем объем грязного газа или воздуха, которые подают внутрь корпуса циклонного рукавного фильтра V1, за одну секунду, вычисляют из соотношения V1=k1·R·L, где L - длина гибкой сетчатой мембраны, которую измеряют в метрах, R - средний радиус закругления внешней поверхности гибкой сетчатой мембраны, который измеряют в метрах, a k1 - коэффициент пропорциональности, который лежит в пределах от 0,15 до 4,5, причем длина L гибкой сетчатой мембраны не должна быть меньше 0,75 метра, и средний радиус закругления внешней поверхности гибкой сетчатой мембраны R не должен быть меньше 0,2 метра, а в пространстве между внешней поверхностью гибкой сетчатой мембраны и внутренней поверхностью стенки корпуса циклонного рукавного фильтра, а также с помощью гибкой сетчатой мембраны осуществляют предварительную очистку грязного газа или воздуха от пыли, после чего газ или воздух направляют к рукавам циклонного рукавного фильтра, через ячейки сетки гибкой сетчатой мембраны, а также в обход гибкой сетчатой мембраны, снизу, причем больший объем газа или воздуха подают к рукавам циклонного рукавного фильтра, через ячейки сетки гибкой сетчатой мембраны, и потом осуществляют тонкую очистку предварительно очищенного газа или воздуха от пыли с помощью рукавов циклонного рукавного фильтра, а продувку рукавов циклонного рукавного фильтра осуществляют всех одновременно, или одновременно осуществляют продувку части рукавов циклонного рукавного фильтра, где в состав каждой части входит не менее двух рукавов циклонного рукавного фильтра, при этом осуществляют перекрывание подачи грязного газа или воздуха в циклонный рукавный фильтр, а пыль с гибкой сетчатой мембраны удаляют, приводя в вибрационное движение гибкую сетчатую мембрану потоком грязного газа или воздуха, который поступает в верхнюю часть корпуса циклонного рукавного фильтра и/или потоком чистого газа или воздуха, который поступает в рукава циклонного рукавного фильтра, при их продувке, а также удаляют пыль из внутренней поверхности стенки верхней части корпуса циклонного рукавного фильтра потоком грязного газа или воздуха, который поступает в верхнюю часть корпуса циклонного рукавного фильтра и/или потоком чистого газа или воздуха, который поступает в рукава циклонного рукавного фильтра при их продувке.

2. Новое по п. 1 есть то, что удаление пыли с внутренней поверхности стенки верхней части корпуса циклонного рукавного фильтра и удаление пыли с внешней поверхности гибкой сетчатой мембраны дополнительно осуществляют с помощью вибрации циклонного рукавного фильтра.

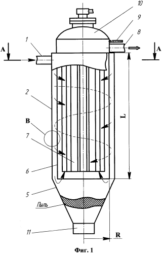
На фиг. 1 схематически изображен продольный разрез циклонного рукавного фильтра. Сплошными стрелками обозначены направления движения грязного газа или воздуха к рукавам циклонного рукавного фильтра. Пунктирной линией и стрелкой обозначена спиральная траектория движения грязного газа или воздуха, в пространстве, между внутренней поверхностью стенки корпуса циклонного рукавного фильтр, и внешней поверхностью гибкой сетчатой мембраны. Двойной стрелкой указано направление движения чистого газа или воздух из циклонного рукавного фильтра. Буквой L обозначена длина гибкой сетчатой мембраны. Буквой R обозначен средний радиус закругления внешней поверхности гибкой сетчатой мембраны.

На фиг. 2 изображено сечение А-А, указанное на фиг. 1. Сплошными стрелками обозначены направления движения грязного газа или воздуха к рукавам циклонного рукавного фильтра и в пространстве между внутренней поверхностью стенки корпуса циклонного рукавного фильтра и внешней поверхностью гибкой сетчатой мембраны и через гибкую сетчатую мембрану циклонного рукавного фильтра. Буквой Р обозначено среднее расстояние между внешней поверхностью гибкой сетчатой мембраны, и внутренней поверхностью стенки верхней части корпуса циклонного рукавного фильтра.

На фиг. 3 изображена часть циклонного рукавного фильтра В, обозначенная на фиг. 1. Сплошными стрелками обозначены направления движения грязного газа или воздуха к рукавам циклонного рукавного фильтра.

Способ осуществляют следующим образом. Через трубопровод грязного газа или воздуха 1 грязный газ или воздух подают внутрь корпуса циклонного рукавного фильтра, в частности, во внутрь верхней части корпуса циклонного рукавного фильтра 2, в пространство между внешней поверхностью гибкой сетчатой мембраны 3 и внутренней поверхностью стенки верхней части корпуса циклонного рукавного фильтра 4, где создают вихревые потоки грязного газа или воздуха между внешней поверхностью гибкой сетчатой мембраны 3 и внутренней поверхностью стенки верхней части корпуса циклонного рукавного фильтра 4. Поток грязного газа или воздуха всегда будет турбулентным, то есть будет содержать отдельные вихревые потоки газа или воздуха, поскольку грязный газ или воздух подают внутрь корпуса циклонного рукавного фильтра с помощью вентилятора или используя давление самого грязного газа в металлургической печи (фиг 1, 3).

На фиг. 1, 2, 3 направления движения грязного газа или воздуха указаны сплошными стрелками.

Потоку грязного газа или воздуха в циклонном рукавном фильтре обеспечивают спиральную траекторию движения из верхней части корпуса 2 в направлении к нижней части корпуса циклонного рукавного фильтра 5.

Спиральную траекторию движения грязного газа или воздуха в циклонном рукавном фильтре, обеспечивают за счет тангенциального направления подачи грязного газа или воздуха, в пространство между внешней поверхностью гибкой сетчатой мембраны 3 и внутренней поверхностью стенки верхней части корпуса циклонного рукавного фильтра 4. То есть грязный газ или воздух подают по касательной к внутренней цилиндрической поверхности стенки верхней части корпуса циклонного рукавного фильтра 4 (фиг. 2). Траектория движения грязного газа или воздуха на фиг. 1 указана пунктирной линией и стрелкой.

С помощью гибкой сетчатой мембраны 6 осуществляют предварительную очистку грязного газа или воздуха от пыли. При прохождении ячеек сетки гибкой сетчатой мембраны грязным газом или воздухом пыль крупной фракции оседает на внешней поверхности гибкой сетчатой мембраны 3. То есть пыль крупной фракции здесь задерживают с помощью сетки гибкой сетчатой мембраны 6.

Также благодаря спиральной траектории движения грязного газа или воздуха в циклонном рукавном фильтре часть пыли крупной фракции задерживают на внешней поверхности гибкой сетчатой мембраны 3 (фиг. 3) без прохождения грязного газа или воздуха через ячейки сетки гибкой сетчатой мембраны 6. Это обеспечивает, прежде всего, неровность поверхности гибкой сетчатой мембраны 3 и неравномерное накопление пыли на поверхности гибкой сетчатой мембраны 3 при прохождении грязного газа или воздуха через ячейки сетки гибкой сетчатой мембраны 6. К тому же частички пыли могут иметь способность прилипать одна к другой благодаря своей наэлектризованности при трении одна об одну в потоке грязного газа или воздуха или благодаря клейким свойствам самого материала пылинок.

И благодаря спиральной траектории движения грязного газа или воздуха в циклонном рукавном фильтре часть пыли крупной фракции задерживают на внутренней поверхности верхней части корпуса циклонного рукавного фильтра 4. Это происходит так же, как и на поверхности 3 гибкой сетчатой мембраны, без прохождения через ячейки сетки мембраны 6 грязного газа или воздуха. Поверхность 4 верхней части циклонного рукавного фильтра 2, также имеет определенную шероховатость поверхности, которая содействует налипанию на нее пыли.

На фиг. 1 и 2 гибкая сетчатая мембрана 6 имеет форму полого цилиндра. Но мембрана 6 может иметь и форму полого усеченного конуса, где радиусы закругления внешней поверхности 3, в поперечных сечениях, уменьшаются в направлении к нижней части корпуса циклонного рукавного фильтра 5, или наоборот, уменьшаются в направлении к верхней части корпуса циклонного рукавного фильтра 2. Также внешняя поверхность гибкой сетчатой мембраны в своем поперечном сечении может иметь форму эллипса.

Также на фиг. 1 и 2 верхняя часть корпуса 2 имеет форму полого цилиндра. Но она также может иметь объемную форму, аналогичную объемной форме гибкой сетчатой мембраны 6.

Гибкая сетчатая мембрана 6 может быть изготовлена из ткани и/или из металлической проволоки.

Среднее расстояние между внешней поверхностью гибкой сетчатой мембраны 3 и внутренней поверхностью стенки верхней части корпуса циклонного рукавного фильтра 4 - Р лежит в пределах от 50 миллиметров до 150 миллиметров, причем объем грязного газа или воздуха, которые подают внутрь корпуса циклонного рукавного фильтра V1, за одну секунду, вычисляют из соотношения V1=k1·R·L, где L - длина гибкой сетчатой мембраны 6, которую измеряют в метрах, R - средний радиус закругления внешней поверхности гибкой сетчатой мембраны 3, который измеряют в метрах, a k1 - коэффициент пропорциональности, который находится в пределах от 0,15 до 4,5, причем длина L гибкой сетчатой мембраны 6 не должна быть меньше 0,75 метра, а средний радиус закругления внешней поверхности гибкой сетчатой мембраны 3 - R не должен быть менее 0,2 метра.

После предварительной очистки газа или воздуха от пыли газ или воздух направляют к рукавам циклонного рукавного фильтра 7 и потом осуществляют тонкую очистку предварительно очищенного газа или воздуха от пыли с помощью ткани рукавов циклонного рукавного фильтра 7.

К рукавам циклонного рукавного фильтра 7 газ или воздух поступает как через ячейки сетки гибкой сетчатой мембраны 6, так и в обход гибкой сетчатой мембраны 6, снизу (фиг. 1). Больший объем газа или воздуха поступает к рукавам циклонного рукавного фильтра 7 через ячейки сетки гибкой сетчатой мембраны 6.

Очищенный газ или воздух удаляют из циклонного рукавного фильтра с помощью трубопровода чистого газа или воздуха 8. На фиг. 1 двойной стрелкой указано направление движения чистого газа или воздуха из циклонного рукавного фильтра.

Продувку рукавов циклонного рукавного фильтра 7 сжатым газом или воздухом осуществляют всех одновременно или одновременно осуществляют продувку части рукавов циклонного рукавного фильтра 7, где в состав каждой части входит не менее двух рукавов циклонного рукавного фильтра 7. В циклонном рукавном фильтре, схематически изображенном на фиг. 1, продувку всех рукавов 7 осуществляют одновременно. Сжатый газ или воздух подают в циклонный рукавный фильтр по трубопроводу 9. Продувку рукавов циклонного рукавного фильтра 7 осуществляют периодически, при этом измеряют разность давления между грязным газом или воздухом и очищенным газом или воздухом и продувку рукавов циклонного рукавного фильтра 7 осуществляют при наличии установленной разницы давления между грязным газом или воздухом и очищенным газом или воздухом и/или продувку рукавов циклонного рукавного фильтра 7 осуществляют через установленный промежуток времени. Давление грязного газа или воздуха или давление чистого газа или воздуха измеряют с помощью соответствующих приборов - манометров (на фиг. не указано). Продувку рукавов циклонного рукавного фильтра 7 осуществляют в автоматическом режиме, используя информационную систему (на фиг. не указано).

Продувку рукавов циклонного рукавного фильтра 7 осуществляют с помощью устройства формирования ударного потока воздуха или газа 10. С помощью устройства формирования ударного потока воздуха или газа 10 сжатый газ или воздух подают внутрь рукавов циклонного рукавного фильтра. Устройство 10 может иметь конструкцию, способную обеспечить продув су рукавов циклонного рукавного фильтра. Обычно при продувке рукавов циклонного рукавного фильтра 7 используют чистый сжатый воздух. Но если пыль в циклонном рукавном фильтре является пожароопасной или пожароопасным является грязный газ, который поступает в циклонный рукавный фильтр, то для продувки рукавов циклонного рукавного фильтра используют сжатый негорючий газ, например азот. Пожароопасной может быть угольная пыль, а пожароопасным грязным газом может быть газ, который содержит высокую концентрацию окиси углерода (CO).

При продувке рукавов 7 пыль оседает в нижней части корпуса циклонного рукавного фильтра 5 (фиг. 1).

При продувке рукавов циклонного рукавного фильтра 7 осуществляют перекрывание подачи грязного газа или воздуха к циклонному рукавному фильтру. Для этого используют заслонки или затворы, которые способны перекрыть поток грязного воздуха или газа. Перекрывание подачи грязного газа или воздуха в циклонный рукавный фильтр увеличивает эффективность удаления пыли из рукавов циклонного рукавного фильтра и содействует ее осаждению в нижнюю часть корпуса циклонного рукавного фильтра 2.

При продувке рукавов циклонного рукавного фильтра 7 приводят в вибрационное движение гибкую сетчатую мембрану 6 потоками воздуха или газа, которые выдувают пыль из рукавов 7. К тому же потоки воздуха или газа, которые выдувают пыль из рукавов 7, также выдувают пыль из мембраны 6, в частности, из ее внешней поверхности 3. Благодаря этому происходит удаления пыли из мембраны 6. Удалению пыли из внешней поверхности мембраны 3 содействует также турбулентный поток грязного воздуха или газа, которые подают в корпус циклонного рукавного фильтра. Турбулентный поток грязного воздуха или газа также обеспечивает вибрацию мембраны 6.

Также с помощью турбулентного потока грязного газа или воздуха, который поступает в верхнюю часть корпуса циклонного рукавного фильтра 2, удаляют налипшую пыль из внутренней поверхности стенки верхней части корпуса циклонного рукавного фильтра 4. Турбулентный поток грязного газа или воздуха также обеспечивает вибрацию всего корпуса циклонного рукавного фильтра.

Удаление пыли из внутренней поверхности стенки верхней части корпуса циклонного рукавного фильтра 4 также осуществляют потоками воздуха или газа, которые выдувают пыль из рукавов 7 и с мембраны 6.

Всю удаленную пыль накапливают в нижней части корпуса циклонного рукавного фильтра 5, после чего удаляют пыль из циклонного рукавного фильтра при перекрывании подачи грязного газа или воздуха в циклонный рукавный фильтр, используя при этом устройство 11, приспособленное для удаления пыли из циклонного рукавного фильтра.

Благодаря использованию гибкой сетчатой мембраны 6 не менее 50 процентов массы пыли удаляют из потока грязного газа или воздуха в пространстве между внешней поверхностью гибкой сетчатой мембраны 3 и внутренней поверхностью стенки верхней части корпуса циклонного рукавного фильтра 4. То есть, как минимум, к рукавам циклонного рукавного фильтра 7 попадает вдвое меньше пыли, чем в циклонных рукавных фильтрах без использования гибкой сетчатой мембраны, например в циклонном рукавном фильтре, который выбран за прототип. Это увеличивает ресурс работы ткали рукавов циклонного рукавного фильтра 7 и уменьшает энергозатраты на импульсную продувку рукавов циклонного рукавного фильтра сжатым воздухом или газом.

К тому же использование гибкой сетчатой мембраны 6, почти полностью исключает попадание горючей пыли крупной фракции, то есть искр на поверхность ткани рукавных фильтров 7 и исключает прожигание ткани рукавных фильтров 7, что также увеличивает ресурс работы ткани рукавов циклонного рукавного фильтра 7.

Среднее расстояние между внешней поверхностью гибкой сетчатой мембраны и внутренней поверхностью стенки верхней части корпуса циклонного рукавного фильтра 2 - Р, не должна быть меньше 50 миллиметров, поскольку это неоправданно увеличит аэродинамическое сопротивление входящему грязному газу или воздуху.

Также среднее расстояние между внешней поверхностью гибкой сетчатой мембраны 3 и внутренней поверхностью стенки верхней части корпуса циклонного рукавного фильтра 2 - Р не должна быть больше 150 миллиметров, поскольку это неоправданно уменьшит эффективность очистки грязного газа или воздуха от пыли с помощью гибкой сетчатой мембраны.

В соотношении V1=k1·R·L коэффициент пропорциональности k1, не должен быть меньше от 0,15, поскольку это неоправданно увеличит материалоемкость циклонного рукавного фильтра.

Также коэффициент пропорциональности k1 не должен быть больше 4,5, поскольку это неоправданно уменьшит эффективность очистки грязного газа или воздуха от пыли с помощью гибкой сетчатой мембраны 6.

Длина L гибкой сетчатой мембраны 6 не должна быть меньше 0,75 метра, а средний радиус закругления внешней поверхности гибкой сетчатой мембраны 3 - R не должен быть меньше 0,2 метра, поскольку это также неоправданно уменьшит эффективность очистки грязного газа или воздуха от пыли с помощью гибкой сетчатой мембраны 6.

При разгрузке пыли из нижней части корпуса циклонного рукавного фильтра 5 с помощью устройства 11 могут дополнительно осуществлять вибрацию нижней части корпуса циклонного рукавного фильтра 5 с помощью вибратора. Вибрация всегда содействует разгрузке сыпучих материалов. Влияние вибрации на нижнюю часть корпуса циклонного рукавного фильтра 5 передается на весь циклонный рукавный фильтр, в частности на верхнюю часть корпуса циклонного рукавного фильтра 2 и на мембрану 6. Это увеличивает эффективность удаления пыли из внутренней поверхности стенки верхней части корпуса циклонного рукавного фильтра 4 и способствует удалению пыли из внешней поверхности гибкой сетчатой мембраны 3. Как следствие, это увеличивает массу пыли крупной фракции, которая будет задержана на внутренней поверхности стенки верхней части корпуса циклонного рукавного фильтра 4 и на внешней поверхности гибкой сетчатой мембраны 3. Это дополнительно увеличивает ресурс работы ткани рукавов циклонного рукавного фильтра 7 и уменьшает энергозатраты на продувку рукавов 7.

Таким образом, использование способа очистки грязного газа или воздуха от пыли в циклонном рукавном фильтре с помощью гибкой сетчатой мембраны и рукавов циклонного рукавного фильтра позволяет увеличить ресурс работы ткани рукавов циклонного рукавного фильтра, и уменьшить энергозатраты на импульсную продувку рукавов циклонного рукавного фильтра сжатым воздухом или газом. При использовании указанного способа не требуется значительное усложнение конструкции самого циклонного рукавного фильтра.

ПРИМЕР КОНКРЕТНОГО ВЫПОЛНЕНИЯ

Способ очистки грязного газа или воздуха от пыли в циклонном рукавном фильтре с помощью гибкой сетчатой мембраны и рукавов циклонного рукавного фильтра опробован в промышленных условиях, на предприятии ООО «Технопарк-пожтехника», г. Харьков, при очистке грязного воздуха в циклонном рукавном фильтре марки ФРЦ-18, который рассчитан на поток грязного воздуха 0,45 м3/с при наличии пыли в грязном воздухе не больше 100 г/м3. При разгрузке пыли из циклонного рукавного фильтра использовали вибратор. Ресурс работы рукавов циклонного рукавного фильтра возрос на 50 процентов, и энергозатраты на продувку рукавов циклонного рукавного фильтра уменьшились также на 50 процентов.

ИСТОЧНИКИ ИНФОРМАЦИИ

1. Патент РФ на полезную модель №76820, 06 B01D 45/16, опубл. 10.10.2008 г.

2. Патент Украины на полезную модель №224, 11 B01D 46/00, B01D 50/00, опубл. 31.08.1998 р, бюл. №4.

1. Способ очистки грязного газа или воздуха от пыли в циклонном рукавном фильтре с помощью гибкой сетчатой мембраны и рукавов циклонного рукавного фильтра, включающий подачу грязного газа или воздуха внутрь корпуса циклонного рукавного фильтра, в верхнюю часть корпуса циклонного рукавного фильтра, причем поток грязного газа или воздуха, который подают в верхнюю часть корпуса циклонного рукавного фильтра, направляют в нижнюю часть корпуса циклонного рукавного фильтра по спиральной траектории движения и осуществляют грубую очистку грязного газа или воздуха от пыли, после чего предварительно очищенный поток газа или воздуха от пыли подают к рукавам циклонного рукавного фильтра и осуществляют тонкую очистку грязного газа или воздуха, после чего очищенный газ или воздух удаляют из циклонного рукавного фильтра, а рукава циклонного рукавного фильтра периодически продувают чистым сжатым газом или воздухом, при этом измеряют разницу давления между грязным газом или воздухом и очищенным газом или воздухом и продувку рукавов циклонного рукавного фильтра осуществляют при наличии установленной разницы давления между грязным газом или воздухом и очищенным газом или воздухом и/или продувку рукавов циклонного рукавного фильтра осуществляют через установленный промежуток времени, при этом всю пыль накапливают в нижней части корпуса циклонного рукавного фильтра, после чего удаляют пыль из циклонного рукавного фильтра при перекрывании подачи грязного газа или воздуха внутрь корпуса циклонного рукавного фильтра, используя при этом устройство, приспособленное для удаления пыли из циклонного рукавного фильтра, отличающийся тем, что поток грязного газа или воздуха подают внутрь корпуса циклонного рукавного фильтра, в пространство между внешней поверхностью гибкой сетчатой мембраны и внутренней поверхностью стенки верхней части корпуса циклонного рукавного фильтра, при этом создают вихревые потоки грязного газа или воздуха между внешней поверхностью гибкой сетчатой мембраны и внутренней поверхностью стенки верхней части корпуса циклонного рукавного фильтра, где среднее расстояние между внешней поверхностью гибкой сетчатой мембраны и внутренней поверхностью стенки верхней части корпуса циклонного рукавного фильтра Р лежит в пределах от 50 мм до 150 мм, причем объем грязного газа или воздуха, который подают внутрь корпуса циклонного рукавного фильтра V1, за одну секунду вычисляют из соотношения V1=k1·R·L, где L - длина гибкой сетчатой мембраны, которую измеряют в метрах, R - средний радиус закругления внешней поверхности гибкой сетчатой мембраны, который измеряют в метрах, a k1 - коэффициент пропорциональности, который лежит в пределах от 0,15 до 4,5, причем длина L гибкой сетчатой мембраны не должна быть меньше 0,75 м и средний радиус закругления внешней поверхности гибкой сетчатой мембраны R не должен быть меньше 0,2 м, а в пространстве между внешней поверхностью гибкой сетчатой мембраны и внутренней поверхностью стенки корпуса циклонного рукавного фильтра, а также с помощью гибкой сетчатой мембраны осуществляют предварительную очистку грязного газа или воздуха от пыли, после чего газ или воздух направляют к рукавам циклонного рукавного фильтра через ячейки сетки гибкой сетчатой мембраны, а также в обход гибкой сетчатой мембраны снизу, причем больший объем газа или воздуха подают к рукавам циклонного рукавного фильтра через ячейки сетки гибкой сетчатой мембраны и потом осуществляют тонкую очистку предварительно очищенного газа или воздуха от пыли с помощью рукавов циклонного рукавного фильтра, а продувку рукавов циклонного рукавного фильтра осуществляют всех одновременно или одновременно осуществляют продувку части рукавов циклонного рукавного фильтра, где в состав каждой части входит не менее двух рукавов циклонного рукавного фильтра, при этом осуществляют перекрывание подачи грязного газа или воздуха в циклонный рукавный фильтр, а пыль с гибкой сетчатой мембраны удаляют, приводя в вибрационное движение гибкую сетчатую мембрану потоком грязного газа или воздуха, который поступает в верхнюю часть корпуса циклонного рукавного фильтра, и/или потоком чистого газа или воздуха, который поступает в рукава циклонного рукавного фильтра при их продувке, а также удаляют пыль из внутренней поверхности стенки верхней части корпуса циклонного рукавного фильтра потоком грязного газа или воздуха, который поступает в верхнюю часть корпуса циклонного рукавного фильтра, и/или потоком чистого газа или воздуха, который поступает в рукава циклонного рукавного фильтра при их продувке.

2. Способ по п. 1, отличающийся тем, что удаление пыли с внутренней поверхности стенки верхней части корпуса циклонного рукавного фильтра и удаление пыли с внешней поверхности гибкой сетчатой мембраны дополнительно осуществляют с помощью вибрации циклонного рукавного фильтра.